青岛垚鑫智能科技有限公司
宣传

位置:中冶有色 >

有色技术频道 >

> 复合材料技术

分类:
全部
矿山技术
冶金技术
材料制备及加工技术
环境保护技术
分析检测技术
 
全部
功能材料技术
复合材料技术
新能源材料技术
合金材料技术
加工技术
地区:
全部
北京
天津
上海
重庆
河北
山西
辽宁
吉林
黑龙江
江苏
浙江
安徽
福建
江西
山东
河南
湖北
湖南
广东
海南
四川
贵州
云南
陕西
甘肃
青海
内蒙
广西
西藏
宁夏
新疆
其他
其他
展开
 
全部
天津

天津有色金属复合材料技术理论与应用

免费发布技术信息>>
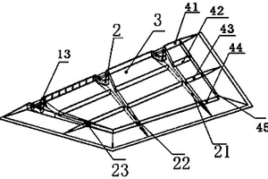
混合纤维增强复合材料成型用的交织络合工具

本实用新型涉及混合纤维增强复合材料成型技术领域,且公开了一种混合纤维增强复合材料成型用的交织络合工具,包括框体,所述框体内部固定连接有络合处理机构,所述框体内部设置有丝束处理机构,所述络合处理机构包括纤维排布辊定位梳。一种混合纤维增强复合材料成型用的交织络合工具,可以将不同的纤维以低成本、简单的形式进行最为有效的交织与交络,可以形成纤维束内不同纤维的均匀分布,实现了本装置处理后的纤维融合纤维束,后续加工成复合材料制品具有均匀且优良的力学性能这一特点,有效避免了现有混合成型技术中将不同性能的纤维简单的物理堆叠或夹杂后进行应用,造成了复合材料制品的力学性能不均一的情况。

标签:
复合材料
天津 - 天津 来源:中冶有色网 2023-03-18
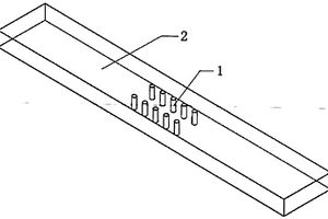
中空纤维自修复复合材料及其制备方法

本发明提供了一种中空纤维自修复复合材料及其制备方法,所述复合材料包括层合板,层合板内沿厚度方向嵌有若干中空纤维玻璃管;且所述中空纤维玻璃管内存贮有环氧树脂与溶剂的混合物。本发明所述的复合材料,在层合板预浸料中沿厚度方向直接嵌入带修复剂的中空纤维玻璃管,这样既能提高层合板的层间强度,还能实现材料的自修复效果。在外加载荷作用下,含中空纤维玻璃管的层合板,能够增强层间强度,随外加载荷的增加,中空纤维玻璃管破裂,修复剂得到释放,粘合裂纹区域,还能够起到自修复的效果。

标签:
复合材料
天津 - 天津 来源:中冶有色网 2023-03-18
改性纳米硫化亚铁复合材料及其制备方法与应用

本发明涉及水处理技术领域,具体涉及一种改性纳米硫化亚铁复合材料及其制备方法与应用。改性纳米硫化亚铁复合材料包括丝胶蛋白以及纳米硫化亚铁。本发明通过将丝胶蛋白结合到纳米硫化亚铁的表面,从而增加了纳米硫化亚铁颗粒之间的静电排斥和空间位阻,进而可以抑制纳米硫化亚铁颗粒间的团聚。且形成的复合材料沉降速率显著降低,抗氧化性能和在饱和多孔介质中的迁移能力显著提高。且丝胶蛋白和纳米硫化亚铁可以实现对污水中重金属的协同去除。

标签:
复合材料
天津 - 天津 来源:中冶有色网 2023-03-18
飞行器及其复合材料翼面

本发明的实施例提供一种飞行器及其复合材料翼面。复合材料翼面包括:骨架以及与所述骨架一体成型的上蒙皮和下蒙皮;所述上蒙皮位于所述骨架的上方,所述下蒙皮位于所述骨架的下方,所述上蒙皮和下蒙皮均为碳纤维复合材料蒙皮。本发明的翼面结构简单、刚度大、强度高、重量轻。

标签:
复合材料
天津 - 天津 来源:中冶有色网 2023-03-18
具有SOD沸石构型的用于富集和催化降解有机物的新型复合材料

本发明涉及一种具有SOD沸石构型的用于富集和催化降解有机物的新型复合材料的制备。具体为以水热法制备ZIF-8多孔吸附材料,经过充分的洗涤,净化,活化后,将其加入钛酸丁酯的乙醇溶液中,滴加水解液并不断搅拌,最终制备成可以用于富集和催化降解有机物的TiO2-ZIF-8的复合材料。本方法工艺简单,容易操作。经过吸附和降解实验表明,本方法制备复合材料结构规则,孔容量大,对有机物的降解效果良好。此方法中,TiO2和ZIF-8的添加比例无任何限制,可根据研究需要或实际应用需要采用任何比例进行负载。

标签:
复合材料
天津 - 天津 来源:中冶有色网 2023-03-18
复合材料整体结构油箱及其制造方法

本发明公开了一种复合材料整体结构油箱及其制造方法,该方法包括:根据油箱形状制作油箱阴模和气囊阳模;准备好油箱制造所需要的复合材料;对油箱阴模和气囊阳模表面进行清洁,并涂敷脱模剂;将复合材料铺覆于气囊阳模之上;待铺覆完成后将油箱外模与气囊阳模进行组装;然后将气囊充气,并放入烘箱,按固化曲线进行固化;固化完成后进行脱模得到油箱结构等步骤。本发明的油箱一体化成型制造,不是靠胶接、焊接或机械连接装配而成,从而有效减少了连接件数量,增强油箱的结构强度,降低了漏油的概率,有效的提升了油箱的可靠性;本发明的制造方法步骤简单,相比传统制造方法缩短了制造流程,可显著提高生产效率。

标签:
复合材料
天津 - 天津 来源:中冶有色网 2023-03-18
增韧导热绝缘的环氧树脂基复合材料的制备方法

本发明为一种增韧导热绝缘的环氧树脂基复合材料的制备方法。其特征为该方法包括以下步骤:(1)、丙烯酸酯核壳粒子的制备;(2)、改性氮化硼的制备;(3)、环氧树脂/核壳聚合物/氮化硼复合材料的制备。本发明得到的复合材料的冲击强度、拉伸强度及导热性能同时提高,可用于微电子封装领域。

标签:
复合材料
天津 - 天津 来源:中冶有色网 2023-03-18
钼/钯/银层状金属基复合材料的制备工艺

本发明涉及到一种钼/钯/银层状金属基复合材料的制备工艺。步骤为钼金属箔的前处理、钼金属表面电镀钯、钼/钯电镀试样退火、脱氢处理、钼/钯层状退火脱氢试样表面电镀银和钼/钯/银电镀试样加压退火、钼/钯/银层状金属基复合材料截面形貌扫描电镜观察和电阻点焊拉伸强度测试。本发明使得钼/钯、钯/银界面发生扩散,从而在钼/钯、钯/银界面上实现冶金结合,获得了具有良好可焊性和高界面结合强度的钼/钯/银层状金属基复合材料,其与太阳能电池片单点电阻点焊时的焊接拉伸强度为416克力(gf),超过了国家军用标准GJB2602-1996规定的焊接强度指标。

标签:
复合材料
天津 - 天津 来源:中冶有色网 2023-03-18
UPVC/级配复配无机粉体复合材料及其制备方法

本发明涉及高分子材料技术领域的一种UPVC/级配复配无机粉体复合材料及其制备方法。本UPVC/级配复配无机粉体复合材料及其制备方法,通过把平均粒径在1000目~6000目的无机粉体进行改性、级配、复配处理并按配方比例将PVC、改性级配复配粉体、稳定剂和其它助剂加到高速混合机中进行共混处理,制得级配复配粉体改性PVC混合料。然后将该混合料经挤出机挤出造粒,制得UPVC/级配复配无机粉体复合材料。本级配复配粉体应用到UPVC注塑配方中,使高填充UPVC体系的拉伸、冲击性能和加工性能同时得到提高,又可以降低配方的成本。

标签:
复合材料
天津 - 天津 来源:中冶有色网 2023-03-18
防火隔离型复合材料
防火隔离型复合材料 929     
 0

本实用新型涉及一种防火隔离型复合材料,包括聚二甲基硅氧烷防火隔离层、高分子酚醛树脂阻燃降温层、聚甲基硅氧烷耐腐蚀层以及基板层,所述的高分子酚醛树脂阻燃降温层设在聚二甲基硅氧烷防火隔离层上,聚甲基硅氧烷耐腐蚀层粘合高分子酚醛树脂阻燃降温层在上,聚甲基硅氧烷耐腐蚀层设在基板层上。所述的一种防火隔离型复合材料,采用此种设计的复合材料,具有隔绝和消弱热传递,防火使用效果好。

标签:
复合材料
天津 - 天津 来源:中冶有色网 2023-03-18
面向纤维增强复合材料低速切削工艺过程模拟的建模方法

一种面向纤维增强复合材料低速切削工艺过程模拟的建模方法,涉及汽车、航天中碳纤维复合材料的的低速切削加工,是将复合材料介观模型离散为六面体网格,考虑到了切削过程中编织结构对切削的影响,将基体相与增强相以不同的材料属性定义,忽略纤维丝束与基体之间的相互作用,以共节点连接。具体包括:步骤1,根据编织结构,确定模型几何尺寸;步骤2,基于编织结构,建立对应不同的模型;步骤3,建立周期边界条件,定义钻头运动方程;步骤4,建立模型中各对象之间的接触属性;步骤5,对定义纤维丝束与基体赋予材料属性,其中,基体以各向同性的弹塑性断裂本构模拟其在切削过程中的断裂行为,纤维束以各向异性材料模拟其切削过程的断裂行为。

标签:
复合材料
天津 - 天津 来源:中冶有色网 2023-03-18
量子点复合材料及其制备方法和LED器件

本发明公开了一种量子点复合材料及其制备方法和LED器件,所述量子点复合材料包括介孔材料和分布在所述介孔材料中的填充材料,所述填充材料包括量子点和硅油。本发明形成的复合材料具备优异的荧光效率,在蓝光功率密度较高的情况下具有较好的应用前景。

标签:
复合材料
天津 - 天津 来源:中冶有色网 2023-03-18
用于电解水析氢的垂直二硫化钼纳米片与多孔氮掺杂碳球复合材料制备方法

本发明涉及一种用于电解水析氢的垂直二硫化钼纳米片与多孔氮掺杂碳球复合材料制备方法,包括下列步骤:1)制备碳球前驱体。2)制备氮掺杂碳球。3)制备二硫化钼纳米片/氮掺杂碳球复合材料:将上一步制备的氮掺杂碳球与钼酸钠和硫脲等按一定比例混合,加入适量去离子水,得到均匀混合的前驱体溶液,然后转移至反应釜内,在180‑220℃保温一段时间,冷却后收集反应釜内的黑色的沉淀,经多次抽滤和干燥,即得到二硫化钼/碳球复合材料。

标签:
复合材料
天津 - 天津 来源:中冶有色网 2023-03-18
磁性纤维素基复合材料的制备方法

本发明涉及一种磁性纤维素基复合材料的制备方法,先将纤维素溶解在氯化锂/N,N‑二甲基乙酰胺溶解体系中,将氧化石墨加入到N,N‑二甲基乙酰胺中并使用进行超声分散得到氧化石墨烯的N,N‑二甲基乙酰胺分散液;将磁性四氧化三铁纳米粒子加入到纤维素溶液中,机械搅拌使其均一化;再加入氧化石墨烯分散液并进行机械搅拌均一化;所得的混合液在凝固浴中进行凝固固化,洗涤,得到磁性纤维素基复合材料。本发明由廉价的纤维素原料得到,加入吸附性能良好的氧化石墨烯,并引入具有磁性物质,制备方法简便、流程短,复合材料对废水中的染料有较好的吸附性能,可应用于污水处理和环境治理等领域。

标签:
复合材料
天津 - 天津 来源:中冶有色网 2023-03-18
采用

本发明涉及一种具有MTN沸石构型的用于富集和催化降解有机物的新型复合材料的制备。具体为以室温搅拌法制备MIL‑100多孔吸附材料,并向反应液中加入钛酸丁酯,搅拌数小时后,最终制备成可以用于富集和催化降解有机物的TiO2‑MIL‑100的复合材料。本方法工艺简单,容易操作。经过吸附和降解实验表明,本方法制备复合材料结构规则,孔容量大,对有机物的降解效果良好。此方法中,TiO2和MIL‑100的添加比例无任何限制,可根据研究需要或实际应用需要采用任何比例进行包覆。

标签:
复合材料
天津 - 天津 来源:中冶有色网 2023-03-18
镍锌铁氧体/石墨烯复合材料的制备方法

本发明为一种镍锌铁氧体/石墨烯复合材料的制备方法。该方法采用一步水热法将混合后的镍锌铁氧体加入到溶于去离子水的氧化石墨溶液中,通过超声搅拌,调节pH值,反应釜中加高温高压的方式,得到糊状沉淀,干燥后即为所需复合材料。本发明是一种工艺简单、性能优异的铁氧体/石墨烯复合材料的制备方法。

标签:
复合材料
天津 - 天津 来源:中冶有色网 2023-03-18
石墨烯基致密复合材料的制备方法

本发明属于储能技术领域,尤其涉及一种石墨烯基致密复合材料的制备方法,至少包含以下步骤:向石墨烯类分散液中加入不溶组分的分散液,充分搅拌得到第一混合分散液;加入还原组分,充分搅拌,得到第二混合分散液;加入水热反应釜中进行水热反应,得到水凝胶;将水凝胶在去离子水中充分浸泡,去除杂质,之后蒸发干燥进行水分脱除,得到待处理产物;进行高温热处理,进一步脱去含氧官能团,得到三维致密的复合材料。本发明利用还原组分促进石墨烯网络的快速紧致形成的过程中对不溶组分的预先排布作用,以及随后在溶剂脱除过程中三维石墨烯网络的收缩作用力来减少其它不溶组分颗粒之间空隙,实现材料的致密化,从而得到具有较高密度的复合材料。

标签:
复合材料
天津 - 天津 来源:中冶有色网 2023-03-18
三维网络状碳纳米管增强钛基复合材料的制备方法

本发明公开了一种三维网络状碳纳米管增强钛基复合材料的制备方法。该方法包括以下过程:将氯化钠粉末与纯钛粉经混合、成坯,烧结和溶出,得到多孔钛;多孔钛浸入以硝酸钴或硝酸镍与硝酸钇配制成的催化剂溶液中,将负载有催化剂盐的多孔钛经煅烧、氢气还原、催化裂解得到三维网络状碳纳米管增强钛基复合材料。本发明具有以下优点:通过调节催化剂及生长工艺等,直接在多孔钛上生长出均匀分散、结构完整的碳纳米管;另一方面,直接以多孔钛为复合材料基体,避免了后续高温烧结过程,保证了基体与增强相的完整结构,该方法制备过程工艺简单,易于实现和推广。

标签:
复合材料
天津 - 天津 来源:中冶有色网 2023-03-18
聚氨酯防辐射复合材料及其制备方法

本发明提供了一种聚氨酯防辐射复合材料及其制备方法,其组成及质量份为:热塑性聚氨酯100份、防老剂1010?1~5份、聚丙烯酸钐40~100份、聚丙烯酸铅20~80份、改性碳酸钙100~300份。制备步骤包括:首先采用稀土改性剂和硬脂酸改性碳酸钙,然后将各组份采用高速混合机初混、开炼机混炼、平板硫化仪模压成型,制得聚氨酯防辐射复合材料。该复合材料中防辐射功能填料的掺加量大,各组份的相容性好,防辐射性能优良,并且加工性能好、力学强度高。

标签:
复合材料
天津 - 天津 来源:中冶有色网 2023-03-18
氧化镁纳米带-碳纳米管复合材料的制备方法

一种氧化镁纳米带-碳纳米管复合材料的制备方法,将六水合硝酸镁、六水合硝酸镍溶于乙醇中,作为催化生长氧化镁纳米带-碳纳米管复合材料的前驱体;将混合溶液均匀滴涂在基底上,在红外灯下烘干后,置于直流等离子体喷射CVD沉积室中的沉积台上,通入氩气和氢气并启动引弧,在等离子体作用下加热分解形成NiO和MgO,NiO在氢等离子体作用下被还原为Ni纳米金属颗粒,获得Ni-MgO催化体系;通入碳源气体,在等离子气氛下生长镁纳米带-碳纳米管复合材料。本发明的优点是:制备工艺简单、效率高、能耗低、成本低,工业化批量生产潜力巨大,在催化剂、生化传感器、微波吸收等光、电、磁、化学领域有广泛的应用前景。

标签:
复合材料
天津 - 天津 来源:中冶有色网 2023-03-18
塔筒表面防护复合材料及其制备方法和应用

本发明公开了一种塔筒表面防护复合材料及其制备方法和应用。本发明通过镀铝氧化铝纤维制备、镀铝Al2O3纤维复合铝合金线材制备、塔筒基体镀层处理、镀铝Al2O3纤维复合铝合金镀层强化处理和有机防腐层制备在塔筒基体表面形成由镀铝Al2O3纤维复合铝合金镀层以及依次涂装厚浆型环氧漆和聚氨酯面漆组成的塔筒表面防护复合材料,镀铝Al2O3纤维复合铝合金镀层的厚度为30μm‑90μm,厚浆型环氧漆的干膜厚度不小于120μm,聚氨酯面漆的干膜厚度不小于40μm。本发明制得的塔筒表面防护复合材料适用于大规模工业化产,可以提高塔筒在风沙吹蚀环境中耐腐蚀性能,可适用于风电塔筒的表面防护。

标签:
复合材料
天津 - 天津 来源:中冶有色网 2023-03-18
绒丝状高导电含锰氟化物复合材料及制备方法

本发明公开一种绒丝状高导电含锰氟化物复合材料及制备方法,高导电含锰氟化物复合材料中高导电碳材料聚集体构成绒丝状导电网络,均匀缠绕交错负载于无水含锰氟化物颗粒载体上,本发明采用预处理‑冷冻混料‑高能球磨工艺生产,该方法将喷雾干燥的碳材料和含锰氟化物在液氮中冷冻混合,冷冻物料经高能球磨后,得到绒丝状高导电含锰氟化物复合材料。制备得到的复合材料中,高导电碳材料聚集体构成绒丝状导电网络,均匀缠绕交错负载于无水含锰氟化物颗粒载体上。该方法制备流程简单工艺可控,稳定性好,能够批量生产,适合宏量制备。

标签:
复合材料
天津 - 天津 来源:中冶有色网 2023-03-18
陶瓷基纤维复合材料密封垫片的制备方法

本发明公开一种陶瓷基纤维复合材料密封垫片的制备方法,包括以下步骤:首先采用Si、Al(OH)3或ρ‑Al2O3以硅铝化学计量比3:0.5~2配料,按料水比1:0.5~2混合球磨,得到球磨混合物;然后以球磨混合物为基按1:0.5~2比例加入莫来石短切纤维搅拌,双面涂覆于莫来石纤维二维编织体,形成单层复合样品;其次单层叠加所述步骤(2)中单层复合样品制备1~50mm厚度的多层复合材料,保压12小时以上后,烘干后,在1000~1500℃热处理0.5~2小时;最后测试。本发明制备出的产品耐温水平达到1200℃,并具有很好的弹性,压缩量为5~10%之间、回弹率在80%以上,在为高温隔热、应力缓冲类热匹配材料的深入研究和应用奠定了基础。

标签:
复合材料
天津 - 天津 来源:中冶有色网 2023-03-18
耐磨耐腐蚀的碳化物钢复合材料

本发明属于材料科学与工程领域,具体涉及耐磨耐腐蚀的碳化物钢复合材料。耐磨耐腐蚀的碳化物钢复合材料,按照质量百分数计,包括Ni 10‑20%,Mo 3‑10%,Co 5‑15%;Ti 15‑30%,C 3‑8%,Cr 5‑15%,余量为铁。以本发明公开的耐磨耐腐蚀的碳化物钢复合材料使用粉末冶金方法压制烧结成合金与碳化物的复合材料,烧结态的硬度为HRC30‑40,可以机械加工成形为具有要求形状的工具,然后使用沉淀硬化法,使基体的硬度提高到HRC55‑58,材料宏观硬度达到HRC63‑64,并且具有高度的耐磨性和耐腐蚀性。

标签:
复合材料
天津 - 天津 来源:中冶有色网 2023-03-18
双功能氧化石墨烯复合材料及其检测贴壁细胞的应用

本发明涉及一种双功能氧化石墨烯复合材料及其检测贴壁细胞的应用。所述的双功能氧化石墨烯复合材料以氧化石墨烯为初始载体,一重功能化为接枝可在生理条件下识别细胞膜表面糖蛋白的硼酸单体,另一重功能化为装载酚酞显色剂。在使用方面,首先将双功能化氧化石墨烯复合纳米材料加入培养有贴壁细胞的细胞培养板中,孵育一段时间后,用磷酸盐缓冲液洗去未结合的双功能氧化石墨烯复合材料,调节pH并使用酶标仪测定吸光度,即可实现对该细胞培养板上待测细胞数目进行定量检测的目的。本发明提供的双功能氧化石墨烯复合材料及其检测贴壁细胞的应用,材料制备过程简单、成本低廉,检测方法方便快捷、稳定性良好,可以对贴壁细胞进行定量检测,具有广阔的应用前景。

标签:
复合材料
天津 - 天津 来源:中冶有色网 2023-03-18
复合材料飞机接地回流网络网内压降分析方法

本发明涉及一种复合材料飞机接地回流网络网内压降分析方法,包括:对复合材料飞机接地回流网络进行结构建模;依据频率对接地回流网络结构进行网格剖分并建立部分元等效电路模型;对部分元电路参数进行计算,得到接地点间的直流电阻及等效阻抗值;依据B787飞机部分汇流条上部分配电单元在正常巡航工况下的负载参数,在给定相应激励及负载分布情况下,计算负载等效接地回路中的电流;根据等效接地回路电流值及接地点间阻抗值计算接地回路产生的电压降。本发明有益效果:保证精确度同时提高仿真效率;对一般结构的接地回流网络接地回路产生的网内压降进行有效计算,有利于进行复合材料飞机接地回流网络结构设计的合理性评估且具有普遍适用性。

标签:
复合材料
天津 - 天津 来源:中冶有色网 2023-03-18
异质网格结构层状复合材料及其双丝电弧增材制造方法

本发明公开了一种异质网格结构层状复合材料及其双丝电弧增材制造方法,该异质网格结构层状复合材料,由若干沉积层堆叠形成;所述沉积层包括若干数量相同形状、相等体积、沿横向和纵向均交替排列的硬质材料子单元和软质材料子单元;相邻所述沉积层之间的各硬质材料子单元和软质材料子单元均为交替排列;本发明利用增材制造技术层状堆积的特点,在单层沉积过程中,通过计算机程序编译送丝方式,使焊丝呈间歇性过渡,从而在单沉积层中实现异质材料的交替制备,在整体试样表现为异质网格层状复合材料。

标签:
复合材料
天津 - 天津 来源:中冶有色网 2023-03-18
织物状碳包覆二氧化硅复合材料和应用

本发明公开一种织物状碳包覆二氧化硅复合材料的制备方法,其制备步骤如下:将纤维素纳米纤丝加入去离子水中进行超声处理得到纤维素纳米纤丝悬浮液后与二氧化硅纳米颗粒均匀混合,然后冷冻并进行冻干处理得到二氧化硅/纤维素纳米纤丝复合气凝胶;在惰性气体保护下进行碳化处理得到织物状碳包覆二氧化硅复合材料。本发明制备过程简单,无需高温、高压等苛刻的条件,且本发明织物状碳包覆二氧化硅复合材料作为锂离子负极材料使用时,具有良好的表面结构,较大的比表面积和较高的比容量,同时,该方法使用膨胀系数低、长径比高以及可生物降解的纤维素纳米纤丝作为构建碳网络结构的基材,这拓展了植物纤维的应用范围并使其得到高值化利用。

标签:
复合材料
天津 - 天津 来源:中冶有色网 2023-03-18
多壁碳纳米管/聚苯乙烯复合材料膜的制备方法

本发明涉及溶液共混水溶液成膜法制备聚苯乙烯多壁碳纳米管复合材料的方法。该制备方法包括以下步骤:1.将一定量的聚苯乙烯、各种功能化的多壁碳纳米管及表面活性剂曲拉通加入到盛有一定量四氢呋喃的称量瓶中将其置于磁旋子搅拌器上机械搅拌至聚苯乙烯充分溶解,多壁碳纳米管分散均匀。2.超声:将溶解分散好的复合材料溶液,超声一定的时间至碳纳米管进一步充分分散均匀。3.成膜:将复合材料溶液倒入特定的容器中成膜,一段时间后将容器置于去离子水中充分成膜。本发明的方法具有工艺简单、能耗低、成膜效率高、污染少等优点。

标签:
复合材料
天津 - 天津 来源:中冶有色网 2023-03-18
聚苯乙烯-2-乙烯基萘-还原氧化石墨烯复合材料及其制备方法

本发明公开了一种聚苯乙烯‑2‑乙烯基萘‑还原氧化石墨烯复合材料,以第二单体2‑乙烯基萘作为辅助共聚单体在共聚物基体中引入稠环,两单体通过悬浮聚合方式进行共聚得到共聚物。采用溶液共混的方法制备聚苯乙烯/2‑乙烯基萘‑还原氧化石墨烯复合材料,之后将共聚产物提取后热压成型。本发明以苯乙烯为基材,采用溶液共混的方法制备纳米复合材料,在共聚物基体中引入第二单体,将一定量共聚物溶解于三氯甲烷中与还原氧化石墨烯进行复合,较纯聚苯乙烯树脂,玻璃化转变温度得到大幅度提高,此方法成功地改善了还原氧化石墨烯与聚合物基体的结合力,解决了聚苯乙烯在使用温度方面的问题。

标签:
复合材料
天津 - 天津 来源:中冶有色网 2023-03-18
上一页 78 79 80 81 82 ... 105 下一页
共105页    到第

中冶有色为您提供最新的天津有色金属复合材料技术理论与应用信息,涵盖发明专利、权利要求、说明书、技术领域、背景技术、实用新型内容及具体实施方式等有色技术内容。打造最具专业性的有色金属技术理论与应用平台!

全国热门有色金属设备推荐
展开更多 +
全国热门有色金属技术推荐
展开更多 +

 

江西省隆恩特环保设备有限公司
宣传

报名参会
更多+

报告下载

有色专家
更多+

有研科技集团有限公司
首席科学家
江西理工大学
副处长/教授
北京科技大学
副院长/教授
北京工业大学、中国工程院
中国工程院 院士
长沙有色冶金设计研究院有限公司
正高级工程师/中国铝业首席工程师/全国有色金属行业设计大师/国家注册采矿工程师
赤泥综合利用研究报告2025
推广

热门技术
更多+

推荐企业
更多+

福建省金龙稀土股份有限公司
宣传

发布

在线客服

公众号

电话

顶部
咨询电话:
010-88793500-807