青岛垚鑫智能科技有限公司
宣传

位置:中冶有色 >

有色技术频道 >

> 复合材料技术

分类:
全部
矿山技术
冶金技术
材料制备及加工技术
环境保护技术
分析检测技术
 
全部
功能材料技术
复合材料技术
新能源材料技术
合金材料技术
加工技术
地区:
全部
北京
天津
上海
重庆
河北
山西
辽宁
吉林
黑龙江
江苏
浙江
安徽
福建
江西
山东
河南
湖北
湖南
广东
海南
四川
贵州
云南
陕西
甘肃
青海
内蒙
广西
西藏
宁夏
新疆
其他
其他
展开
 
全部
天津

天津有色金属复合材料技术理论与应用

免费发布技术信息>>
碳纳米管/氧化物复合材料及其制备方法

本发明公开了一种碳纳米管/氧化物复合材料及其制备方法,在管式反应器装置的储存装置中放入氧化物前驱体,加热装置升温,以使所述立式管的温度升至1100~1350℃且所述卧式管的温度升至800~900℃;打开管式反应器装置的尾气出口,通过所述第一输入口同时输入碳管反应物、水和第一载气,其中,所述碳管反应物的输入速度为3~20ml/h,所述水的输入速度为1~10ml/h,所述第一载气的输入速度为50~2000sccm,本发明的管式反应器装置以及基于该管式反应器装置的碳纳米管/氧化物复合材料的制备方法能够提高碳纳米管/氧化物复合材料的均匀性。

标签:
复合材料
天津 - 天津 来源:中冶有色网 2023-03-18
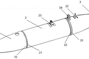
飞行器的复合材料燃料箱

本发明的实施例提供一种飞行器的复合材料燃料箱,包括:第一锥段、中间柱段和第二锥段;其中,所述第一锥段与所述中间柱段插接;所述中间柱段与所述第二锥段插接;所述第一锥段、所述中间柱段和所述第二锥段均包括外蒙皮、内蒙皮以及夹设于所述外蒙皮和内蒙皮之间的蜂窝夹层,所述第一锥段、中间柱段和第二锥段的外蒙皮和内蒙皮均为碳纤维复合材料。本发明的飞行器的复合材料燃料箱的壳体具有多功能夹层结构,抗坠毁效能优异、整体刚度高、重量轻。

标签:
复合材料
天津 - 天津 来源:中冶有色网 2023-03-18
纳米线增强铝基复合材料的原位制备方法

本发明属于纯铝以及铝合金为基体的复合材料制备领域,涉及一种一种纳米线增强铝基复合材料的原位制备方法,包括:按照摩尔比镁粉:硼粉:铝粉(或铝合金粉末)1~2:4:X(X>10)比例配粉,将混合粉末置于球磨罐中,通入保护气氛;把得到的预制粉末在500~600MPa,保压2~4min,得到预制块;将预制块放入加热炉中烧结。本发明制备工艺简单、成本低廉,可以控制纳米线含量和尺寸,进而控制复合材料的力学性能,有较好的实际应用前景。

标签:
复合材料
天津 - 天津 来源:中冶有色网 2023-03-18
石墨烯/橡胶复合材料的制备方法、装置及装置的使用方法

本发明石墨烯/橡胶复合材料的制备方法、装置及该装置的使用方法涉及一种用于制备石墨烯/橡胶复合材料的方法、装置以及该装置的使用方法。其目的是为了提供一种石墨烯在橡胶中分散状态良好的石墨烯/橡胶复合材料的制备方法、装置及该装置的使用方法。本发明中的制备方法包括如下步骤:制备石墨烯悬浮液和橡胶溶液;将橡胶溶液喷射到石墨烯悬浮液中混合;将石墨烯/橡胶混合液烘干。本发明中的制备装置包括壳体(1),壳体上设有石墨烯悬浮液入口(2)、第一喷嘴(3)和第二喷嘴(4)。本发明中的上述装置的使用方法,包括以下步骤:将壳体(1)平放;将石墨烯悬浮液注入混合室(5);将橡胶溶液喷射到混合室(5)中;收集混合液。

标签:
复合材料
天津 - 天津 来源:中冶有色网 2023-03-18
用于催化噻吩硫的磷钨酸-金属有机骨架化合物复合材料及用途

本发明公开了一种用于催化噻吩硫的磷钨酸-金属有机骨架化合物复合材料及用途,所述复合材料用下述方法制成:将铬基金属有机骨架化合物浸入到磷钨酸水溶液中,室温下搅拌,离心,水洗,烘干,研磨得到。本发明的复合材料与传统固体催化材料相比,具有高比表面积,比表面积可达2472.8m2/g;通过调变金属离子及有机物配体,可以灵活方便地调控其结构性质以及表面功能集团,具有均一可控的孔径尺寸使它对反应物和产物具有“择形催化”特性。金属有机骨架化合物作为催化剂载体孔容大,对噻吩硫有吸附富集作用,催化剂负载量大且催化活性高;反应温度低,转化率高,工艺简单且催化剂可循环使用多次。

标签:
复合材料
天津 - 天津 来源:中冶有色网 2023-03-18
阻燃型复合材料
阻燃型复合材料 1108     
 0

本发明涉及一种阻燃型复合材料,包括二氧化硅铝薄膜层、第一阻燃胶粘层、玻璃纤维层、阻燃隔热防火层,所述的二氧化硅铝薄膜层通过第一阻燃胶粘层和玻璃纤维层相粘合,阻燃隔热防火层包覆在二氧化硅铝薄膜层和玻璃纤维层外部。所述的一种阻燃型复合材料,采用此种设计的复合材料,具有较好的防火功能,同时具备隔热的效果。

标签:
复合材料
天津 - 天津 来源:中冶有色网 2023-03-18
具有优异倍率性能复合电极材料的制备方法

本发明公开了具有优异倍率性能复合电极材料的制备方法,以苯胺单体和磺化石墨烯充分混合均匀,原位聚合合成聚苯胺-磺化石墨烯复合材料,再与聚偏氟乙烯、乙炔黑进行研磨均匀,采用N‑甲基吡咯烷酮为溶剂,将浆料涂覆在集流体不锈钢片上干燥,即可得到复合电极材料。本发明的技术方案制得的复合电极材料,具有倍率性能优异,循环稳定性好,比电容高等优点,适合用于超级电容器电极材料。

标签:
复合材料
天津 - 天津 来源:中冶有色网 2023-03-18
PDDA修饰石墨烯‑氧化锌复合材料的制备方法

本发明涉及一种PDDA修饰石墨烯?氧化锌复合材料的制备方法。具体实验步骤,首先采用改进的Hummers法制备氧化石墨,利用水合肼作为还原剂,通过在水浴中还原六水合硝酸锌及氧化石墨得到PDDA修饰的石墨烯?氧化锌复合材料。实验过程中,采用FT?IR,SEM,TEM,XRD等手段对制备的复合材料进行了表征。

标签:
复合材料
天津 - 天津 来源:中冶有色网 2023-03-18
超细晶钛铝碳颗粒增强TiAl基复合材料的制备方法

本发明公开了一种超细晶钛铝碳颗粒增强TiAl基复合材料的制备方法。该方法过程包括:按Ti粉与Al粉按一定摩尔比加入球磨罐中,在正己烷环境中进行球磨,再经过干燥得到复合粉末;将制得的复合粉末在真空热压烧结炉中烧结,再经冷却后得到超细晶钛铝碳颗粒增强TiAl基复合材料。本发明优点在于,通过对球磨时间的控制,实现对生成增强相的含量的精确控制。该方法所制得的原位生成Ti2AlC/TiAl复合材料,具有增强相和基体界面干净,增强相分布均匀,组织细小和良好的力学性能。

标签:
复合材料
天津 - 天津 来源:中冶有色网 2023-03-18
复合材料制品液压机滑块侧压辅助抽芯装置

本发明涉及一种复合材料制品液压机滑块侧压辅助抽芯装置,包括竖直移动装置、水平移动装置和施压抽芯装置,竖直移动装置包括伸缩缸、伸缩臂和垫圈;水平移动装置包括方形导轨、滑动块、轴承和手摇式丝杠;施压抽芯装置包括小型油缸和工作台;水平移动装置通过伸缩臂与水平移动装置连接,水平移动装置通过滑动块与施压抽芯装置连接。本发明包含了空间的三个轴向,可以实现在某一侧面任意位置的抽芯要求;可安装在滑块四个侧面,可以同时满足复合材料制品任意四个侧面的任意位置的抽芯、分型要求;而且,该装置结构简单、操作方便快捷,可以满足侧面带有凹槽、型孔等结构,且需要侧向分型、抽芯的复合材料制品模压成型的要求。

标签:
复合材料
天津 - 天津 来源:中冶有色网 2023-03-18
复合材料预浸料层压板模压成型机构

本实用新型公开了一种复合材料预浸料层压板模压成型机构,属于热固性和热塑性复合材料层压板模压固化成型的技术领域。复合材料预浸料层压板模压成型机构,包括固定架和弹性架;固定架设置在冲压机压头的下部,弹性架设置在固定架内;弹性架的外侧端连接固定架上,弹性架的内侧端用于连接预浸料预制体。解决了现有技术中,预浸料的位置固定不牢固,冲压机压头对其冲压成型时,容易导致预浸料的压缩区起皱,造成产品报废的技术问题。本实用新型利用弹性架保持张力,调节施加预浸料预制体的张力和成型时的张力角度,确保成型后不起皱,产品合格率高。

标签:
复合材料
天津 - 天津 来源:中冶有色网 2023-03-18
复合材料圆柱块体及采用该块体组合的沙滩防护结构

本实用新型公开了一种复合材料圆柱块体,包括混凝土柱芯和硅胶砂管,所述硅胶砂管浇筑在所述混凝土柱芯的外面,在所述混凝土柱芯内预埋有尼龙绳Ⅰ,所述尼龙绳Ⅰ设有伸出在该块体两端之外的连接部。本实用新型还公开了一种采用上述复合材料圆柱块体组合的沙滩防护结构。本实用新型通过采用多个复合材料圆柱块体互相连接形成沙滩防护结构,可以根据沙滩的冲刷程度,来合理地调节所需圆柱块体的大小以及密集程度,达到防冲的效果。并且本实用新型可以方便的安装拆卸,便于维修。同时,本实用新型结构简单,使用方便,其外观与天然沙滩相近,质地柔软,能更好的保护沙滩的生态,可广泛应用于人工沙滩及海岸冲刷严重的项目。

标签:
复合材料
天津 - 天津 来源:中冶有色网 2023-03-18
复合材料包装箱的复合密封层及密封结构

本申请涉及一种复合材料包装箱的密封层结构,采用化学镀复合溅射方式制备得到,具体为一种复合材料包装箱的复合密封层及密封结构。本发明在法兰—O型密封圈—法兰密封结构中,O型密封圈表面采用化学镀工艺制备得到镍复合二硫化钼密封层,在碳纤维复合材料法兰表面采用溅射的方式制备得到类金刚石复合二硫化钼密封层。镀液中添加二硫化钼纳米颗粒,在制备过程中施加超声振动,能够使得添加的二硫化钼纳米颗粒在镀液中均匀分散,避免团聚,碳纤维复合材料表面采用溅射的方式形成DLC复合纳米二硫化钼膜层,由于逐渐提高二硫化钼靶材的沉积功率,使得在膜层表面纳米二硫化钼含量提高,形成突出于DLC膜层的纳米颗粒状结构。

标签:
复合材料
天津 - 天津 来源:中冶有色网 2023-03-18
高导热的超高分子量聚乙烯复合材料的制备方法

本发明公开了一种高导热的超高分子量聚乙烯复合材料的制备方法,包括将超高分子量聚乙烯粉料干燥;将多巴胺盐酸盐加入到蒸馏水中搅拌,加入Tris‑HCl缓冲液磁力搅拌,在搅拌过程中加干燥后的超高分子量聚乙烯粉料加入,40~45℃搅拌10~20h后抽滤,真空干燥后得到改性超高分子量聚乙烯粉料;将炭黑分散在蒸馏水中,加入硫酸溶液,搅拌,加入硬脂酸、甘油、柠檬酸钾继续搅拌后加入氨水调节pH值,搅拌抽滤,干燥;将甲基丙烯酸二甲基氨基乙酯、尿酸、蒸馏水和α‑Al2O3加入到高压反应釜中,超声1~3h,将其放置在烘箱中加热,干燥;称取改性超高分子量聚乙烯粉料50~65份、改性炭黑8~10份、改性α‑Al2O310~15份、偶联剂0.2~0.5份,高速混合20~30min后,到模具中进行热压,冷却,脱模,得到复合材料。

标签:
复合材料
天津 - 天津 来源:中冶有色网 2023-03-18
铁原子掺杂诱导1T-MoS2/石墨烯复合材料及其制备方法和应用

本发明公开了一种铁原子掺杂诱导1T‑MoS2/石墨烯复合材料及其制备方法和应用。制备方法如下:将一定摩尔比例的钼源、硫源,分散溶解于一定体积的石墨烯分散液中。铁源溶液在磁力搅拌的作用下逐滴缓慢加入,在磁力搅拌和超声的作用下,形成均匀混合溶液。将混合溶液转移至聚四氟乙烯高压反应釜中,高温下一步水热反应得到铁原子掺杂诱导1T‑MoS2/石墨烯复合材料。本发明所制得铁原子掺杂诱导1T‑MoS2/石墨烯复合材料,结构为十到几十片1T‑MoS2纳米片堆积而成三维球状纳米花,均分分散在石墨烯基底上,复合材料孔隙丰富,表面积大,1T含量高,导电性好,结构稳定,具有优异的电解水析氢活性和良好的循环稳定性。

标签:
复合材料
天津 - 天津 来源:中冶有色网 2023-03-18
复合材料、其制备方法及用途

本申请涉及复合材料,其包括磁性吸波粉、高分子基质和碳基纤维或金属纤维的混合物;其中,所述复合材料为纤维取向的复合材料。还涉及所述复合材料的制备方法及其用途,其兼具低搭接阻抗、散热以及电磁屏蔽功能。

标签:
复合材料
天津 - 天津 来源:中冶有色网 2023-03-18
MOF‑199负载纳米粒子复合材料的制备方法

一种MOF‑199负载纳米粒子复合材料的制备方法,所述MOFs复合材料为MOF‑199负载Fe3O4或贵金属纳米粒子复合材料,步骤如下:首先制备PVP包覆的磁性纳米粒子和贵金属纳米粒子,然后分散于MOF‑199的前体溶液中,用传统的水热法原位一步合成MOF‑199负载纳米粒子的复合材料。本发明的优点是:MOF‑199负载纳米粒子的制备方法简单、易于实施。该合成材料兼具有磁性或贵金属以及MOF‑199的双重优异特性,可以作为生物模拟酶来催化降解环境水中的有机物污染物。

标签:
复合材料
天津 - 天津 来源:中冶有色网 2023-03-18
多级孔纳米多孔铜负载氧化亚铜纳米线复合材料及其制备方法

一种多级孔纳米多孔铜负载氧化亚铜纳米线复合材料,该复合材料为薄带,包括非晶基体、覆盖在非晶基体上的纳米多孔铜以及负载在纳米多孔铜表面的多孔氧化亚铜纳米线。其中,该复合材料横断面为5层,中间芯层为非晶基体,中间芯层两侧表面覆盖着纳米多孔铜,以及在两侧纳米多孔铜表面负载着多孔氧化亚铜纳米线。其中单侧纳米多孔铜层厚6~12μm,韧带宽20~40nm,孔径尺寸15~30nm,单侧纳米线层厚3~12μm,纳米线长5~10μm,宽5~10nm;纳米线上分布着尺寸为0.5~2nm的纳米孔洞。本发明工艺简单、制备周期短;所制备的复合材料拥有良好的机械完整性,可循环重复利用,经济效益得到提高。

标签:
复合材料
天津 - 天津 来源:中冶有色网 2023-03-18
PETG复合材料、其制备方法及应用

本发明涉及高分子材料技术领域,公开了一种PETG复合材料、其制备方法以及该种复合材料在制备牙齿矫治器中的应用。该PETG复合材料以质量百分含量计包含:PETG树脂80~90%;碳纳米纤维5~10%;助剂5~10%。本发明实施方式中的碳纳米纤维由于在正常温度和湿度的环境中不会出现任何收缩,这样使得由包含碳纳米纤维的PETG复合材料制备的牙齿矫治器的回弹力衰减速率大大降低,提升了牙齿矫治器的矫治效率,从而实现延长牙齿矫治器寿命的目的。

标签:
复合材料
天津 - 天津 来源:中冶有色网 2023-03-18
掺杂具有呼吸效应复合材料的水处理薄膜的制备及应用新方法

本发明涉及一种掺杂具有呼吸效应的复合材料的水处理薄膜的制备及应用新方法。具体为以水热法合成柔性多孔MIL-47颗粒后,采用溶胶法将纳米二氧化钛负载于其孔道中,得到新型复合材料,将上述复合材料制备成溶胶或悬浮液,直接涂膜或涂覆在PVDF膜表面,并烘干,即可得到用于污水处理的新型水处理薄膜。本方法工艺简单,容易操作。经过吸附和降解实验表明,本方法制备复合材料结构规则,孔容量大,对有机物的降解效果良好,因此发展了一种新型的污水中有机物吸附和降解新方法。此方法中,TiO2-MIL-47与聚合物的添加比例以及TiO2-MIL-47悬浮液的配制比例无任何限制,且膜材料的选择无任何限制,可根据研究需要或实际应用需要进行改进。

标签:
复合材料
天津 - 天津 来源:中冶有色网 2023-03-18
制备ZnO/ZnSeO3/CuSeO3核壳结构纳米复合材料的方法

本发明属于半导体复合材料制备领域,公开了一种制备ZnO/ZnSeO3/CuSeO3核壳结构纳米复合材料的方法,首先通过溶胶凝胶法制备ZnO种子层溶液;采用浸渍-提拉法在ITO玻璃基底上涂覆ZnO种子层,经过热处理后,将长有ZnO种子层的导电玻璃放置在ZnO生长溶液中热水浴处理,得到ZnO纳米棒;再将该玻璃放在Se2-溶液中,得到ZnO/ZnSeO3纳米核壳结构;最后将制得的样品放在Cu2+溶液中,得到一维ZnO/ZnSeO3/CuSeO3核壳结构纳米复合材料。因此本发明所获得的ZnO/ZnSeO3/CuSeO3核壳结构能有效克服ZnO和亚硒酸盐的缺点,提高ZnO/ZnSeO3/CuSeO3核壳结构纳米复合材料光电催化效率,并可达到环保的有益效果。

标签:
复合材料
天津 - 天津 来源:中冶有色网 2023-03-18
亚麻/聚丙烯针织结构复合材料的制造方法

本发明涉及一种亚麻/聚丙烯针织结构复合材料的制造方法,该方法包括以下工艺步骤:1.亚麻纱编织前处理:以常规方法纺制亚麻纱;且将所得亚麻纱在络筒机上进行一次上蜡处理;2.编织亚麻/聚丙烯针织物预制件:在纬编针织横机上将所述亚麻纱与聚丙烯长丝并股共织成针织物预制件;所述针织物的组织结构是1+1罗纹结构组织或四平结构组织;所述亚麻纱线与聚丙烯长丝的并股共织股数比为1∶1-3;百分体积含量比为50-75∶50-25;3.复合材料制备:利用常规热压复合成型方法对亚麻/聚丙烯针织物预制件直接热压复合固化成型为复合材料。所制成的亚麻纱与聚丙烯长丝复合材料具有优良的拉伸性能和抗冲击能量吸收性能等特性。

标签:
复合材料
天津 - 天津 来源:中冶有色网 2023-03-18
织物-镀铝膜复合材料
织物-镀铝膜复合材料 743     
 0

一种织物与镀铝膜的复合材料,其主要技术特 征是:在复合材料中有一层或多层织物与镀铝膜。织物—镀铝膜复合材料,具有遮光性、防水性、 抗撕裂性能好,轻、软、使用方便等优点。织物—镀铝膜复合材料可用于制造窗帘、帐篷、 睛雨伞、遮阳篷及服装与鞋帽的装饰,还可以用于舞 台装饰。

标签:
复合材料
天津 - 天津 来源:中冶有色网 2023-03-18
自起动永磁电机复合材料转子导条结构

本实用新型涉及永磁电机技术领域,且公开了一种自起动永磁电机复合材料转子导条结构,包括转子以及多个复合材料导条,转子的外部活动套设有环形套管,多个复合材料导条均与环形套管与环形套管的外壁固定嵌设,且多个复合材料导条呈均匀分布设置,环形套管的侧壁还对称开设有多个限位孔,且限位孔内设有螺杆,转子的侧壁对称开设有多个与螺杆相匹配的螺纹槽,多个螺杆远离螺纹槽的一端均固定连接有转块,且转块的相背离螺杆的一端开设有菱形槽,多个转块上均对称设有两个限位机构。本实用新型能够便于对多个导条进行安装和拆卸,提高了工作效率,且安装的稳定性好,便于人们的使用。

标签:
复合材料
天津 - 天津 来源:中冶有色网 2023-03-18
石墨烯/橡胶复合材料的制备装置

本实用新型石墨烯/橡胶复合材料的制备装置涉及一种用于制备石墨烯/橡胶复合材料的装置。其目的是为了提供一种石墨烯在橡胶中分散状态良好的石墨烯/橡胶复合材料的制备装置。本实用新型石墨烯/橡胶复合材料的制备装置,包括壳体(1),壳体的内腔为混合室(5),壳体上设有与所述混合室分别连通的石墨烯悬浮液入口(2)、第一喷嘴(3)和第二喷嘴(4),第一喷嘴位于壳体内的一端为第一喷嘴出口,另一端为第一喷嘴进口,第一喷嘴出口的口径小于第一喷嘴进口的口径,第二喷嘴位于壳体内的一端为第二喷嘴进口,另一端为第二喷嘴出口,第二喷嘴出口的口径小于第二喷嘴进口的口径。

标签:
复合材料
天津 - 天津 来源:中冶有色网 2023-03-18
生物可降解多孔镁基复合材料支架的精准制备方法

一种生物可降解多孔镁基复合材料支架的精准制备方法。该制备方法采用选区激光熔融制备纯Ti孔隙结构模板,将镁基复合材料经高剪切搅拌熔炼,渗流浇铸到纯Ti孔隙结构模板中,得到中间复合体铸锭,再经氢氟酸洗脱纯Ti后得到多孔镁基复合材料支架,同时镁与氢氟酸反应,在支架表面原位自生一层较致密的MgF2涂层。该支架具有良好的生物相容性,耐蚀性能突出,力学性能优异,连通性好,孔型可调,可建立曲面多孔结构,能促进细胞生长;具有较好的结构完整性,以便植入人体后的组织长入和营养物质、氧气的交换;孔径和孔隙率可控且孔分布均匀,能更好地满足临床使用性能要求。最终可用于修复承重大段骨缺损。

标签:
复合材料
天津 - 天津 来源:中冶有色网 2023-03-18
分子级金属酞菁(酞菁)/石墨烯(氧化石墨烯)复合材料的制备方法

本发明公开了一种金属酞菁(酞菁)/石墨烯(氧化石墨烯)复合材料的制备方法,涉及到金属酞菁(酞菁)/石墨烯(氧化石墨烯)复合材料在超级电容器中的应用,制备方法包括:将石墨烯(氧化石墨烯)分散;金属酞菁(酞菁)加入到氧化石墨烯分散液中超声搅拌,洗涤,干燥;将得到的样品进行热处理。本发明方法简便,易于操作可以大面积的生产。采用本方法制备的金属酞菁(酞菁)/石墨烯(氧化石墨烯)复合材料无毒,对环境友好,并且组装的超级电容器具有较大的比电容,优异的循环稳定性。

标签:
复合材料
天津 - 天津 来源:中冶有色网 2023-03-18
纤维增强复合材料表面处理方法

本发明公开了一种纤维增强复合材料表面处理方法,所述方法包括:选择一束超短脉冲激光和一束纳秒激光作为激光源,进行合束,2束激光具有相同的脉冲重复频率和波长,再经过光束整形元件进行光强均匀化后,垂直会聚到样品的表面;当超短脉冲激光强度大于等于复合材料表面多光子吸收阈值光强时,激光辐照范围内的样品表面发生多光子吸收,吸收纳秒激光能量直到达到烧蚀阈值时,去除样品的表面薄层,实现样品表面的清洁和活化;随着激光沿着预先设计的路线进行扫描,以及位移台的配合移动,处理样品的全部表面。本发明去除纤维增强复合材料表面的杂质污染物(零件表面的脱模剂等),并活化表面,以实现有效的化学键合。

标签:
复合材料
天津 - 天津 来源:中冶有色网 2023-03-18
CaO-B2O3-SiO2玻璃+氮化铝陶瓷的复合材料及制备方法

本发明涉及CaO-B2O3-SiO2玻璃+氮化铝陶瓷的复合材料及制备方法;CaO-B2O3-SiO2作为低熔点玻璃相,AlN陶瓷作为高熔点的陶瓷填充相;复合材料中CaO-B2O3-SiO2玻璃的质量分数为50~60%,AlN陶瓷的质量分数为50~40%;将CaO-B2O3-SiO2玻璃与AlN陶瓷按质量比复合,复合后材料的烧结温度较低,可在900~950℃实现烧结。烧结后复合材料的致密度较高,样品的体积密度可达到2.6g/cm3,显气孔率小于0.5%,如图1所示。工艺过程简单,所使用的玻璃料成本低,且实验过程中所使用的原料安全,无毒。

标签:
复合材料
天津 - 天津 来源:中冶有色网 2023-03-18
具有吸附和催化降解活性的介孔复合材料制备、应用新方法

本发明涉及一种具有吸附和催化降解活性的介孔复合材料制备和应用新方法。具体为以水热法制备MIL-101介孔吸附材料,经过充分的洗涤,净化,活化后,将其加入钛酸丁酯的乙醇溶液中,滴加水解液并不断搅拌,最终制备成具有吸附和催化降解活性的介孔TiO2-MIL-101复合材料。本方法工艺简单,容易操作。经过吸附和降解实验表明,本方法制备复合材料结构规则,孔容量大,对有机物的降解效果良好。此方法中,TiO2和MIL-101的添加比例无任何限制,可根据研究需要或实际应用需要采用任何比例进行负载。

标签:
复合材料
天津 - 天津 来源:中冶有色网 2023-03-18
上一页 80 81 82 83 84 ... 105 下一页
共105页    到第

中冶有色为您提供最新的天津有色金属复合材料技术理论与应用信息,涵盖发明专利、权利要求、说明书、技术领域、背景技术、实用新型内容及具体实施方式等有色技术内容。打造最具专业性的有色金属技术理论与应用平台!

全国热门有色金属设备推荐
展开更多 +
全国热门有色金属技术推荐
展开更多 +

 

江西省隆恩特环保设备有限公司
宣传

报名参会
更多+

报告下载

有色专家
更多+

江西理工大学
副处长/教授
中冶沈勘秦皇岛工程技术有限公司
原矿山院院长/教授级高工
北京科技大学
副院长/教授
北京科技大学、中国科学院
院士
昆明冶金研究院有限公司
党委书记、执行董事
赤泥综合利用研究报告2025
推广

热门技术
更多+

推荐企业
更多+

福建省金龙稀土股份有限公司
宣传

发布

在线客服

公众号

电话

顶部
咨询电话:
010-88793500-807