青岛垚鑫智能科技有限公司
宣传

位置:北方有色 >

有色技术频道 >

分类:
全部
矿山技术
冶金技术
材料制备及加工技术
环境保护技术
分析检测技术
 
全部
功能材料技术
复合材料技术
新能源材料技术
合金材料技术
加工技术
地区:
全部
北京
天津
上海
重庆
河北
山西
辽宁
吉林
黑龙江
江苏
浙江
安徽
福建
江西
山东
河南
湖北
湖南
广东
海南
四川
贵州
云南
陕西
甘肃
青海
内蒙
广西
西藏
宁夏
新疆
其他
其他
展开
 
全部
杭州
宁波
温州
绍兴
湖州
嘉兴
金华
衢州
台州
丽水
舟山

浙江湖州有色金属材料制备及加工技术理论与应用

免费发布技术信息>>
无孔隔离膜复合材料生产设备及其工艺

本发明涉及隔离膜复合材料生产技术领域,尤其涉及一种无孔隔离膜复合材料生产设备及其工艺,该设备包括机架;用于将纸筒上的无孔隔离膜输送到指定装置上的所述输送机构设置于机架上,输送机构末端设置有放卷区,纸筒上的无孔隔离膜于放卷区进行放卷;用于检测放卷区无孔隔离膜是否脱离纸筒的所述第一检测机构设置于输送机构末端;用于将放卷区新的纸筒上无孔隔离膜接头自动粘接到前一条已经脱离对应纸筒并正向指定装置输送的无孔隔离膜末端接头上的所述自动粘合机构设置于所述输送机构与指定装置之间;本发明具有实现无孔隔离膜自动化上料、自动化准确衔接前后无孔隔离膜接头的功能,机械化程度高、实用性强等优点。

标签:
复合材料
浙江 - 湖州 来源:北方有色网 2023-03-18
分层结构铁钴磷化物/碳复合材料的制备方法和扣式电池

本发明涉及一种分层结构铁钴磷化物/碳复合材料的制备方法和扣式电池,属于电极材料制备技术领域,解决了现有技术中磷化物金属作为电极材料电化学性能差的问题。所述方法包括:(1)将铁源和沉淀剂溶于第一反应介质中,搅拌,将得到的混合物移至高压反应釜内衬中,保温,进行反应;将产物离心、洗涤、烘干得到氧化铁微米棒;(2)以步骤(1)得到的氧化铁微米棒为模板,以硝酸钴和/或氯化钴为钴源,同时加入螯合剂,将模板、钴源、螯合剂和第二反应介质混合,超声分散10‑12min,搅拌,将得到的产物离心、洗涤、烘干,在氩气流中,加入次磷酸氢钠,高温煅烧。制备的复合材料具有较好的电化学性能。

标签:
复合材料
浙江 - 湖州 来源:北方有色网 2023-03-18
纤维复合材料及其制备方法

本发明提供了一种纤维复合材料及其制备方法。具体而言,本发明提供了一种复合纤维材料,包括第一功能层、纤维预浸料层、纤维层和第二功能层;其中,所述复合纤维材料中各层之间的连接关系为:纤维预浸料层与第一功能层粘接,纤维层与纤维预浸料层粘接,第二功能层和纤维层粘接;各层之间180°的剥离强度均大于20N/m。本发明还提供了所述复合纤维材料的制备方法:将各层纤维材料铺展好后进行预压,得到预压后的复合纤维材料;将预压后复合纤维材料进行热压,得到热压后的复合纤维材料;将热压后的复合纤维材料进行加固处理,得到所述复合纤维材料。本发明提供的纤维复合材料实现了目前防护材料需要的防刺、防切割、防弹防爆、阻燃、防钝伤等多种性能。

标签:
复合材料
浙江 - 湖州 来源:北方有色网 2023-03-18
碳复合材料、和膏、电池及制备方法

本发明公开了一种碳复合材料、和膏、电池及制备方法,属于铅炭电池负极材料技术领域,碳复合材料以高导电性石墨为内核,表面包裹高比表面的活性炭,形成了石墨表面包裹活性炭的核壳结构。同时解决了活性炭导电性差、木素不可逆吸附和析氢严重等问题,可显著提高铅炭电池的快充性能,降低电池失水,延长铅炭电池的循环寿命。

标签:
复合材料
浙江 - 湖州 来源:北方有色网 2023-03-18
功能磁性复合材料的制备方法

本发明公开了一种功能磁性复合材料的制备方法,包括采用溶胶-凝胶法将易于水解的金属化合物在某种溶剂中与水发生反应经过水解与缩聚过程而逐渐凝胶化,在干燥、烧结处理后得到氧化物与其他化合物固体,选用易于水解的金属化合物为基础材料,制得复合金属醇盐;再采用匀胶技术或提拉工艺在准备好的基片上成膜;匀胶法可以得到50nm-500nm的膜厚,多次提拉得到厚膜;然后水解反应和聚合反应;最后干燥和烧结:用此本发明的方法得到的磁性复合材料原料很容易达到分子级均匀,易于进行微量元素的参杂,所得产物粒径小分布均匀,很容易在不同形状的基底上制备大面积薄膜,此薄膜磁化强度、磁导率也相对较高。是目前磁材改性领域的新方法。

标签:
复合材料
浙江 - 湖州 来源:北方有色网 2023-03-18
树脂基纤维复合材料混合设备

本实用新型公开了一种树脂基纤维复合材料混合设备,涉及热塑材料生产技术领域,本实用新型包括外壳,外壳顶部开设有进料口,外壳底部连通有出料管,出料管内部连通有手动阀门,外壳顶面固定连接有PLC控制器,外壳顶部固定连接有混合结构,外壳顶部一侧固定连接有添料机构,本实用新型通过在外壳内部设置连接管,在连接管不同高度的侧壁上设置单向阀,可以将添加剂与不同高度的原料进行充分均匀的混合,有效缩短混合时间,提高生产效率,通过混合杆与循环叶片的相互配合,使得原料在混合的同时由下至上流动循环,一方面可以进一步加快混合速度,另一方面可以提高混合的均匀度,间接提高复合材料的产品质量。

标签:
复合材料
浙江 - 湖州 来源:北方有色网 2023-03-18
磷酸锰铁锂正极复合材料及其制备方法

本发明涉及一种磷酸锰铁锂正极复合材料及其制备方法,属于锂离子电池正极材料技术领域。一种磷酸锰铁锂正极复合材料,包括磷酸锰铁锂颗粒、包覆磷酸锰铁锂颗粒的银包覆层和包覆所述银包覆层的碳包覆层;所述磷酸锰铁锂颗粒的粒径为50~500nm;所述银包覆层厚度为5~50nm,所述碳包覆层厚度为1~20nm;所述磷酸锰铁锂颗粒的锰铁摩尔比为1:(0.5~2)。本发明制备的LiMnxFeyPO4/Ag/C复合正极材料,采用了双包覆层异质包覆结构,能够原位将银包覆在磷酸锰铁锂颗粒表面,实现银在磷酸锰铁锂表面的均匀包覆,对于Mn3+离子的溶解起到关键的保护作用,能够有效提升复合正极材料的循环性能。

标签:
复合材料
浙江 - 湖州 来源:北方有色网 2023-03-18
含有白炭黑的橡胶复合材料及降低白炭黑在橡胶基体中团聚的混炼方法

本发明提供一种降低白炭黑在橡胶基体中团聚的混炼方法,由如下重量份数的原料组成:生胶,白炭黑,硅烷偶联剂Si‑69,N234炭黑,促进剂DPG,橡胶助剂,硫化剂。本发明还提供一种含有白炭黑的橡胶复合材料制备方法,本发明提供了一种改善白炭黑在橡胶基体中团聚的混炼方法,改善白炭黑在橡胶基体中的团聚及二次团聚问题,提高硅烷偶联剂Si‑69对白炭黑表面的改性的效果。从而改善高含量白炭黑的橡胶复合材料的压出工艺性能及改善白炭黑补强效率低的问题。

标签:
复合材料
浙江 - 湖州 来源:北方有色网 2023-03-18
复合材料拉挤型材自动化生产设备及其方法

本发明公开一种复合材料拉挤型材自动化生产设备及其系统,该自动化生产设备包括:纤维纱存储装置,纤维纱存储装置用于对纤维纱进行储存;纤维纱导向装置,纤维纱导向装置用于对纤维纱存储装置导出的纤维纱进行导向;拉挤模具装置,拉挤模具装置用于实现型材的加热成型;注料装置,注料装置用于实现将物料注射到注射料盒和/或拉挤模具内;夹持牵引装置,夹持牵引装置用于实现型材的夹持牵引;吸尘切割装置,吸尘切割装置用于实现吸尘及型材的切割;中央控制装置,实现对前述装置的自动化控制。本发明可以全自动地高效率大批量生产的复合材料拉挤型材,注胶机设置于机架内,使得整条生产线更紧凑。

标签:
复合材料
浙江 - 湖州 来源:北方有色网 2023-03-18
复合材料合成用沉积系统

本发明提供了一种复合材料合成用沉积系统,包括激光源、一驱动机构、至少两个第一反射镜、真空室、至少两个用于固定不同的源材料靶材的第一固定平台以及用于沉积复合材料的基片;所述第一固定平台以及基片均设置于所述真空室内,所述至少两个第一固定平台分别与所述基片的预设区域相对,所述真空室设置有通光部,所述激光源与所述第一反射镜的出光方向呈预设夹角;所述驱动机构与所述激光源连接以驱动所述激光源移动,使得所述激光源发出的激光选择性地射入至所述至少两个第一反射镜中的一个第一反射镜,所述第一反射镜用于将激光通过所述通光部射入所述真空室中的对应所述第一固定平台处。

标签:
复合材料
浙江 - 湖州 来源:北方有色网 2023-03-18
绿色水泥复合材料
绿色水泥复合材料 1183     
 0

本发明涉及建筑材料制造领域,尤其涉及一种绿色水泥复合材料,包含以下重量份的组分:100份的水泥基材、5‑10份的甲基硅油、5‑8份的磷酸盐、5‑8份的硅藻土、3‑5份的活性二氧化硅、25‑45份的秸秆纤维、10‑15份的矿渣和2‑3份玻璃纤维;所述秸秆纤维的制备方法为:将秸秆破碎,分离成3‑5cm长的短秸秆,加入到质量百分比为7‑10%的氢氧化钠溶液中进行碱处理,然后用醋酸中和水洗,去除水洗液,将秸秆加入到脲醛树脂胶液中,在50‑60℃下持续搅拌30‑60min,然后在60‑80℃下烘干得到秸秆纤维。本发明得到的绿色水泥复合材料强度高,韧性好。

标签:
复合材料
浙江 - 湖州 来源:北方有色网 2023-03-18
PVC/甘蔗渣复合材料的制备方法

本发明公开了一种PVC/甘蔗渣复合材料的制备方法,包括将收集回来的甘蔗渣晒干后进行破碎,浸泡到质量分数为15~22%的氢氧化钠溶液中6~10h,然后捞出用水进行洗涤,烘干后粉碎过200~300目网晒,备用;将步骤S1中的甘蔗渣粉末加入到反应釜中,然后加入乙酸乙酯搅拌10~15min,再加入聚乳酸,然后在45~60℃下反应3~5h,冷却,过滤,干燥,备用;将步骤S2中改性后的甘蔗渣粉末、PVC树脂、添加剂和偶联剂加入到双螺杆挤出机中,转速为60~80r/min,挤出成型温度为一区125~150℃,二区160~165℃,最后在175~180℃挤出,得到所述复合材料。

标签:
复合材料
浙江 - 湖州 来源:北方有色网 2023-03-18
复合材料保温板生产设备

本实用新型公开了一种复合材料保温板生产设备,包括材料混合罐与托料板,所述材料混合罐的前端外表面中间位置处固定安装有电控箱,且材料混合罐的一侧外表面中间位置处固定安装有进水管,所述材料混合罐内部活动安装有搅拌杆,且材料混合罐位于搅拌杆上方位置处的内壁活动安装有双开密封罐盖,所述材料混合罐靠近双开密封罐盖位置处的内壁固定安装有支杆,且双开密封罐盖与支杆的之间位置处固定安装有收缩弹簧,所述托料板的上端外表面固定安装有传送框。本实用新型所述的一种复合材料保温板生产设备,设有双开密封罐盖和内置压辊框,能够方便添加原材料,简化操作流程,并能提高保温板的加工效率,带来更好的使用前景。

标签:
复合材料
浙江 - 湖州 来源:北方有色网 2023-03-18
复合材料用苎麻纤维碱法处理装置

本实用新型公开了一种复合材料用苎麻纤维碱法处理装置,包括矩形推板、内部开设有处理仓的处理桶体以及活动安装于处理仓内的挤压组件,所述挤压组件包括两侧均固定安装有贴合处理桶体内壁的承压网框,所述承压网框对称设置有两个,且承压网框内固定安装有异形挤压网,所述矩形推板的上端面对称固定安装有杆套,所述处理桶体的上端面居中固定安装有用于驱动挤压组件移动的驱动组件,所述驱动组件包括居中固定安装于处理桶体内壁顶部的承重板,所述承重板的上端面对称固定安装有电动伸缩杆,所述电动伸缩杆的杆件穿过承重板并固定连接于杆套内,该复合材料用苎麻纤维碱法处理装置,结构合理,便于提升苎麻纤维的碱法处理效果,实用性强。

标签:
复合材料
浙江 - 湖州 来源:北方有色网 2023-03-18
Ag/PMMA微孔发泡纳米复合材料及其制备方法

本发明公开了一种Ag/PMMA微孔发泡纳米复合材料,其特征在于:以硝酸银、PMMA、PVP、DMF、乙醇为原料,以二氧化碳作为发泡剂,采用超临界二氧化碳发泡的方法制备Ag/PMMA微孔发泡纳米复合材料。本发明不仅生产成本较低,而且生产过程较为方便。

标签:
复合材料
浙江 - 湖州 来源:北方有色网 2023-03-18
具有吸附甲醛功能的无纺布复合材料制备装置

本发明提供一种具有吸附甲醛功能的无纺布复合材料制备装置,涉及无纺布制备技术领域,包括装载桶;所述装载桶的底部有两个连接套筒,装载桶的底部安装有一个收集壳体;所述密封罩通过螺栓安装在装载桶的上方,密封罩的上方有两个锁定扣;所述甩干机构由驱动马达、螺纹连接座和甩干桶共同组成,甩干桶安装在装载桶的内侧位置。甩干桶的外侧设置有煽动块,随着甩干桶的转动煽动块会产生气流,通过煽动块对复合材料的甲醛进行辅助吸附,从动齿轮的底部设置有吸附风扇,因此吸附风扇会产生吸附力对甲醛吸附,本发明将吸附风扇与甩干组装相结合,不仅将甩干组装的驱动源充分利用,同时也使整体结构紧凑。

标签:
复合材料
浙江 - 湖州 来源:北方有色网 2023-03-18
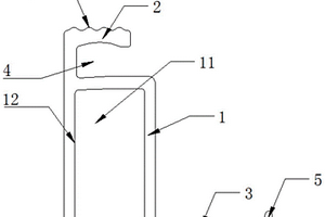
高强度防腐蚀复合材料窨井盖

本实用新型公开了一种高强度防腐蚀复合材料窨井盖,包括复合材料层和由若干根主筋和拉筋纵横交叉与钢筋圈焊接而成的网状钢筋架,钢筋架表面经热喷涂处理,有防腐材料层,钢筋架上焊接有两个钢筋圈,钢筋圈表面经热喷涂处理,有防腐材料层。该窨井盖强度高、耐腐蚀,适用范围广。

标签:
复合材料
浙江 - 湖州 来源:北方有色网 2023-03-18
复合材料拉挤型材自动化生产设备

本实用新型公开一种复合材料拉挤型材自动化生产设备,该自动化生产设备包括:纤维纱存储装置,纤维纱存储装置用于对纤维纱进行储存;纤维纱导向装置,纤维纱导向装置用于对纤维纱存储装置导出的纤维纱进行导向;拉挤模具装置,拉挤模具装置用于实现型材的加热成型;注料装置,注料装置用于实现将物料注射到注射料盒和/或拉挤模具内;夹持牵引装置,夹持牵引装置用于实现型材的夹持牵引;吸尘切割装置,吸尘切割装置用于实现吸尘及型材的切割;中央控制装置,实现对前述装置的自动化控制。本实用新型可以全自动地高效率大批量生产的复合材料拉挤型材,注胶机设置于机架内,使得整条生产线更紧凑。

标签:
复合材料
浙江 - 湖州 来源:北方有色网 2023-03-18
耐烧蚀复合材料树脂制备装置

本发明提供了一种耐烧蚀复合材料树脂制备装置,包括机身,其特征在于,还包括:树脂制备单元,设于所述温度感应单元下方;供氧单元,设于所述树脂制备单元一侧,以及传动单元,设于所述机身内部。通过集氧机构沿着壳体做上下往复运动,当集气机构移到壳体位于罐体的出口下方时,若壳体内部的含氧量充分,单向阀在推力弹簧对卡板的推力作用下处于闭合状态,当壳体内部的含氧量不足时,由于罐体内部的压强大于壳体内部的压强,罐体内部的氧气通过挤压卡板,使得卡板挤压推力弹簧后打开,罐体内部的氧气进入壳体内部,从而达到了能够在树脂制备过程中实现氧气的自动补给,制备出的复合材料树脂耐烧蚀性能更佳的效果。

标签:
复合材料
浙江 - 湖州 来源:北方有色网 2023-03-18
聚吡咯包覆硫纳米颗粒-石墨烯纤维无纺布复合材料及其制备方法与应用

本发明公开了一种聚吡咯包覆硫纳米颗粒‑石墨烯纤维无纺布复合材料及其制备方法与应用,通过湿法纺丝方法将合成的聚吡咯包覆的硫纳米颗粒直接纺入石墨烯无纺布材料中。其中石墨烯无纺布材料质量轻且具有良好的机械性能,为电极材料赋予良好的柔性;具有优异的导电性,可以促进反应过程中的离子电子传输,是优异的硫载体材料。在硫纳米颗粒表面均匀包覆聚吡咯涂层,可以有效地防止硫在纺丝过程中团聚,并且聚吡咯良好的导电性可以有效促进电极反应过程中的电子转移,提升硫的利用率。因此,制备的聚吡咯包覆硫纳米颗粒‑石墨烯纤维无纺布复合材料具有优异的导电性和灵活性,作为自支撑锂硫电池正极材料,具有高比容量和出色的循环倍率性能。

标签:
复合材料
浙江 - 湖州 来源:北方有色网 2023-03-18
改性塑木复合材料板材及其制备方法

本发明公开了一种改性塑木复合材料板材及其制备方法,其中,一种改性塑木复合材料板材,由以下重量份数的原料制备而成:改性木粉100份、聚氯乙烯塑料粒子60份、马来酸酐接枝塑料粒子10份、改性赤泥8份、碳酸钙粉5‑9份、硬脂酸钙3‑5份、氯化聚乙烯2‑5份、发泡剂0.5份、抗氧剂0.5份。本发明所用塑料量减小,对环境更加友好,模量更高,刚性更大,更加抗蠕变,板材耐水、防腐、防白蚁,特别在露天使用,不易开裂腐烂,使用寿命更长,该板材静曲强度等强度更高,吸水厚度膨胀减小。

标签:
复合材料
浙江 - 湖州 来源:北方有色网 2023-03-18
用于汽车灯饰的增韧阻燃PC复合材料

本发明公开的一种用于汽车灯饰的增韧阻燃PC复合材料,其组分按质量份数配比为:中粘度PC 98.2份~99份、抗氧剂0.1份、硅系增韧阻燃剂0.7份~1.5份、改性剂0.2份,配方简单,解决增韧剂和阻燃剂相互抵触的问题,升所述增韧阻燃PC复合材料的强度及分散性,防止相同组分颗粒的沉降和凝聚,使各组分更为均匀,整体性质更为稳定。

标签:
复合材料
浙江 - 湖州 来源:北方有色网 2023-03-18
复合结构塑木复合材料板材及其制备方法

本发明涉及一种复合结构塑木复合材料板材及其制备方法。一种复合结构塑木复合材料板材由耐磨表层、塑木亚层及石塑结构层构成,塑木亚层包覆在石塑结构层外表面形成塑木芯板,耐磨表层涂覆在塑木芯板外表面;塑木亚层由聚乙烯、马来酸酐接枝聚乙烯、有机‑无机杂化填料、木粉、氯化聚乙烯和硬脂酸钙复合而成;石塑结构层由聚乙烯、马来酸酐接枝聚乙烯、混合填料、三元乙丙橡胶粉和硬脂酸钙复合而成;耐磨表层由耐磨涂料涂覆而成,耐磨涂料由环氧树脂、金刚砂、三元乙丙橡胶粉、腰果酚改性环氧稀释剂和甲基四氢基邻苯二甲酸酐复合而成。本发明刚性大,强度高,不变形,耐磨性好,加工制作、运输、安装均十分方便,防水、防腐、防虫蛀,成本低。

标签:
复合材料
浙江 - 湖州 来源:北方有色网 2023-03-18
石墨烯增韧的PPR复合材料及其制备方法

本发明了一种石墨烯增韧的PPR复合材料及其制备方法,属于高分子增韧改性领域。该石墨烯增韧的PPR复合材料是由纸团状石墨烯微球作为增韧剂与PPR熔融共混挤出得到;所述纸团状石墨烯微球的表面为多褶皱片层结构,具有良好的柔性,同时形成的微球结构能更好的分散在PPR基体中,类似于弹性粒子能吸收应力,进而提高PPR材料的韧性。本发明利用纸团状石墨烯微球作为增韧改性剂大大提高了PPR材料的断裂伸长率和冲击强度,特别是改善了PPR材料低温冷脆性,扩展了PPR材料的应用范围。

标签:
复合材料
浙江 - 湖州 来源:北方有色网 2023-03-18
快速插接的复合材料拉挤型材及其应用

本发明公开一种快速插接的复合材料拉挤型材及其应用,包括:型材本体以及至少一个处于型材本体端头的型材插接部,插接时,型材插接部与带突刺或者突齿的插接件过盈配合,型材插接部的局部或者全部在受挤压作用下其材料本身能够产生形变,形成插接面的材料本身的断裂延伸率大于5%。本发明在复合材料拉挤型材结构中引入在挤压作用下可变形的材料来形成插接部的方案,使得型材可以实现快速插接安装。

标签:
复合材料
浙江 - 湖州 来源:北方有色网 2023-03-18
石墨烯增韧的ABS复合材料及其制备方法

本发明提供了一种石墨烯增韧的ABS复合材料及其制备方法,属于高分子增韧改性领域。该石墨烯增韧的ABS复合材料是由纸团状石墨烯微球作为增韧剂与ABS熔融共混挤出得到;纸团状石墨烯微球的表面为多褶皱片层结构,具有良好的柔性,同时形成的微球结构能更好的分散在ABS基体中,类似于弹性粒子能吸收应力,进而提高ABS材料的韧性。本发明利用纸团状石墨烯微球作为增韧改性剂可显著提高了ABS材料的韧性,同时还能赋予材料更卓越的耐热性、耐老化性及阻燃性等综合性能,扩展了ABS材料的应用范围。

标签:
复合材料
浙江 - 湖州 来源:北方有色网 2023-03-18
用于铅炭电池的铅炭复合材料的制备方法

本发明公开了一种用于铅炭电池的铅炭复合材料的制备方法,包括如下具体步骤:1)将可溶性铅盐溶解于纯水中,制成饱和可溶性铅盐溶液;2)在室温环境下,将步骤1)中制备完成的饱和可溶性铅盐溶液与多孔碳材料按比例进行混合、浸渍并搅拌,混合均匀后过滤去除多余的溶液,得到碳载铅盐复合碳材料;3)将步骤2)中得到的碳载铅盐复合碳材料进行干燥;4)将步骤3)中得到的干燥后的碳载铅盐复合碳材料,在惰性气体或还原性气体氛围下,进行高温煅烧,煅烧完成后即得到铅炭复合材料。本发明所需的原料廉价易得,整个生产过程工艺方法简单易操作,生产所需的设备简单,设备投入成本低,便于实现大规模的工业化量产。

标签:
复合材料
浙江 - 湖州 来源:北方有色网 2023-03-18
复合材料边框型材及太阳能组件边框

本实用新型公开一种复合材料边框型材及太阳能组件边框,复合材料边框型材包括:型材本体以及设置于型材本体上用于与带齿角码插接的插接型腔,在边框型材角码安装区域的插接型腔侧壁内表面上设有角码插件部,角码插件部为多个凸点或凸台;且分布有凸点或凸台的插接型腔侧壁为包含有纤维织物的侧壁;凸点或凸台用于对带齿角码进行插接固定。本实用新型采用纤维织物可以很好的加强边框型材角码安装区域的机械强度,从而加强凸点或凸台的机械强度,实现与带齿角码的快速插接。

标签:
复合材料
浙江 - 湖州 来源:北方有色网 2023-03-18
聚芳二胺/金属氧化物复合材料的制备方法和应用

本发明涉及电池材料技术领域,公开了一种聚芳二胺/金属氧化物复合材料的制备方法和应用,制备方法为:(1)将芳二胺加入溶剂中,配制成A组分溶液;(2)将氧化剂加入溶剂中,配制成B组分溶液;(3)将可溶性金属盐加入A组分溶液或B组分溶液中,配制成混合液;(4)将混合液与另一组分溶液混合,进行氧化聚合反应;(5)将反应后的产物进行固液分离,固相经清洗、干燥得到所述的聚芳二胺/金属氧化物复合材料。本发明通过导电聚芳二胺的复合可以解决金属氧化物不导电子、强碱中易于溶解的问题,并且制备过程操作简单、方便、易于工业化,且生产成本低、污染少。

标签:
复合材料
浙江 - 湖州 来源:北方有色网 2023-03-18
柔性自支撑石墨烯/铁氰化锰复合材料及其制备方法和应用

本发明公开了一种柔性自支撑石墨烯/铁氰化锰复合材料及其制备方法和应用。本发明制备方法以氧化石墨烯水凝胶为基体,采用湿化学的方法,在氧化石墨烯凝胶中负载铁氰化锰,再通过化学还原得到石墨烯/铁氰化锰复合材料。氧化石墨烯骨架经还原后可以显著增强整个复合电极的电子导电性。同时,氧化石墨烯凝胶的多孔骨架负载铁氰化锰活性物质,可为电极内部的离子输运提供充分的传输通道,有利于电解质离子的扩散。本发明提供的制备方法,工艺简便、成本低,易与操作。

标签:
复合材料
浙江 - 湖州 来源:北方有色网 2023-03-18
上一页 78 79 80 81 82 ... 87 下一页
共87页    到第

北方有色为您提供最新的浙江湖州有色金属材料制备及加工技术理论与应用信息,涵盖发明专利、权利要求、说明书、技术领域、背景技术、实用新型内容及具体实施方式等有色技术内容。打造最具专业性的有色金属技术理论与应用平台!

全国热门有色金属设备推荐
展开更多 +
全国热门有色金属技术推荐
展开更多 +

 

江西省隆恩特环保设备有限公司
宣传

报名参会
更多+

报告下载

有色专家
更多+

广西大学
处长/教授
湖南科技大学
所长/教授
中国矿业大学
副院长/教授
长沙矿山研究院有限责任公司
高级工程师
中南大学
粉末冶金国家重点实验室 主任
赤泥综合利用研究报告2025
推广

热门技术
更多+

推荐企业
更多+

福建省金龙稀土股份有限公司
宣传

发布

在线客服

公众号

电话

顶部
咨询电话:
010-88793500-807