青岛垚鑫智能科技有限公司
宣传

位置:中冶有色 >

有色技术频道 >

分类:
全部
矿山技术
冶金技术
材料制备及加工技术
环境保护技术
分析检测技术
 
全部
废水处理技术
大气治理技术
固/危废处置技术
土壤修复技术
地区:
全部
北京
天津
上海
重庆
河北
山西
辽宁
吉林
黑龙江
江苏
浙江
安徽
福建
江西
山东
河南
湖北
湖南
广东
海南
四川
贵州
云南
陕西
甘肃
青海
内蒙
广西
西藏
宁夏
新疆
其他
其他
展开
 
全部
南京
无锡
徐州
常州
苏州
南通
连云港
淮安
盐城
扬州
镇江
泰州
宿迁

江苏南通有色金属环境保护技术理论与应用

免费发布技术信息>>
用含镍废水制备镍铝水滑石的方法

本发明公开了一种利用含镍废水生产镍铝类水滑石的方法,在含镍废水中按照一定的摩尔配比加入相应的含铝废弃物形成不溶于水的镍铝类水滑石,本发明的方法实现循环经济,清洁生产,提高电镀物质资源的转化率和循环利用率,有效地治理了废水保护了环境,给工业化生产镍铝类水滑石提供了新工艺。

标签:
废水处理
江苏 - 南通 来源:中冶有色网 2023-03-19
山梨酸废水资源化利用方法

本发明公开了一种山梨酸废水资源化利用方法,包括:山梨酸废水连续进入蒸发塔,塔顶的气相与真空塔釜液进行换热后进入真空塔,釜液连续排出,废水进料和出料保持平衡,维持塔釜液位;蒸发塔塔顶出料与真空塔釜液进行换热后冷却,从真空塔中部进入真空塔;真空塔塔釜液连续打入加压塔中,釜液与所述蒸发塔进料废水换热,再并入真空塔进行精馏;真空塔顶经冷却器冷却,连续打入膜分离组件,分离出其中HAC,膜内测截留分离出的高浓液,高浓液打至淡酸提浓工序进行精馏处理,回收利用HAC和盐酸;透膜后出料液作为粗品的洗涤水进行系统回用。本发明分离出的HAc可回收利用,减少原料消耗,盐酸再进行回用,实现山梨酸工业生产的清洁化及资源化利用。

标签:
废水处理
江苏 - 南通 来源:中冶有色网 2023-03-19
利用冷冻法实现高盐高COD废水零排放装置

本发明公开了一种利用冷冻法实现高盐高COD废水零排放装置,属于工业废水处理技术领域。该高盐高COD废水零排放装置包括:缓冲水箱、进料泵、冷冻结晶器、冷冻换热器、冷冻循环泵、冰晶成长器、冰浆输送泵、冰浆离心机、冷冻母液罐、融冰罐、浓缩液输送泵、母液回流泵、出水泵、冷冻机组、回用水设备、焚烧系统。该废水零排放装置在低温环境下进行,使得介质对各结构的腐蚀速率大幅度降低,延长了装置的使用寿命,降低成本;同时,该装置通过冷冻法实现零排放,无气相相变产生,不会使COD组分变成蒸汽挥发,防止异味气体产生,且降低了能耗。

标签:
废水处理
江苏 - 南通 来源:中冶有色网 2023-03-19
用含铜废水制备铜铝水滑石的方法

本发明公开了一种用含铜废水制备铜铝水滑石的方法,以含铜废水中铜为计量标准,按照Cu:Al=1.5~5:1de摩尔比投入含铝类添加剂,在常温下搅拌反应8~96小时,分离出沉淀物,沉淀物在80~500℃条件下烘干,得到铜铝类水滑石。本发明的方法工艺条件温和,常温、常压没有特殊工艺要求,合成过程中没有能源消耗,节能;对废水水质没有特殊要求,合成条件广,本发明以废治废,清洁环保有效地治理了废水保护了环境,给工业化生产铜铝类水滑石提供了新工艺。

标签:
废水处理
江苏 - 南通 来源:中冶有色网 2023-03-19
叶酸废水的环保处理方法

本发明属于化工领域,具体涉及一种叶酸废水的环保处理方法,具体包括如下步骤:调节酸精制母液pH后,加入一定量的絮凝剂,静置过滤,加入铁碳,充分曝气;加入氧化剂,搅拌下进行氧化反应,再次加入絮凝剂,静止沉淀1小时后过滤。本发明提供的叶酸废水的环保处理方法,工艺简便,反应易于操作,化害为利,节约资源和成本,具有很好的工业化前景,废水经过处理,易达到国家排放标准,特别适合规模化大生产对于环保的要求。

标签:
废水处理
江苏 - 南通 来源:中冶有色网 2023-03-19
利用含铜废水插层生产铜铝类水滑石的方法

本发明公开了一种利用含铜废水插层生产铜铝类水滑石的方法的方法,以含铜废水中铜为计量标准,按照铜:水化氯铝酸钙=1:10~20的质量比投入水化氯铝酸钙,在常温下反应8~96小时,分离出沉淀物,沉淀物在80~500℃条件下烘干,得到铜铝类水滑石,本发明的方法经济、环保、实用,提高电镀物质资源的转化率和循环利用率,采用全过程控制、结合废水综合处理,实现废水零排放,有效地治理了废水保护了环境,给工业化生产铜铝类水滑石提供了新工艺。

标签:
废水处理
江苏 - 南通 来源:中冶有色网 2023-03-19
头孢替唑酸制备过程中含氟-硼废水处理工艺

本发明公开了一种头孢替唑酸制备过程中含氟-硼废水处理工艺,通过两级中和反应分别除去所述废水内的硼酸和氟硼酸,使工业废水中氟含量降低至5mg/l,硼含量降低至5mg/l,废水pH为6-7,达到国家废水排放标准,该工艺操作简单,投资小,副产物价值大,硼酸钙可用于无碱玻璃纤维生产,氟硼酸钾用作聚丙烯合成的催化剂。

标签:
废水处理
江苏 - 南通 来源:中冶有色网 2023-03-19
平板膜生物反应器和反渗透的综合膜集成系统的废水处理工艺

本发明公开了一种平板膜生物反应器和反渗透的综合膜集成系统的废水处理工艺,预处理后的纺织废水先进行好氧生化处理或缺氧与好氧相结合的生化处理,然后通入采用平板式聚偏氟乙烯膜组件的膜生物反应器进行处理,膜生物反应器的产水再经过苦咸水反渗透膜进行反渗透处理。纺织废水经本发明处理后,得到的处理水中,总硬度低于0.2ppmas?CaCO3,而且电导率在10~200uS/cm。该产水符合工厂水回收的要求,可以作为工业用水使用。该方法克服了纺织废水中特殊物质、较高溶解性固体浓度、有机物浓度和化学成分波动大等问题,处理水质稳定可靠且膜清洗等操作简单易得。

标签:
废水处理
江苏 - 南通 来源:中冶有色网 2023-03-19
用于提升酸碱废水处理效率的回收利用装置

本实用新型公开了一种用于提升酸碱废水处理效率的回收利用装置,包括中和处理池和回收机构,所述中和处理池的内部设置有PH值测验器和搅拌器,其特征在于,所述中和处理池的上部两侧分别连接设置有酸性管道和碱性管道,所述酸性管道和碱性管道通过阀门组件与搅拌器配合设置,所述PH值测验器上设置有传感器,所述传感器与阀门组件电连接,所述中和处理池的一端通过泵组件与除盐机构的一端连接,所述除盐机构的另一端与回收机构连接。本实用新型通过泵组件将含有废盐的废水输送至除盐机构进行处理提炼出固体盐和废水,固体盐外运处理,废水则通过回收池进行处理后输送到工业生产中进行循环再利用,大大降低了处理难度,有效地提高了处理效率。

标签:
废水处理
江苏 - 南通 来源:中冶有色网 2023-03-19
超导磁混凝分离废水一体机

本发明是一种超导磁混凝分离废水一体机,将废水从入水口引入混凝装置,在搅拌同时加入混凝剂、磁介质粉和絮凝剂,混合的水体流入澄清装置;在磁性絮体和水体沉淀分离后,澄清水和磁性絮体分别进入超导磁分离器内两个不同的腔体,通过超导磁线圈吸附下磁介质粉,最后净水和污泥通过各自腔体的出口流出,吸附的磁粉通过磁粉回流管道可以回流进混凝装置,保证充分循环使用。通过将本身无磁性的有害污染物质与磁介质粉充分结合,从而实现超导磁分离净化废水,使其能够广泛高效应用于工业、生活和市政废污水处理且成本低廉,可以通过远程控制高效运行。

标签:
废水处理
江苏 - 南通 来源:中冶有色网 2023-03-19
苯胺类废水的处理方法
苯胺类废水的处理方法 1138     
 0

本发明公开了一种苯胺类废水的处理方法,包括如下步骤:(1)将苯胺的废水经过滤器过滤除去沉淀类杂质;(2)采用树脂柱对滤液进行处理,吸附滤液中的苯胺;(3)采用无机酸将滤液的pH调节至5‑6.5,加入铁、活性炭及稀土元素,在气浮状态下反应,得到处理液;(4)向处理液中加入硫酸亚铁和双氧水,其中硫酸亚铁的用量为1.2~3.5g/L,双氧水的用量为1.2~5.4g/L,反应结束后提取上层清液;(5)采用活性炭对上清液进行吸附处理。本发明的方法能有效除去废水中苯胺以及其他大分子有机物,实现了废水的工业再利用。

标签:
废水处理
江苏 - 南通 来源:中冶有色网 2023-03-19
火力发电厂燃煤机组脱硫废水零排放系统

本发明涉及一种火力发电厂燃煤机组脱硫废水零排放系统,依次包括:序批式反应器:将水中的金属离子、硫酸根去除;双介质过滤器:进一步除去水中悬浮物;NaCl床:除去水中的钙镁等高价离子;电渗透装置:对废水进行浓缩;高压水泵以及保安过滤器:转移废水,并去除废水中的细小颗粒;一级反渗透以及二级反渗透装置:对电渗析淡水进行进一步脱盐。本发明的优点在于:采用序批式反应器,增加了系统的抗负荷冲击能力,既实现水的澄清,又实现水的调质;采用NaCl床的离子选择吸附功能,结晶产物达到工业级纯度;利用电渗析浓水的高含盐量,实现了对NaCl床的再生,采用了二级反渗透装置,脱盐效率高、投资省;整个过程无新的物质产生。

标签:
废水处理
江苏 - 南通 来源:中冶有色网 2023-03-19
用于灭多威生产废水的预处理装置

本发明涉及灭多威的废水处理技术领域,特别涉及一种用于灭多威生产废水的预处理装置,包括电加热反应釜、碱解罐和曝气罐,电加热反应釜顶部设有竖直向上设置的第一管道,第一管道的顶部连接有冷凝管,冷凝管的底端设有滴液管,滴液管位于碱解罐的正上方,碱解罐和曝气罐之间通过第二管道连通,第二管道上安装有单向阀,曝气罐上安装有与曝气罐内部连通的第三管道,该第三管道上安装有用于控制第三管道通断的电磁阀,曝气罐顶部搭设有支架,支架上安装有搅拌器,搅拌器的搅拌轴伸入曝气罐内。本发明能够实现废水的自动化碱解、空气曝气和絮凝处理,完成废水的预处理,其具有操作简单,设备成本低,能耗小,实用性强。

标签:
废水处理
江苏 - 南通 来源:中冶有色网 2023-03-19
氟胞嘧啶氯化废水中回收N,N-二甲基苯胺再循环利用的方法

本发明公开了一种氟胞嘧啶氯化废水中回收N,N‑二甲基苯胺再循环利用的方法,将氟胞嘧啶氯化废水送至废水处理釜中,搅拌降温,滴加氢氧化钙溶液进行中和,调pH值,N,N‑二甲基苯胺盐酸盐与氢氧化钙反应得N,N‑二甲基苯胺,过滤去磷酸盐固体,过滤后的废水送至废水回收釜,加入甲苯,萃取废水中的N,N‑二甲基苯胺,分层,甲苯层浓缩,加入无水硫酸钠干燥,过滤后得N,N‑二甲基苯胺,送至氟胞嘧啶氯化生产工业线中循环利用。其优点在于:本发明回收循环利用氯化废水中的N,N‑二甲基苯胺,可以降低原料成本,减少废水中N,N‑二甲基苯胺对环境和操作人员产生的毒害,减少三废处理成本,提高企业经济效益,符合现代化绿色环保生产理念。

标签:
废水处理
江苏 - 南通 来源:中冶有色网 2023-03-19
有机废水处理用活性炭原位再生工艺及装置制备

本发明公开了一种有机废水处理用活性炭原位再生工艺及装置。活性炭填充于电化学反应器中,待活性炭吸附有机废水致使出水接近处理要求后,通入再生液,开通直流电源,反应器由吸附装置转换为三维电极反应装置,活性炭颗粒被复极化为小原电池,在电化学作用下,催生强氧化物质将吸附的有机物分解成二氧化碳和水,实现活性炭的再生。再生液可多次循环利用,再生完毕排空再生液,通入废水进行吸附,可实现重复操作。这样在对废水有效处理的同时,吸附和再生过程可原位相互切换,同时不增加出水的盐度,减少二次污染,药剂消耗量很小,费用较低,具有很好的应用价值,适合于工业推广。

标签:
废水处理
江苏 - 南通 来源:中冶有色网 2023-03-19
肠衣肝素废水处理系统
肠衣肝素废水处理系统 1061     
 0

本实用新型涉及一种肠衣肝素废水处理系统,包括集水池、粗滤罐、微滤罐,粗滤罐位于集水池侧下方,集水池上部侧壁设有与粗滤罐顶部连通的管道,粗滤罐的中部设有一填充有活性碳的板框;微滤罐罐体内设有数道有机微滤膜和有机超滤膜,有机微滤膜位于罐体上部,有机超滤膜位于罐体下部;粗滤罐和微滤罐通过增压泵连接,所述增压泵的进水口与粗滤罐底部连通,增压泵的出水口与膜滤罐进水口连通。肠衣肝素废水储存在集水池内,絮凝后集水池上部的废水流入粗滤罐,经活性碳再次吸附微粒后由增压泵抽入膜滤罐,在滤膜的作用下截留微粒以及其他污染物,以达到净化废水的目的,净化后的废水可通过水泵引入工业用水循环系统进行循环再利用。

标签:
废水处理
江苏 - 南通 来源:中冶有色网 2023-03-19
丙烯酸酯生产废水的生化处理方法及系统

本发明涉及污水处理技术领域,尤其涉及一种丙烯酸酯生产废水的生化处理方法及系统。本发明提供的丙烯酸酯生产废水的生化处理方法,能够实现高浓度废水以及低浓度废水的同时处理,且经过本生化处理方法处理的丙烯酸酯生产废水中的COD、总磷的浓度能够达到工业园区排放标准,丙烯酸的含量也明显降低,达到排放要求。而且,本发明所述生化处理方法在常温常压的环境下进行,具有能耗低、运行成本低等优点。

标签:
废水处理
江苏 - 南通 来源:中冶有色网 2023-03-19
工业污水池液位安全环保控制系统及其方法

本发明公开了一种工业污水池液位安全环保控制系统及其方法,酸度调节池出口与废水排放池连接,废水输出泵一端设置在废水排放池内,废水输出泵另一端与第一控制阀一端和第二控制阀一端连接,第一控制阀与流量计一端连接,第二控制阀另一端与应急处理池连接,应急处理池出口连接第三控制阀一端,第三控制阀另一端连接酸度调节池的回水口,工业用水与第四控制阀一端连接,第四控制阀另一端连接第三控制阀的一端。本发明解决了现有技术中超标废水排放至污水处理厂的问题,可以有效避免水泵抽到废水排放池池底沉积的污泥,最终使废水处理池液位处于相对理想的平稳控制状态,为生产异常时处理废水超标随时创造充足的处理时间。

标签:
废水处理
江苏 - 南通 来源:中冶有色网 2023-03-19
氟胞嘧啶氯化废水循环利用的方法

本发明公开了一种氟胞嘧啶氯化废水循环利用的方法:将氟胞嘧啶氯化废水送至氯化废水处理釜,180rpm转速下搅拌降温,滴加入氢氧化钙溶液进行中和,调pH值,产生磷酸盐固体,过滤去除磷酸盐固体,过滤后的废水送至氯化废水萃洗釜,加入溶剂萃取洗涤,分层上层为有机层,下层为水层,除去有机层,水层用质量浓度为8%的盐酸溶液调至pH为6.5‑7.5,然后将水层送至氟胞嘧啶氯化生产工业线中循环利用。其优点在于:本发明处理后的废水可循环利用,极大的减少生产用水量及废水排放量,降低了废水处理成本,提高企业经济效益,符合现代化绿色环保生产理念。

标签:
废水处理
江苏 - 南通 来源:中冶有色网 2023-03-19
三氯化铝废水制备碳铝酸钙的方法

本发明涉及一种三氯化铝废水制备碳铝酸钙的方法,包括如下步骤:(1)将一定量的工业碳酸钙、氢氧化钙和三氯化铝废水同时加入全返混旋转液膜反应器中,控制转子的转速为4000‑6000rpm,使固液两种物料在反应器转子与定子之间的缝隙处充分混合、反应,并停留6‑12min,所得成核浆液经出料口排放到晶化反应器中;(2)控制晶化反应器的晶化温度为100‑160℃,搅拌反应3‑5h,过滤并反复用去离子水洗涤沉淀物至pH=7‑8,最后咋80‑160℃下干燥16‑24h,得到碳铝酸钙产品。本发明的优点在于:本发明三氯化铝废水制备碳铝酸钙的方法,实现了利用三氯化铝废水制备碳铝酸钙的新工艺,不仅大幅度降低碳铝酸钙的生产成本,还为三氯化铝废水的综合利用开辟了一条新的途径。

标签:
废水处理
江苏 - 南通 来源:中冶有色网 2023-03-19
利用脱硫废水零排放盐溶液制备次氯酸钠溶液的工艺和装置

本发明公开了一种利用脱硫废水零排放盐溶液制备次氯酸钠溶液的工艺,包括以下步骤:a:脱硫废水预处理;b:盐水提纯处理;c:盐水浓缩处理;d:电解盐水生成次氯酸钠;e:使用次氯酸钠。本发明将脱硫废水经处理提纯后得到的氯化钠溶液,经电解生成次氯酸钠溶液,并被作为氧化剂、消毒剂、杀生剂,广泛应用在锅炉补给水、生活污水、开放式循环水中,能够全部实现资源化,既为脱硫废水零排放中产生的工业盐实现了资源的回收再利用,又为电厂节约了生产成本,提高电厂的经济效益,另外,循环水中加入杀生剂,可以有效提高冷凝器端差,提高汽轮发电机的效率。

标签:
废水处理
江苏 - 南通 来源:中冶有色网 2023-03-19
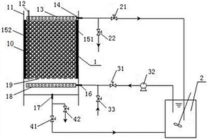
含氟废水处理装置
含氟废水处理装置 878     
 0

本实用新型公开了一种含氟废水处理装置,包括含氟废水贮罐,所述含氟废水贮罐顺序连接有一级反应池和二级反应池,所述含氟废水贮罐与一级反应池之间设有原水转水泵,所述一级反应池和二级反应池之间分别设有一级反应转水泵和转浆泵,所述二级反应池还连接有清水出水泵,所述一级反应池还连接有污泥池,所述污泥池顺序连接有污泥泵、压滤机,所述压滤机连接有尾水池。本实用新型的装置灵活性高,能灵活处理不同水量的废水,且运行效率高、操作简单方便、占地面积小。

标签:
废水处理
江苏 - 南通 来源:中冶有色网 2023-03-19
煤气发生炉含酚废水的处理方法

煤气发生炉含酚废水的处理方法,它涉及废水处理技术领域,它的处理方法为:采用98%的浓硫酸,缓慢的滴加到废水中,对废水进行pH值调节;将酸化后的废水经过滤后泵入集液器中,并除去悬浮物和焦油;将废水清液、QH-1络合萃取剂通过计量后泵入萃取设备中进行多级逆流萃取脱酚;废水清液经过5级逆流萃取,脱酚后的废水进入生产工序回用或进入下一级生化处理工序;5级逆流萃取后的负载萃取剂进行3级逆流反萃,反萃后的溶剂回到溶剂罐循环使用,反萃脱出的酚钠液体收集储存。它可以杜绝因供气不稳定导致裂解炉生产不正常影响产品的收率以及带来的安全和环保隐患。同时大大减少工业废液的产生,经济效益良好。

标签:
废水处理
江苏 - 南通 来源:中冶有色网 2023-03-19
废水中挥发性有机物分离装置及方法

本发明提供了一种废水中挥发性有机物分离装置及方法。其利用低沸点挥发性有机物在水中的溶解度随真空度和温度的增加而大幅度降低的原理将有机物从废水中分离出来。包括:前端封头、二流程水室、前管板、壳体、喷淋管、换热管束、后管板、一流程后水室以及后端封头。负压蒸汽在换热管内进行冷凝释放潜热,废水由喷淋管喷淋在管外形成薄而均匀的液膜进行有机物分离和预热,分离后的气体有机物由抽气装置抽出。本发明在实现将废水中超过89%的低沸点挥发性有机物分离的同时完成废水预热;工业废水在管外形成薄而均匀的液膜,增大了废水与气相的接触面积,提高了挥发性有机物的分离效率。

标签:
废水处理
江苏 - 南通 来源:中冶有色网 2023-03-19
无人值守的工业污泥环保处理系统

本实用新型公开了一种无人值守的工业污泥环保处理系统,其特征在于:包含酸碱平衡调节罐、污泥废水暂存罐、泥浆输送泵、污泥压滤机和污泥泥饼收集装置,酸碱平衡调节罐上端侧面设置有污泥废水进口,酸碱平衡调节罐下端废水出口通过管道与污泥废水暂存罐上端进口连接,污泥废水暂存罐下端出口与泥浆输送泵一端连接,泥浆输送泵另一端与污泥压滤机进口连接,污泥泥饼收集装置设置在污泥压滤机下侧。本实用新型结构合理,能够自动进行工业污泥环保处理,大大减小了人力和物力投入,降低了人工处理成本,同时解决了传统污泥处理压滤不成型呈黏糊状不容易处理的问题,使污泥处理更加方便。

标签:
废水处理
江苏 - 南通 来源:中冶有色网 2023-03-19
环保型水电站用含污油的废水处理装置

本发明涉及工业废水处理技术领域,且公开了一种环保型水电站用含污油的废水处理装置,包括工业废水集中池、污油收集池、刮油板和传送带机构,所述刮油板为两金属板通过中心铰接构成,刮油板的下端与污油收集池的上端一处可转动的连接,所述刮油板的两侧对称设置有拉簧,所述污油收集池的上方还铰接有污油块检测组件。该环保型水电站用含污油的废水处理装置,利用小的污油块刮落到刮油板上的动能而使得单向蓄能机构逐渐蓄能,当有大的污油块下落到刮油板上时,单向蓄能机构将卷簧存储的能量瞬间释放,通过带动挤压调整机构运行而使得刮油板震动促进机构对刮油板表面产生间歇性的震动,以促进刮油板上方的大的污油块下落。

标签:
废水处理
江苏 - 南通 来源:中冶有色网 2023-03-19
3,5,6-三氯吡啶-2-醇钠废水的处理方法

本发明公开了一种3,5,6-三氯吡啶-2-醇钠废水的处理方法,依次包括采用醇钠生产过程中产生的酸性尾气调节废水pH值到2~5;将废水进入微电解槽,微纳米曝气2-4小时;电解出水加入35%双氧水氧化2-4小时,处理过程中加入活性炭;加固体氢氧化钠调pH至7~9,滤除活性炭及污泥,蒸出废水质量80-85%的水,得到工业盐;母液加入下一批废水,再次进行处理。本发明创造性地将微纳米气泡技术与铁碳微电解技术联用进行曝气微电解,再联合芬顿氧化-絮凝沉降-蒸馏工艺,不但对醇钠废水进行了有效的处理,还解决了醇钠生产过程中尾气的排放问题,同时副产工业盐,经济环保,安全可靠。

标签:
废水处理
江苏 - 南通 来源:中冶有色网 2023-03-19
工业余热内热型溶液除湿再生器

本实用新型公开了一种工业余热内热型溶液除湿再生器,包括壳体,壳体中装热水内热型板式换热器,板式换热器的上方设置进液装置,在壳体底部设置集液盘,在板式换热器下方设置进风口,在板式换热器上方设置风机,壳体上部设置出风口。本实用新型结构合理,采用加热部件置于传质部件内部型式,两者成为一个完整的再生设备。不锈钢板状薄片通过焊接进行联系,内部设置管路进行对溶液的间接加热,然后将湿溶液喷淋在不锈钢板状薄片表面,气液在不锈钢板状薄片间发生传热传质,经空气去除水份,排入大气。间接加热热源可采用工业余热,如废水、蒸汽等。

标签:
废水处理
江苏 - 南通 来源:中冶有色网 2023-03-19
利用生产丙烯酸树脂所产生的废水制备低分子量聚丙烯酸钠的方法

本发明提供了一种利用生产丙烯酸树脂所产生的废水制备低分子量聚丙烯酸钠的方法,涉及工业废水回收技术领域。本发明将生产丙烯酸树脂所产生的废水用氢氧化钠或碳酸钠调节pH值至7.5~8.5后过滤除杂,将所得滤液进行减压蒸发浓缩,得到丙烯酸钠浓缩液;将所述丙烯酸钠浓缩液、亚硫酸氢钠和过硫酸铵混合,在60~70℃条件下进行聚合反应,得到反应料液;将反应料液冷却后调节pH值至7.0~7.5,得到低分子量聚丙烯酸钠溶液。本发明利用生产丙烯酸树脂所产生的废水制备低分子量聚丙烯酸钠,充分利用了废水中的丙烯酸和丙烯酸钠资源,增加了废水的附加价值。此外,本发明过程简单,能耗低,降低了废水的处理成本,适合工业化生产。

标签:
废水处理
江苏 - 南通 来源:中冶有色网 2023-03-19
CMC废水处理的方法
CMC废水处理的方法 735     
 0

本发明涉及一种CMC废水处理的方法。具体在于1)含盐废水通过MVR蒸发,去除80%的无机盐,剩下的是含盐10?15%,水分在40?50%及35?50%的有机物,这种溶液的化学需氧量COD高达30万mg/L以上,简称母液;2)在配水池里面将母液配制成化学需氧量COD8000?1万mg/L溶液,然后将配制好的废水抽人厌氧池;3)废水在厌氧池内进行72小时厌氧处理然后废水溢流进入PACT池;4)废水在PACT池停留60个小时进行曝气处理,然后废水溢流进入接触氧化池;5)废水在接触氧化池停留72小时进行曝气处理,要求温度在30?40℃,PH值小于9;6)从接触氧化池里排出的废水COD小于500mg/L。优点是设计巧妙,工艺完善,CMC废液经处理后,盐分被有效地脱除、产生一部分达到工业回用水标准的再生水,剩余的浓缩废液用于进一步的化学处理,得到有较高经济价值的化工产品。

标签:
废水处理
江苏 - 南通 来源:中冶有色网 2023-03-19
上一页 62 63 64 65 66 ... 68 下一页
共68页    到第

中冶有色为您提供最新的江苏南通有色金属环境保护技术理论与应用信息,涵盖发明专利、权利要求、说明书、技术领域、背景技术、实用新型内容及具体实施方式等有色技术内容。打造最具专业性的有色金属技术理论与应用平台!

全国热门有色金属设备推荐
展开更多 +
全国热门有色金属技术推荐
展开更多 +

 

江西省隆恩特环保设备有限公司
宣传

报名参会
更多+

报告下载

有色专家
更多+

有研科技集团有限公司
中国工程院 院士
中南大学
中国工程院院士
广东省科学院资源利用与稀土开发研究所
教授
北京科技大学
主任/教授
中国瑞林工程技术有限公司
中国工程院院士
赤泥综合利用研究报告2025
推广

热门技术
更多+

推荐企业
更多+

福建省金龙稀土股份有限公司
宣传

发布

在线客服

公众号

电话

顶部
咨询电话:
010-88793500-807