青岛垚鑫智能科技有限公司
宣传

位置:中冶有色 >

有色技术频道 >

分类:
全部
矿山技术
冶金技术
材料制备及加工技术
环境保护技术
分析检测技术
 
全部
废水处理技术
大气治理技术
固/危废处置技术
土壤修复技术
地区:
全部
北京
天津
上海
重庆
河北
山西
辽宁
吉林
黑龙江
江苏
浙江
安徽
福建
江西
山东
河南
湖北
湖南
广东
海南
四川
贵州
云南
陕西
甘肃
青海
内蒙
广西
西藏
宁夏
新疆
其他
其他
展开
 
全部
南京
无锡
徐州
常州
苏州
南通
连云港
淮安
盐城
扬州
镇江
泰州
宿迁

江苏南通有色金属环境保护技术理论与应用

免费发布技术信息>>
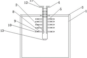
多级脱水调节的工业垃圾智能焚烧处理装置及方法

本发明涉及低碳环保技术领域,且公开了一种多级脱水调节的工业垃圾智能焚烧处理装置及方法,包括焚烧装置,所述焚烧装置顶部的一侧设有进料管,所述进料管的底部滑动连接有堵板,所述堵板的底部固定连接有支撑弹簧,所述焚烧装置远离进料管一侧的顶部设有出烟管。该多级脱水调节的工业垃圾智能焚烧处理装置及方法,垃圾回收箱和金属收集装置、脱水烘干装置均通过漏液孔与废水槽连通,使得工业垃圾经过三次沥水,降低工业垃圾中的水分,脱水烘干装置内部的挤压装置可以将工业垃圾中内部的水分挤压出去,焚烧装置内部产生的高温烟气会进入到脱水烘干装置的内部将工业垃圾烘干,不仅有效的利用了余热还降低了焚烧过程中能源的损耗。

标签:
废水处理
江苏 - 南通 来源:中冶有色网 2023-03-19
还原红F3B生产中的部份废水治理和循环利用

本发明揭示一种还原红F3B生产中部分废水的治理和循环利用,包括:将含铬废酸液经铁氧体法和深度处理以及含盐废水循环利用等。

标签:
废水处理
江苏 - 南通 来源:中冶有色网 2023-03-19
硫代硫酸钠生产中的废水循环利用

本发明揭示一种硫代硫酸钠生产中的废水循环利用工艺,日产100吨规模的硫代硫酸钠工厂,在生产过程中要产生废水35—40吨/日,采用化学物理方法进行治理,其效果很不理想,本发明调整生产工艺,采用废水循环回用,使废水不排放,而“废渣”量大大减少,并回收了大部分原来流失的硫代硫酸钠,取得了明显的经济效益,环境效益和社会效益。

标签:
废水处理
江苏 - 南通 来源:中冶有色网 2023-03-19
火花发电等离子体协同多级膜技术的废水回用方法及系统

本发明公开了一种火花发电等离子体协同多级膜技术的废水回用方法及系统。1)采用闸流管开关电源和针板式火花放电等离子体发生器为基础,采用火花放电产生等离子体对超滤膜、反渗透膜进行改性;2)在推流式反应器中通过活性炭吸附和微滤膜对废水进行预处理;3)通过控制有机负荷的投加量控制待处理废水的电导率,保证在火花放电模式下进行废水处理;4)采用火花放电等离子体技术在曝包含臭氧的氧气条件下脉冲放电产生等离子体与活性炭、紫外辐射协同处理废水;5)利用超滤/反渗透双膜技术协同等离子技术处理废水。本发明对各类印染废水的浊度去除率在99%以上,电导去除率在99%以上,COD去除率在97%以上,BOD去除率在96%以上且将膜污染程度降到最低。

标签:
废水处理
江苏 - 南通 来源:中冶有色网 2023-03-19
废水处理工程用废水处理装置

本实用新型公开了一种废水处理工程用废水处理装置,具体涉及废水处理领域,包括搅拌池,所述搅拌池左侧表面的底部连通有进水管,所述搅拌池右侧表面的底部连通有排水管,所述进水管的左端连通有右连接头,所述右连接头的左侧设置有左连接头,且所述左连接头的左侧连通有注水管,所述左连接头和右连接头之间通过锁止机构固定连接有过滤接头。本实用新型通过设置左连接头、右连接头和过滤头,能够利用锁止机构对过滤头进行拆卸,同时利用左连接头和右连接头上的环形凹槽与过滤头上的环形卡条进行卡接,能够快速对过滤头安装时进行定位,再通过过滤头上通水口外部的密封圈进行密封,避免废水泄漏,从而对堵塞后的过滤网进行更换。

标签:
废水处理
江苏 - 南通 来源:中冶有色网 2023-03-19
废水处理装置及废水处理系统

本实用新型公开了一种废水处理装置,具体涉及废水处理领域,包括中和池、调节池、加热器和蒸发器;所述中和池左侧表面的顶部连通有第一进水管,且所述中和池右侧表面的底部连通有第一出水管;所述调节池左侧表面的顶部连通有第二进水管,且所述调节池右侧表面的底部连通有第二出水管;所述中和池和调节池之间设置有第一水泵。本实用新型通过设置中和池和调节池,能够进行不同的加药,并利用第一PH检测仪和第二PH检测仪对废水中酸碱度进行检测,同时利用搅拌机构中的搅拌叶片能够使废水与药物快速混合,与现有技术相比,增加了药物与废水的混合效率,加快了废水中酸碱度的中和效率。

标签:
废水处理
江苏 - 南通 来源:中冶有色网 2023-03-19
棉隆废水的氧化装置及使用该装置对棉隆废水进行氧化的方法

本发明公开了一种棉隆废水的氧化装置及使用该装置对棉隆废水进行氧化的方法,氧化的方法包括以下操作步骤:棉隆废水的pH调节、棉隆废水的连续氧化和棉隆废水的pH再调节。本发明的优点是:步骤少、设备少、简单易行、原料来源广,可规模处理棉隆废水,使用本发明对棉隆废水进行氧化处理后棉隆废水中的COD值的降解率达到76%左右,氨氮的降解率达到91%左右;该处理棉隆废水的方法投资少、效果好,能方便快捷地进行棉隆废水氧化处理,对环境无毒无害;有了本发明,棉隆可规模生产,产生的企业效益、社会效益和环保效益可观。

标签:
废水处理
江苏 - 南通 来源:中冶有色网 2023-03-19
双乙苯胺废水和双乙烯酮废水的综合处理方法

本发明涉及工业废水处理方法技术领域,具体涉及双乙苯胺废水和双乙烯酮废水的综合处理方法。首先对双乙苯胺废水和双乙烯酮废水进行预处理,然后将两者混合,再然后经过氧化、水解酸化处理即可,它采用专用降解苯环类菌种进行对双乙苯胺废水进行预处理,然后再进行铁碳微电解进行分解苯胺类物质,合理的将两种污水进行混合处理,降低处理成本,提高了处理效果。

标签:
废水处理
江苏 - 南通 来源:中冶有色网 2023-03-19
操作方便的3,5,6-三氯吡啶-2-醇钠废水的处理方法

本发明公开了一种操作方便的3, 5, 6?三氯吡啶?2?醇钠废水的处理方法,包括载体的预处理、负载型催化剂的制备、催化湿式氧化、蒸馏等步骤。本发明选择农林废弃物作为催化剂载体,变废为宝,有利于可持续发展。制得的催化剂具有磁效应,可使水的表面张力、密度及粘度下降,能增加水中溶解氧的浓度,减少空气中氧的传质阻力,因而能显著降低反应温度及压力,还能吸附废水中微量的铜离子,消除重金属污染问题。本发明流程简单,COD去除率高,设备占地面积小,无二次污染,同时副产工业盐,既经济又环保。

标签:
废水处理
江苏 - 南通 来源:中冶有色网 2023-03-19
用于废水中二氯甲烷催化氧化的催化剂及废水处理工艺

本发明公开了一种用于废水中二氯甲烷催化氧化的催化剂及废水处理工艺。所述催化剂由载体、活性组分和络合剂组成,具体组分如下:载体为硅藻土或活性炭,500~900g;活性组分为硫酸亚铁(FeSO4·7H2O),50~150g;络合剂为乙二胺四乙酸二钠(EDTA),5~10g。处理工艺包括三步:第一步是含二氯甲烷废水的预处理,通过盐酸将废水的pH值调节至2.0~4.0;第二步用本发明的催化剂处理含二氯甲烷的废水,1Kg废水中加入催化剂0.5~1.5g,氧化剂(双氧水)20‑100g,搅拌处理10~24h;第三步是采用过滤将固体催化剂和处理后的废水分离。优选条件下,含二氯甲烷工业废水经处理后二氯甲烷去除率可达87.8%。本发明的催化剂具有使用寿命长、再生简单方便的特点。

标签:
废水处理
江苏 - 南通 来源:中冶有色网 2023-03-19
流程简单的3,5,6-三氯吡啶-2-醇钠废水的处理方法

本发明公开了一种流程简单的3, 5, 6?三氯吡啶?2?醇钠废水的处理方法,包括载体的预处理、负载型催化剂的制备、催化湿式氧化、蒸馏等步骤。本发明选择农林废弃物作为催化剂载体,变废为宝,有利于可持续发展。制得的催化剂具有磁效应,可使水的表面张力、密度及粘度下降,能增加水中溶解氧的浓度,减少空气中氧的传质阻力,因而能显著降低反应温度及压力,还能吸附废水中微量的铜离子,消除重金属污染问题。本发明流程简单,COD去除率高,设备占地面积小,无二次污染,同时副产工业盐,既经济又环保。

标签:
废水处理
江苏 - 南通 来源:中冶有色网 2023-03-19
3,5,6-三氯吡啶-2-醇钠废水的处理方法

本发明公开了一种3,5,6-三氯吡啶-2-醇钠废水的处理方法,用废盐酸调节3,5,6-三氯吡啶-2-醇钠废水pH为6~8,调节进水阀,用泵以使废水流经多孔孔板进入电解槽,同时电解槽接通电源,以负载有金属氧化物的钛基电极为阳极,铜板或不锈钢板或钛板为阴极,进行空化电解3~5h,出水过滤蒸馏得盐,母液套用到下一批空化电解中。本发明集直接热分解、自由基氧化、超临界氧化于一体,用空化效应强化电解效果,反应条件温和,装置简单,COD去除率高,操作方便,易实现工业化,同时副产工业盐,既经济又环保。

标签:
废水处理
江苏 - 南通 来源:中冶有色网 2023-03-19
废水处理装置和具备该废水处理装置的废水处理系统

本实用新型公开了一种废水处理装置和具备该废水处理装置的废水处理系统,包括氯水箱,所述氯水箱上端安装有进料口,所述氯水箱内部底端固定连接有斜形底,所述氯水箱上位于斜形底低端上开设有出料口,所述出料口上固定连接有输料管道,所述出料口内侧活动设有开合板,所述氯水箱上安装有智能开合板控制装置。本实用新型通过智能调控操作系统定时控制电机工作,使电机带动钩形连接杆转动,这样带动开合板旋转,当开合板打开时氯水通过输料管道输送至第一氧化单元与第二氧化单元对废水进行杀菌,这样智能定时控制氯水的使用,不仅可以减少氯水的浪费,还可以节约人力,增加废水处理时杀菌的效率。

标签:
废水处理
江苏 - 南通 来源:中冶有色网 2023-03-19
工业废水水质监测装置
工业废水水质监测装置 1161     
 0

本实用新型公开了工业废水水质监测装置,技术要点包括浮盘,所述浮盘的顶部固定连接有竖杆,所述竖杆的顶部转动连接有手摇轮,所述浮盘的内部滑动连接有两个连接杆,两个所述连接杆的之间的底部固定连接有蓄水盒,所述蓄水盒的底部开设有通槽。该实用新型通过浮盘与蓄水盒组成装置主体,首先将蓄水盒放入水中,在浮盘的作用下,使得装置可以稳定浮在水面,然后转动手摇轮调节尼龙绳的长度,尼龙绳变长,由于重力原因,使得蓄水盒下架,蓄水盒下降带动两个连接杆同步向下运动,而实现了装置具备方便调节取水深度,使用灵活,并且对于过滤装置可自动清理,无需手动清理,使用更加方便的优点。

标签:
废水处理
江苏 - 南通 来源:中冶有色网 2023-03-19
造纸工业废水处理剂
造纸工业废水处理剂 1155     
 0

本发明公开了一种造纸工业废水处理剂,由铁屑、硫酸、亚硝酸钾、水组成。本发明配方合理,使用效果好,生产成本低。

标签:
废水处理
江苏 - 南通 来源:中冶有色网 2023-03-19
工业废水处理用气浮机
工业废水处理用气浮机 1187     
 0

本实用新型公开了一种工业废水处理用气浮机,包括壳体,所述壳体内部固定设置有水槽,所述水槽内部底端贯穿活动设置有搅拌杆,所述搅拌杆的顶端外侧在水槽内部固定设置有若干搅拌叶,所述搅拌杆内部开设有第一通气槽,所述搅拌叶内部开设有若干第二通气槽,所述第一通气槽和第二通气槽互相连通,所述搅拌叶在第二通气槽的底端开设有若干通气孔,所述搅拌杆的外侧在水槽的底端固定设置有第一齿轮,所述壳体内部底端左侧固定设置有第一电机。本实用新型结构简单,使用方便,能够使气泡与污水充分的混合,且更换清洁头的时候无需使第二电机停机,使用起来更加的方便,提高了设备的使用寿命。

标签:
废水处理
江苏 - 南通 来源:中冶有色网 2023-03-19
处理工业废水的曝气装置

本实用新型公开了处理工业废水的曝气装置,该装置包括曝气池,所述曝气池的内壁设置有输气装置,所述输气装置的内侧设置有固定盒,所述固定盒的左右两侧均与输气装置相连通,所述固定盒的内壁滑动连接有升降板,所述升降板上开设有出气孔,所述升降板的顶部固定连接有两个弹簧。该实用新型,在不使用该装置时,将输气装置关闭,此时弹簧的弹力会被释放,弹簧会带动升降板下降移动,升降板接着会通过叶轮带动出气盒下降,出气盒接着会落入到密封孔内部,密封孔的设置会与出气盒紧贴,进而避免在不使用时,曝气池中的杂质对过滤板造成堵塞的情况出现,进而提高装置的实用性。

标签:
废水处理
江苏 - 南通 来源:中冶有色网 2023-03-19
工业废水分类收集装置
工业废水分类收集装置 1246     
 0

本实用新型公开了一种工业废水分类收集装置,包括蓄水池、排水阀、分类箱、泡沫圆板、电动调节阀、分水管、集水管、主水管、水泵、固定板、摄像头、U型板、在线液体密度计、螺旋软管和液体过滤罩。本实用新型结构合理,通过在线液体密度计检测显示浓盐水顶部外侧液体的密度与某种液体的密度值对比,有利于确定该区域液体物质成份,便于逐层分类采出萃取上层液。

标签:
废水处理
江苏 - 南通 来源:中冶有色网 2023-03-19
工业废水镍金属去除设备

本实用新型属于污水处理技术领域,尤其为一种工业废水镍金属去除设备,包括底板,底板的顶部设置有反应池,反应池的顶部设置有盖板,且反应池的顶端两侧焊接固定有固定块,盖板的顶部两端分别设置有进水管和加药管,盖板的顶部固定连接有位于进水管和加药管之间的基座,基座的顶部固定连接有基块,基块的顶部开设有凹槽。本实用新型,通过设置的电机,带动转动轴转动,转动轴带动连接杆和旋转搅拌叶转动,提高沉淀剂与水的溶解速率,有利于减少人力的投入,提高工作效率,通过设置的挡板和轴杆,可以让挡板沿着轴杆转动,从而控制加药管和进水管的打开与关闭,有利于提高沉淀剂的投放便捷性。

标签:
废水处理
江苏 - 南通 来源:中冶有色网 2023-03-19
工业废水处理用除臭剂灌装装置

本实用新型公开了工业废水处理用除臭剂灌装装置,具体涉及灌装机领域,包括装置主体,所述装置主体的内表面固定连接有输送带,所述输送带的上方设置有灌装管,所述输送带的上表面活动连接有放置盒,所述放置盒内表面的底端固定连接有固定环,所述固定环的上表面固定连接有弹性连接条,所述弹性连接条的一端固定连接有限位块,所述弹性连接条的外表面活动连接有活动环,所述活动环的内表面固定连接有第一复位弹簧;通过将活动环和固定环拉开,增加对填充瓶体的固定高度,保持填充瓶的稳定放置,同时在灌装完毕后可以反向操作将装满的填充瓶取下,另在放置盒的作用下,提供一个灌装组合用框,提升灌装过程中的操作性。

标签:
废水处理
江苏 - 南通 来源:中冶有色网 2023-03-19
用于工业锅炉废水加药搅拌装置

本实用新型公开了一种用于工业锅炉废水加药搅拌装置,加药池顶端两侧对称安装有可拆卸支撑柱,支撑柱与搅拌轴固定相连,搅拌转轴固定安装在加药池上方,搅拌轴外表层套装有圆柱形双层通道,双层通道外部设置有搅拌叶片,搅拌叶片对称安装在搅拌轴底部两侧,该装置结构合理,操作方便,利用搅拌轴能最大程度的使得药液混合,并且搅拌完成后能够快速沥干,防止搅拌轴生锈,延长使用设备的使用寿命,节约一定的生产成本。

标签:
废水处理
江苏 - 南通 来源:中冶有色网 2023-03-19
用于工业废水处理的微滤机

本实用新型公开了一种用于工业废水处理的微滤机,包括底座、微滤机主体、缓冲机构和安装机构,所述微滤机主体的底端表面与底座的顶端表面连接处设置有支撑柱,所述底座的顶部且位于微滤机主体的一侧设置有固定柱,所述缓冲机构位于固定柱的内部;本实用新型通过设置的滑板,有效避免了微滤机在固定放置时因震动对微滤机上的其他物件造成抖动掉落,而发生损坏,有利于缓冲微滤机主体工作时的震动,同时也延长了微滤机的使用寿命,通过设置的摇把,有效避免了银离子过滤网长时间使用需要进行清理时,拆卸、安装银离子过滤网的过程繁琐,费时费力,有利于便捷快速安装银离子过滤网,节省了人力成本,同时也提高了装置的安装效率。

标签:
废水处理
江苏 - 南通 来源:中冶有色网 2023-03-19
可移动式的高效电子絮凝工业废水处理装置

本实用新型是一种可移动式的高效电子絮凝工业废水处理装置,包括电子絮凝器、澄清器、过滤器以及电气控制单元,所述电气控制单元与电子絮凝器、澄清器、过滤器相连接,电气控制单元控制电子絮凝器、澄清器、过滤器的启停,所述电子絮凝器侧边下方设置有进水口,所述进水口与进水泵相连接用于进水,所述电子絮凝器内部设置有布水装置,所述布水装置包括竖直安装的极板和多孔板,所述多孔板置于极板下方,所述电子絮凝器顶部设置有超声波清洗器,用于对极板进行清洗,所述澄清器上方设置有涡流反应装置,所述澄清器上方设置有出水口,所述出水口通过进水管道与过滤器相连接,所述过滤器设置有过滤出口,所述过滤出口通过管道与清水箱相连接。

标签:
废水处理
江苏 - 南通 来源:中冶有色网 2023-03-19
污水管中工业废水的自动化排水过滤设备

本发明涉及一种污水管中工业废水的自动化排水过滤设备,包括底板,底板的上端安装有调节装置,调节装置上安装有三个转换装置,三个转换装置的后端安装在过滤装置上,过滤装置安装在底板上。本发明可以解决现有污水借助管道排放过程中存在的污水直接排放对环境污染严重,特殊污水在排放过程中需要人工进行过滤,多排管道同时排放污水需要人工根据实际情况拖动过滤工具逐个进行处理,人工拖动过滤工具耗时费力,不同用途的排污管道直径大小各不相同,需要人工选择对应的工具进行连接,人工选择工具处理污水耗费时间长,人工过滤污水操作复杂、劳动强度大、与工作效率低等难题,可以实现多排污水管自动化排放过滤污水的功能。

标签:
废水处理
江苏 - 南通 来源:中冶有色网 2023-03-19
用于工业废水处理的过滤材料及其制备工艺

本发明公开了一种用于工业废水处理的过滤材料及其制备工艺,过滤材料组分按重量份数包括烯丙基磺酸钠10‑20份、纳米改性活性炭5‑15份、石墨烯4‑12份、麦饭石3‑9份、硅藻土8‑18份、膨润土10‑20份、碳酸钙10‑20份、改性凹凸棒土5‑15份、双硬脂酰基二乙烯三胺4‑12份、氧化钛3‑9份以及多孔陶瓷基体2‑6份,本发明制备工艺简单,制得的过滤材料性能稳定,能够在较长时间里有效清除污水中的氮、磷、大肠杆菌等有害物质,环保性能好,能够提高排放水的水质。

标签:
废水处理
江苏 - 南通 来源:中冶有色网 2023-03-19
处理工业废水的多功能耦合一体化装置

本实用新型提供了一种处理工业废水的多功能耦合一体化装置,包括筒体,该筒体内部上下分为两个反应区A、B,反应区A内进行臭氧和紫外线联合氧化,反应区B内进行电Fenton化学氧化;反应区A范围内,筒体顶部一侧设有污水进口,该污水进口与固定在筒体内壁顶部的汇水集箱连接,该汇水集箱底部均布淋水孔,筒体内左右侧壁竖直方向交叉设置数个导流板,该导流板均向下倾斜,筒体内左右两侧壁上沿纵向各设置数个垂直的紫外线灯管;反应区B范围内,筒体下部设置有电极板组,侧面设有Fenton药剂入口,底部设有污水排出口;本装置具有臭氧、紫外线、电Fenton多种污水氧化功能,3种处理方式可以同时使用或者单独使用,能够灵活适用于污水流量变化大的企业。

标签:
废水处理
江苏 - 南通 来源:中冶有色网 2023-03-19
用于工业废水处理的污泥脱水机

本实用新型公开了一种用于工业废水处理的污泥脱水机,包括底座,所述底座顶部一端两侧均固定设置有支撑板,所述支撑板顶端之间固定设置有脱水设备,所述底座顶部在支撑板一侧设置有支架,所述支架顶部设置有加药设备,所述加药设备通过连接管路与脱水设备连接;本实用新型中用于安装滤网的安装框是通过连接机构与支撑板进行连接的,即在安装安装框时,工作人员只需将安装框上的搭板插入到滑轨中就可将滤网安装在脱水机内部,使得滤网的加设安装步骤变得简单快捷,使得经过长时间的脱水工作后,如果滤网上附着的淤泥过多,工作人员可直接将滤网抽出进行清理或者更换,且抽出工作方便快捷,进而能够不会影响本污泥脱水机在使用过程中的工作效率。

标签:
废水处理
江苏 - 南通 来源:中冶有色网 2023-03-19
工业废水处理用的自动加药装置

本实用新型公开了一种工业废水处理用的自动加药装置,包括有箱体,所述箱体的顶部固定连接有固定板,所述固定板的表面内嵌固定有若干固定块,所述固定块的中心处开设有一体成型的螺纹孔,所述螺纹孔的内部贯穿螺纹杆,所述螺纹杆与所述螺纹孔相匹配,所述螺纹杆的内部为空心状,所述螺纹杆的顶部固定连接有轴承,所述轴承的侧表面固定连接有若干水管,所述水管与所述螺纹杆的内部相同,所述轴承的上表面固定连接有电机A;通过电机B的作用伸长和缩短伸缩杆,使得过滤板做上下运动,当过滤板向上运动时,因过滤板的两端紧贴伸缩板B,这样可将污水中的残渣过滤出来,随后下降过滤板,这样可避免药水混合在残渣中,无法与污水相接处。

标签:
废水处理
江苏 - 南通 来源:中冶有色网 2023-03-19
工业用纱管纸的废水处理方法

本发明提供了一种工业用纱管纸的废水处理方法,包括如下流程:依次经过格栅过滤、混凝沉淀、水解酸化、接触氧化和二次沉淀;最后进入厌氧反应塔;所述的厌氧反应塔包括反应塔底部的进水区和反应区、设在反应塔中部的ECSB反应器以及设在反应塔顶部的出水区和沼气区。本发明具有如下技术效果:该污水厌氧生物处理是在无氧的条件下,利用厌氧微生物的降解作用使污水中有机物质达到净化的处理方法。在无氧的条件下,污水中的厌氧细菌把碳水化合物、蛋白质、脂肪等有机物分解生成有机酸,然后在甲烷菌的作用下,进一步发酵形成甲烷、二氧化碳和氢等,从而使污水得到净化。

标签:
废水处理
江苏 - 南通 来源:中冶有色网 2023-03-19
染整工业废水的生物处理用载体

本实用新型公开了一种染整工业废水的生物处理用载体,包括锦纶和/或丙纶织物,织物由经纬纱交织部分和仅有经纱的部分间隔分布组成。本实用新型易于生物膜附着,表面积大,水流阻力小,强度大,化学和生物稳定性好;合理设计载体密度,既能提高载体的生物膜承载能力,又能确保载体间形成均一的流速,使得气,水,生物膜得以充分接触交换,确保良好的生物处理活性。

标签:
废水处理
江苏 - 南通 来源:中冶有色网 2023-03-19
上一页 63 64 65 66 67 ... 68 下一页
共68页    到第

中冶有色为您提供最新的江苏南通有色金属环境保护技术理论与应用信息,涵盖发明专利、权利要求、说明书、技术领域、背景技术、实用新型内容及具体实施方式等有色技术内容。打造最具专业性的有色金属技术理论与应用平台!

全国热门有色金属设备推荐
展开更多 +
全国热门有色金属技术推荐
展开更多 +

 

江西省隆恩特环保设备有限公司
宣传

报名参会
更多+

报告下载

有色专家
更多+

有研科技集团有限公司
中国工程院 院士
长沙矿冶研究院有限责任公司
中国工程院院士
矿冶科技集团有限公司工程公司
副总经理
中铝科学技术研究院有限公司
董事长
清华大学
研究员
赤泥综合利用研究报告2025
推广

热门技术
更多+

推荐企业
更多+

福建省金龙稀土股份有限公司
宣传

发布

在线客服

公众号

电话

顶部
咨询电话:
010-88793500-807