青岛垚鑫智能科技有限公司
宣传

位置:中冶有色 >

有色技术频道 >

> 废水处理技术

分类:
全部
矿山技术
冶金技术
材料制备及加工技术
环境保护技术
分析检测技术
 
全部
废水处理技术
大气治理技术
固/危废处置技术
土壤修复技术
地区:
全部
北京
天津
上海
重庆
河北
山西
辽宁
吉林
黑龙江
江苏
浙江
安徽
福建
江西
山东
河南
湖北
湖南
广东
海南
四川
贵州
云南
陕西
甘肃
青海
内蒙
广西
西藏
宁夏
新疆
其他
其他
展开
 
全部
济南
青岛
淄博
枣庄
东营
烟台
潍坊
济宁
泰安
威海
日照
滨州
德州
聊城
临沂
菏泽

山东济南有色金属废水处理技术理论与应用

免费发布技术信息>>
强化生物脱氮除磷的废水处理装置及废水处理方法

本发明公开了一种强化生物脱氮除磷的废水处理装置及废水处理方法,在反应器壳体内部分隔为反应器一区和反应器二区,反应器一区的出口端设置有溢流挡板,反应器二区的进口位于底部,且位于溢流挡板的下游;反应器一区自下而上依次设置进水口、鹅卵石承托层、青石层、硫铁矿层和污泥混合区;反应器二区内设置有硫磺层。青石层提供无机碳源(碳酸根)和钙离子,为磷酸根的去除提供底物,同时碳酸根可以起到缓冲pH调节的目的,硫铁矿提供不同价态的铁离子及低价态的硫离子,为硝酸根和总磷的去除提供底物。

标签:
废水处理
山东 - 济南 来源:中冶有色网 2023-03-19
硫化改性 Fe‑Cu 双金属材料、制备方法及去除含铬废水的方法

本发明涉及一种硫化改性Fe‑Cu双金属材料、制备方法及去除含铬废水的方法,该材料中硫铁摩尔比为(0.05‑0.06):1,铁铜质量比为10:(0.1‑4)。制备方法,包括:在酸性环境的缓冲溶液中将零价铁与可溶性硫化盐的反应得硫化改性零价铁的步骤;以及,硫化改性零价铁与二价铜盐置换反应得硫化改性Fe‑Cu双金属材料的步骤。本发明对于重金属铬的去除效率远大于零价铁对铬的去除效率,同时反应活性也高于硫化改性零价铁材料和Fe‑Cu双金属材料,有效加速污染物的去除;并且具有药剂投加量少、反应速率快、适用pH较广等优点,在含重金属的废水处理方面具有广泛的应用前景。

标签:
废水处理
山东 - 济南 来源:中冶有色网 2023-03-19
高浊度废水净化装置及废水净化方法

本发明公开了一种高浊度废水净化装置及废水净化方法,包括净化罐、泵机,进水管上连通有混凝剂罐,导管上设有节流阀,导管通过横向设置的混流管与净化罐的底端连通,导管与混流管、混流管与净化罐均采用切向连接;净化罐内设有顶端开口的收集腔,收集腔底端连通有储存腔;净化方法包括污水与混凝剂的预混合及过滤;该净化装置中的液体流速低、能耗少、且设备运行及维护的成本低,净化方法操作简单、净化效果好,能够处理悬浮固体含量超过500mg/L,甚至达到5000mg/L以上的高浊度废水。

标签:
废水处理
山东 - 济南 来源:中冶有色网 2023-03-19
新型石墨烯-Ti 电极印染废水处理电化学反应器

本发明涉及一种新型石墨烯-Ti电极印染废水处理电化学反应器,该反应器包括反应器本体、泵、电源、Ti电极、石墨烯薄膜电极和支架,反应器本体为空心结构,支架设置在反应器本体内部,Ti电极为Ti片并设在反应器本体顶端,石墨烯薄膜电极设置在支架上,电源的正极与石墨烯薄膜电极连接,电源的负极与Ti电极连接;反应器本体还设置有反应器入口和反应器出口,反应器入口设在Ti电极与石墨烯薄膜电极之间,反应器出口设在石墨烯薄膜电极与反应器本体底端之间,泵与反应器入口连接。本发明利用石墨烯薄膜制成的电极处理印染废水,不仅能够对印染废水进行吸附处理,同时能够电解处理,总有机碳含量去除效率高;电源电压低,电能消耗少。

标签:
废水处理
山东 - 济南 来源:中冶有色网 2023-03-19
镀铬废水净水系统及净水方法

本发明公开了一种镀铬废水净水系统及净水方法。树脂型粒子电极层位于好氧生物滤料层底部,在树脂顶部放置钛网阳极,在树脂底部放置不锈钢孔板阴极,阳极和阴极分别连接电源的正负极,树脂型粒子电极层与溶气室相连,溶气室装有曝气盘和曝气管,溶气室下方为厌氧生物滤料层,配水室在厌氧生物滤料层底部,配水室装有反冲洗进水管、污水管和回流管。本发明的净水方法,包括如下步骤:(1)污水进入配水室与回流水混合;(2)厌氧生物处理;(3)气水混合;(4)树脂型粒子电极处理;(5)好氧生物处理;(6)出水部分排放,部分回流;本发明的净水系统先以树脂型粒子提高废水的可生化性,再经微生物处理后排出,解决了镀铬废水难处理的问题。

标签:
废水处理
山东 - 济南 来源:中冶有色网 2023-03-19
以吸附-解析后的废弃吸附剂为原料的催化剂在活化过硫酸盐处理高盐有机废水中应用

本发明涉及吸附‑解析后的废弃吸附剂为原料的催化剂在活化过硫酸盐处理高盐有机废水中应用。本发明将多次吸附重金属离子‑解吸后的废弃吸附剂与氮源混合,在无氧条件下热解后得到废弃吸附剂基催化剂,将废弃吸附剂基催化剂引入高盐有机废水中,加入过硫酸盐,用于活化硫酸盐产生非自由基,通过非自由基高效降解高盐有机废水中持久性有机污染物,既解决了吸附饱和重金属离子的吸附剂无法有效处理的问题,又为活化过硫酸盐通过非自由基过程降解污染物提供了一种新途径,操作简单、成本低廉,同时可以有效帮助解决环境问题,又可废物利用。

标签:
废水处理
山东 - 济南 来源:中冶有色网 2023-03-19
聚天冬氨酸聚/铂-镍微纳米马达的制备方法及其处理废水的方法

本发明涉及一种聚天冬氨酸聚/铂‑镍微纳米马达的制备方法及其处理废水的方法,所述方法包括聚天冬氨酸微纳米管的制备、聚天冬氨酸/铂‑镍微纳米马达的制备、聚天冬氨酸/铂‑镍微纳米马达对废水中重金属离子的吸附、聚天冬氨酸/铂‑镍微纳米马达的回收再利用;本发明制备的聚天冬氨酸/铂‑镍微纳米马达不仅具有优异的在复杂样品中对重金属离子进行吸附能力,而且本发明的聚天冬氨酸/铂‑镍微纳米马达还能够通过磁铁回收进行回收后进行再利用,极大地简化了废水处理的流程,降低了成本,拓展了微纳米马达在环境领域的应用空间。

标签:
废水处理
山东 - 济南 来源:中冶有色网 2023-03-19
利用γ-聚谷氨酸去除电镀废水中铜离子的装置及方法

本发明涉及一种利用γ-聚谷氨酸去除电镀废水中铜离子的装置及方法,包括反应装置、进水箱和加药箱,其中,进水箱和加药箱均与反应装置连通,反应装置内部分为上端的反应腔室和下端的贮渣排渣腔室,两者之间通过排渣漏斗隔开,排渣漏斗的下端开口处设置导渣装置。将γ-聚谷氨酸溶液和含铜废液加入到反应装置的反应腔室中,搅拌,反应;铜离子絮凝物沿着排渣漏斗进入贮渣排渣腔室中,并在导渣装置的引导作用下,下落到贮渣排渣腔室的边缘;废水中铜离子絮凝完毕后,打开排水阀,将净化水排出;当完成设定个处理周期后,将贮渣排渣腔室中的铜离子絮凝物排出。由于排渣漏斗和导渣装置的隔离作用,絮凝体不易被水流激起重新回到反应系统。

标签:
废水处理
山东 - 济南 来源:中冶有色网 2023-03-19
可见光催化-ClO<Sub>2</Sub>氧化联用高效去除废水中有机污染物的方法

本发明涉及一种可见光催化‑ClO2氧化联用高效去除废水中有机污染物的方法,方法包括:(1)将含有有机物的废水调节至恒定pH,添加可见光响应催化剂后置于暗处,充分搅拌吸附直至达到吸附平衡;(2)打开氙灯光源,调节光源与液面间的距离,向体系中加入含氯酸盐,保持反应温度恒定,充分搅拌实现有机污染物的降解。本发明采用可见光催化‑ClO2氧化联用工艺去除废水中有机污染物,光催化过程中产生的活性物质作为氧化剂,与含氯酸根发生电子转移,进而生成ClO2等含氯活性物质,能够继续氧化降解有机污染物,氧化能力强且持续时间长,避免了光催化过程中光生活性物质寿命较短、传质距离短等问题,有效地提高了污染物降解速率。

标签:
废水处理
山东 - 济南 来源:中冶有色网 2023-03-19
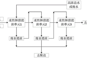
柔性降膜自然蒸发废水提浓单元及多段负压自然蒸发废水提浓装置

本公开提供了一种柔性降膜自然蒸发废水提浓单元及多段负压自然蒸发废水提浓装置,其中所述单元包括一壳体,所述壳体内均匀布设有多个互相平行的柔性纤维降膜面,相邻两所述柔性纤维降膜面之间的上部设有导液锥,所述导液锥入口与废水布水管相连,所述导液锥出口设置于导液锥顶部,所述导液锥用于将废水从其顶部出口溢出,使废水在重力作用下向下流动到柔性纤维降膜面表面,并在纤维的毛细作用下在柔性纤维降膜面表面形成一层均匀降液膜,所述降液膜与热烟气或热废气通过热湿交换进行废水提浓。本公开无需耗费蒸汽或优质热源,无冲洗水系统,设备紧凑,无转动部件,系统稳定可靠,具有广阔的市场应用前景。

标签:
废水处理
山东 - 济南 来源:中冶有色网 2023-03-19
用于处理焦化废水的混凝剂及用其处理焦化废水的方法

本发明属于废水处理的技术领域,具体的涉及一种用于处理焦化废水的混凝剂及用其处理焦化废水的方法。该种用于处理焦化废水的混凝剂,由以下重量份的原料组成:聚硅酸盐8~12份,二氧化氯4~6份,阳离子型破乳剂2~4份,竹炭3~6份,高铁酸钠11~16份,高铁酸钾10~13份,聚丙烯酰胺6~9份,壳聚糖改性膨润土4~7份。该混凝剂针对焦化废水复杂成分而设计,可以在对氨氮和难降解类有机污染物有效去除的同时强化出水水质,减少焦化废水对环境的危害;所述处理焦化废水的方法是将焦化废水特性与所采用混凝剂特性结合考虑而设计,合理实用。

标签:
废水处理
山东 - 济南 来源:中冶有色网 2023-03-19
采用干冷载气与热废水接触实现废水零排放的系统及工艺

本发明公开了一种采用干冷载气与热废水接触实现废水零排放的系统及工艺,包括:换热装置,用于对废水进行加热,其废水出口与蒸发装置顶部的喷淋层连接;鼓泡装置,设置于蒸发装置内部,其喷头插入废水以下;风机,其进口与气源连通,出口与所述鼓泡装置的气体进口连接,用于对鼓泡装置提供干冷载气;直通导流装置,包括若干并列竖向设置的布液元件,设置于蒸发装置内部,且位于废水预设液位以上。干冷载气通过鼓泡装置在蒸发装置的废水液位以下进行浅层鼓泡,发生主浓缩过程。经过主浓缩过程后的载气的温度和湿度都升高,对废水的蒸发效率降低,此时的载气与喷淋的废水在直通导流装置中进行二次换热传质,可以有效避免直通导流装置的结垢堵塞。

标签:
废水处理
山东 - 济南 来源:中冶有色网 2023-03-19
糕点厂生产废水处理剂及废水处理方法

本发明属于食品企业废水处理领域,具体涉及一种糕点厂废水处理剂,还涉及上述的糕点厂生产废水处理方法。糕点厂生产废水处理剂,包括下述重量份数的组分:物理净水剂为:活性炭为1-5,有机改性沸石为1-5和聚丙烯酰胺1-5;复合微生物菌剂为:酵母菌菌粉0.02-0.1,絮凝菌菌粉0.05-0.2,巨大芽孢杆菌菌粉0.05-0.2和金黄杆菌菌粉0.04-0.2;酶制剂为:木聚糖酶0.05-0.1、葡萄糖氧化酶0.04-0.09、淀粉酶0.01-0.06。采用本发明的废水处理剂及废水处理方法,把复杂且难降解、大颗粒的有机物水解成易降解的简单有机物,大大降低废水中的SS含量,处理后的废水BOD和COD去除率高,达到了规定的排放标准。

标签:
废水处理
山东 - 济南 来源:中冶有色网 2023-03-19
食用色素生产废水处理剂及废水处理方法

本发明属于食品企业废水处理领域,具体涉及一种食用色素生产企业废水处理剂,还涉及上述的食用色素生产废水处理方法。食用色素生产废水处理剂,包括下述重量份数的组分:物理净水剂为:活性炭为1-5,有机改性沸石为1-5和聚丙烯酰胺1-5;复合微生物菌剂为:赖氨酸芽孢杆菌菌粉0.02-0.1,赤红球菌菌粉0.05-0.2,丝状菌菌粉0.05-0.2和金黄杆菌菌粉0.04-0.2;酶制剂为:果胶酶0.05-0.1、木脂素羟化酶0.04-0.09、漆酶0.01-0.06。采用本发明的废水处理剂及废水处理方法,把复杂且难降解、大颗粒的有机物水解成易降解的简单有机物,大大降低废水中的SS含量,处理后的废水BOD和COD去除率高,达到了规定的排放标准。

标签:
废水处理
山东 - 济南 来源:中冶有色网 2023-03-19
榨菜生产废水处理剂及废水处理方法

本发明属于食品企业废水处理领域,具体涉及一种榨菜生产废水处理剂,还涉及上述的榨菜生产废水处理方法。榨菜生产废水处理剂,包括下述重量份数的组分:物理净水剂为:活性炭为1-5,有机改性沸石为1-5、聚丙烯酰胺1-5;复合微生物菌剂为:嗜盐假单胞菌菌粉0.02-0.1,黄曲霉菌菌粉0.05-0.2,地衣芽孢杆菌菌粉0.05-0.2和噬氨副球菌菌粉0.04-0.2;酶制剂为:纤维素酶0.05-0.1、果胶酶0.04-0.09、硫酯酶0.01-0.06。采用本发明的废水处理剂及废水处理方法,把复杂且难降解、大颗粒的有机物水解成易降解的简单有机物,大大降低废水中的SS含量,处理后的废水BOD和COD去除率高,达到了规定的排放标准。

标签:
废水处理
山东 - 济南 来源:中冶有色网 2023-03-19
饮料生产废水处理剂及废水处理方法

本发明属于食品企业废水处理领域,具体涉及一种饮料生产废水处理剂,还涉及上述的饮料生产废水处理方法。饮料生产废水处理剂,包括下述重量份数的组分:物理净水剂为:活性炭为1-5,有机改性沸石为1-5和聚丙烯酰胺1-5;复合微生物菌剂为:蜡状芽孢杆菌菌粉0.02-0.1,红球菌菌粉0.05-0.2,链霉菌菌粉0.05-0.2和硫杆菌菌粉0.04-0.2;酶制剂为:纤维素酶0.05-0.1、果胶酶0.04-0.09、木瓜蛋白酶0.01-0.06。采用本发明的废水处理剂及废水处理方法,把复杂且难降解、大颗粒的有机物水解成易降解的简单有机物,大大降低废水中的SS含量,处理后的废水BOD和COD去除率高,达到了规定的排放标准。

标签:
废水处理
山东 - 济南 来源:中冶有色网 2023-03-19
酱油生产废水处理剂及废水处理方法

本发明属于食品企业废水处理领域,具体涉及一种酱油生产废水处理剂,还涉及上述的酱油生产废水处理方法。酱油生产废水处理剂,包括下述重量份数的组分:物理净水剂为:活性炭为1-5,有机改性沸石为1-5和聚丙烯酰胺1-5;复合微生物菌剂为:木醋杆菌菌粉0.02-0.1,赖氨酸芽孢杆菌菌粉0.05-0.2,嗜盐假单胞菌菌粉0.05-0.2和硫杆菌菌粉0.04-0.2;酶制剂为:谷氨酰胺酶0.05-0.1、果胶酶0.04-0.09、木瓜蛋白酶0.01-0.06。采用本发明的废水处理剂及废水处理方法,把复杂且难降解、大颗粒的有机物水解成易降解的简单有机物,大大降低废水中的SS含量,处理后的废水BOD和COD去除率高,达到了规定的排放标准。

标签:
废水处理
山东 - 济南 来源:中冶有色网 2023-03-19
酸性TiO2水溶胶再生好氧颗粒污泥降解染料废水的联用方法

本发明涉及一种酸性二氧化钛(TiO2)水溶胶再生好氧颗粒污泥降解染料废水的联用方法。本发明将钛酸四丁酯溶解于无水乙醇,并滴加到蒸馏水中搅拌反应,然后加入HNO3在50~80℃密闭条件下反应2~6 h,制得酸性TiO2水溶胶。本发明利用好氧颗粒污泥作为吸附剂去除阳离子染料,并联合酸性TiO2水溶胶再生好氧颗粒污泥和光催化降解技术,通过利用吸附和光催化的协同作用来提高废水的去除率,对染料废水处理效果明显,不会对环境造成二次污染,并实现了好氧颗粒污泥和酸性TiO2水溶胶的循环利用,最大限度地降低能耗,节约材料和运行成本。

标签:
废水处理
山东 - 济南 来源:中冶有色网 2023-03-19
UV-LED/O<Sub>3</Sub>联用处理环嗪酮农药废水的方法

本发明提供了一种UV‑LED/O3联用处理环嗪酮农药废水的方法,该方法采用侧壁设置有UV‑LED灯的处理器进行,调整环嗪酮农药废水的pH,向环嗪酮农药废水中通入臭氧,臭氧的通气量控制在10‑50mL·min‑1,开启UV‑LED灯,采用UV‑LED对废水进行照射,采用臭氧与UV‑LED同时对环嗪酮农药废水处理20‑70min,实现有机污染物的高效降解。本发明采用了臭氧(O3)与紫外发光二极管(UV‑LED)联用工艺,UV‑LED波长在280nm处与臭氧联用可大大提高环嗪酮的去除效果,激发臭氧产生多种活性物质,氧化降解有机物。

标签:
废水处理
山东 - 济南 来源:中冶有色网 2023-03-19
减少双甘膦废水并降低废水含盐量的方法

本发明涉及一种减少双甘膦废水并降低废水含盐量的方法。该方法采取以下步骤:亚氨基二乙腈碱解完毕,加盐酸或氯化氢气体酸化后生成亚氨基二乙酸,然后采取减压蒸馏的方式脱水,脱水完毕进行高温过滤,得滤饼和滤液;滤液进行缩合反应制备双甘膦。本发明的处理方法,简便易行,不仅减少了废水量,而且提高了产品收率,降低了废水处理难度,具有较高的经济效益和环境效益。

标签:
废水处理
山东 - 济南 来源:中冶有色网 2023-03-19
葡萄酒生产废水处理剂及废水处理方法

本发明属于食品企业废水处理领域,具体涉及一种葡萄酒生产企业废水处理剂,还涉及上述的葡萄酒生产废水处理方法。葡萄酒生产废水处理剂,包括下述重量份数的组分:物理净水剂为:活性炭为1-5,有机改性沸石为1-5和聚丙烯酰胺1-5;复合微生物菌剂为:凝结芽孢杆菌菌粉0.02-0.1,海杆菌菌粉0.05-0.2,巨大芽孢杆菌菌粉0.05-0.2和脱氮副球菌菌粉0.04-0.2;酶制剂为:葡萄糖氧化酶0.05-0.1、果胶酶0.04-0.09、木瓜蛋白酶0.01-0.06。采用本发明的废水处理剂及废水处理方法,把复杂且难降解、大颗粒的有机物水解成易降解的简单有机物,大大降低废水中的SS含量,处理后的废水BOD和COD去除率高,达到了规定的排放标准。

标签:
废水处理
山东 - 济南 来源:中冶有色网 2023-03-19
染料废水降解处理系统及其处理染料废水的方法

本发明提供了一种染料废水降解处理系统及其处理染料废水的方法,属于有机染料废水处理技术领域。本发明将磁吸附富集分离、可见光光电催化、过氧化氢协同降解作用集成一体,用于高浓度染料废水的降解处理,实施例的数据表明,相比于单独的H2O2光照降解、电化学氧化降解、Fe3O4@SiO2@TiO2光催化降解、Fe3O4@SiO2@TiO2光电催化降解的降解率分别为13%/120min、22%/120min、25%/120min、61.5%/40min,本发明提供的染料废水降解处理系统,Fe3O4@SiO2@TiO2光电催化/H2O2协同降解的降解率接近100%/5min。

标签:
废水处理
山东 - 济南 来源:中冶有色网 2023-03-19
味精生产废水处理剂及废水处理方法

本发明属于食品企业废水处理领域,具体涉及一种味精生产企业废水处理剂,还涉及上述的味精生产废水处理方法。味精生产废水处理剂,包括下述重量份数的组分:物理净水剂为:活性炭为1-5,有机改性沸石为1-5和聚丙烯酰胺1-5;复合微生物菌剂为:魔芋食酸菌菌粉0.02-0.1,节杆菌菌粉0.05-0.2,侧孢芽孢杆菌菌粉0.05-0.2和莫拉氏菌菌粉0.04-0.2;酶制剂为:木聚糖酶0.05-0.1、谷氨酰胺酶0.04-0.09、酸性蛋白酶0.01-0.06。采用本发明的废水处理剂及废水处理方法,把复杂且难降解、大颗粒的有机物水解成易降解的简单有机物,大大降低废水中的SS含量,处理后的废水BOD和COD去除率高,达到了规定的排放标准。

标签:
废水处理
山东 - 济南 来源:中冶有色网 2023-03-19
煤化工废水高效节能处理工艺

本发明涉及一种煤化工废水高效节能处理工艺,包括如下步骤:(1)将调节池中的煤化工废水加入絮凝剂,经絮凝沉降,制得混凝沉淀废水和沉淀污泥;(2)将混凝沉淀废水通入气浮机中,制得气浮废水和气浮污泥;(3)将气浮废水分别通入低氧曝气活性污泥池和高氧曝气活性污泥池进行处理,制得低氧曝气废水和高氧曝气废水;(4)将低氧曝气废水通入二沉池(I),经泥水分离,制得好氧生化出水(I)和好氧沉淀污泥(I),好氧沉淀污泥(I)回流至低氧曝气活性污泥池;(5)将好氧生化出水(I)和好氧生化出水(II)混合后,经厌氧反应池处理后,制得处理后废水。本发明可以实现废水中总氮的高效去除,达到节能和高效处理的目的。

标签:
废水处理
山东 - 济南 来源:中冶有色网 2023-03-19
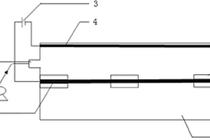
用于废水提升设备的废水收集容器

本实用新型公开了用于废水提升设备的废水收集容器,涉及废水提升技术领域。包括催化室外壁,所述催化室外壁顶端固定连接有排气管,所述催化室外壁内侧固定连接有紫外线灯,所述催化室外壁底端固定连接有活塞滑道,所述活塞滑道内部活动连接有气密活塞,所述气密活塞一侧固定连接有复位弹簧。本实用新型通过催化室和活塞滑道的设置,使得集水箱中气体累积较多时将气密活塞推出,从而将废气导入催化室催化分解,集水箱中气压下降后又将气密活塞塞入活塞滑道中,将集水箱和外界隔离,因此一次释放的废气数量有限,确保能够被催化室充分催化分解,防止有异味飘出,又平衡了集水箱中的气压,延长了集水箱的寿命。

标签:
废水处理
山东 - 济南 来源:中冶有色网 2023-03-19
高毒性焦化酚氰废水处理回用系统及废水处理回用方法

本发明属于钢铁冶金焦化酚氰废水处理的技术领域,特别是提供了一种高毒性焦化酚氰废水处理回用系统及废水处理回用方法。主要包括预处理、生物脱碳脱氮、高效沉淀、芬顿高级氧化及污泥脱水五个工序,处理焦化酚氰废水和焦炉煤气水封水以及混合煤气水封水,特别是解决了目前焦化酚氰高毒性(含硫在400mg/L左右,总氮700mg/L左右)废水处理回用的问题,不需要投加稀释水运行成本低,节能减排,管理方便,并且处理效果好,去除效果稳定。

标签:
废水处理
山东 - 济南 来源:中冶有色网 2023-03-19
利用介质阻挡放电-废水处理联用设备处理高浓度有机废水的方法

本发明公开了一种利用介质阻挡放电‑废水处理联用设备处理高浓度有机废水的方法,是先利用设备产生富含活性粒子的气体,再将该气体与设备反应柱中待处理的高浓度有机废水充分接触反应,实现对有机废水中污染物的去除;其中所述介质阻挡放电‑废水处理联用设备由供气泵、气体流量计、功率电源、高压电极、接地电极、旋转布气器、气体流量调节阀、钛钢曝气头、废水处理反应柱及反应柱柱体上的废水进出口组成。利用本发明方法及设备能够产生大量富含活性粒子的气体,并保证了活性粒子与有机废水的充分接触,处理过程中无需添加化学试剂,并降低了放电技术用于废水处理的严苛要求,提高了处理效率,降低了成本和能耗,具有较大的工业应用价值。

标签:
废水处理
山东 - 济南 来源:中冶有色网 2023-03-19
粉煤灰沸石的改性及用于造纸废水处理的方法

本发明涉及废水处理,具体地说是一种改性粉煤灰沸石在处理造纸废水中的应用。首先采用改性剂对低成本合成的粉煤灰沸石改性处理,再将改性粉煤灰沸石投加于反应器中与造纸废水充分接触,对造纸废水进行处理,以COD和色度去除率考察粉煤灰沸石对造纸废水的处理效果。本发明的主要优点为:改性剂价廉易得,改性和造纸废水处理过程简单,同时解决了粉煤灰固体废弃物引起的环境污染问题,拓展了粉煤灰沸石的应用范围,有积极的实用价值。

标签:
废水处理
山东 - 济南 来源:中冶有色网 2023-03-19
高浓度含酚废水处理成易生化处理废水的方法

本发明提供了一种高浓度含酚废水处理成易生化处理废水的方法,其特点是该处理方法的步骤如下:步骤一:将高浓度含酚废水的pH值到7-8.2,并注入反应釜内;步骤二:向反应釜内通入蒸汽加热,温度控制在55-60℃,加入漆酶,漆酶加入量为每吨废水加入1-3克,连续搅拌,保温35-40分钟;步骤三:完成保温后加入H2O2进行反应,H2O2加入量为每吨废水加1-4克,控制反应温度在50-60℃,并连续搅拌,保温2-2.5小时;步骤四:反应后,对反应釜内废水进行负压蒸馏,蒸馏过程中反应釜内真空度≥0.09MPa,加热温度≥90℃;步骤五:经液固分离出的分离水,即为易生化处理的废水,收集后可进行生化处理;釜内残留物排出焚烧处理。

标签:
废水处理
山东 - 济南 来源:中冶有色网 2023-03-19
糠醛生产废水的处理方法

一种糠醛生产废水的处理方法,涉及工业生产有机酸性废水处理领域。糠醛废水经过沉淀后,泵入废水蒸发系统中与一次蒸汽热交换产生二次蒸汽,二次蒸汽用于水解并带出生成的糠醛;一次蒸汽经过废水蒸发系统后进入汽水分离器,对汽水分离器产生的蒸汽再利用;汽水分离器和蒸汽缓冲罐产生的蒸汽冷凝水进入蒸汽膨胀槽,对膨胀槽所产生的低压蒸汽和冷凝水进行利用;蒸发系统中放出蒸发残液和沉淀池中产生的沉淀物及悬浮物按性质进行再利用。它解决了糠醛生产中废水处理设施投资大,运行费用高,污水达标困难及易造成二次污染的难题。在不影响糠醛产率的前提下将废水中的有用组分充分利用,实现糠醛生产工艺废水零排放。适于任何糠醛生产厂家建设。

标签:
废水处理
山东 - 济南 来源:中冶有色网 2023-03-19
上一页 52 53 54 55 56 ... 57 下一页
共57页    到第

中冶有色为您提供最新的山东济南有色金属废水处理技术理论与应用信息,涵盖发明专利、权利要求、说明书、技术领域、背景技术、实用新型内容及具体实施方式等有色技术内容。打造最具专业性的有色金属技术理论与应用平台!

全国热门有色金属设备推荐
展开更多 +
全国热门有色金属技术推荐
展开更多 +

 

江西省隆恩特环保设备有限公司
宣传

报名参会
更多+

报告下载

有色专家
更多+

矿冶科技集团江苏北矿金属循环利用科技有限公司
书记 / 总经理
石家庄铁道大学
团委书记/副教授
西安建筑科技大学
院长/教授
云南锡业集团(控股)有限责任公司
副总经理
长沙矿冶院检测技术有限责任公司
总经理
赤泥综合利用研究报告2025
推广

热门技术
更多+

推荐企业
更多+

福建省金龙稀土股份有限公司
宣传

发布

在线客服

公众号

电话

顶部
咨询电话:
010-88793500-807