青岛垚鑫智能科技有限公司
宣传

位置:北方有色 >

有色技术频道 >

分类:
全部
矿山技术
冶金技术
材料制备及加工技术
环境保护技术
分析检测技术
 
全部
功能材料技术
复合材料技术
新能源材料技术
合金材料技术
加工技术
地区:
全部
北京
天津
上海
重庆
河北
山西
辽宁
吉林
黑龙江
江苏
浙江
安徽
福建
江西
山东
河南
湖北
湖南
广东
海南
四川
贵州
云南
陕西
甘肃
青海
内蒙
广西
西藏
宁夏
新疆
其他
其他
展开
 
全部
南京
无锡
徐州
常州
苏州
南通
连云港
淮安
盐城
扬州
镇江
泰州
宿迁

江苏无锡有色金属材料制备及加工技术理论与应用

免费发布技术信息>>
无卤阻燃热塑性聚氨酯材料

本发明涉及一种阻燃材料,尤其是涉及一种无卤阻燃热塑性聚氨酯材料,属于高分子材料领域,按重量百分比计,由以下组分组成:30%-80%热塑性聚氨酯弹性体、9%-30%磷系阻燃剂、8%-25%无机阻燃粉、1%-15%相容剂、1%-12%增塑剂和1%-12%抗氧剂;磷系阻燃剂为亚磷酸酯、二亚磷酸酯和它们的聚合物,无机阻燃粉为氢氧化铝、氢氧化镁、赤磷、多聚磷酸铵、硼酸锌、氧化锑和钼化合物的两种或多种混合物。本发明是通过将磷系阻燃剂和无机阻燃粉与TPU树脂共混挤出成的复合材料,具有极佳的阻燃性,良好的柔韧性、耐寒性和弹性。

标签:
复合材料
江苏 - 无锡 来源:北方有色网 2023-03-18
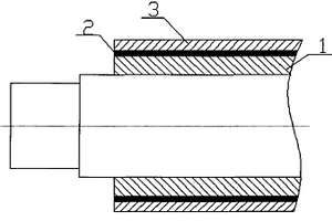
铝-铜双金属复合焊件的制造方法

本发明公开一种铝-铜双金属复合焊件的制造方法,是将复层铝板(4)通过支撑物(5)逐层支撑,并置于基层铜板(6)之上;在第一层铝板(4)表面上粘贴缓冲保护层(3),炸药(2)布放在缓冲保护层(3)表面,单位面积装药量按照设计要求严格控制,通过爆炸焊接复合一体获得高质量的铝-铜双金属复合材料,其复合界面结合强度高且均匀一致,界面无过度熔化和不复合分层现象,不会使界面电阻增加,可实现大面积爆炸焊接,方便生产提高效率。

标签:
复合材料
江苏 - 无锡 来源:北方有色网 2023-03-18
钛基/含硅羟基磷灰石生物涂层的制备方法

本发明涉及一种医用金属表面生物涂层的制备方法,具体地说是一种钛基/含硅羟基磷灰石生物涂层的制备方法。本发明是首先对钛合金进行酸刻蚀,碱浸润两步活化处理,使钛合金表面钝化态氧化膜转化为活性TiO2,在温和条件下利用电泳沉积后烧结技术制备复合涂层材料。硅掺杂的磷灰石(Si-HA)对改善传统人工骨替代材料的活性,提高生物降解性,改善骨传导性和骨诱导能力,起着关键性的作用。本发明把Si-HA涂覆到医用钛表面,制得Ti/Si-HA复合材料,促使钛金属优良的力学性能和HA的骨传导性相结合,从而有效的发挥两种材料的综合优势。本发明在保持电沉积方法制备涂层的优点的同时,还具有产品结合强度高的特点。

标签:
复合材料
江苏 - 无锡 来源:北方有色网 2023-03-18
环保型防辐射复合板
环保型防辐射复合板 889     
 0

一种环保型防辐射复合板,本发明涉及一种防辐射材料,特别是一种环保型防辐射复合板。这种复合材料主要由聚氯乙烯、聚丙烯、聚乙烯、聚苯乙烯等塑料及各种塑料树脂加添加剂与硫酸钡、重晶石粉和其它钡盐,添加适量的银、铜、铁、钙、钨、铝等金属粉末或其金属氧化物及金属盐制成一种新型环保、经济、使用方便的材料,适用于医院、工厂、科研所等有X、Γ、Β射线、中子及放射性核素源的工作场所进行辐射防护。

标签:
复合材料
江苏 - 无锡 来源:北方有色网 2023-03-18
纳米鞋油
纳米鞋油 965     
 0

产品属于纳米复合材料(0-3)技术领域,需要解 决的技术问题是如何提高现有鞋油综合功能,即自洁性、消毒、 杀菌、防止皮鞋老化,长久保持鞋面色彩鲜艳、亮度。主要技 术特征:(1)加入质量分数为3%的纳米 TiO2颗粒。(2)在搅拌机高速搅拌 下;使纳米粒子均匀分散在溶剂中。(3)加入质量分数为2%的 分散剂WA。用途:本产品涂擦使用后,皮鞋具有良好的自洁 性能,消毒、杀菌功能,并保持鞋面持久色彩鲜艳亮度。

标签:
复合材料
江苏 - 无锡 来源:北方有色网 2023-03-18
三维石墨烯管及其制备方法

本发明的课题是提供一种三维石墨烯管及其制备方法。石墨烯管的直径为10nm~5mm,长度为50nm~5mm,所述石墨烯的层数为1~100。方法包括:以金属线或金属丝作为催化剂模板通过化学气相沉积法使碳源在所述金属线或金属丝的外表面直接生成石墨烯覆层形成石墨烯/金属线或金属丝复合结构的工序A;通过刻蚀去除金属线或金属丝的工序B,从而获得三维石墨烯管。本发明提供的石墨烯管,具有优异的导电性能和耐腐蚀性。本发明提供的工艺简单,过程易控制,导电性能优异,制备成本低,适合于太阳能器件、储能电池、导电复合材料和耐腐蚀领域。

标签:
复合材料
江苏 - 无锡 来源:北方有色网 2023-03-18
在碳纤维表面制备二氧化钛涂层的方法

一种在碳纤维表面制备二氧化钛涂层的方法,其特征在于:将醇钛与无水乙醇以1:4比例混合形成溶胶混合物,通过醋酸调节pH值到1-2;将100℃下对碳纤维进行干燥处理30分钟,然后将碳纤维浸入到上述溶胶混合物中,并在碳纤维上用自动浸轧机夹压,使该溶胶混合物涂覆到碳纤维上;当溶胶混合物均匀涂覆到碳纤维上后,在80℃下烘干10分钟蒸发残余的乙醇;之后在100℃进行固化。本发明的溶胶混合物的形成是在常温下进行的,可以大大降低对制造条件的要求。本发明可控制涂层厚度。本发明制备的二氧化钛涂层碳纤维保持了无涂层碳纤维所具有的柔顺性和可编织性,同时解决碳纤维与某些复合材料基体间的界面浸润性和相容性问题。

标签:
复合材料
江苏 - 无锡 来源:北方有色网 2023-03-18
三角型绝缘吊支杆
三角型绝缘吊支杆 857     
 0

本发明公开了一种三角型绝缘吊支杆,它含有绝缘支撑杆、绝缘绳和绝缘拉杆,所述绝缘支撑杆上端固定有连接杆,所述连接杆的一端与所述绝缘拉杆的上端铰接固定,所述绝缘拉杆的下端设置有金属钩,所述连接杆的另一端与一个定滑轮连接,所述定滑轮上设置有绝缘绳,所述绝缘绳的一端设置有绳钩,所述绝缘绳的另一端设置在双向闭锁棘轮紧线器上,所述双向闭锁棘轮紧线器安装在所述绝缘支撑杆的下部,所述绝缘支撑杆的下端设置有U型卡脚。本发明采用三角形的设计理念,以使其在更换针式绝缘子的工程中达到最稳定的受力结构,另外,采用环氧树脂玻璃纤维增强型复合材料作为主绝缘材料,具有良好的电气性能。

标签:
复合材料
江苏 - 无锡 来源:北方有色网 2023-03-18
碳纤维复合芯
碳纤维复合芯 968     
 0

本发明公开了一种碳纤维复合芯,包括碳纤维、单根芯棒和铝线,所述的碳纤维与单根芯棒连接,所述的单根芯棒与铝线连接。本发明充分发挥了有机复合材料的优良特性,与钢芯铝绞线相比,具有重量轻、强度大、高载流、低线损、耐腐蚀、低弧垂等优点。

标签:
复合材料
江苏 - 无锡 来源:北方有色网 2023-03-18
钛铁颗粒增强的羟基磷灰石基生物陶瓷材料的制备方法

一种钛铁颗粒增强的羟基磷灰石基生物陶瓷材料的制备方法,属于材料技术领域,按以下步骤进行:将钛粉和铁粉混合,以球磨混合磨细,制成复合粉体;将复合粉体与HA粉末混合制成混合粉末,以无水乙醇为介质球磨混合均匀,下烘干去除乙醇获得HA/Ti-Fe粉体;将HA/Ti-Fe粉体单向压制成型或冷等静压成型,然后在真空条件下进行烧结,获得钛铁颗粒增强的羟基磷灰石基生物陶瓷材料。本发明的方法工艺简单,成本较低,容易实现工业化生产,制备的生物陶瓷复合材料具有优良力学性能和生物学性能。

标签:
复合材料
江苏 - 无锡 来源:北方有色网 2023-03-18
甲鱼晒盖台
甲鱼晒盖台 1131     
 0

本发明公开一种甲鱼晒盖台,包括间隔、并排设置的两个以上“H”形支架,支架的两个顶端均设有用于支撑并限位钢丝的槽口,所述支架的两个顶端一高一低形成高度差,两根钢丝分别穿过支架的高、低顶端的槽口,尼龙网的两个对边分别与两根钢丝固定连接形成与水平面呈锐角夹角的斜置网面;采用节能耐用的复合材料网布代替传统的石棉瓦和竹排,网布质地柔软细密,甲鱼晒盖攀爬时不会刮伤底板,也不会磨秃甲鱼爪尖,保护了甲鱼活动的安全,保证了甲鱼完美的品质,提高了甲鱼市场售价;尼龙网透气性好,不集热,即使在最炎热的夏季也不会影响甲鱼晒盖;本发明设计合理,结构和用料简单,抗腐蚀磨损性强,节省大量建材且使用寿命延长,有较好的节能环保效果。

标签:
复合材料
江苏 - 无锡 来源:北方有色网 2023-03-18
高压跌落式熔断器用复合管

本发明涉及电力保护领域,公开了一种高压跌落式熔断器用复合管,包括:内管、以及缠绕固化在所述内管的外表面的外管,其中,所述内管为由原棉纸浸渍在膨胀剂中经卷粘结而成的钢纸管,并且所述钢纸管经过压制、热处理、以及防潮处理,所述外管为由至少两层玻纤丝与树脂固化而成的复合材料,各层玻纤丝相互交叉形成网格。应用本高压跌落式熔断器用复合管能够以较低的成本,提高熔断器的保护能力,保证架空配电网的运行安全为户外高压架空线路提供保护,对降低工程造价具有显著的有益效果。

标签:
复合材料
江苏 - 无锡 来源:北方有色网 2023-03-18
梯度结构纳米碳管增强的TI(C,N)基金属陶瓷及其制备方法

一种梯度结构纳米碳管增强的Ti(C,N)基金属陶瓷及其制备方法,属于金属基 复合材料及其制备方法。该金属陶瓷成分质量份数为:C为6.5~8.0,其中0.5-1.0 的碳由纳米碳管引入,N为1.5~2.5,Ti为36~45,Ni为20~32,Mo为10~18, W为6~10。该金属陶瓷的制备工艺依次如下:将原料配制成符合上述成份的混合 料,然后经混料、添加成型剂、压制成型、脱脂、真空烧结得到烧结体。再将该 烧结体置于双层辉光等离子渗碳炉进行渗碳处理。源极材料为纯度高于96%的高 纯石墨,所用氩气纯度≥99.0%,充入炉内氩气压力为20-40Pa,处理温度为1100 -1200℃,处理时间为90-180min。所述材料具有高的抗弯强度、表面具有高的 硬度:σb≥1850MPa,HRA≥93.0。可用于刀具、拉丝模、压制模等。

标签:
复合材料
江苏 - 无锡 来源:北方有色网 2023-03-18
新型直发器
新型直发器 927     
 0

本发明是一种新型直发器,涉及美容美发器具。包括以转轴组件连接的上壳 体和下壳体,转尾组件,上、下壳体分别设有上、下隔热盒和带有发热元件和上、 下铝板的上、下发热体组件,硅胶垫分别连接上、下壳体并分别支撑上、下铝板, 其改进在于上、下壳体的外表面分别设有由粘接剂粘接的上、下纤维布层。由于 采用了先进的复合材料技术和结构,彻底解决了传统直发器塑胶壳体的诸多缺 陷,具有:①高强度、耐疲劳性,热稳定性,耐热酸化性、耐腐蚀性、抗药性、 抗振动性等优异性能;②由于高强度,耐疲劳、热稳定和抗振性,确保上、下铝 板平行度,提高烫发直发效果;③外观美丽,长期使用不老化不变色;④能抵抗 更严酷的非正常使用条件,可靠性和安全性显著提高。

标签:
复合材料
江苏 - 无锡 来源:北方有色网 2023-03-18
聚合物接枝改性的复合空心微珠及其制备方法

本发明涉及一种聚合物接枝改性的复合空心微珠及其制备方法,属于空心 微珠表面改性技术领域。本发明针对至今为止空心微珠的表面性质及其耐压强 度难于同时改善的缺失,提供一种聚合物接枝改性的复合空心微珠及其制备方 法。该复合空心微珠通过表面接枝聚合物使得耐压强度和与基体的相容性获得 同时显著提高,并且也可以抑制空心微珠表面的缺陷结构。本发明提供的方法 简单,易于操作,成本低。本发明用于复合材料中作为轻质、增强填料。

标签:
复合材料
江苏 - 无锡 来源:北方有色网 2023-03-18
纬向木织物及织造工艺
纬向木织物及织造工艺 1206     
 0

本发明公开了纬向木织物及织造工艺,它是把纬向木条片与柔性纤维经纱配合织造成纬向木织物,这些纬向木织物可被广泛应用于生产各种夹木复合材料产品,特别是生产木质蜂窝芯,木质蜂窝板等材料。

标签:
复合材料
江苏 - 无锡 来源:北方有色网 2023-03-18
纬向竹织物及织造工艺

本发明公开了纬向竹织物及织造工艺,它是把纬向竹条片与柔性纤维经纱配合织造成纬向竹织物,这些纬向竹织物可被广泛应用于生产各种夹竹复合材料产品,特别是生产竹质蜂窝芯,竹质蜂窝板等材料。

标签:
复合材料
江苏 - 无锡 来源:北方有色网 2023-03-18
特富龙填充耐磨聚甲醛及其制作工艺

本发明涉及一种有机高分子复合材料,更具体地说,是涉及一种特富龙填充耐磨聚甲醛及其制备方法,是由以下成分按重量比组成,聚甲醛:60.5-90%;碳氢树脂:10-40%;增韧剂:1-5%;吸醛剂:0.1-1.7%;偶联剂:0.1-0.4%;其他助剂:0.1-2.5%,本发明的一种特富龙填充耐磨聚甲醛及其制作工艺,在综合机械性能保持良好的基础上增加了高耐磨的特性,生产采购方便,注塑或挤出生产产品时也不分解导致呛人气味,这样全面提高了产品的综合竞争能力。

标签:
复合材料
江苏 - 无锡 来源:北方有色网 2023-03-18
功能化有机/无机杂化不对称结构粒子及其合成方法

本发明属于复合材料和功能材料技术领域,具体为一种功能化有机/无机杂化不对称结构粒子及其制备方法。这种不对称结构粒子是利用聚合物微球为模板,利用碱作为催化剂,使各种硅烷偶联剂在聚合物微球表面某些特定区域缩合水解形成二氧化硅粒子,最终形成杂化不对称结构粒子。由本发明制得功能性聚合物微球/二氧化硅杂化不对称结构粒子结构规整、制备简便、带有特殊官能团,可以用于吸附剂、聚合物基体改性剂、光子晶体、高性能涂层、功能性表面活性剂和功能材料载体等领域。

标签:
复合材料
江苏 - 无锡 来源:北方有色网 2023-03-18
磨碎碳纤维增强的酚醛树脂/石墨双极板材料

本发明涉及燃料电池双极板材料技术领域,尤其是一种磨碎碳纤维增强的酚醛树脂 /石墨双极板材料。磨碎碳纤维增强的酚醛树脂/石墨双极板材料由石墨粉体、酚醛树脂 粉体和磨碎碳纤维复合而成,磨碎碳纤维粒度为100~400目,酚醛树脂粉体粒度目数为 200目及以上,石墨粉体粒度为80~200目。材料配方质量百分比为:磨碎碳纤维为1~ 12%;酚醛树脂粉体为12%~23%;石墨粉体65%~87%。由以上成分及配比制备的复 合材料性能为:弯曲强度:50~68MPa,导电率:157~209s/cm,密度:1.79~1.88g/cm3, 完全符合燃料电池双极板对弯曲强度及导电率的要求,同时,本发明的材料总成分缩减 至3种,成分简化,性价比进一步提高。

标签:
复合材料
江苏 - 无锡 来源:北方有色网 2023-03-18
高耐磨滚筛筛辊及堆焊工艺

本发明公开一种高耐磨滚筛筛辊及堆焊工艺,制作一种表面硬度高、复合强度高滚筛筛辊。技术方案如下:筛辊以普通碳素钢管作为基体,基体表面的堆焊层采用硬度逐渐增加的复合材料,堆焊层第一层为过渡层采用奥氏体不锈钢,硬度高于普通碳素钢、焊接强度高,第二层和第三层为耐磨层即工作层,采用专用00CR13系耐磨焊丝焊接,高硬度、高耐磨性。筛辊堆焊工艺:焊前对基体车削加工→预热温度→过渡层堆焊→温度检测→耐磨层堆焊→检查弯曲度→粗车→表面探伤→精车、磨削→成品。本发明采用堆焊工艺,对局部优化,硬度由里及表呈梯度增高;堆焊层与基体为冶金结合,结合强度高,不开裂、不脱落;辊面耐磨性、韧性强;使用寿命提高2~3倍;成本低。

标签:
复合材料
江苏 - 无锡 来源:北方有色网 2023-03-18
晶须增强型铝合金抑爆材料及其制造方法

本发明涉及一种晶须增强型铝合金抑爆材料,由切缝并扩展后的铝合金箔网制成,具有网状或蜂窝状的多孔结构,其特征在于:所述铝合金箔由晶须/铝合金复合材料组成,且所述晶须质量占所述铝合金基体质量的5~20%。同时,本发明还公开了该抑爆材料的制造方法。本发明所得的材料将晶须的超高强度、刚度与金属基体的高韧性、高延展性结合起来,不仅具有普通抑爆金属材料导电、导热性能好,比表面积大的优点,同时具有抗腐蚀、高强度的特点,该材料作为抑爆材料时不产生碎屑,不变形,并且不产生塌陷现象。该材料尤其适用于腐蚀性较大的易燃易爆液体盛装容器以及撬装式加油加气站储罐的安全防护。

标签:
复合材料
江苏 - 无锡 来源:北方有色网 2023-03-18
壳寡糖接枝聚己内酯热塑性材料的制备方法

本发明提供一种壳寡糖接枝聚己内酯热塑性材料的制备方法,它以N,N-二甲基甲酰胺为溶剂,用邻苯二甲酸酐保护壳寡糖的氨基制备N-邻苯二甲酰化壳寡糖反应中间体;在氮气保护下逐滴加入辛酸亚锡的吡啶溶液,引发ε-己内酯单体发生开环聚合,使聚己内酯定位在壳寡糖的羟基上,生成壳寡糖接枝聚己内酯热塑性材料。所制备的产物既可作为甲壳素、壳聚糖、壳寡糖和聚己内酯共混物的界面偶联剂,也可以作为药物缓释材料、支架材料、其它人体植入生物材料等生物医用材料;同时,该接枝共聚物在冷却时为球晶结构,既可以与其它材料共混,采用传统的聚合物成型加工方法制备出生物复合材料,也可以直接在熔融条件下加工成相关的生物材料制品。

标签:
复合材料
江苏 - 无锡 来源:北方有色网 2023-03-18
耐磨机件表面复合高铬合金陶瓷颗粒复合物的生产工艺

本发明公开了一种耐磨机件表面复合高铬合金陶瓷颗粒复合物的生产工艺,包括制备高铬合金陶瓷颗粒复合网格和将高铬合金陶瓷颗粒复合网格固定在造型表面,对机件进行浇铸,使高铬合金陶瓷颗粒复合网格固定在机件表面。本发明将陶瓷颗粒材料的耐磨性能和高铬合金的机械性能有机结合,生产的复合材料硬度、抗冲击、耐磨损,形状为网格状,可制成各种外形尺寸如锥形、弧形、圆形等,将这种超硬网状复合物通过二次铸造,形成所需的耐磨产品,能有效达到设备抗破碎、抗磨损工况要求。

标签:
复合材料
江苏 - 无锡 来源:北方有色网 2023-03-18
可以净化甲醛的环保涂料及其制备方法

本发明公开了一种可以净化甲醛的环保涂料,由以下组分的原料制备而成:海水贝壳粉、高岭土、轻质碳酸钙、纳米二氧化硅、TiO2‑矾酸铋‑石墨烯三元纳米复合材料和粘合剂粉体以及甲醛捕获剂组合物;所述海水贝壳粉的粒经为500目‑1300目。涂料的制备方法包括:(S1)浆料制备、(S2)基料制备以及(S3)光催化原料加入:将硅丙乳液、成膜助剂、配方量40~60%的消泡剂加入到步骤(S2)所得基料中,低速搅拌均匀后,再加入光催化复合胶体,经低速搅拌制得。本发明具备去除甲醛和降低损害人体健康的技术效果。

标签:
复合材料
江苏 - 无锡 来源:北方有色网 2023-03-18
耐500℃聚酰亚胺石英天线罩的成型方法

本发明公开了一种耐500℃聚酰亚胺石英天线罩的成型方法,包括1)天线罩罩体织物制备;2)天线罩成型;3)预制体浸渍聚酰亚胺树脂;4)合模模压固化;5)脱模并外协机加;本发明解决了现有复合材料天线罩耐温性能不足的问题,突破树脂体系优化、与纤维界面匹配性、高温性能评价、成型工艺与质量控制等关键技术,通过天线罩样件的成型工艺验证及性能考核评价,提高天线罩结构耐温等级,减薄防热层厚度,减轻结构自身及放热材料重量提升。

标签:
复合材料
江苏 - 无锡 来源:北方有色网 2023-03-18
含无机非织造网纱的复合碳纤维带的制备方法

本发明涉及一种含无机非织造网纱的复合碳纤维带的制备方法。该方法包括:将无机纤维切割成短纤维,然后置于水中,将得到的纤维悬浮浆输送到成网机构使无机纤维形成湿态非织造网纱,干燥,加入粘结剂,固化,得到干态非织造网纱;将单向碳纤维上下表面加入粘结剂,将干态非织造网纱贴于单向碳纤维上下表面,热压。该方法工艺过程相对简单,易操作,重复性好,成本低;复合碳纤维带后续生产的复合材料制品内部缺陷少,抗层间损伤性能好。

标签:
复合材料
江苏 - 无锡 来源:北方有色网 2023-03-18
改性凹凸棒负载硫化亚铁的制备方法及应用

本发明公开了一种改性凹凸棒负载硫化亚铁的制备方法及应用,属于环境功能性复合材料技术领域。本发明制备方法包括如下步骤:先将凹凸棒置于马弗炉中加热,然后将热活化后的凹凸棒浸泡于稀酸中震荡混合再离心、洗涤、烘干,得到热加酸改性凹凸棒;之后在氮气保护下将氯化亚铁水溶液加入上述改性凹凸棒土中,搅拌均匀再逐滴加入硫化钠水溶液反应,反应完全后静置分层、润洗、烘干得到改性凹凸棒负载硫化亚铁。本发明采用均相沉淀法合成材料,制备流程简单,原材料成本低,通过凹凸棒负载,有效分散了硫化亚铁纳米颗粒,增强了对水体钼酸盐的去除效果,具有良好的市场应用前景。

标签:
复合材料
江苏 - 无锡 来源:北方有色网 2023-03-18
新型纳米复合抗菌材料的制备方法

本发明公开了一种新型纳米复合抗菌材料的制备方法,包括S1、首先配置一定浓度的吡啶硫酮钠水溶液;S2、取一定量的凹凸棒土分散在吡啶硫酮钠水溶液中,进行搅拌混合,搅拌完毕将混合溶液进行静置30min;S3、将静置完毕的溶液进行分离,分离得出的固体采用清水再次进行分散,分散再次静置,静置30min后抽滤再分离;S4、分离完后洗去表面游离的吡啶硫酮钠;S5、将得到的复合材料于60‑120℃进行干燥处理。该新型纳米复合抗菌材料的制备方法,利用凹凸棒土中的Mg、Zn及Al等金属离子,与吡啶硫铜钠盐进行原位复合,不仅减少金属盐的用量,还可以借助凹凸棒土的纳米结构,得到纳米结构的吡啶硫铜盐,提高杀菌的广谱性和杀菌效果。

标签:
复合材料
江苏 - 无锡 来源:北方有色网 2023-03-18
抗高能电子辐射铝基复合屏蔽材料及其制备方法

本发明提出一种抗高能电子辐射铝基复合屏蔽材料制备方法,包括以下步骤:(1)将钨粉、钽粉与铝粉按一定配比,使用双锥混料机混合均匀,得到多种复合粉体;(2)将复合粉体进行逐层装填至冷等静压模具中,冷等静压成型,冷等静压压力为50MPa~200MPa,保压时间为10min~40min,得到冷等静压坯锭;(4)将冷等静压坯锭装在铝包套中,使用热等静压烧结或者真空热压烧结的方法成型,得到层状分布的铝基复合屏蔽材料;(5)铝基复合屏蔽材料采用高温双向交替轧制的成型方式,获得抗高能电子辐射铝基复合屏蔽材料成品板材。采用本发明的方法制备的复合材料具有致密度高、增强相分布均匀、综合力学性能好、屏蔽性能好及可靠性高等优点。

标签:
复合材料
江苏 - 无锡 来源:北方有色网 2023-03-18
上一页 517 518 519 520 521 ... 786 下一页
共786页    到第

北方有色为您提供最新的江苏无锡有色金属材料制备及加工技术理论与应用信息,涵盖发明专利、权利要求、说明书、技术领域、背景技术、实用新型内容及具体实施方式等有色技术内容。打造最具专业性的有色金属技术理论与应用平台!

全国热门有色金属设备推荐
展开更多 +
全国热门有色金属技术推荐
展开更多 +

 

江西省隆恩特环保设备有限公司
宣传

报名参会
更多+

报告下载

有色专家
更多+

中南大学
常务副校长
中冶沈勘秦皇岛工程技术有限公司
原矿山院院长/教授级高工
西安建筑科技大学
教授
有研资源环境技术研究院(北京)有限公司
副总经理/教授级高工
云南锡业集团(控股)有限责任公司
副总经理
赤泥综合利用研究报告2025
推广

热门技术
更多+

推荐企业
更多+

福建省金龙稀土股份有限公司
宣传

发布

在线客服

公众号

电话

顶部
咨询电话:
010-88793500-807