青岛垚鑫智能科技有限公司
宣传

位置:中冶有色 >

有色技术频道 >

> 复合材料技术

分类:
全部
矿山技术
冶金技术
材料制备及加工技术
环境保护技术
分析检测技术
 
全部
功能材料技术
复合材料技术
新能源材料技术
合金材料技术
加工技术
地区:
全部
北京
天津
上海
重庆
河北
山西
辽宁
吉林
黑龙江
江苏
浙江
安徽
福建
江西
山东
河南
湖北
湖南
广东
海南
四川
贵州
云南
陕西
甘肃
青海
内蒙
广西
西藏
宁夏
新疆
其他
其他
展开
 
全部
南京
无锡
徐州
常州
苏州
南通
连云港
淮安
盐城
扬州
镇江
泰州
宿迁

江苏有色金属复合材料技术理论与应用

免费发布技术信息>>
散热器专用热辐射涂料及其制备方法

本发明涉及热辐射技术应用领域,尤其涉及一种散热器专用热辐射涂料及其制备方法,所述涂料由以下重量分数的各组分制备:35‑45份环氧树脂,10‑18份纳米碳化硅,10‑18份纳米氧化铝,1.5‑2.5份碳纳米管,25‑35份液体磷酸二氢铝,1.5‑2.5份聚氧乙烯聚氧丙醇胺醚,20‑30份水,本发明采用纳米高分子复合材料,具有高热传导率的较大的散热面积,经过金属表面改性处理的纳米碳化硅,提高了与纳米氧化铝的结合性能,大大增加了热辐射的效率,将热辐射涂料涂覆在散热器表面,使散热器具备了良好的散热性能,满足广泛的散热需求。

标签:
复合材料
江苏 - 无锡 来源:中冶有色网 2023-03-18
窗扇隐形护栏
窗扇隐形护栏 1056     
 0

窗扇隐形护栏,其特征在于:由窗框、固定窗扇、活动窗扇、双层玻璃、图案护栏、卷筒、进出口、纱网、柱形锁、探头、内框边锁孔、外框边锁孔、手动电源开关、传感器、信号线、电源感应开启关闭装置、微型电机、大小咬合齿轮、卷绕轴、透洞、滑轮、拉绳相互连接构成本发明;其主要原理是采用碳纤维复合材料制作的窗扇和窗扇双层玻璃中的隐形图案护栏,窗扇可开启和关闭,不影响美观,并且牢固耐用,改变人们对一楼传统护栏的视觉,用一种美的观感提高居住环境质量。

标签:
复合材料
江苏 - 无锡 来源:中冶有色网 2023-03-18
耐热抗老化汽车保险杠

本发明公开了一种耐热抗老化汽车保险杠,其特征在于,原料各组分按照重量份组成如下:聚丙烯50-60份、氧化聚乙烯12-15份、纳米二氧化硅5-7份、活化增韧剂2-3份、抗氧剂1-3份、乙烯基三甲氧基硅烷2-4份、马来酸酐2-3份、水杨酸-4-叔丁基苯酯0.6-0.8份、铜粉2-3份、防老剂MB?2-3份、氧化锌0.8-1.2份、增强填料3-5份、白油2-4份。本发明用乙烯基三甲氧基硅烷和纳米二氧化硅对聚丙烯进行改性,通过加入活化增韧剂,提高了复合材料的韧性和耐冲击性,抗氧剂使聚丙烯在加工过程中具备良好的加工稳定性,增强填料等矿物性成分的加入,使产品强度高且韧性好,具有较好的耐热性能和力学性能。

标签:
复合材料
江苏 - 无锡 来源:中冶有色网 2023-03-18
远程监测风电叶片层间结构损伤方法

一种远程监测风电叶片层间结构损伤方法,用于风电叶片层间结构损伤位置和程度监测。本发明利用碳纤维智能层(6)的功能特性及复合材料特有的随形性,将其铺设到风电叶片(1)外蒙皮下梁帽(2)上面和外蒙皮下后缘梁(3)上面,在碳纤维智能层(6)与被测结构之间建立一个敏感场,碳纤维智能层(6)将被测结构的力场转换为易于检测的电场,结合ERT层析成像系统(10),由敏感场的电阻率分布可获知被测结构应力、应变的情况,从而可判断被测结构出现损伤的位置及严重程度。本发明能远距离实时对风电叶片(1)使用过程进行监控,不需卸掉叶片,也不需要停机影响风力发电机的正常工作,可实时了解风电叶片(1)结构内部裂纹扩展情况以便及时预警。

标签:
复合材料
江苏 - 无锡 来源:中冶有色网 2023-03-18
两亲性梳状复合型高分子光稳定剂及其制备方法

本发明属于高分子助剂类领域,具体涉及到一种两亲性梳状复合型高分子光稳定剂及其制备方法。该复合型高分子光稳定剂分子侧链中同时含有二苯甲酮类紫外线吸收剂功能基团、受阻胺类自由基捕捉剂基团、亲油基团丙烯酸酯类以及亲水基团聚乙二醇单甲醚分子链等。本发明的光稳定剂因含有紫外线吸收剂和自由基捕捉剂两种功能单体,所以具有双重光稳定的效果,热分解温度高,并为两亲性,所以特别适用于木塑复合材料的光稳定化,该光稳定剂的合成采用自由基溶液聚合,制备方法简单,适宜工业化生产。

标签:
复合材料
江苏 - 无锡 来源:中冶有色网 2023-03-18
石油化工装置腐蚀与防护碳纤维补强工艺

本发明公开了一种石油化工装置腐蚀与防护碳纤维补强工艺,包括:步骤一、对管壁缺陷处的内表面进行前处理,将基材表面打磨至无任何附着物;步骤二、利用修补剂对所述缺陷处进行填平处理;步骤三、在填涂所述修补剂处及周围管体表面填涂环氧树脂胶;步骤四、在所述填涂环氧树脂胶处缠绕碳纤维复合材料布。本发明具有修补材料能够长时间反复使用的过程中,粘贴性能好、不分层、不空鼓开裂的特点,并且能够通过本发明所述的补强工艺确保修补材料与管道之间抗电偶腐蚀,同时本发明还具有工艺步骤简单,修复材料固化效果好等特点。

标签:
复合材料
江苏 - 无锡 来源:中冶有色网 2023-03-18
抗菌止血复合海绵及其制备方法

本发明公开了一种抗菌止血复合海绵及其制备方法。该方法为:以羧甲基壳聚糖季铵盐/有机蒙脱土纳米复合材料和海藻酸钠为原料,经过共混、离子交联和冷冻干燥,最终获得复合海绵。通过控制羧甲基壳聚糖季铵盐/有机蒙脱土的浓度、海藻酸钠的浓度和交联时间,得到具有三维网络结构的抗菌止血复合海绵。该过程操作简单,避免使用有机交联剂,是一种绿色、环保、快速的制备方法,完全符合“绿色化学”的要求。本方法制备的复合海绵具有良好的物理强度和抗菌性能,以及高吸水性、止血及促进伤口愈合等优点。因此,本发明抗菌止血复合海绵在生物医用材料领域有着巨大的应用前景。

标签:
复合材料
江苏 - 无锡 来源:中冶有色网 2023-03-18
耐腐蚀的金属油墨及其制备方法

本发明属于油墨技术领域,尤其涉及一种耐腐蚀的金属油墨及其制备方法,它包括以下重量份的原料:水性聚氨酯树脂20-30份、氯化聚丙烯树脂33-45份、水性丙烯酸树脂25-35份、单硬脂酸甘油酯10-20份、乙醇10-25份、壳聚糖-石墨烯复合材料3-8份、助剂3-8份、金属颜料15-25份、空心玻璃微珠3-8份、核桃壳粉1-2份。本发明各原料达到互容的目的,耐腐蚀性能好。

标签:
复合材料
江苏 - 无锡 来源:中冶有色网 2023-03-18
木材用低熔点纤维基热塑型纤维增强复合板及制备方法

本发明公开了一种木材用低熔点纤维基热塑型纤维增强复合板及制备方法,制备方法是:在实木板上依次缠绕底层混合织物、中层混合织物和表层混合织物,经模压机热压、冷却定型得到木材用低熔点纤维基热塑型纤维增强复合板,底层混合织物由麻纤维和低熔点纤维制成;中层混合织物由高强高弹纤维和低熔点纤维制成,表层混合织物由表面改性处理的无机纤维和低熔点纤维制成。本发明的复合板与木材贴合复合牢度;吸收木材因随温度和湿度变化产生的形变能,提高木质复合材料的疲劳寿命;确保防火、防潮、防霉、防腐、防虫,防止FRP板基质光照老化;抗剥离,加工效率高;材料和结构有多种选择,降低生产成本。

标签:
复合材料
江苏 - 无锡 来源:中冶有色网 2023-03-18
防火型物联网现场总线电缆及其制备方法

本发明公开了一种防火型物联网现场总线电缆及其制备方法,该防火型物联网现场总线电缆包括由输电电缆、光缆和数据电缆组成的总线电缆内芯,以及在总线电缆内芯的外部依次包覆的陶瓷纤维耐火带、第五硅橡胶复合材料阻燃层、纳米阻燃绝缘层和阻燃外护套;在总线电缆内芯与陶瓷纤维耐火带之间填充有第三阻燃填充料;本电缆的耐火试验不仅满足国标GB/T?19216的要求;还可满足英国BS6387标准中规定的C级、W级和Z级的要求;试验过程中,电缆既不短路也不开路。

标签:
复合材料
江苏 - 无锡 来源:中冶有色网 2023-03-18
多孔复合凝胶-纳米纤维透氧敷料及其制备方法

本发明公开了一种多孔复合凝胶-纳米纤维透氧敷料及其制备方法,采用胶原蛋白溶液通过静电纺丝方法得到胶原蛋白纳米纤维膜,然后以壳聚糖与海藻酸两种天然无毒的高分子多糖进行化学交联制备复合凝胶,再通过冷冻干燥方式制得多孔海绵-纳米纤维双层复合材料,敷料上层凝胶干燥时为海绵态,吸湿后为凝胶态,本发明在不添加任何有毒化学交联剂的情况下,制备生物创面敷料,工艺简单,安全性好,本发明制备的生物创伤敷料的特点是具有优良透氧性能,吸水性、透水性、透湿性及良好的生物相容性,能够保持创面生理湿润环境,促进创面愈合及有效止血,可防止伤口感染并加速痊愈,能够对创面进行有效修复,适用于创伤、烧伤、溃疡等多种创面。

标签:
复合材料
江苏 - 无锡 来源:中冶有色网 2023-03-18
二硫化钼纳米片层的剥离制备方法

本发明公开了一种二硫化钼(MoS2)纳米片层的剥离制备方法。通过在含有氧化剂的混合溶剂中搅拌或超声处理,原料二硫化钼被剥离并形成二硫化钼纳米片。该方法采用廉价试剂,于室温下操作,能耗低、无污染、效率高,制备的二硫化钼纳米片层可广泛应用于能量储存与转化、催化、润滑以及各种复合材料等领域。

标签:
复合材料
江苏 - 无锡 来源:中冶有色网 2023-03-18
新型多元结构复合导电填料

本发明公开了一种多元结构复合导电填料。本发明对质轻的无机粉体(空心玻璃微珠、云母、碳纤维、片状石墨等)表面镀覆一层吸波的磁性材料(如Ni、Fe、Co、Ni-P、Co-P、Ni-Co-P、Co-W-P、钡铁氧体、四氧化三铁、羰基铁等),再镀覆一层导电材料(如银、镍、铜等金属或掺杂氧化锡、掺杂氧化铟、掺杂氧化锌、二氧化钛等无机氧化物),制得新型多元结构复合导电填料-无机粉体内核/磁性材料镀层/导电材料镀层。该类复合导电填料可利用吸波材料对电磁波的吸收性能和导电材料对电磁波的反射性能进一步提高其电磁屏蔽性能,其具有质量轻、成本低、屏蔽频带宽、屏蔽性能好等优点,在电磁屏蔽复合材料领域有很大的应用价值。

标签:
复合材料
江苏 - 无锡 来源:中冶有色网 2023-03-18
新型阻燃隔热弹性聚酯材料及其制备方法和应用

本发明公开了一种新型阻燃隔热弹性聚酯材料的制备方法:将磷系共聚型永久阻燃聚酯切片预结晶、干燥,达到水份含量≤30ppm;纺初生丝,平衡、集束后,经牵伸、卷曲、切断及松驰热定型制得2~10D的阻燃三维螺旋型卷曲中空聚酯纤维;将85~95wt%的阻燃三维螺旋型卷曲中空聚酯纤维、15~5wt%的低熔点涤纶短纤维混匀,再经过清花、梳棉、铺网,之后经过热轧机或热风烘燥机将低熔点涤纶短纤维熔化与阻燃三维螺旋型卷曲中空聚酯纤维热粘合。本发明材料具有优越的性能,可代替聚氨酯泡沫塑料用作家具垫材、交通工具座椅垫材及各种软性衬垫层压复合材料等。

标签:
复合材料
江苏 - 无锡 来源:中冶有色网 2023-03-18
聚苯胺接枝碳系材料的制备方法

本发明涉及一种聚苯胺接枝碳系材料的制备方法,该方法首先将碳系材料氧化,再在其表面引入环氧基,然后与对苯二胺反应,在氧化碳系材料表面引入苯胺基,最后将聚苯胺接枝到材料表面。该方法接枝的聚苯胺与碳系材料直接电子共轭,具有比其他方法更高的电导率和稳定性,制得的聚苯胺接枝碳系材料在导电涂料、防静电、防辐射、吸波及复合材料等领域具有巨大的应用潜力。

标签:
复合材料
江苏 - 无锡 来源:中冶有色网 2023-03-18
基于超临界流体技术的碳纤维表面接枝方法

一种基于超临界流体技术的碳纤维表面接枝方法,涉及一种碳纤维表面改性方法。本发明是要解决现有碳纤维表面改性方法存在的接枝小分子物质则反应位点少,接枝聚合物则易交联,改性后的碳纤维与树脂的结合强度低的问题。方法:一、碳纤维表面环氧涂层的去除;二、碳纤维的氧化;三、碳纤维的酰氯化;四、碳纤维表面接枝三聚氰胺。本发明在碳纤维的表面接枝三聚氰胺,反应位点多,为下一步的接枝等反应提供便利。另外三聚氰胺的分子量较小,与聚合物相比不易交联,具有非常好的分散性,可在碳纤维的表面进行均一性较好的接枝反应,从而有利于复合材料界面性能的提高。本发明用于碳纤维表面改性。

标签:
复合材料
江苏 - 无锡 来源:中冶有色网 2023-03-18
制备纳米二氧化钛凝胶的方法

本发明公开了一种制备纳米二氧化钛凝胶的方法,其步骤如下:一、以钛金属化合物为主要原料,滴加水和抑制水解的酸进行水解反应,得到溶胶化和水解后的化合物;二、将溶胶化和水解后的化合物与具有骨架作用的聚合物单体、偶联剂和引发剂进行共缩聚反应,形成凝胶;三、对凝胶进行高温化处理,得到聚合物基纳米复合材料。该方法通过以钛酸酯类为主要原料,采用一次混合的方式生产纳米二氧化钛凝胶,客观上节省了一定的成本,同时提高了产物的纯度。通过此方法可以制备出纳米级二氧化钛凝胶,从而制备一系列透明的高折射率纳米二氧化钛薄膜,在化妆品、润滑剂、涂料等方面现在有一定的应用前景。

标签:
复合材料
江苏 - 无锡 来源:中冶有色网 2023-03-18
含钙化层仿生组织工程骨软骨一体化支架的制备方法

本发明公开了一种含钙化层仿生组织工程骨软骨一体化支架的制备方法,将制备的透明软骨层、钙化软骨层和软骨下骨层经真空热压和颗粒滤取制成中间是密实钙化软骨层、两侧是多孔透明软骨层和软骨下骨层一体化的复合材料支架,其中,以聚乳酸为基体,聚磷酸钙短纤维为增强物,氯化钠为致孔剂,采用溶媒浇铸法制得透明软骨层和软骨下骨层;以聚乳酸为基体,聚磷酸钙长纤维为增强物,采用薄膜铺层法制得密实钙化软骨层(为CPPf/PLLA薄膜)。本发明通过控制CPP纤维的含量,不仅可使CPPf/PLLA一体化多孔支架的强度、刚度及骨诱导性增加,而且可控支架在模拟体液中的降解速率。

标签:
复合材料
江苏 - 无锡 来源:中冶有色网 2023-03-18
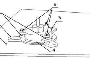
可调静压受感器安装结构

本发明公开了一种可调静压受感器安装结构,它包括蒙皮、转换支座、螺桩、橡胶垫、静压受感器和自锁螺母,转换支座铰接于复合材料蒙皮上,将螺桩一端装入转换支座中,橡胶垫安装于转换支座中间,在转换支座上安装静压受感器,再用自锁螺母锁住螺桩。通过橡胶垫压缩量的调节,在蒙皮厚度存在公差的情况下保证静压受感器进气杆外露端与舱体外形的安装阶差要求;通过增加转换支座,改变受感器的安装方式,避开了静压受感器与蒙皮的直接连接,使得静压受感器维护拆装时舱体外表面涂层不会遭到破坏。

标签:
复合材料
江苏 - 无锡 来源:中冶有色网 2023-03-18
具有超疏水与超亲油功能的油水分离网膜及其制备方法

本发明公开了一种具有超疏水与超亲油功能的油水分离网膜,是以织物网为载体在其表面涂覆一层复合物固化膜制得,其中复合物固化膜是将环氧树脂、稀释剂、纳米二氧化硅粉末与固化剂按质量比1:10~50:1~10:0.1~1的比例混合制得。本发明公开的油水分离网膜使聚合物/无机复合材料表面同时具有超疏水与超亲油性质,赋予织物网以理想的油水分离效能,且制备原料通用,制备方法简单,成本低,适于规模化生产与应用,具有广泛的社会效益和经济价值。

标签:
复合材料
江苏 - 无锡 来源:中冶有色网 2023-03-18
利用低沸点有机溶剂剥离制备石墨烯的新方法

本发明提供了一种利用超声技术,将石墨在低沸点溶剂中剥离成石墨烯的新方法,包括以下步骤:步骤一、将石墨分散到低沸点溶剂中进行超声。步骤二、将步骤一得到的混合液过滤,干燥。步骤三、将步骤二预处理的石墨分散到低沸点溶剂中,继续进行超声。步骤四、将溶液进行离心,取上层液,过滤,干燥。该方法操作简单,所使用的溶剂为低沸点的有机溶剂且石墨烯的产率较高,为石墨烯/聚合物基复合材料的制备开辟了新途径。

标签:
复合材料
江苏 - 无锡 来源:中冶有色网 2023-03-18
轻质刚性隔热材料的制备方法

本发明属于无机复合材料技术领域,具体涉及一种轻质刚性隔热材料的制备方法。轻质刚性隔热材料纤维的预处理、隔热基体成型料浆制备、料浆分散、抽滤成型、热处理、TiO2溶胶制备、真空浸渍、隔热基体复合TiO2凝胶、超临界干燥,即得。本发明具有科学合理、易于实施、生产周期短、投资成本低的优势,利用该法制备的轻质刚性隔热材料在保证高气孔率的前提下具有较高的力学性能和优良的隔热效果,同时还具有良好的抗热震性能。

标签:
复合材料
江苏 - 无锡 来源:中冶有色网 2023-03-18
绝缘外壳的制作方法
绝缘外壳的制作方法 1056     
 0

本发明提供了一种绝缘外壳的制作方法,其步骤包括:材料准备,制作过程,清洗,烘干,其中取含浸热塑性树脂材料的克维拉纤维,和含浸热塑性树脂材料的碳纤维复合材料交叉堆叠成层状结构,内部直接置有屏蔽板的热压模具,并放置于一具有抽真空结构的制作适配器壳体外壳的热压模具中,本发明的绝缘外壳通过上述的成型方法制得嵌合有屏蔽板的绝缘外壳,从而无需传统的屏蔽板组装于绝缘外壳内的组装过程,进而提高了绝缘外壳的生产效率。

标签:
复合材料
江苏 - 无锡 来源:中冶有色网 2023-03-18
木塑材料及其制备方法

本发明属于复合材料技术领域,涉及一种木塑材料及其制备方法。该木塑材料由包括以下重量份的组分制成:热塑性塑料50~90份、木粉10~50份、偶联剂0~5.0份、硬脂酸2~10份、石蜡0.6~1.0份,本发明木塑材料的力学性能与单纯使用偶联剂或不适用偶联剂制备的木塑材料相比,有很大的提高。

标签:
复合材料
江苏 - 无锡 来源:中冶有色网 2023-03-18
NiF2掺杂LiBH4-LiNH2-CaH2复合储氢材料及其制备方法

本发明涉及一种NiF2掺杂LiBH4-LiNH2-CaH2复合储氢材料的制备方法,特别是利用NiF2掺杂改善LiBH4-LiNH2-CaH2体系放氢性能的储氢材料及其制备方法,属于改性技术领域。该复合材料通过机械球磨法制备而得,当NiF2掺杂量为5wt%时,体系在47°C开始大量放氢,主放氢峰温度为234℃,175℃时5000s内放氢量达到了3.75wt%,5h内放氢5.03wt%,200℃时5000s内放氢量达到了6wt%,270℃时1000s内放氢量达到了6.55wt%。本发明球磨制备的复合储氢材料具有很好的储放氢性能,制得的NiF2掺杂改善LiBH4-LiNH2-CaH2复合高效储氢材料在较低温度下表现出了良好的放氢性能。

标签:
复合材料
江苏 - 无锡 来源:中冶有色网 2023-03-18
新型核壳型水泥基高强轻质骨料的制备方法

本发明提供了一种新型核壳型水泥基高强轻质骨料的制备方法,其使用水泥基复合材料(水泥与掺和料)作为外壳材料的主要胶凝材料,采用成球工艺,在轻质内核材料外围包壳,并经过一定的养护即可成功制备出高强轻质骨料。所制备的轻骨料,比强度高、粒型好、具有良好的保温隔热性,且可实现某些特定功能性,如储热、隔声、吸波等功能。该高强轻骨料生产的工艺为:粉体混合→搅拌均匀→喷液成球→养护(蒸养+保湿)→筛分。通过本发明解决了传统烧结工艺生产的骨料生产能耗大、工艺复杂、污染严重的问题,或者免烧陶粒产品的堆积密度较大,但强度不够高等产品质量不够高的问题。

标签:
复合材料
江苏 - 无锡 来源:中冶有色网 2023-03-18
新型玻璃钢复合涂层材料及其制备方法

本发明公开了一种新型玻璃钢复合涂层材料,其特征在于,由下列重量份的原料制成:乙烯基树脂33-36、双酚A树脂10-12、氢氧化钙1-2、轻烧氧化镁2-3、氯化石蜡1-2、甲基丙烯酸酯20-25、硅烷偶联剂KH-5503-4、尿素2-3、山梨酸钾1-2、1,5-戊二醇4-6、过氧化苯甲酰4-6、玻璃纤维24-27、草木灰1-2、对羟基苯甲醚2-3、钛酸四正丁酯2-3、助剂1-2;本发明添加助剂,使材料具有良好的物理性能以及机械性能,起到补强的作用;本发明材料耐高温、抗冷冻、使用寿命长、无毒、体轻、耐火阻燃,制成的增强复合材料造价低、强度大、有韧性易于大批量生产,推广应用,适用于制作各种管道、罐体等。

标签:
复合材料
江苏 - 无锡 来源:中冶有色网 2023-03-18
耐热母料及高耐热的无卤阻燃弹性体及其制备方法

本发明提供一种耐热母料及高耐热的无卤阻燃弹性体及其制备方法。本发明的耐热母料,包括热塑性聚酯、聚苯醚、相容剂,其特征是:各组分的重量份数为:热塑性聚酯50~80份、聚苯醚20~50份、相容剂5~20份。本发明的高耐热的无卤阻燃弹性体,其特征是:包括耐热母料、TPEE、改性醋酸纤维酯、膦酸酯、三聚氰胺衍生物、加工助剂、稳定剂,各组分的重量份数为:耐热母料:10~30份,TPEE:30~60份,改性醋酸纤维酯:5~15份,膦酸酯:2~20份,三聚氰胺衍生物:2~20份,加工助剂:0.1~5份,稳定剂:0.1~5份。所得的阻燃复合材料具有很好的综合性能及优异的耐热性能,应用前景良好。

标签:
复合材料
江苏 - 无锡 来源:中冶有色网 2023-03-18
支撑结构的热形变自调整支撑装置

本发明一种支撑结构的热形变自调整支撑装置属于支撑结构热形变领域,涉及一种支撑结构的热形变自调整支撑装置。该装置包括筒壁基座、压电复合纤维驱动器和光纤应变传感器,筒壁基座采用纤维增强树脂基复合材料制成,若干个压电复合纤维驱动器均匀分布粘贴在筒壁基座外表面,所用的粘贴剂为环氧树脂胶;若干个光纤应变传感器均匀分布粘贴在筒壁基座内表面,并与压电复合纤维驱动器形成一一对应关系,压电复合纤维驱动器通过外接独立电源驱动而产生形变。本发明可调整筒壁结构热形变范围大,调整精度高。本发明自调整能力强,并且可广泛用于各类高精度观测台的支撑结构。

标签:
复合材料
江苏 - 无锡 来源:中冶有色网 2023-03-18
具有抗折性能的无粘结预应力土工格栅

本发明涉及一种具有抗折性能的无粘结预应力土工格栅,包括主受力部分和次受力部分,所述主受力部分包括内部加筋材料和外部加筋材料,所述内部加筋材料采用截面为圆形的钢绞线,外部加筋材料采用聚丙烯或者聚氯乙烯复合材料做成的圆管;在内部加筋材料和外部加筋材料的中间填充石墨充当润滑剂;次受力部分采用土工格栅的形式,将主受力部分联系在一起,协调筋带之间土体的变形。本发明可以在抗拉承载力不变的情况下增加加筋材料截面的弯曲变形能力,使其受力更加合理、性能更加的可靠,尤其具有一定的抗折性能。

标签:
复合材料
江苏 - 无锡 来源:中冶有色网 2023-03-18
上一页 513 514 515 516 517 ... 1207 下一页
共1207页    到第

中冶有色为您提供最新的江苏有色金属复合材料技术理论与应用信息,涵盖发明专利、权利要求、说明书、技术领域、背景技术、实用新型内容及具体实施方式等有色技术内容。打造最具专业性的有色金属技术理论与应用平台!

全国热门有色金属设备推荐
展开更多 +
全国热门有色金属技术推荐
展开更多 +

 

江西省隆恩特环保设备有限公司
宣传

报名参会
更多+

报告下载

有色专家
更多+

昆明理工大学
教授
湖南有色金属研究院
教授级高工/原总工程师
北京科技大学
副院长/教授
东华理工大学
校长/教授
成都理工大学
副校长/教授
赤泥综合利用研究报告2025
推广

热门技术
更多+

推荐企业
更多+

福建省金龙稀土股份有限公司
宣传

发布

在线客服

公众号

电话

顶部
咨询电话:
010-88793500-807