青岛垚鑫智能科技有限公司
宣传

位置:中冶有色 >

有色技术频道 >

> 加工技术

分类:
全部
矿山技术
冶金技术
材料制备及加工技术
环境保护技术
分析检测技术
 
全部
功能材料技术
复合材料技术
新能源材料技术
合金材料技术
加工技术
地区:
全部
北京
天津
上海
重庆
河北
山西
辽宁
吉林
黑龙江
江苏
浙江
安徽
福建
江西
山东
河南
湖北
湖南
广东
海南
四川
贵州
云南
陕西
甘肃
青海
内蒙
广西
西藏
宁夏
新疆
其他
其他
展开
 
全部
广州
韶关
深圳
珠海
汕头
佛山
江门
湛江
茂名
肇庆
惠州
梅州
汕尾
河源
阳江
清远
东莞
中山
潮州
揭阳
云浮

广东深圳有色金属加工技术理论与应用

免费发布技术信息>>
锂电池组合盖板及含有这种盖板的锂电池

本发明公开了一种锂电池组合盖板以及含有这种盖板的锂电池。锂电池组合盖板,包括内盖板和盖帽,所述内盖板包括开有防爆孔的金属盖板基体(2)和覆盖防爆孔的防爆膜(3),所述防爆膜(3)与盖板基体(2)之间紧密固接;所述盖帽包括金属片(4)并通过绝缘体(6)将所述盖板盖住,在所述绝缘体(6)上开有泄气孔(5)。采用本发明中的电池盖板做成的电池,安全性较好。

标签:
加工技术
广东 - 深圳 来源:中冶有色网 2023-03-18
锂电池极片补锂压延覆膜一体机

本实用新型公开了一种锂电池极片补锂压延覆膜一体机,包括用于将锂带压延成锂膜并附着在极片上的压延覆膜装置、用于供给隔离膜的隔离膜放卷装置、用于回收所述隔离膜的隔离膜收卷装置、用于供给所述锂带的锂带放卷装置、用于供给所述极片的极片放卷装置及用于回收补锂后的所述极片的极片收卷装置。本实用新型生产效率高,结构紧凑,占用空间小,成本低,性能优良,可以实现产业化应用。

标签:
加工技术
广东 - 深圳 来源:中冶有色网 2023-03-18
利用废旧磷酸铁锂极片制备磷酸铁锂正极材料的装置及方法

本发明公开了一种利用废旧磷酸铁锂极片制备磷酸铁锂正极材料的装置及方法,涉及磷酸铁锂电池回收处理技术领域,解决了在对磷酸铁电池极片进行回收时无法将极片的外壳体进行有效的分离处理,导致极片在回收后会存下大量的杂质的问题。一种利用废旧磷酸铁锂极片制备磷酸铁锂正极材料的装置及方法,包括中间传送带,所述中间传送带的一侧设置有两层上下等间距排列的传输辊,所述传输辊的另一侧设置有上料传送带。本发明通过设置有上料传送带、传输辊、去壳机构和粉碎机构可以快速的将磷酸铁锂极片的可以与内部材料进行分离,保证在对回收材料进行粉碎时不会掺杂外壳,保证回收后材料整体的纯净度,便于进行后续处理。

标签:
加工技术
广东 - 深圳 来源:中冶有色网 2023-03-18
锂离子电容器用纳米针状柔性钛酸锂/碳纳米管/石墨烯复合材料及其制备方法

本发明公开一种锂离子电容器用纳米针状柔性钛酸锂/碳纳米管/石墨烯柔性复合材料及及其制备方法。本发明首先采用水热法制备出纳米针状钛酸锂,然后再与碳纳米管、石墨烯混合,并均匀分散在溶剂中,采用真空抽滤的途径,制备得到上述复合材料。该复合材料由一维的纳米针状钛酸锂、一维的碳纳米管及二维的石墨烯依靠纳米材料之间固有的范德瓦耳斯力编织而成,具有柔性、多孔、比表面积大等特性。作为锂离子电容器电极材料使用时,无需添加粘结剂、导电剂,此外,材料本身具有自支撑、柔性的特性,还无需集流体,有利于提高锂离子电容器的能量密度并能够拓展其在柔性储能领域的应用。

标签:
加工技术
广东 - 深圳 来源:中冶有色网 2023-03-18
适用于叠片锂离子用的隔膜袋带及其制备方法

本发明涉及锂离子电池领域,公开了一种适用于叠片锂离子用的隔膜袋带及其制备方法。隔膜袋带呈带状,包括顺次连成一体的至少两个隔膜袋,各所述隔膜袋呈长方形,各所述隔膜袋的长度边缘相互正对平行,任意相邻的两个所述隔膜袋共用一上下两隔膜热压连接在一起的一第一隔膜封边,在各所述隔膜袋内封装有正极片,位于各所述正极片的宽度端部的极耳焊接部分别从所述隔膜袋带的第一长度边缘伸出。应用该技术方案,有利于实现超窄叠片锂离子电池。

标签:
加工技术
广东 - 深圳 来源:中冶有色网 2023-03-18
锂离子电池成膜添加剂组合物以及非水电解液和锂离子电池

本发明公开了一种锂离子电池成膜添加剂组合物,该组合物含有喋啶型化合物以及砜,所述砜和所述喋啶型化合物的重量比为0.035‑100:1,所述喋啶型化合物选自式I所示的化合物,所述砜选自式II所示的化合物和式III所示的化合物。本发明还公开了含有所述组合物的非水电解液以及采用所述非水电解液的锂离子电池。采用含有根据本发明的成膜添加剂组合物的非水电解液的锂离子电池,显示出明显改善的使用寿命,即便在高电压下,也具有良好的循环性能和倍率放电性能。

标签:
加工技术
广东 - 深圳 来源:中冶有色网 2023-03-18
导电性粘结剂、锂空气电池正极及制备方法和锂空气电池

本发明公开一种导电性粘结剂、锂空气电池正极及制备方法和锂空气电池, 所述导电性粘结剂中含有羧甲基纤维素锂,羧甲基纤维素锂作为一种新型的导电型粘结剂,应用于锂空气电池中能够大大的减少粘结剂的用量,减小电极的内部阻抗以及减少环境污染等。首先这种新型的导电性粘结剂除了可以粘结活性物质与集流体,保证活性物质颗粒间均匀分散外,它的突出特点是,具有大的电导率,可以起到传输电子和Li+的作用,从而可改善了锂空气电池的循环效率、比容量以及循环稳定性等。

标签:
加工技术
广东 - 深圳 来源:中冶有色网 2023-03-18
锂离子电池正极材料球形镍钴铝酸锂的制备方法

本发明公开一种锂离子电池正极材料球形镍钴铝酸锂的制备方法,包括以下步骤:首先将铝盐溶于去离子水,通过加入HNO3或氨水+硝酸在一定温度下制备AlOOH铝溶胶;将镍盐、钴盐按一定比例配成均匀的水溶液;接着将混合盐溶液与铝溶胶及混合碱溶液共同反应,调节pH值在9~12之间,控制反应温度,反应进行20~30h后,进行固液分离,再经水洗、抽滤、烘干后得到球形氢氧化镍钴铝前驱体粉末;再进行混锂、烧结,焙烧料经破碎分级后得到锂离子电池正极材料球形镍钴铝酸锂粉末,本发明制备出的球形镍钴铝酸锂颗粒形貌和粒度分布可控,振实密度高,放电比容量高,循环稳定性好,成本低。

标签:
加工技术
广东 - 深圳 来源:中冶有色网 2023-03-18
锂离子二次电池多孔隔膜层用组合物及锂离子二次电池

本发明涉及一种用于锂离子二次电池多孔隔膜层的组合物,该组合物含有无机填料和粘结剂,其中,所述组合物还含有热熔性的有机聚合物,所述无机填料为无机氧化物和/或无机盐。本发明还涉及一种包括由该组合物形成的多孔隔膜层的锂离子二次电池。采用本发明提供的多孔隔膜层制备的锂离子二次电池,同时具有很好的耐过充性能和耐针刺性能,而且不易内部短路,并且电池的放电效率仍能符合标准。

标签:
加工技术
广东 - 深圳 来源:中冶有色网 2023-03-18
四氯铝酸锂和碳纳米管包覆钛酸锂的复合材料、其制备方法及用途

本发明涉及一种四氯铝酸锂和碳纳米管包覆钛酸锂的复合材料、其制备方法及用途。所述复合材料包括由钛酸锂内核和包覆在所述内核表面的四氯铝酸锂包覆层构成的复合颗粒,以及包覆在所述复合颗粒表面的碳纳米管层。所述方法包括:1)采用ALD方法在钛酸锂颗粒的表面交替沉积氯化锂和三氯化铝,在钛酸锂颗粒的表面形成四氯铝酸锂包覆层,得到复合颗粒;2)将复合颗粒和碳纳米管加入到水醇混合溶剂中,球磨,喷雾干燥,得到复合材料。本发明的复合材料为双层包覆结构,其结构稳定,具有克容量高,倍率性能和导电性能好,循环性能优秀,嵌、脱锂能力良好的特点。本发明的方法操作简洁,对环境友好,易于实现工业化生产。

标签:
加工技术
广东 - 深圳 来源:中冶有色网 2023-03-18
正极片隔膜袋及叠片锂离子电池及制备方法

本发明涉及锂离子电池领域,公开了一种正极片隔膜袋及叠片锂离子电池及制备方法。正极片隔膜袋,其特征是,包括:第一隔膜层、第二隔膜层、正极片,所述第一隔膜层、第二隔膜层分别正对位于所述正极片的顶部、底部;在所述第一隔膜层、第二隔膜层的至少一宽度端部上分别形成热封封口,所述第一隔膜层、第二隔膜层在所述热封封口处热熔连接。应用该技术方案有利于改善产品的外观以及提高电化性能。

标签:
加工技术
广东 - 深圳 来源:中冶有色网 2023-03-18
锂离子二次电池正极极片及其制备方法和锂离子二次电池

本发明实施例提供了一种锂离子二次电池正极极片,由集流体、正极活性材料、导电剂和粘结剂组成,正极活性材料中含有过渡金属,过渡金属表面通过化学键结合有碳原子数为2~10的炔类化合物及其衍生物、碳原子数为1~10的硫醇、硫化物、磷化氢和碳原子数为1~10的烷基取代磷化物中的一种或几种。本发明实施例克服了现有技术中锂离子二次电池正极活性材料中的过渡金属催化电解液发生氧化分解的问题,从而提高了锂离子二次电池在4.5V及以上高电压下的循环性能。本发明实施例还提供了该锂离子二次电池正极极片的制备方法,以及包含该锂离子二次电池正极极片的锂离子二次电池。

标签:
加工技术
广东 - 深圳 来源:中冶有色网 2023-03-18
对锂负极稳定的硫化物固态电解质及其制备方法与锂离子电池

本发明公开一种对锂负极稳定的硫化物固态电解质及其制备方法与锂离子电池。包括:硫化物和抑制锂枝晶源,所述抑制锂枝晶源以晶格掺杂的方式掺杂于所述硫化物中。本发明通过将抑制锂枝晶源(Cs+和/或Rb+)以晶格掺杂的方式掺入到硫化物的晶格中,可以在电池循环过程中,使得锂枝晶表面自发形成抑制锂枝晶源离子保护层,从而抑制Li+在枝晶处进一步沉积,达到抑制锂枝晶生长的作用,提高电池循环性能与寿命。

标签:
加工技术
广东 - 深圳 来源:中冶有色网 2023-03-18
锂锰电池正极和锂锰电池

本发明涉及锂锰电池领域,公开了锂锰电池正极和锂锰电池。锂锰电池正极包括:正极集流体、正极活性物质、导电剂和粘结剂;其中,所述正极活性物质包含二氧化锰和碳酸锂。提供了一种可以不采用锂金属为负极的锂锰电池。可以降低锂锰电池的成本,提高安全性。并且电芯的组装可以在普通环境中进行,使得操作更方便。

标签:
加工技术
广东 - 深圳 来源:中冶有色网 2023-03-18
锐钛矿TiO2混合碳纳米管的锂离子电池负极材料

本发明公开一种锐钛矿TiO2混合碳纳米管的锂离子电池负极材料,由下列重量份的原料制成:锐钛矿TiO2?360~390、碳纳米管50~60、石墨45~55、镓粉?6~8、铯粉?4~6、钴酸锂?4~6、氧化铈?2~4以及过硫酸铵?2~3。通过配合采用锐钛矿TiO2和碳纳米管,并选用本发明配方,制备得到锐钛矿TiO2混合碳纳米管的锂离子电池负极材料,取代了传统之二氧化钛(B)负极材料,本发明的导电性能和机械性能得到了更大的提升,由于导电性能和机械性能的提升,作为锂离子电池负极材料时,循环性能与倍率充放电性能、首次充放电效率都得到进一步的提升;并且,本发明制备方法工艺简单,生产成本较低,制备过程简单易行。

标签:
加工技术
广东 - 深圳 来源:中冶有色网 2023-03-18
水系锂离子电池复合电极及其制备方法、水系锂离子电池

本发明公开了一种水系锂离子电池复合电极及其制备方法和水系锂离子电池。该水系锂离子电池复合电极包括表面结合有活性材料层的正极极片或负极极片和将所述正极极片或负极极片的活性材料层真空封装其内的固态电解质膜包覆层。该水系锂离子电池复合电极能阻止了正极活性材料层或负极活性材料层与水系电解液的水直接接触,从而阻止了水系电解液的析氢、析氧反应,阻止了活性物质与水发生副反应。水系锂离子电池含有正极水系锂离子电池复合电极和负极水系锂离子电池复合电极,从而赋予水系锂离子电池高的电压和能量密度。

标签:
加工技术
广东 - 深圳 来源:中冶有色网 2023-03-18
改性富锂锰基正极活性材料的锂离子电池制备方法和应用

改性富锂锰基正极活性材料的锂离子电池制备方法和应用,它涉及锂离子电池技术领域,改性富锂锰基正极活性材料的锂离子电池正极材料是由质量比为86%-95%改性富锂锰基正极活性材料,3%-6%的粘结剂、2%-8%的导电剂组成。它的富锂锰基正极材料制备方法简单,采用了该正极材料的锂离子电池具有循环性能好、高温容量无衰减,低温性能好、放电电压平台高等优点。

标签:
加工技术
广东 - 深圳 来源:中冶有色网 2023-03-18
锂离子二次电池正极活性物质磷酸铁锂的制备方法

一种锂离子二次电池正极活性物质磷酸铁锂的制备方法,该方法包括将导电剂颗粒、含有铁离子和/或亚铁离子的水溶液和含有磷酸根离子的水溶液混合,分离出固体产物并洗涤;将得到的固体产物与锂源混合,在惰性或还原性气氛中焙烧。该方法制备出的正极活性物质磷酸铁锂晶体结构好、比容量高。

标签:
加工技术
广东 - 深圳 来源:中冶有色网 2023-03-18
锂离子电池圆形垫片及锂离子电池

本实用新型提供了一种锂离子电池圆形垫片及锂离子电池,涉及锂离子电池生产技术领域,该锂离子电池圆形垫片,包括垫片本体,垫片本体中心设有中心圆孔,中心圆孔的孔径为0.5-1mm;垫片本体的边缘设有用于穿入正极耳的弧形孔;中心圆孔周围设有注液孔,注液孔位于中心圆孔与弧形孔之间。该锂离子电池包括上述锂离子电池圆形垫片。利用该垫片对锂离子电池进行封装,可以有效避免在封口过程中正极耳折入锂离子电池内部,造成锂离子电池短路的问题,同时,在贯穿正极耳时还具有定位准确,对设备精度要求不高以及生产效率高的优点。

标签:
加工技术
广东 - 深圳 来源:中冶有色网 2023-03-18
锐钛矿TiO2掺杂金属氧化物的锂离子电池负极材料

本发明公开一种锐钛矿TiO2掺杂金属氧化物的锂离子电池负极材料,其特征在于:由下列重量份的原料制成:锐钛矿TiO2240~300、石墨160~180、锂源165~170、掺杂剂16~24、碳源42~44、金属氧化物MxOy52~68。通过配合采用锐钛矿TiO2和金属氧化物,并选用本发明配方,制备得到锐钛矿TiO2掺杂金属氧化物的锂离子电池负极材料,取代了传统之二氧化钛(B)负极材料,本发明的导电性能和机械性能得到了更大的提升,由于导电性能和机械性能的提升,作为锂离子电池负极材料时,循环性能与倍率充放电性能、首次充放电效率都得到进一步的提升。

标签:
加工技术
广东 - 深圳 来源:中冶有色网 2023-03-18
锂离子电池正极材料磷酸铁锂的合成方法

本发明公开了一种锂离子电池正极材料磷酸铁锂的合成方法,要解决的技术问题是保证电导率的同时提高电极材料的加工性能。本发明的方法包括以下步骤:合成前躯体,烧结得到LiFePO4与C的复合材料,低温氧化反应,高温还原反应,得到锂离子电池正极材料磷酸铁锂。本发明与现有技术相比,通过高温处理,发生还原反应,消耗了磷酸铁锂材料中的碳,造成磷酸铁锂材料中碳含量的减少,改善了磷酸铁锂材料中碳包覆层的均匀性,保证电导率的同时降低了碳量,提高磷酸铁锂材料中碳利用率,减小材料比表面积,提高材料的加工性能。

标签:
加工技术
广东 - 深圳 来源:中冶有色网 2023-03-18
锂离子电池正极活性物质锂镍钴氧的制备方法

一种锂离子二次电池正极活性物质锂镍钴氧的制备方法,其中,该方法包括在搅拌条件下,将含有二价钴离子和二价镍离子的混合水溶液与含有碳酸根离子的水溶液混合,分离并洗涤得到含有二价钴和二价镍的碳酸镍钴前驱体;将得到的含有二价钴和二价镍的碳酸镍钴前驱体在惰性或还原性气氛保护下煅烧,得到含有二价钴和二价镍的氧化物前驱体;将得到的含有二价钴和二价镍的氧化物前驱体与锂化合物混合,在氧分压不低于0.02兆帕的氧化性气氛中煅烧。该方法制备出的正极活性物质锂镍钴氧晶体粒度分布均匀、晶体形貌规整。

标签:
加工技术
广东 - 深圳 来源:中冶有色网 2023-03-18
异质结纳米材料、锂离子电池负极极片及锂离子电池

本发明提供一种异质结纳米材料、锂离子电池负极极片及锂离子电池,异质结纳米材料包括MoO3纳米带及包覆在所述MoO3纳米带表面的合金型嵌锂机制的金属氧化物。锂离子电池负极极片采用该异质结纳米材料作为活性材料,采用该锂离子电池负极极片的锂离子电池具有高可逆比容量和高循环稳定性。

标签:
加工技术
广东 - 深圳 来源:中冶有色网 2023-03-18
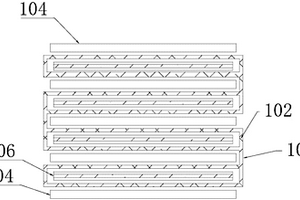
锂电池防爆阀及锂电池

本实用新型公开了一种锂电池防爆阀,包括阀体,所述阀体的外表面设置有限位盘,所述阀体的下端沿内侧边缘设置有限位沿,所述阀体的内侧设置有顶板,所述顶板的外表面设置有密封圈,所述顶板的上端外表面设置有阀杆,所述阀杆的外侧套有压缩弹簧,所述阀杆的上端设置有限位顶盘,所述阀体的上端设置有顶接块。本实用新型还公开了一种锂电池,包括阀体与电池主体,所述阀体安装于电池主体的上端外表面,所述电池主体的外表面套有保护壳,所述保护壳的外表面嵌有弹性垫。本实用新型所述的一种锂电池防爆阀及锂电池,在防爆阀工作过后无需使用者重新安设,为下次使用带来便利,有利于锂电池的稳固安装,起到较好的保护作用。

标签:
加工技术
广东 - 深圳 来源:中冶有色网 2023-03-18
锂离子极芯及锂离子电池

本实用新型公开了一种锂离子极芯,包括多个第一极体、与该多个第一极体的极性相反的多个第二极体及隔离体。该多个第一极体包括多个第一子极体和多个第二子极体;该多个第二极体包括独立设置的多个第三子极体和多个第四子极体;该多个第一子极体与该多个第三子极体及该多个第二子极体与该多个第四子极体均沿该锂离子极芯的厚度方向相互插接;该隔离体包括第一隔离件和第二隔离件,该第一隔离件构造为分隔任意相邻的第一子极体和第三子极体;该第二隔离件构造为分隔任意相邻的第三子极体和第四子极体,从而实现了第一极体和第二极体的双向插接,从而减小了锂离子极芯的长径比、简化了制作工艺、且有效提升锂离子电池的快充性能。

标签:
加工技术
广东 - 深圳 来源:中冶有色网 2023-03-18
磷酸铁锂/碳纳米带复合材料、制备方法及锂离子电池

本发明提供了一种磷酸铁锂/碳纳米带复合材料、制备方法及锂离子电池。该制备方法包括:使碳源化合物、锂源化合物、铁源化合物、钠源化合物和磷源化合物进行水热合成反应,得到前驱体,其中钠源化合物选自氯化钠、硫化钠和氟化钠组成的组中的一种或多种;在惰性气氛下,使前驱体进行煅烧,得到磷酸铁锂/碳纳米带复合材料。采用上述制备方法能够大大提高磷酸铁锂的导电性,缩短离子扩散路径,进而增强其应用过程中的倍率性能和循环性能,并提高其应用功率。

标签:
加工技术
广东 - 深圳 来源:中冶有色网 2023-03-18
锂离子电池及其制备方法和锂离子电池的充电方法

一种锂离子电池,包括正极、负极、电解液及位于正极和负极之间的隔膜,正极、负极及隔膜浸泡于电解液中,隔膜包括依次层叠的第一有机物层、第一混合物层、基体、第二混合物层和第二有机物层,其中,第一有机物层和第二有机物层为多孔结构,第一有机物层和第二有机物层的材料均为聚偏氟乙烯,第一混合物层和第二混合物层的材料均为聚偏氟乙烯和氧化物的混合物,氧化物选自氧化铝、氧化锆及二氧化钛中的至少一种。上述锂离子电池具有较好的循环性能和安全性能。此外,还提供一种锂离子电池的制备方法及锂离子电池的充电方法。

标签:
加工技术
广东 - 深圳 来源:中冶有色网 2023-03-18
导电涂料及其制备方法、锂离子电池正极片及其制备方法及锂离子电池

本发明提供了一种导电涂料及其制备方法、锂离子电池正极片及其制备方法及锂离子电池,所述导电涂料包括粘结剂、导电剂、水和助剂;所述粘结剂为含羧酸基团的胺盐的聚烯烃树脂。用本发明的导电涂料制备得到的锂离子电池正极片,其电阻值较小,用本发明的导电涂料制备得到的锂离子电池的电池内阻较小,在循环400次后其电池内阻增加也较小。

标签:
加工技术
广东 - 深圳 来源:中冶有色网 2023-03-18
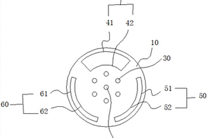
锂离子电池及适用于锂离子电池的组合盖

本发明涉及锂离子电池领域,公开了一种锂离子电池及适用于锂离子电池的组合盖。组合盖包括金属材料制成的盖内板、盖外板,盖外板内设置有一直径窄于盖内板的外径的第一通孔,紧贴在盖外板的底面的盖内板的顶部从第一通孔露出,位于第一通孔外周的盖内板的顶面与盖外板的顶面相贴,在盖内板与盖外板之间间隔有环形的塑胶层,在盖外板的底面还设置有向底面凸起的环形凸起,环形凸起位于盖内板、塑胶层外,且靠近盖外板的外周边缘。应用该技术方案有利于降低锂离子电池的不良率。

标签:
加工技术
广东 - 深圳 来源:中冶有色网 2023-03-18
碳酸锂晶种在湿法冶金回收电池中锂的应用

本发明公开了一种碳酸锂晶种在湿法冶金回收电池中锂的应用,具体实施过程如下:向经过湿法冶金回收后的锂电池含锂废液中加入一定量的碳酸钠,逐步添加氢氧化钠溶液或盐酸溶液将废液的pH值调整到11.0±0.2,将一定量的碳酸锂晶种加入到调节pH后的废液中,在25~50℃水浴中诱导碳酸锂晶体成核和生长,12.5~40h后,除去上清液,加入乙醇洗涤底部沉淀物,离心收集沉淀产物,真空干燥,最终回收碳酸锂产物达到回收含锂废液中的锂的目的。本发明相对传统锂的提取回收工艺而言,实施条件温和、绿色,回收效率高,操作简单,便于工业化。

标签:
加工技术
广东 - 深圳 来源:中冶有色网 2023-03-18
上一页 508 509 510 511 512 ... 531 下一页
共531页    到第

中冶有色为您提供最新的广东深圳有色金属加工技术理论与应用信息,涵盖发明专利、权利要求、说明书、技术领域、背景技术、实用新型内容及具体实施方式等有色技术内容。打造最具专业性的有色金属技术理论与应用平台!

全国热门有色金属设备推荐
展开更多 +
全国热门有色金属技术推荐
展开更多 +

 

江西省隆恩特环保设备有限公司
宣传

报名参会
更多+

报告下载

有色专家
更多+

鞍钢集团有限公司
中国工程院院士
中南大学
中国工程院 院士
中南大学
中国工程院院士
湖南科技大学
所长/教授
重庆理工大学
教授
赤泥综合利用研究报告2025
推广

热门技术
更多+

推荐企业
更多+

福建省金龙稀土股份有限公司
宣传

发布

在线客服

公众号

电话

顶部
咨询电话:
010-88793500-807