青岛垚鑫智能科技有限公司
宣传

位置:中冶有色 >

有色技术频道 >

> 新能源材料技术

分类:
全部
矿山技术
冶金技术
材料制备及加工技术
环境保护技术
分析检测技术
 
全部
功能材料技术
复合材料技术
新能源材料技术
合金材料技术
加工技术
地区:
全部
北京
天津
上海
重庆
河北
山西
辽宁
吉林
黑龙江
江苏
浙江
安徽
福建
江西
山东
河南
湖北
湖南
广东
海南
四川
贵州
云南
陕西
甘肃
青海
内蒙
广西
西藏
宁夏
新疆
其他
其他
展开
 
全部
重庆

重庆重庆有色金属新能源材料技术理论与应用

免费发布技术信息>>
新能源客车部分接触网交流架空充电系统

本发明公开了一种新能源客车部分接触网交流架空充电系统,包括交流接触网和车体,所述交流接触网沿车体运行轨迹布置,在所述车体上安装有集电装置和动力电池,所述集电装置包括驱动装置和弓头,在驱动装置的驱动下,弓头升降,并且当弓头升起时,弓头与交流接触网接触,使动力电池充电。上述结构提供了一种占用空间小、建设、维护成本低的新能源客车部分接触网交流架空充电系统,具有构思巧妙、结构简单、改造容易和改造成本低等特点。

标签:
新能源
重庆 - 重庆 来源:中冶有色网 2023-03-18
新能源汽车的智能驱动控制系统

本实用新型公开了一种新能源汽车的智能驱动控制系统,所述控制系统包括多个供电电池,所述控制系统包括:处理器,用于获取新能源汽车的运行状态,并输出对应的控制指令;多个连接装置,一一对应地设置于供电电池上并与处理器电连接,用于在运行状态为上坡状态的情况下,基于控制指令将供电电池的连接方式切换为第一连接方式;以及在运行状态为非上坡状态的情况下,基于控制指令将供电电池的连接方式切换为第二连接方式;处理器还用于控制供电电池输出对应的驱动电流。通过根据汽车运行状态对供电电池的连接状态进行改变,从而有效地提高了新能源汽车的驱动力和使用寿命,提高了用户体验。

标签:
新能源
重庆 - 重庆 来源:中冶有色网 2023-03-18
新能源电站的消防装置及充电站

本实用新型申请属于消防装置技术领域,具体公开了一种新能源电站的消防装置及充电站,包括烟雾报警器、灭火装置、多功能探测器和主控制器,主控制器与烟雾报警器、灭火装置以及多功能探测器之间均设有传输信号的信号线,灭火装置包括混合气体灭火装置和水基灭火装置,混合气体灭火装置出口端设置有可供第一灭火剂通过的第一灭火管,第一灭火管的末端连通有可供第一灭火剂通过的探火管,探火管与多功能探测器连接,多功能探测器内设置有执行装置,水基灭火装置的出口端设置有可供第二灭火剂通过的第二灭火管,第一灭火管和第二灭火管上均设有至少一个喷头。采用这种新能源电站的消防装置能够对不同位置的设施设备针对性的灭火,迅速扑灭火势。

标签:
新能源
重庆 - 重庆 来源:中冶有色网 2023-03-18
新能源电池电极材料电性能测试装置

实用新型涉及新能源电池电极材料技术领域,公开了新能源电池电极材料电性能测试装置,包括工作台、第一滑块及检测架,所述工作台上表面开设有两组滑槽,所两组滑槽互相平行布置,所述滑槽内部均转动连接有第一丝杆,所述第一丝杆均贯穿滑槽内部延伸至工作台外部,所述滑槽内部均滑动配合连接有第一滑块,所述第一丝杆均贯穿第一滑块。本实用新型,可以根据所需要检测的电极材料大小,对装置的固定机构进行调整,使得在检测不同大小的电极材料时,都可以牢牢的固定,避免在检测过程中,材料掉落的情况发生,设置有液压杆,在固定过程中,通过液压杆的力度缓冲,避免了因直接挤压电极材料,导致材料变形,影响使用的情况发生。

标签:
新能源
重庆 - 重庆 来源:中冶有色网 2023-03-18
新能源材料智能分条分切装置

本实用新型涉及新能源材料智能分条分切技术领域,公开了新能源材料智能分条分切装置,包括设备主体、导轮及挤压滚轮,所述设备主体端面转动连接有转轴,所述转轴外部固定连接有导轮,所述导轮内部为圆形空心体结构,所述导轮表面开设有三组滑槽,所述滑槽均贯穿导轮内部,所述转轴贯穿设备主体背面,所述转轴内部转动连接有丝杆,所述丝杆的螺纹为反向螺纹。本实用新型,设置的导轮,可以根据材料的宽度对挤压环位置进行调整,从而对材料进行限位,避免了材料在传送过程中,跑偏的情况发生,本实用新型,设置有挤压滚轮,挤压滚轮在弹簧弹力支持下对材料表面施加一个压力,抑制在切割过程中,材料发生震动,而影响切割数值的偏差。

标签:
新能源
重庆 - 重庆 来源:中冶有色网 2023-03-18
用于新能源汽车的防盗安全箱

本实用新型公开了一种用于新能源汽车的防盗安全箱,包括安全箱主体,所述安全箱主体的下端外表面设置有支撑柱,所述支撑柱的下端外表面设置有限制块,所述限制块的外侧设置有支撑管,所述支撑管的上端内壁设置有卡环,所述卡环的下端外表面设置有弹簧,所述支撑管的下端外表面设置有固定底座,所述安全箱主体的内壁设置有卡槽,所述卡槽的内侧设置有固定片,所述固定片的一端外表面设置有弹性绑带。本实用新型所述的一种用于新能源汽车的防盗安全箱,可以在汽车行驶在比较颠簸的路面上时起到缓震的效果,有效地防止箱内物品由于振动损坏,可以将箱内物品固定住,防止箱内物品相互碰撞损坏。

标签:
新能源
重庆 - 重庆 来源:中冶有色网 2023-03-18
新能源汽车电机壳低压铸造模具

本实用新型属于铸造加工技术领域,具体涉及一种新能源汽车电机壳低压铸造模具,一种新能源汽车电机壳低压铸造模具,包括上模、侧模和下模,上模包括上模座、上模板和上模芯,上模座通过上模板和上模芯连接,侧模位于下模座和上模板之间,其特征在于:侧模具有内腔,上模芯伸入侧模内,上模芯下端与下模座接触,上模芯外壁与侧模内壁及上模板之间围成浇铸型腔,下模座开设有四个与浇铸型腔连通的浇口,采用本实用新型的有益效果是:采用四浇口朝下的设计,浇铸液从下往上充满型腔,铸造过程稳定,没有浇铸液的冲击,同时浇铸液快速进入型腔,减少了浇铸液流动过程中的热散失,浇铸质量得到较好的保证。

标签:
新能源
重庆 - 重庆 来源:中冶有色网 2023-03-18
基于人工智能的新能源汽车自动充电平台及其使用方法

本发明涉及新能源汽车自动充电平台技术领域,具体涉及一种基于人工智能的新能源汽车自动充电平台及其使用方法;包括固定于地面上的底板;移动充电装置,所述移动充电装置包括固定于底板上端中部的气缸,所述气缸的活塞杆上端固定设置有充电头,所述气缸一侧设置有与外部充电站电连接的连接头,所述连接头通过线缆与充电头电连接;本发明通过移动充电装置及夹持装置的设置,能够在整个过程中实现自动化操作,相较手持式充电枪充电的方式,该方式操作较为简单,省时省力,停车方便,误差小;减少人工插拔充电枪,也能够降低人员触电风险。

标签:
新能源
重庆 - 重庆 来源:中冶有色网 2023-03-18
新能源汽车电池用运输装置及其使用方法

本发明公开了一种新能源汽车电池用运输装置及其使用方法,属于汽车技术设备技术领域。一种新能源汽车电池用运输装置及其使用方法,包括第一箱体,第一底板顶壁上连接有缓冲弹簧C,第二底板的侧壁连接有第一夹紧组件,第二底板的顶壁开凿有滑槽,滑槽内连接有第一减震装置,第一减震组件和第二减震组件均滑动连接在第二底板的顶壁上,第一减震装置的输出端连接有缓冲板,第二底板的顶壁还连接有第二箱体,第二箱体的内壁连接有第二夹紧组件,第二夹紧组件的输出端与电池相匹配;本发明更换电池方便,且设置有多组减震装置,可以避免电池在运输过程中受到损坏,同时在运输的过程中对电池进行夹紧稳固,进一步的保护电池。

标签:
新能源
重庆 - 重庆 来源:中冶有色网 2023-03-18
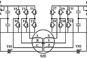
新能源汽车用智能电机驱动系统

本发明公开了一种新能源汽车用智能电机驱动系统,该新能源汽车用智能电机驱动系统包括一台智能电机、十二个功率开关管、两个上电保护电阻、两个上电保护开关、两个双向晶闸管、两个独立直流电源和四个电解电容。本发明能有效提高系统的安全可靠性,具有系统上电保护功能,能够实现系统功率开关管开路和短路故障、电机绕组开路和短路故障以及多相绕组或多个功率开关管同时故障的容错运行。

标签:
新能源
重庆 - 重庆 来源:中冶有色网 2023-03-18
新能源汽车的制动回馈扭矩分配方法及其四驱控制系统

本发明公开了一种新能源汽车的制动回馈扭矩分配方法,包括步骤:计算系统可吸收制动回馈扭矩,计算系统总制动回馈需求扭矩,计算前桥稳定性期望回馈扭矩,计算前桥经济性期望回馈扭矩,计算前桥制动回馈需求扭矩,计算后桥制动回馈需求扭矩,计算前后桥制动需求扭矩,计算前后桥机械制动需求扭矩。该方法可以计算驾驶员总制动需求扭矩,还可以判断车身姿态是否为最佳稳定状态,计算维持车身稳定性最佳的前后桥制动扭矩比例。该方法可以良好协调电能量的管理、车辆稳定性及前后桥电驱系统能力,合理分配前后桥之间的回馈扭矩。适用于前后桥具有完全解耦的独立动力源构型的混合动力四驱车型。本发明还公开了一种新能源汽车的四驱控制系统。

标签:
新能源
重庆 - 重庆 来源:中冶有色网 2023-03-18
新能源用高效型自加湿用供暖装置

本发明提供一种新能源用高效型自加湿用供暖装置,涉及供暖装置领域。一种新能源用高效型自加湿用供暖装置,包括主箱体,所述主箱体底端内壁的右侧固定连接有加热箱,所述加热箱内部右侧设置有增压泵,所述增压泵输出端固定连接有输入管道,所述输入管道另一端贯穿加热箱并固定连接有螺旋散热管,所述螺旋散热管顶部输出端固定连接有输出管道。通过增压泵将加热后的导热油传输至螺旋散热管中,同时在可纵向转动和横向转动的第一风扇的作用下,实现对热量的全面扩散,通过两种供暖方式的搭配使用,可增强供暖的效率,同时,可在一种供暖方式损坏的情况下继续使用,提高了使用的效率。

标签:
新能源
重庆 - 重庆 来源:中冶有色网 2023-03-18
用于新能源汽车混动发动机活塞销的压拆装置

本发明涉及发动机装配技术领域,具体涉及一种用于新能源汽车混动发动机活塞销的压拆装置;用于新能源汽车混动发动机活塞销的压拆装置包括存储结构、固定结构、底座结构和移动结构,移动结构包括限制管、封闭管套和驱动气缸,限制管设置于底座结构的上侧,且与底座结构固定连接,封闭管套则设置于限制管的外侧,且与限制管转动连接,驱动气缸则设置于底座结构的上侧,且驱动气缸的输出端与限制管配合,利用限制管和驱动气缸配合,利用驱动气缸的输出端带动活塞销进行移动,从而完成对活塞销的自动压拆工作。

标签:
新能源
重庆 - 重庆 来源:中冶有色网 2023-03-18
生态清洁绿色新能源“超高压水能”发电站(机)

重大发明生态清洁绿色新能源“超级高压水能”发电站(机),是一种能迅速聚集高压力水能源,用于发电的简便易行新方法,巧妙运用压缩空气原理,利用现有的江、河、湖泊、海洋、水库、水塘等(1)现存有的水,水的强大重力压力通过漏斗压力箱(7),进水管(9),止回阀(13),超高压容器(15),程控气体增压器(43)制造出来的超级高压力水用于发电,是具有强大的可操作性动力能源;它不需修高大拦河大坝和很多水工建筑,不破坏自然风光,发电时不排废气,不污染环境;发电站(机)修好恢复原貌;发电成本更低,效果更好的水底发电站(机),可以说是彻头彻尾的生态清洁绿色新能源;假设改变传统的水利发电,可能将原有电能成信提高。

标签:
新能源
重庆 - 重庆 来源:中冶有色网 2023-03-18
新能源汽车电机部件智能检测设备

本发明实施例公开了一种新能源汽车电机部件智能检测设备,包括:数据获取模块,用于通过所述速度传感器采集所述永磁同步电机的当前参数;故障检测模块,用于根据当前参数和理论值实现对所述速度传感器的故障检测。本发明提供的新能源汽车电机部件的故障检测设备,可及时检测出速度传感器故障,有效地避免了因速度传感器故障导致的严重后果,例如由于速度传感器失效,将使得整个系统输出信号无法采集与反馈,从而导致整个驱动系统性能指标恶化、汽车系统失控等。

标签:
新能源
重庆 - 重庆 来源:中冶有色网 2023-03-18
隐藏型新能源光伏发电设备

本发明涉及新能源领域,具体是一种隐藏型新能源光伏发电设备,包括透明罩,所述透明罩通过弹性绑件连接底壳上,所述该设备还包括弹性套管组件;所述透明罩内部安装有光伏板,而光伏板通过支撑柱固定在底壳上;所述弹性套管组件设置在支撑柱和透明罩连接处,而弹性套管组件内部开设有环形槽,环形槽内部放置有固定在支撑柱上的限位盘,限位盘在环形槽内部固定有多个呈阵列分布的弹性伸缩杆;透明罩在不用影响光伏板采集光能的基础上,对光伏板进行全面防护;透明罩通过弹性套管组件固定在对光伏板上,进而弹性套管组件可利用弹性伸缩杆提高透明罩的韧性,避免在恶劣天气下易受损,提高整体的稳定性。

标签:
新能源
重庆 - 重庆 来源:中冶有色网 2023-03-18
用于新能源汽车的动力冷却系统

本发明涉及汽车散热装置领域,具体涉及一种用于新能源汽车的动力冷却系统,其包括驱动件、驱动件控制器、第一冷却回路和第二冷却回路;驱动件设于第一冷却回路中,驱动件控制器设于第二冷却回路中。本发明提供的动力冷却系统中,驱动件和驱动件控制器分别设置于两个冷却回路中,则在使用时,可以通过设置不同的类型的冷却介质、或设置不同量的冷却介质等,实现对第一冷却回路和第二冷却回路的分别控制,从而能够更好地实现对驱动件和驱动件控制器的冷却。

标签:
新能源
重庆 - 重庆 来源:中冶有色网 2023-03-18
新能源汽车的悬臂式充电桩

本实用新型公开了一种新能源汽车的悬臂式充电桩,包括桩体,桩体的顶部转动连接设有悬臂,桩体靠近悬臂一侧连接设有防撞板,桩体靠近防撞板一侧铰接设有联动杆,联动杆设有两个,防撞板内侧的顶端与底端对称连接设有缓冲槽,缓冲槽内顶壁与底壁之间连接设有缓冲杆,缓冲杆上套接设有缓冲弹簧,缓冲杆上滑动套接设有滑动块,两个联动杆的自由端分别贯穿两个缓冲槽侧壁与两个滑动块侧壁铰接设置。本实用新型与现有技术相比的优点在于:提供一种对充电桩具有防撞保护,方便调整充电枪位置,方便距离固定充电桩较远的车辆进行充电使用的一种新能源汽车的悬臂式充电桩。

标签:
新能源
重庆 - 重庆 来源:中冶有色网 2023-03-18
新能源汽车用动力托架总成

一种新能源汽车用动力托架总成,包括托架框架和设置在托架框架上的多个支架,托架框架包括方钢管制成的第一横梁、第二横梁、第一支撑梁、第二支撑梁、第三支撑梁、第四支撑梁、第一边梁和第二边梁;托架框架上的多个支架包括第一悬置支架、第二悬置支架、真空泵支架、空压机支架、加热器支架、控制器安装支架、冷却水泵支架、第一水管支架和第二水管支架,各支架可通过过二氧化碳保护焊工艺焊接在托架框架上。本实用新型实施例提供的方案中,采用方钢管构成托架框架,降低制造成本的同时也能保证结构紧凑;托架框架上设置多个支架能够满足新能源汽车的各类专用零件的集成安装需求,可将各零件线下分装后再整体装配至车身。

标签:
新能源
重庆 - 重庆 来源:中冶有色网 2023-03-18
新能源汽车动力电池模组端板

本实用新型公开了一种新能源汽车动力电池模组端板,包括:一对侧壁防护板、一对凹型连接块以及电池,一对所述凹型连接块通过减震连接结构安装于一对所述侧壁防护板上,所述电池安装于一对所述侧壁防护板以及一对所述凹型连接块的内侧;本实用新型涉及新能源汽车技术领域,通过减震连接结构对一对侧壁防护板以及一对凹型连接块之间的电池进行柔性伸缩挤压限位以及磕碰外力转换为的效果,避免了电池运行过程中产生膨胀,使得电池内部压力过大出现损耗的现象出现。

标签:
新能源
重庆 - 重庆 来源:中冶有色网 2023-03-18
新能源原料生产用污水处理用废渣过滤设备

本实用新型公开了一种新能源原料生产用污水处理用废渣过滤设备,包括处理箱,所述处理箱的左侧设有污水管,所述污水管的右端与处理箱的左侧面固定连通,所述处理箱的内壁固定连接有格栅板,所述处理箱的上表面开设有等距离排列的透气孔,所述处理箱的底面固定连通有排渣管,所述排渣管的外表面开设有螺纹。该新能源原料生产用污水处理用废渣过滤设备,通过设置的高压气泵和曝气管,可以对处理箱进行曝气过氧,通过与喷气头的配合,可以使污水内部更加均匀的接触氧气,便于好氧微生物对有机质的分解,实现对水质的净化,通过设置的格栅板,可以有效的对污水中的原料废渣进行阻挡过滤,避免废渣的排出,造成生活环境和地下水质的污染。

标签:
新能源
重庆 - 重庆 来源:中冶有色网 2023-03-18
用于新能源汽车的网关模拟解析器电源电路

本实用新型公开了一种用于新能源汽车的网关模拟解析器电源电路,包括稳压芯片U8的电源输入端I分别与电容C26的第一端和二极管D2的负极相连,电容C26的第二端与电源地相连,二极管D2的正极与车载电池VBAT相连,稳压芯片U8的抑制端E2分别与电容C38的第一端、电阻R29的第一端和电阻R32的第一端相连,电阻R29的第二端与二极管D4的负极相连,二极管D4的正极与点火输出端IGN‑KEY相连,电容C38的第二端和电阻R32的第二端分别与电源地相连,稳压芯片U8的接地端GND和电容C31的第一端分别与电源地相连,电容C31的第二端与稳压芯片U8的重置延迟端D相连,稳压芯片U8的电源输出端Q分别与电容C32的第一端和负载相连。本实用新型能够为新能源汽车的提供稳定的电源输出。

标签:
新能源
重庆 - 重庆 来源:中冶有色网 2023-03-18
基于数字孪生的含高比例新能源交直流混联系统建模方法

一种基于数字孪生的含高比例新能源交直流混联系统建模方法,包括数据采集:通过各类传感网络分别采集电力系统日常稳态和断路故障大扰动情况下的多维度海量数据,获得采样数据,并分析采样数据的时域特性和频域特性;数据处理:对采样数据进行预处理,包括数据采样频率及样本容量选择、数据冗余点和离群点筛选方法、噪声信号滤除、数据传输时延补偿,得到优化数据;建立模型:通过优化数据结合数字孪生技术构建含高比例新能源交直流混联系统的数字孪生分析模型;电网监测:基于含高比例新能源交直流混联系统的数字孪生分析模型,实现对电网运行状态实时监测、控制策略推演分析以及在线验证。

标签:
新能源
重庆 - 重庆 来源:中冶有色网 2023-03-18
新能源汽车远程故障诊断方法及系统

本发明涉及一种新能源汽车远程故障诊断方法及系统,通过对故障发生时刻特定数据采集打包上传分析,以解决现有技术中故障定位不清,定位效率不高的问题;通过故障建议与维修站点的推送,及新能源汽车不能及时向用户反馈车辆故障及维修方案的问题。该新能源汽车远程故障诊断方法,包括:搭载在车辆上的各个控制器分别进行故障自诊断,并在诊断出自身故障时向车载终端发送故障信息;车载终端根据故障信息,进行故障数据提取与存储,将故障信息、故障数据和车辆信息进行打包并上传至网络通信服务器;网络通信服务器依照预先存储的故障知识库和所接收到的打包文件,进行故障诊断;网络通信服务器将故障诊断结果传输至预先建立通信的移动终端。

标签:
新能源
重庆 - 重庆 来源:中冶有色网 2023-03-18
新能源汽车电池安装底板结构

本发明提供一种新能源汽车电池安装底板结构,涉及新能源汽车技术领域,包括安装底板,所述安装底板上表面固定安装有安装箱,所述安装箱上等距设置有若干安装槽,每个所述安装槽上均设置有散热孔,所述安装箱上通过合页安装有箱盖,所述箱盖通过限位组件与安装箱连接,所述安装槽内部上设置有减震组件,本发明在受到震动的情况支撑板会向下移动,定位杆从而会向下进行移动翻转,从而使两个导向套向相互靠近的一面进行移动,在移动的移动的一定程度,通过第二弹簧的弹性,从而会两个导向套向相互相反的方向进行移动,从而使支撑板向上进行移动从而达到减震的作用,从而能够减少震动对电池的危害,提高了电池的使用寿命。

标签:
新能源
重庆 - 重庆 来源:中冶有色网 2023-03-18
新能源汽车电机检测系统及检测方法

本发明提供一种新能源汽车电机检测系统及检测方法,涉及电机检测技术领域,其中一种新能源汽车电机检测系统,包括有组成安装台的第一平台和第二平台,所述第一平台内部贯穿安装有控制柜,所述第二平台一端设置有加热组件,所述加热组件内部通过固定组件固定安装有被测电机,所述加热组件内部且位于被测电机一侧设置有测距组件,所述被测电机的输出端通过第一联轴器与转矩转速传感器一端固定连接,所述转矩转速传感器另一端通过第二联轴器与第一伺服电机的输出端固定连接,通过设置固定组件,能够提高被测电机的稳定性,通过设置加热组件、测距组件以及道路模拟组件,能够模拟电机在实际使用时的状态,减小检测误差。

标签:
新能源
重庆 - 重庆 来源:中冶有色网 2023-03-18
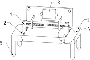
新能源汽车电池气密性检测装置

本实用新型公开了一种新能源汽车电池气密性检测装置,包括检测箱,所述检测箱内设置有检测室,所述检测箱的上端通过合页转动连接有箱盖,所述箱盖中心安装有气压仪表,所述检测箱的前侧设置有气罐,所述气罐上方安装有气泵,所述气泵输出端连接有泵气管,所述泵气管伸入检测箱内,所述泵气管上安装有泵气气压表,所述箱盖和检测箱之间通过若干搭扣连接。本实用新型用于新能源汽车电池气密性检测,通过气压值变化对电池气密性实现检测,检测结果精确,检测方式简单,拆装方便,操作简单,检测快捷高效,实用性强,值得推广使用。

标签:
新能源
重庆 - 重庆 来源:中冶有色网 2023-03-18
新能源汽车可移动式充电桩

本实用新型公开了一种新能源汽车可移动式充电桩,涉及充电桩技术领域,包括充电桩本体,所述充电桩本体的充电枪位于一侧,所述充电桩本体上方设有可调节角度的太阳能板组件,所述充电桩本体下端设有底座,所述底座下端开有四个结构对称的收纳槽,所述收纳槽内收纳有万向轮组件,所述太阳能板组件电性连接充电桩本体,本实用新型结构简单,通过设置底座,便于通过安装凸耳安装于地面上,相对固定于某个位置使用,且可以通过从收纳槽内转出万向轮组件,这样万向轮可以在地面上移动,使得本装置便于移动至需要充电的新能源汽车附近使用,增加了适用性,又设置了可调节的太阳能板组件,便于维修员工根据一天光照实时调整太阳能板角度。

标签:
新能源
重庆 - 重庆 来源:中冶有色网 2023-03-18
适用于新能源汽车的电机轴

本实用新型公开了一种适用于新能源汽车的电机轴,所述电机轴为外圆异形花键结构,包括分别位于电机轴两端的第一轴承安装部和第二轴承安装部以及位于电机轴中部的转子连接部,其特征在于,在转子连接部的外周面上均匀的分布有多个沿电机轴轴线方向延伸的花键槽,相邻花键槽之间形成花键齿,所述花键槽为矩形花键槽或渐开线花键槽或圆弧形花键槽。本实用新型得到的适用于新能源汽车的电机轴加工成本低、加工效率高且强度高。

标签:
新能源
重庆 - 重庆 来源:中冶有色网 2023-03-18
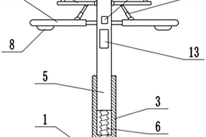
太阳能风能两用新能源路灯

本实用新型涉及新能源设备领域,更具体地说,是一种太阳能风能两用新能源路灯,包括地板、套筒、路灯杆、路灯支架和灯泡,地板的上表面固定连接有套筒,套筒的内部安装有路灯杆,路灯杆上固定连接有路灯支架,路灯支架的下表面安装有灯泡,路灯支架的上方设有太阳能板,太阳能板的边缘处与路灯杆铰接,路灯支架的上表面铰接有伸缩机构,伸缩机构的顶端与太阳能板的下表面铰接,太阳能板的上表面安装有光照强度传感器,利用电机可以调节路灯杆的高度,利用光照强度传感器实时监测太阳光的照射强度,通过对太阳光的照射强度进行检测,控制伸缩机构伸缩,从而调整太阳能板的倾斜角度,使太阳能板始终保持太阳光直射的角度。

标签:
新能源
重庆 - 重庆 来源:中冶有色网 2023-03-18
上一页 37 38 39 40 41 ... 50 下一页
共50页    到第

中冶有色为您提供最新的重庆重庆有色金属新能源材料技术理论与应用信息,涵盖发明专利、权利要求、说明书、技术领域、背景技术、实用新型内容及具体实施方式等有色技术内容。打造最具专业性的有色金属技术理论与应用平台!

全国热门有色金属设备推荐
展开更多 +
全国热门有色金属技术推荐
展开更多 +

 

江西省隆恩特环保设备有限公司
宣传

报名参会
更多+

报告下载

有色专家
更多+

南昌航空大学
副院长/教授
中南大学
中国工程院院士
北京科技大学
教授
江西铜业集团有限公司
党委书记、董事长
辽宁忠旺集团
教授级高工
赤泥综合利用研究报告2025
推广

热门技术
更多+

推荐企业
更多+

福建省金龙稀土股份有限公司
宣传

发布

在线客服

公众号

电话

顶部
咨询电话:
010-88793500-807