青岛垚鑫智能科技有限公司
宣传

位置:中冶有色 >

有色技术频道 >

> 失效分析技术

分类:
全部
矿山技术
冶金技术
材料制备及加工技术
环境保护技术
分析检测技术
 
全部
物理检测技术
化学分析技术
力学检测技术
无损检测技术
失效分析技术
环境检测技术
地区:
全部
北京
天津
上海
重庆
河北
山西
辽宁
吉林
黑龙江
江苏
浙江
安徽
福建
江西
山东
河南
湖北
湖南
广东
海南
四川
贵州
云南
陕西
甘肃
青海
内蒙
广西
西藏
宁夏
新疆
其他
其他
展开
 
全部
广州
韶关
深圳
珠海
汕头
佛山
江门
湛江
茂名
肇庆
惠州
梅州
汕尾
河源
阳江
清远
东莞
中山
潮州
揭阳
云浮

广东深圳有色金属失效分析技术理论与应用

免费发布技术信息>>
存储设备健康度检测方法、装置及存储介质

本申请实施例提供一种存储设备健康度检测方法、装置及存储介质。该方法包括:获取待检测存储设备的特征参数,待检测存储设备包括总线接口、存储单元和控制单元,特征参数包括总线接口、存储单元和控制单元中至少两部分的特征参数,特征参数用于表征导致对应部分失效的原因;根据特征参数及健康度衡量模型,确定待检测存储设备的健康度,该健康度衡量模型为根据特征参数预先建立的模型。通过本申请实施例可以提高存储设备的健康度的评估准确度。

标签:
失效分析
广东 - 深圳 来源:中冶有色网 2023-03-19
机器人打滑检测方法、装置以及机器人

本发明属于机器人技术领域,尤其涉及一种机器人打滑检测方法、装置以及机器人,方法包括以下步骤:在地图信息上获取机器人当前位置对应的第一位置点,并计算机器人理论从第一位置点到第二位置点需要移动的目标位移量;在机器人实际移动过程中,实时计算机器人的理论位移量;当机器人的理论位移量大于或等于目标位移量时,判断机器人是否到达第二位置点对应的位置,若未到达,则判断机器人发生打滑现象;其中,通过检测机器人是否触碰到边界线或者完成转弯动作,判断机器人是否到达第二位置点对应的位置。通过软件检测方式,能够准确检测机器人是否发生打滑情况,且能够避免发生硬件检测方式的元器件失效情况。

标签:
失效分析
广东 - 深圳 来源:中冶有色网 2023-03-19
输入电压检测电路
输入电压检测电路 944     
 0

本实用新型涉及一种输入电压检测电路,包括:第一整流模块和第二整流模块,第一整流模块连接于火线上,包括第一整流单元和第一分压单元,第一整流单元一端连接火线的输入端,另一端连接所述第一分压单元的一端;第二整流模块连接于零线上,包括第二整流单元和第二分压单元,第二整流单元一端连接零线的输入端,另一端连接所述第二分压单元的一端;分压模块,连接第一分压单元的另一端和第二分压单元的另一端。当第一整流单元失效时,第一分压单元可以用于限制电流,防止由于第一整流单元失效使得第二整流模块被短路。当第二整流单元失效时,第二分压单元可以用于限制电流,防止由于第二整流单元失效使得第一整流模块被短路。

标签:
失效分析
广东 - 深圳 来源:中冶有色网 2023-03-19
电表系统的掉电检测电路

一种电表系统的掉电检测电路,该电表系统采用AC转DC电源,该电源包括变压器和位于该变压器的输出一侧的整流和滤波电路,该掉电检测电路的电压检测点设置在该整流和滤波电路处,其包括电压比较电路和与该电压比较电路串联的驱动电路,该电压比较电路包括第一输入端、第二输入端以及输出端,该驱动电路与该输出端相连以给出掉电检测结果的开关量信号。本实用新型的掉电检测的电压范围较宽,不会在电表系统本身的电源损坏时失效并且实现成本较低。

标签:
失效分析
广东 - 深圳 来源:中冶有色网 2023-03-19
离子风机剩余使用寿命的检测方法及系统

本发明实施例提供了一种离子风机剩余使用寿命的检测系统,其包括离子检测网、充电模块、第一统计模块、第二统计模块及评估模块;离子检测网用于吸收离子风机产生的带电离子;充电模块与离子检测网电连接;第一统计模块与离子风机电连接;第二统计模块与离子检测网电连接;评估模块同时与第一统计模块和第二统计模块电连接,用于计算出离子风机的剩余使用寿命。本发明离子风机剩余使用寿命的检测系统可实时检测出所述离子风机的剩余使用寿命,并根据所述剩余使用寿命及时制定对离子风机相应的控制、维修及替换策略,有效的避免了因离子风机失效而造成的经济损失。

标签:
失效分析
广东 - 深圳 来源:中冶有色网 2023-03-19
减速机润滑脂的在线检测方法、装置、设备及存储介质

本发明公开了一种减速机润滑脂的在线检测方法、装置、设备及存储介质,属于润滑脂在线检测领域,该方法包括:所述减速机的放油口和注油口分别与润滑脂检测装置的进油口和出油口连接,所述放油口有多个,将润滑脂从所述减速机的各放油口抽出,并将所述从各放油口抽出的润滑脂从所述进油口传输至所述润滑脂检测装置内部;基于所述从各放油口抽出的润滑脂流经所述润滑脂检测装置产生的磁感应强度,确定所述减速机润滑脂是否失效。本申请能够提高所述减速机润滑脂检测结果的准确率。

标签:
失效分析
广东 - 深圳 来源:中冶有色网 2023-03-19
3D目标检测的方法及设备

本申请实施例公开了一种3D目标检测的方法及设备,可应用于人工智能领域的计算机视觉领域,该方法包括:首先得到激光点云中各个激光点对应的2D信息,并再将激光点云和2D信息分别输入两个三维的稀疏卷积模块,得到第一特征和第二特征,再将第一特征和第二特征级联后输入一个二维的卷积模块,得到第三特征(即融合特征),第三特征再与第一特征和第二特征级联得到第四特征(即组合特征),最后利用第四特征实现3D目标检测。本申请实施例将该激光点云与2D信息在特征层面进行融合,提升了3D目标检测性能的同时保留了激光点云的原始特征,使该3D目标检测在夜晚、雨雾天等摄像头失效的复杂场景下具备良好的鲁棒性。

标签:
失效分析
广东 - 深圳 来源:中冶有色网 2023-03-19
接触状态检测装置和可穿戴设备

提供了一种接触状态检测装置和可穿戴设备,所述接触状态检测装置包括:第一电极和第二电极,所述第一电极和所述第二电极用于接收交流信号和第一信号以输出差分信号,所述差分信号包括所述第一信号和第二信号,所述第一信号为被测物体的生理信息的检测信号,所述第二信号为所述交流信号经由所述第一电极和所述第二电极调制后形成的信号;采样电路,所述采样电路连接至所述第一电极和所述第二电极,所述采样电路用于对所述差分信号进行采样以获取目标采样信号,所述目标采样信号包括第一信号对应的第一采样信号和所述第二信号对应的第二采样信号。所述接触状态监测装置能够在解决高接触阻抗或极化电压导致的电极检测失效问题的基础上,降低成本。

标签:
失效分析
广东 - 深圳 来源:中冶有色网 2023-03-19
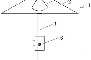
基于智能检测系统的光伏发电遮阳伞

本实用新型涉及遮阳伞技术领域,具体公开了一种基于智能检测系统的光伏发电遮阳伞,所述遮阳伞包括伞面单元和与伞面单元连接的伞杆单元;所述伞面单元上设有太阳能板单元和与太阳能板单元连接的传感器单元,所述伞杆单元上设有智能检测系统;所述智能检测系统包括控制器、无线传输模块、数据采集模块和电量检测模块;所述太阳能板单元连接电量检测模块,所述传感器单元连接数据采集模块,所述数据采集模块连接控制器,所述控制器和电量检测模块分别连接无线传输模块;本实用新型能够对太阳能板单元进行有效的监控,及时找到并处理失效的太阳能板,降低维护时间和节省维护成本。

标签:
失效分析
广东 - 深圳 来源:中冶有色网 2023-03-19
连接检测装置、电子设备

本实用新型公开了一种连接检测装置、电子设备,本实用新型通过设置在第一电路板上的第一检测电路和第一连接器,结合设置在第二电路板上的第二检测电路和第二连接器实现连接有效性检测,根据检测电路输出的连接状态的电信号判断第一电路板和第二电路板之间为有效连接,克服现有技术中存在无法检测连接失效这一故障的技术问题,实现了对第一电路板和第二电路板之间的连接有效性进行检测。

标签:
失效分析
广东 - 深圳 来源:中冶有色网 2023-03-19
MEMS器件检测电路和设备

本实用新型涉及一种MEMS器件检测电路和设备,所述电路包括控制电路、MEMS驱动电路、第一采样电路和MEMS器件;所述控制电路的输出端与所述MEMS驱动电路的输入端连接,所述MEMS驱动电路的输出端与所述第一采样电路的输入端连接,所述第一采样电路的第一输出端与所述MEMS器件连接,所述第一采样电路的第二输出端与所述控制电路连接;所述第一采样电路用于在预设时间段内获取采样电压,并将所述采样电压传输给所述控制电路;所述控制电路用于根据所述采样电压和所述控制电路输出的驱动电压,判断MEMS器件是否失效。用此电路和方法检测MEMS器件时,无需借助外部测试设备,检测效率快;且此电路易于集成,成本较低,检测精度高。

标签:
失效分析
广东 - 深圳 来源:中冶有色网 2023-03-19
适用于市电检测的发电机组控制装置

本实用新型公开了适用于市电检测的发电机组控制装置,包括自启动模块和检测模块以及保护模块,所述检测模块与保护模块均与所述自启动模块相连,所述检测模块包括市电去耦单元以及与所述市电去耦单元相连的母排失电检测单元和母排失效检测单元,当检测模块检测到市电输入负载异常时,所述自启动模块接通发电机组与负载。本实用新型的有益效果在于:本实用新型提供的适用于市电检测的发电机组控制装置,实现市电的监测,在停电之后自动起动发电机组给负载供电,在市电恢复后自动切换到市电上。

标签:
失效分析
广东 - 深圳 来源:中冶有色网 2023-03-19
过流检测电路及AGV电机驱动器

本实用新型公开一种过流检测电路及AGV电机驱动器,该过流检测电路包括电流采样比较电路、触发信号分压电路及开关保护电路,电流采样比较电路的检测端与AGV电机驱动器的直流母线连接,电流采样比较电路的输出端与触发信号分压电路的输入端连接;触发信号分压电路的输出端与开关保护电路的受控端连接,开关保护电路的输出端与主控制器连接;其中,触开关保护电路,在接收到触发信号分压电路输出的触发信号时开启,并输出对应的过流检测信号,以使控制器控制电机停止工作。本实用新型解决了由于驱动桥臂的开关管容易产生开关噪声,导致在检测的过程中误检测或者漏检测现象,而引起系统误保护或者保护失效的问题。

标签:
失效分析
广东 - 深圳 来源:中冶有色网 2023-03-19
通过端口检测算法实现自动延长数据传输距离的方法

本发明公开了一种通过端口检测算法实现自动延长数据传输距离的方法,包括以下步骤:(S10)交换机的CPU检测交换机的一个端口是否链接,如果端口已链接,则进入步骤(S20);如果端口未链接,则进入步骤(S30);在设定的时间周期内,完成对一个端口的检测后,重复上述步骤,实现对下一个端口的检测;(S20)继续检测已链接端口的参数,根据参数判断,自动调整端口速率,以达到最好的链接质量;(S30)继续检测判断端口是处于不能链接的状态还是端口处于链接失效状态,根据状态判断,自动调整端口速率,下次链接待用。通过上述方法,能够智能实现数据传输距离的自动延长功能,还能使质量较差网线达到正常传输的需要,因此,适于推广应用。

标签:
失效分析
广东 - 深圳 来源:中冶有色网 2023-03-19
程序日志检测方法、推荐方法及各自对应的装置

本发明公开了一种程序日志检测方法及装置,包括:获取程序中需要检测的待测日志输出语句所在程序点、以及期望涵盖的程序语句;判断期望涵盖的程序语句中每个被执行定值操作的变量是否均满足第一条件且满足第二条件,第一条件为该变量被执行定值操作后确定的定值可到达至少一条待测日志输出语句所在程序点,该程序点为可达程序点,第二条件为该变量在至少一个可达程序点处的待测日志输出程序语句中被引用;如果是,确定待测日志输出语句有效,否则,确定待测日志输出语句失效,实现了对程序中的日志输出语句检测的目的。本发明还公开了一种程序日志推荐方法及装置,实现了辅助用户为缺少或者无日志输出语句的程序推荐有效新日志输出语句的目的。

标签:
失效分析
广东 - 深圳 来源:中冶有色网 2023-03-19
链路检测方法及装置
链路检测方法及装置 1083     
 0

本发明公开了一种链路检测方法及装置,其中,该方法包括:本端设备发送链路检测报文给对端设备,其中,该链路检测报文中携带有本端设备的状态;本端设备判断在第一预定时长内是否接收到对端设备发送的链路检测报文的回复报文或者用于指示链路发生故障的报文,其中,回复报文中携带有对端设备的状态;本端设备如果在第一预定时长内未收到回复报文或者收到用于指示链路发生故障的报文,确定本端设备和对端设备之间的链路发生故障。通过本发明,解决了相关技术中CDN系统中的链路检测方法可能会失效的问题,提高了链路检测的可靠性。

标签:
失效分析
广东 - 深圳 来源:中冶有色网 2023-03-19
充电器智能检测电池反接

本实用新型涉及充电器技术领域,具体涉及一种充电器智能检测电池反接,包括微控制芯片U8、电池反接检测电路、电池电压检测电路、继电器驱动电路、电池B1、继电器K1和充电器功率输出DC,电池反接检测电路包括电阻R1、电阻R2、二极管D1和二极管D2,电阻R1连接并联的继电器和电池电压检测电路,R1与二极管D2负极连接,二极管D2的正极与二极管D1的负极连接,同时二极管D2的正极接微控制芯片U8的引脚7,电阻R2接在微控制芯片U8的引脚7和引脚10上,电阻R2和微控制芯片U8的引脚10共同连接电源,本实用新型通过增加电池反接检测电路避免了充电器充电Mosfet短路失效,避免电池形成极大电流,提高使用安全性。

标签:
失效分析
广东 - 深圳 来源:中冶有色网 2023-03-19
继电器触点状态检测电路及车辆、高压配电系统

本实用新型属于车辆技术领域,提供了一种车辆、高压配电系统及其继电器触点状态检测电路。在本实用新型中,通过采用包括控制电路、第一开关电路、检测电路及第二开关电路的继电器触点状态检测电路,使得第一开关电路在控制电路和第二开关电路的控制下接通或者断开继电器与后端检测电路的通路,避免了继电器闭合或者断开瞬间产生的反电动势对后端低压检测电路造成冲击,进而解决了传统的继电器触点状态检测电路存在的继电器在闭合或者断开时会产生反电动势,该反电动势会对后端的低压检测电路造成冲击,造成电路失效的问题。

标签:
失效分析
广东 - 深圳 来源:中冶有色网 2023-03-19
风扇工作状态检测装置

本实用新型提供一种风扇工作状态检测装置,对风扇的扇页旋转状态进行检测,包括发射端和接收端安装到风扇两侧的相同位置的红外对射管和单片机,所述的单片机产生控制红外对射管的控制信号输出端接对射管中发射端,所述的单片机的IO外部中断定时器的输入端接红外对射管中接收端的输出信号。本实用新型具有如下优势:采用光电检测,隔离无电阻和电容等易失效器件,可靠性高,使用寿命长。结构简单,处理器智能化处理,应用范围相当广泛。不仅能检测出故障而且能实时检测出风扇转速并结合单片机可以灵活设置转速上下报警门限。

标签:
失效分析
广东 - 深圳 来源:中冶有色网 2023-03-19
用户操作检测方法及程序产品

本申请提供一种用户操作检测方法及程序产品。首先获取多份行为数据,并根据行为数据和各预设时间粒度确定原始特征列表,再根据原始特征列表和预设特征筛选策略筛选目标特征,最后基于预设代价矩阵结合预设训练模型、目标特征及结果数据生成检测模型,通过检测模型对用户操作是否为本人行为进行检测。自适应筛选得到目标特征,不完全依赖人工经验而更注重行为数据本身,从而不会因特征选取失衡导致检测模型失效,还能提高检测模型的迭代频率以对未知非本人行为有效识别。针对应用场景样本不均衡的特殊性,采用预设代价矩阵充分考虑不同类型样本的损失代价,检测模型对用户操作的检测以追求最小损失代价为目的,有效维护用户及相应机构权益。

标签:
失效分析
广东 - 深圳 来源:中冶有色网 2023-03-19
故障检测装置、方法和并网光伏发电系统

本申请提供了一种故障检测装置、方法和并网光伏发电系统,用于提升滤波电容的失效检测准确率,保证并网光伏发电系统稳定运行。该故障检测装置包括:温度检测单元、电流检测单元、控制器和分断单元;温度检测单元与并网逆变器输出端与电网之间的多个滤波电容耦合,用于检测多个滤波电容的温度,并输出给控制器;电流检测单元与多个滤波电容耦合,用于检测多个滤波电容的电流,并输出给控制器;控制器分别与温度检测单元、电流检测单元和分断单元连接,用于在接收的温度超出第一阈值、且接收的电流超出第二阈值时,控制分断单元断开;分断单元连接在并网逆变器输出端和多个滤波电容之间,用于在控制器的控制下断开或闭合。

标签:
失效分析
广东 - 深圳 来源:中冶有色网 2023-03-19
包装机条盒缺包检测装置

本实用新型涉及一种包装机条盒缺包检测装置,所述检测装置包括上侧检测单元模组、下侧检测单元模组、PLC控制单元和信号处理模块,所述检测装置具有自诊断功能,PLC控制单元可以根据信号处理模块输出的电信号,以及从包装机传送来的当前检测位置是否存在条盒的信号,判断出检测装置处于正常、缺包或故障这三种检测状态,可以在检测到故障时直接使包装机停机,以及通过报警或显示的方式来及时告知操作人员,进行检修维护,消除生产隐患,较好地解决了现有检测装置容易受灰尘、气压、温度等环境因素影响导致失效的技术问题。包装机条盒缺包检测装置还具有免维护的特点,在系统未输出故障诊断信息时,无需介入维护。

标签:
失效分析
广东 - 深圳 来源:中冶有色网 2023-03-19
输液排空检测装置和输液泵

本实用新型公开了一种输液排空检测装置和输液泵,所述输液排空检测装置的检测端设置在输液泵的输液管上,所述输液排空检测装置的信号输出端连接所述输液泵的报警装置的报警输入端,当所述输液管内的液面低于所述输液排空检测装置的检测端所在的水平面时,所述输液排空检测装置输出报警信号至所述报警装置。本实用新型能及时检测到输液泵药液输完并发送报警信号进行报警,方便医护人员及时处理,减轻护理工作强度;同时,也减小了由于输液泵气泡检测失效,空气被打入病患的可能性,提高输液泵输液安全等级。

标签:
失效分析
广东 - 深圳 来源:中冶有色网 2023-03-19
检测组件以及移动机器人

本实用新型公开一种检测组件以及移动机器人,其中,检测组件包括安装支架、活动件以及检测件;其中,活动件活动安装于安装支架上,活动件能够相对安装支架运动而具有脱离移动机器人对应的承载面的悬空状态;检测件安装于安装支架和/或活动件,检测件在活动件处于悬空状态时处于第一状态。如此设置,能够解决悬崖检测在特殊应用环境下失效的问题,从而提高悬崖检测的可靠性。

标签:
失效分析
广东 - 深圳 来源:中冶有色网 2023-03-19
用户界面配色检测方法、装置、设备及存储介质

本发明涉及人工智能技术,揭露一种用户界面配色检测方法,包括:对待检测用户界面的主图进行颜色解析,得到主图的主颜色;将主图的主颜色进行三原色转化处理,得到主图的三原色色值;计算主图的三原色色值与预先获取的待检测用户界面的背景图的三原色色值之间的颜色差异值,得到图片差异百分比;将图片差异百分比与预设图片差异百分比阈值进行比较,若图片差异百分比小于预设图片差异百分比阈值,生成待检测用户界面为检测合格的检测结果。本发明还涉及区块链技术,预设图片差异百分比阈值存储于区块链中。本发明能够解决现有技术中,存在投入审核的人力成本大、存在人工审核疏忽、效率低、失效差、以及提高运营成本等问题。

标签:
失效分析
广东 - 深圳 来源:中冶有色网 2023-03-19
元器件综合检测仪
元器件综合检测仪 772     
 0

本实用新型公开了一种元器件综合检测仪,包括机壳,所述机壳一侧设有测试面板,所述测试面板顶部一端设有显示电源和工作电源,所述测试面板一端设有综合信号、模拟输入、模拟输出和模拟信号,所述测试面板中部设有测试通道,且测试通道共设有三个,所述测试面板另一端设有测试电源和测试信号灯。元器件综合检测仪主机内部的硬件电路大量采用CPLD可编程高集成技术,具有80路数字通道/160路VI曲线通道/28路模拟功能通道,多路可扩展端子通道,配合系统软件检测程序。能够针对元器件特定失效模式专门构建具体型号的筛选模型,从而建立大量元器件筛选库,对各种电子元器件提供有效便捷的检测手段。

标签:
失效分析
广东 - 深圳 来源:中冶有色网 2023-03-19
超级电容检测电路
超级电容检测电路 863     
 0

本发明实施例公开了一种超级电容检测电路,包括控制模块、电流检测电阻、充电开关模块、电源模块、放电开关模块以及超级电容;超级电容分别与电流检测电阻第一端、控制模块以及放电开关模块连接,放电开关模块与控制模块连接,电流检测电阻第二端分别与控制模块和充电开关模块连接,电流检测电阻第一端与控制模块连接,充电开关模块分别与控制模块和电源模块连接;这种电路可以检测出超级电容的等效串联电阻,精确地判定超级电容是否失效。

标签:
失效分析
广东 - 深圳 来源:中冶有色网 2023-03-19
便携式噪声检测装置
便携式噪声检测装置 1155     
 0

本实用新型公开了一种便携式噪声检测装置,包括检测机体、电容麦克风和防风球,所述检测机体顶部表面设有电容麦克风,所述电容麦克风表面插接有防风球,所述检测机体左侧壁顶部设有底板,所述底板外侧壁一体成型有吊环,所述吊环表面设有吊绳,所述检测机体另一侧表面中部安装有底盒,所述底盒表面外壁表面中部安装有指环扣,所述检测机体两侧均设有防滑机构,所述防滑机构由橡胶条、凹槽和防滑纹组成。本实用新型通过吊环与吊绳和指环扣,既能方便工作人员对检测机体进携带,又能方便工作人员握持检测机体,并且防滑机构,又能提高工作人员握持检测机体的稳定性和舒适性,同时收纳盒和盒盖,可对防风球进行收纳,进而防止防风球丢失效果。

标签:
失效分析
广东 - 深圳 来源:中冶有色网 2023-03-19
继电器粘连检测电路、方法及系统

一种继电器粘连检测电路、方法及系统,用于实现电动汽车快充回路(20)中的继电器粘连检测,该检测电路包括:第一检测模块(101)、第二检测模块(102)、第三检测模块(103)和微控制单元(104);在该电动汽车快充回路(20)中的正极继电器(201)与负极继电器(202)无驱动的情况下,该微控制单元(104)根据采集到的第一检测模块(101)的输出端的电压值、第二检测模块(102)的输出端的电压值以及第三检测模块(103)的输出端的电压值,确定正极继电器(201)和负极继电器(202)是否粘连。可以检测电动汽车快充回路(20)中的继电器是否产生粘连失效的故障状态。

标签:
失效分析
广东 - 深圳 来源:中冶有色网 2023-03-19
电动车辆及其检测方法、装置以及介质、电子设备

本发明公开了一种电动车辆及其检测方法、装置以及介质、电子设备,所述方法包括以下步骤:在电动车辆处于驱动挡位时,确认是否获取到电动车辆的车载充电器检测的第一枪连接信号;如果获取到第一枪连接信号,则获取电动车辆的电池管理器检测的第二枪连接信号,并根据第一枪连接信号和第二枪连接信号,确定充电枪与电动车辆的连接状态;如果未获取到第一枪连接信号,则获取电池管理器检测的第二枪连接信号,并根据第二枪连接信号,确定充电枪与电动车辆的连接状态。该检测方法,可避免单一的检测失效,造成的拖枪风险,保证充电枪连接信号的准确性。

标签:
失效分析
广东 - 深圳 来源:中冶有色网 2023-03-19
上一页 33 34 35 36 37 ... 46 下一页
共46页    到第

中冶有色为您提供最新的广东深圳有色金属失效分析技术理论与应用信息,涵盖发明专利、权利要求、说明书、技术领域、背景技术、实用新型内容及具体实施方式等有色技术内容。打造最具专业性的有色金属技术理论与应用平台!

全国热门有色金属设备推荐
展开更多 +
全国热门有色金属技术推荐
展开更多 +

 

江西省隆恩特环保设备有限公司
宣传

报名参会
更多+

报告下载

有色专家
更多+

江西理工大学
副校长
湖南科技大学
所长/教授
石家庄铁道大学
团委书记/副教授
中南大学
院长/教授
北京科技大学
副院长/教授
赤泥综合利用研究报告2025
推广

热门技术
更多+

推荐企业
更多+

福建省金龙稀土股份有限公司
宣传

发布

在线客服

公众号

电话

顶部
咨询电话:
010-88793500-807