青岛垚鑫智能科技有限公司
宣传

位置:中冶有色 >

有色技术频道 >

分类:
全部
矿山技术
冶金技术
材料制备及加工技术
环境保护技术
分析检测技术
 
全部
功能材料技术
复合材料技术
新能源材料技术
合金材料技术
加工技术
地区:
全部
北京
天津
上海
重庆
河北
山西
辽宁
吉林
黑龙江
江苏
浙江
安徽
福建
江西
山东
河南
湖北
湖南
广东
海南
四川
贵州
云南
陕西
甘肃
青海
内蒙
广西
西藏
宁夏
新疆
其他
其他
展开
 
全部
广州
韶关
深圳
珠海
汕头
佛山
江门
湛江
茂名
肇庆
惠州
梅州
汕尾
河源
阳江
清远
东莞
中山
潮州
揭阳
云浮

广东东莞有色金属材料制备及加工技术理论与应用

免费发布技术信息>>
聚乳酸复合材料及其制备方法

本发明具体涉及一种聚乳酸复合材料及其制备方法,所述聚乳酸复合材料包括如下重量份的原料:聚乳酸预聚物75‑90份;增韧剂3‑15份;增容剂1‑8份;成核剂0.6‑3份;抗氧剂0.5‑2.5份。本发明以聚乳酸预聚物为主要原料,通过增韧剂、增容剂、成核剂和抗氧剂的加入制得所述聚乳酸复合材料的力学性能、耐热性、耐水性能和加工性能良好。其中,所述聚乳酸预聚物的力学性能优异,耐热性和耐水性显著提高;所述增韧剂和增容剂复合使用能够提高聚乳酸体系的相容性,并且有效改善聚乳酸复合材料的力学性能和加工性能。同时,本发明所述聚乳酸复合材料的制备方法的流程简单且用时短,易于工业化实施。

标签:
复合材料
广东 - 东莞 来源:中冶有色网 2023-03-18
阻燃抑烟聚丙烯复合材料及其制备方法

本发明涉及聚丙烯技术领域,具体涉及一种阻燃抑烟聚丙烯复合材料及其制备方法,聚丙烯复合材料包括聚丙烯、无卤阻燃剂、协效阻燃微球、抗氧化剂和润滑剂,所述协效阻燃微球为核壳结构微球,其核为多孔锡酸锌,壳为微晶纤维素。EN45545‑2 R6对于热释放量、烟密度、毒性的HL3等级评定标准分别为热释放量不大于60Kw/m2,Ds(4)≤150,VOF(4)≤300,CITG≤0.75,本发明的聚丙烯复合材料可以满足上述标准,在铁路上应用可以大大增加安全性,并且由于纤维素的参与,也使聚丙烯共混树脂的拉伸强度得以提高。此外本发明的聚丙烯复合材料也可与其他塑料进行共混改性,提高应用广泛性。

标签:
复合材料
广东 - 东莞 来源:中冶有色网 2023-03-18
磷酸铁及磷酸铁复合材料作为负极材料在钠离子电池中的应用

本发明涉及磷酸铁及磷酸铁复合材料作为负极材料在钠离子电池中的应用,所述磷酸铁复合材料包括磷酸铁掺杂材料及磷酸铁掺杂材料的包覆材料或磷酸铁包覆材料。所述磷酸铁掺杂材料为NaxFePO4、FexM1‑xPO4或NaFeMPO4,其中,M为除Na之外的其它金属或非金属元素,x<1。所述磷酸铁包覆材料为N@FePO4,其中,N为包覆在FePO4材料表面的金属或非金属材料。所述磷酸铁掺杂材料的包覆材料为N@NaxFePO4、N@FexM1‑xPO4或N@NaFeMPO4,其中,N为包覆在NaxFePO4、FexM1‑xPO4或NaFeMPO4材料表面的金属或非金属材料。本发明提供的磷酸铁及磷酸铁复合材料具有储存钠离子的功能,然后转变为磷酸铁钠或磷酸铁钠复合材料,磷酸铁钠或磷酸铁钠复合材料再通过脱出钠离子转变为磷酸铁或磷酸铁复合材料,因此具有储存钠离子的功能。

标签:
复合材料
广东 - 东莞 来源:中冶有色网 2023-03-18
耐候耐化学性PC复合材料及其制备方法

本发明涉及PC复合材料技术领域,具体涉及一种耐候耐化学性PC复合材料及其制备方法,PC复合材料包括:PC、PET、PPO、复合纤维、热稳定剂、抗氧化剂和紫外线吸收剂,所述复合纤维由无机填充物和聚丙烯腈碳纤维混合而成,所述无机填充物为纳米氧化铝、纳米二氧化硅和纳米二氧化钛中的至少一种。本发明通过在PC中加入适量的PET和PPO进行共混改性,有效改善了PC复合材料的拉伸强度、抗冲击强度和耐腐蚀性;还加入了聚丙烯腈碳纤维与无机填充物进行混合,解决了无机填充物易于团聚的问题,并且聚丙烯腈碳纤维可以提高PC复合材料的拉伸强度等力学性能,无机填充物可以改善PC复合材料的耐腐蚀性。

标签:
复合材料
广东 - 东莞 来源:中冶有色网 2023-03-18
高强度的橡塑复合材料及其生产工艺

本发明涉及高分子材料技术领域,具体涉及一种高强度的橡塑复合材料及其生产工艺,该高强度的橡塑复合材料包括丁苯橡胶、聚氨酯橡胶、氟硅橡胶、钛硅树脂、补强剂、氢氧化钙、防老化剂、促进剂和偶联剂。由于选用钛硅树脂和氟硅橡胶与丁苯橡胶、聚氨酯橡胶进行混炼,通过引入钛原子和硅原子,提高橡胶材料的硬度,并通过促进剂和偶联剂提高橡胶材料的致密度,进而使得橡胶材料的强度性能优异。另外,由于引入补强剂、氢氧化钙,能够进一步提高橡塑复合材料的强度性能,因此,该高强度的橡塑复合材料具有强度性能好,能够很好地应用于建筑材料的优点。该生产工艺具有工艺简单,生产成本低,并能够适合于大规模生产的特点。

标签:
复合材料
广东 - 东莞 来源:中冶有色网 2023-03-18
PA9T复合材料及其制备方法

本发明提供了一种PA9T复合材料及其制备方法。所述PA9T复合材料由包括如下组分的原料制备而成:PA9T、乙烯基POSS‑g‑(EMA‑co‑GMA)、增强材料、抗氧剂、润滑剂。所述PA9T复合材料是通过先采用乙烯基POSS与EMA‑co‑GMA反应生成乙烯基POSS‑g‑(EMA‑co‑GMA),再与PA9T及增强材料熔融共混的方法制备得到。本发明提供的PA9T复合材料在具有较低的介电常数和介电损耗的同时,具有较高的耐热性和机械强度。

标签:
复合材料
广东 - 东莞 来源:中冶有色网 2023-03-18
改性PA复合材料及其制备方法

本发明涉及高分子复合材料技术领域,具体涉及一种改性PA复合材料及其制备方法,该复合材料包括如下重量份的原料:PA树脂30‑50份、PPA树脂15‑30份、石墨烯1‑10份、玻璃纤维20‑30份、改性增强尼龙20‑30份、改性硅酸钙晶须15‑20份、接枝剂1‑5份、润滑剂4‑8份、相容剂1‑5份、填料20‑30份;所述PA树脂的分子量为20000‑50000;所述PPA树脂的熔融指数为0.04‑2.5g/min。本发明所述改性PA复合材料具有优良的耐热性、耐化学性、耐冲击性、尺寸稳定性,机械性质强韧、吸水率小,且拉伸强度和收缩率好,通过石墨烯的填充可以使PA复合材的热导率由0.1‑0.5W/m·K提升至5‑10W/m·K,提高10倍以上,而改性后的增强尼龙弥补了传统增强尼龙的缺点,增强了改性PA复合材料的各项机械性能。

标签:
复合材料
广东 - 东莞 来源:中冶有色网 2023-03-18
阻燃性ABS复合材料及其制备方法

本发明提供一种阻燃性ABS复合材料,所述阻燃性ABS复合材料包含复合阻燃剂和ABS树脂,所述复合阻燃剂包含含溴阻燃剂以及含硫阻燃剂和/或含磷阻燃剂,所述含溴阻燃剂为含溴的酚类化合物及其环氧树脂。含溴阻燃剂与含硫阻燃剂和/或含磷阻燃剂在阻燃效果上具有协同作用,能够增强复合阻燃剂的阻燃性能,因此增强最终得到的阻燃性ABS复合材料的阻燃性能,并且使得本发明的阻燃性ABS复合材料具有良好的机械性能和耐热性能,是一种具有较大的经济性及环保友好型的ABS复合材料。

标签:
复合材料
广东 - 东莞 来源:中冶有色网 2023-03-18
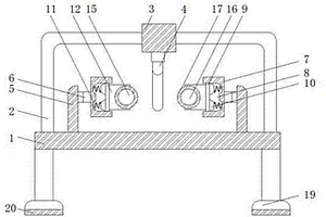
过滤复合材料用脱模装置

本实用新型公开了一种过滤复合材料用脱模装置,涉及过滤复合材料技术领域。该过滤复合材料用脱模装置,包括操作台,所述操作台上表面的左右两侧均固定连接有支撑杆,所述支撑杆的上端一侧设置有传动装置本体,所述传动装置本体的下端一侧通过连接块固定连接有模型本体,所述操作台上表面的左右两侧固定连接有支撑板,所述支撑板的右端通过电动推杆固定连接有底板。该过滤复合材料用脱模装置,通过对底板、凹槽、防滑块、缓震垫、缓震弹簧、第一支撑板、第二支撑板、第一脱模杆、第二脱模杆的设置,起到了在脱模的时候脱模效果好,有减震的功能从而不易毁坏复合材料模,可减少人们的成本,节约人们的资源,便于人们使用。

标签:
复合材料
广东 - 东莞 来源:中冶有色网 2023-03-18
聚酯类复合材料及柔性覆板基材

本发明提供一种聚酯类复合材料,所述聚酯类复合材料的组成材料包括聚酯树脂母料、共混料、增强剂、相容剂和稳定剂,所述聚酯树脂母料的质量分数为60%~70%,所述共混料的质量分数为20%~30%,所述增强剂的质量分数为1%~5%,所述相容剂的质量分数为1%~5%,所述稳定剂的质量分数为0.1%~2%,所述聚酯类复合材料由所述聚酯树脂母料、所述共混料、所述增强剂、所述相容剂和所述稳定剂混合制成。本发明还提供一种柔性覆板基材。本发明提供的聚酯类复合材料不仅具有高强度、高韧性、介电性能优异的优点,而且制作简单、价格低廉、成品率高,同时具有很强的可塑性,可实现工业化量产。

标签:
复合材料
广东 - 东莞 来源:中冶有色网 2023-03-18
PA46复合材料及其制备方法

本发明提供了一种PA46复合材料及其制备方法。所述PA46复合材料由包括如下组分的原料制备而成:PA46、乙烯基POSS‑g‑(EMA‑co‑GMA)、增强材料、抗氧剂、润滑剂。所述PA46复合材料是通过先采用乙烯基POSS与EMA‑co‑GMA反应生成乙烯基POSS‑g‑(EMA‑co‑GMA),再与PA46及增强材料熔融共混的方法制备得到。本发明提供的PA46复合材料在具有较低的介电常数和介电损耗的同时,具有较高的耐热性和机械强度。

标签:
复合材料
广东 - 东莞 来源:中冶有色网 2023-03-18
用于中子辐射防护的复合材料及其制备方法和应用

本申请公开了一种用于中子辐射防护的复合材料及其制备方法和应用。本申请的用于中子辐射防护的复合材料,包括总重量3%~50%的中子吸收材料,35%~89%的金属颗粒,以及总重量6%~15%的粘结剂;粘结剂为环氧树脂和/或硅胶类粘结剂;金属颗粒为铁珠和/或不锈钢珠。本申请的中子辐射防护复合材料,利用金属颗粒衰减能量较高的快中子,并利用粘结剂对快中子进行阻挡,使其慢化成热中子,然后采用中子吸收材料对热中子进行吸收,最后利用金属颗粒对吸收热中子产生的γ射线进行吸收,中子吸收材料、金属颗粒和粘结剂三者有机组合,使复合材料既能阻挡快中子,又能够吸收热中子,还能有效的吸收γ射线,具有很好的中子辐射防护作用。

标签:
复合材料
广东 - 东莞 来源:中冶有色网 2023-03-18
用于通信的低介电强度复合材料及其制备方法

本发明公开了一种用于通信的低介电强度复合材料及其制备方法,所述低介电强度复合材料,按照重量份计算,包括以下的组分:热致性液晶高分子材料90‑120份、热固性树脂5‑10份、硅烷改性纳米氮化硼粉末20‑30份、羟基改性石墨烯10‑15份、无机填料10‑20份、其他助剂0.2‑1.5份。通过本发明制备得到低介电强度复合材料,该复合材料在保证拉伸强度、弯曲强度等力学性能的前提下,具有较低介电强度,从而能够降低对信号的影响,可广泛应用于5G通信领域。

标签:
复合材料
广东 - 东莞 来源:中冶有色网 2023-03-18
可彩色镭雕复合材料及其制备方法

本发明涉及高分子材料技术领域,具体涉及一种可彩色镭雕复合材料及其制备方法,包括如下重量份的原料:镭雕助剂2‑6份、高分子聚合物30‑60份、玻璃纤维8‑12份、着色剂1‑5份、偶联剂1‑5份、分散剂1‑3份、增韧剂4‑8份、填料1‑3份和显色剂0.5‑1.5份。本发明可彩色镭雕复合材料通过在高分子聚合物中添加镭雕助剂、着色剂和显色剂,使制得可彩色镭雕复合材料可直接作为彩色镭雕材料使用,使用方便且效果好,采用普通的镭雕设备即可镭雕出各种颜色的文字或图案,且镭雕的文字或图案清晰,另外该可彩色镭雕复合材料还具有良好的光泽度、加工流动性和耐热性,且生产成本低的特点。

标签:
复合材料
广东 - 东莞 来源:中冶有色网 2023-03-18
铜基复合材料及其制备方法和应用

本发明公开一种铜基复合材料及其制备方法和应用,所述铜基复合材料含有多孔铜颗粒,所述多孔铜颗粒的孔隙中填充有纳米金刚石。本发明的铜基复合材料可在低用量下有效提高高分子材料的散热性能,并使高分子材料保持优异的绝缘性能,对高分子材料的力学性能具有一定的改善作用;同时所述铜基复合材料与高分子材料具有良好的相容性,不容易出现团聚、分层等现象。

标签:
复合材料
广东 - 东莞 来源:中冶有色网 2023-03-18
复合材料用于车载触摸屏贴合工艺

本发明公开了复合材料用于车载触摸屏贴合工艺,包括如下步骤:TP功能测试、TP外观的清洁、钢化玻璃的性能测试、钢化玻璃的清洁、TP和钢化玻璃的胶合、复合材料的制备,将PC+PMMA复合材料通过挤出机料筒加热至熔融塑化状态,挤出电机驱动螺杆旋转送料并由挤出机挤出模头挤出,在正负压风刀的作用下,流延到骤冷辊上冷却定性,再经过测厚、电晕等后续工艺处理,最终收卷获得薄膜产品、TP和钢化玻璃以及复合材料的贴合、功能检测、出货,采用PC+PMMA复合材料的制备的薄膜与其通过LOCA液态光学透明胶贴合后,具有较高的耐候性和抗冲击性,从而使生产出来的触摸屏能够具有较好的耐候性和抗冲击性能,能够适应车辆的在不同行驶环境下使用。

标签:
复合材料
广东 - 东莞 来源:中冶有色网 2023-03-18
PPO/PPS/PA66复合材料及其制备工艺

本发明公开了一种PPO/PPS/PA66复合材料及其制备工艺,其由按照重量分数计算的下述组分组成:低粘度聚己二酰乙二胺(PA66)15‑30份、低粘度聚己二酰乙二胺(PA66)15‑30份、聚苯醚(PPO)20‑40份、聚苯硫醚10‑25份、相容剂A1‑10份,相容剂B1‑10份,增韧剂2‑8份、润滑剂0.2‑1份、抗氧化剂0.1‑1份、热稳定剂3‑10份、负离子添加剂3‑6份、耐磨剂2‑5份和玻璃纤维10‑20份。本发明具有优良的韧性和机械强度,多次弯折依然能够保持固有的机械结构,同时耐热性能也十分优秀,可以在高温环境下使用,长期在高温环境下不会发生老化加速的状况,大大延长了该复合材料的使用寿命,同时该复合材料的抗氧化性能强,进一步提高了该复合材料的抗氧化性能,延长了该复合材料的使用寿命。

标签:
复合材料
广东 - 东莞 来源:中冶有色网 2023-03-18
碳纤维复合材料自行车架制造工艺

本发明提供了一种碳纤维复合材料自行车架制造工艺,属于碳纤维复合材料架体制程领域,为解决现有的碳纤维复合材料自行车架制备工序繁多等问题而设计。该制造工艺包括如下步骤:使用碳纤维复合材料成型自行车架的各管件;将成型管件装配至管件定位治具中,在胶合区域填涂胶黏剂;贴合树脂类片状胶于各成型管件胶合区域,形成过渡架体;将过渡架体自管件定位治具中取出;加压、加热烘烤过渡架体。本发明的制造工艺取消了原有制备工艺中的第一次为固化胶黏剂的加热烘烤工序以及相关工序,采用片胶对管件进行初步粘结形成过渡架体,之后一次加热烘烤成型。本申请在保证胶合强度的前提下,大大简化了碳纤维复合材料自行车架的制造工艺。

标签:
复合材料
广东 - 东莞 来源:中冶有色网 2023-03-18
基于复合材料的产品结构件及其制作方法

本发明公开了一种基于复合材料的产品结构件及其制作方法,该方法包括以下步骤:A、在两片塑料片材之间设置复合材料并热压成型为复合片材;B、采用切割设备将热压成型的复合片材切割成所需要的尺寸和形状;C、将切割好的复合片材作为镶件放入塑胶模具内进行注塑,形成产品结构件。由于采用了塑料片材夹合复合材料并热压成型,利用了塑料片材与该塑胶注塑料都属于同性物质,结构相似、极性相似的原理在互熔后能够产生很好的粘合,无需使用粘合剂,由此加强了复合材料与塑胶材料之间的结合力,进而优化了复合材料模内注塑的工艺,提升了产品结构件的品质,厚度薄、成本低、品质高。

标签:
复合材料
广东 - 东莞 来源:中冶有色网 2023-03-18
压电复合材料的制备方法

本发明提供一种压电复合材料的制备方法,步骤为:1)碳化锌粉末、铝酸酯偶联剂和多晶型PVDF在球磨机内进行混合,球磨3‑6h;2)加入钨酸铋粉末,继续球磨10‑15min,然后加热至170‑186℃,进行反应;3)冷却降温后,涂覆银膏,4)将涂覆银膏的压电复合材料放入极化装置中极化,极化方向为厚度方向,冷却至室温,得到压电复合材料。本发明是提供一种压电复合材料的制备方法,制备的压电复合材料在压电常数和应变常数方面表现优秀,相对密度也较低。

标签:
复合材料
广东 - 东莞 来源:中冶有色网 2023-03-18
多层非0度方向拉挤碳纤维复合材料管材的制备方法

本发明涉及碳纤维复合材料技术领域,特别是涉及一种多层非0度方向拉挤碳纤维复合材料管材的制备方法,该多层非0度方向拉挤碳纤维复合材料管材的制备方法,包括以下步骤:步骤一,设计拉挤管材模具;步骤二,备料;步骤三,利用辊轮拉挤芯模;步骤四,加热固化;步骤五,成型。由于拉挤管材模具的芯模包括依次连接的若干个子芯模,若干个子芯模以外径由小到大依次阶梯式连接,且利用辊轮通过弯管头拉挤芯模,并使所述弯管头向上倾斜一定的角度,进而使得能够轻易制得多层碳纤维复合材料管材。该多层非0度方向拉挤碳纤维复合材料管材的制备方法,具有制备方法简单,生产成本低,并能够适合于大规模生产的特点。

标签:
复合材料
广东 - 东莞 来源:中冶有色网 2023-03-18
纳米碳纤维膜/硅胶复合材料及其制备方法

本申请提供一种纳米碳纤维膜/硅胶复合材料及其制备方法,属于复合材料技术领域。该复合材料包括渗透有硅胶的纳米碳纤维膜和连续地覆盖在纳米碳纤维膜表面的硅胶层。由于纳米碳纤维膜具有众多孔隙,且与硅胶有较好的相容性,因此液体硅胶能充分浸润纳米碳纤维膜形成复合材料,该复合材料的制备方法包括:将纳米碳纤维膜和液体硅胶层复合,然后控制液体硅胶层固化成型。该复合材料不仅具有优越的电磁屏蔽性能,而且具有良好的柔性;对多种表面均有良好的贴合效果,能够进一步防止电磁波泄漏。

标签:
复合材料
广东 - 东莞 来源:中冶有色网 2023-03-18
铜金属有机骨架衍生多孔碳复合材料的制备方法及应用

本发明公开一种铜金属有机骨架衍生多孔碳复合材料的制备方法及应用,制备方法包括以下步骤:1)制备铜金属有机骨架化合物MOF;2)使铜金属有机骨架化合物MOF高温碳化生成铜金属有机骨架衍生多孔碳复合材料;以上制备方法制得的铜金属有机骨架衍生多孔碳复合材料作为光催化剂应用在有机染料的光降解反应中。本发明所述制备方法原料来源充足、生产成本低,适合扩大化生产要求,方便工业生产;该制备方法制备出来的铜金属有机骨架衍生多孔碳复合材料作为光催化剂应用在有机染料的光降解反应中,铜金属有机骨架衍生多孔碳复合材料对有机染料甲基紫具有强催化降解能力,且铜金属有机骨架衍生多孔碳复合材料具有良好的循环利用的能力,稳定性好。

标签:
复合材料
广东 - 东莞 来源:中冶有色网 2023-03-18
在环氧树脂基碳纤维复合材料制品表面喷涂陶瓷的工艺

本发明涉及对环氧树脂基碳纤维复合材料制品进行表面保护的技术领域,特指一种在环氧树脂基碳纤维复合材料制品表面喷涂陶瓷的工艺。本发明主要包括如下步骤:A、对环氧树脂基碳纤维复合材料制品表面进行粗化处理;B、在粗化表面喷涂金属底层;C、在金属底层表面喷涂陶瓷粉末形成陶瓷涂层。本发明可应用于各种环氧树脂基碳纤维复合材料制品领域,在其制品表面喷涂上喷涂陶瓷涂层后,由于陶瓷具有耐高温、耐磨、隔热等特点,将对环氧树脂基碳纤维复合材料及其制品起到很好的保护作用,提高产品的使用安全性能以及增加其使用寿命,并且使环氧树脂基碳纤维复合材料应用范围更加广泛。

标签:
复合材料
广东 - 东莞 来源:中冶有色网 2023-03-18
耐老化的PCT复合材料及其制备方法

本发明涉及高分子材料技术领域,具体涉及一种耐老化的PCT复合材料及其制备方法,该PCT复合材料包括如下重量份的原料:聚对苯二甲酸1,4‑环己烷二甲醇酯30‑50份、聚四氟乙烯10‑15份、聚氯乙烯3‑8份、玻璃纤维3‑5份、抗老化助剂5‑8份、二甲基硅油2‑6份、偶联剂3‑7份、阻燃剂0.5‑2份和润滑剂1‑2份。本发明的PCT复合材料具有较佳的拉伸强度、韧性、尺寸稳定性等性能,通过PTFE、PVC与PCT相容交联聚合,提高PCT复合材料的耐老化性和化学稳定性,同时通过抗老化助剂提高PCT复合材料的耐热氧化性、耐光氧化性、耐紫外辐射等性能,有效抑制PCT复合材料的热老化降解和光老化降解。

标签:
复合材料
广东 - 东莞 来源:中冶有色网 2023-03-18
高度致密结构硅碳复合材料、其制备方法及其应用

本发明涉及锂电池负极材料领域,特别是涉及一种高度致密结构硅碳复合材料,所述高度致密结构硅碳复合材料包括硅颗粒、碳包覆层,所述高度致密结构硅碳复合材料还包括高度致密碳基体;所述硅颗粒均匀弥散地分布在高度致密碳基体的内部并形成内核;所述高度致密结构硅碳复合材料的内部致密无孔洞或存在少量闭孔。本发明提供一种可降低体积膨胀效应、改善循环性能的高度致密结构硅碳复合材料、其制备方法及其应用。

标签:
复合材料
广东 - 东莞 来源:中冶有色网 2023-03-18
粉煤灰基吸波复合材料轻骨料及其制备方法

本发明提供一种粉煤灰基吸波复合材料轻骨料及其制备方法,该粉煤灰基吸波复合材料轻骨料以粉煤灰吸波复合材料为核,外壳包裹粘土矿物铁氧体吸波剂的复合核壳结构。所述轻骨料首先以粉煤灰、膨润土、粘土和铁氧体吸波剂等原料进行均匀混合,使吸波剂在原料中能形成电磁网络导通,通过造粒成球形,然后以粘土矿物铁氧体吸波剂复合吸波剂进行包覆,经养护、烧结后,形成具有较好吸波性能的粉煤灰基吸波复合材料轻骨料。所制备的粉煤灰基吸波复合材料轻骨料不仅具有良好的电磁损耗性能,而且满足轻骨料轻质高强的物理性能。

标签:
复合材料
广东 - 东莞 来源:中冶有色网 2023-03-18
防滑阻燃抗静电木塑复合材料及其制备方法

本发明涉及木塑复合材料技术领域,尤其涉及一种防滑阻燃抗静电木塑复合材料及其制备方法,本发明的制备方法包括基材制备步骤、防滑剂制备步骤和混制步骤。本发明的复合材料由以下原料制成:聚碳酸酯树脂、植物纤维、玻璃纤维、碳纤维、润滑剂、引发剂、阻燃剂、偶联剂、抗静电剂、相容剂和防滑剂。本发明的复合材料由基材和喷覆于基材表面的防滑层制成,所述基材由内向外依次包括核乳胶、壳乳胶和护套层。本发明的复合材料兼具优良的防滑、阻燃和抗静电性能。

标签:
复合材料
广东 - 东莞 来源:中冶有色网 2023-03-18
羧基丁腈橡胶粉煤灰复合材料及其制备方法和应用

本发明涉及一种羧基丁腈橡胶粉煤灰复合材料,将羧基丁腈橡胶与粉煤灰混炼后在30~100℃热处理1~6小时,待冷却后加入硫化活性剂、促进剂、硫黄得充分混炼的生胶,最后经硫化成型即得所述羧基丁腈橡胶/粉煤灰复合材料。本发明在提高橡胶复合材料力学性能的基础上大幅度降低了橡胶复合材料的成本,并且制备方法简单,可以充分利用现有的橡胶加工设备制备高性能橡胶/粉煤灰复合材料。本发明为大量闲置、污染环境的粉煤灰找到了一条新的、附加值高的处理方法,变废为宝。既解决了粉煤灰的处理难题,同时提高了橡胶复合材料的力学性能及其市场竞争力,具有良好的社会效益、经济效益和环境效益。

标签:
复合材料
广东 - 东莞 来源:中冶有色网 2023-03-18
一步制备碳纳米管薄膜复合材料的制备装置

本实用新型涉及纳米材料技术领域,具体涉及一步制备碳纳米管薄膜复合材料的制备装置,其包括反应室和收集室,收集室设置有用于收集碳纳米管聚集体的传送带、能够使高分子基体对传送带上形成的碳纳米管薄膜的表面进行浸润的浸润部件以及施压部件,高分子基体通过浸润部件对碳纳米管薄膜的表面进行浸润,同时施压部件对碳纳米管薄膜表面施压以使碳纳米管薄膜与高分子基体结合而形成致密的碳纳米管薄膜复合材料;收集室还设置有用于使碳纳米管薄膜复合材料固化成型的加热装置。本实用新型解决了高分子基体在碳纳米管薄膜网络结构中的浸润及渗透难题,并简化了装置和生产步骤,最终制备的碳纳米管薄膜复合材料的综合性能得到显著提高。

标签:
复合材料
广东 - 东莞 来源:中冶有色网 2023-03-18
上一页 316 317 318 319 320 ... 325 下一页
共325页    到第

中冶有色为您提供最新的广东东莞有色金属材料制备及加工技术理论与应用信息,涵盖发明专利、权利要求、说明书、技术领域、背景技术、实用新型内容及具体实施方式等有色技术内容。打造最具专业性的有色金属技术理论与应用平台!

全国热门有色金属设备推荐
展开更多 +
全国热门有色金属技术推荐
展开更多 +

 

江西省隆恩特环保设备有限公司
宣传

报名参会
更多+

报告下载

有色专家
更多+

南昌航空大学
副院长/教授
中国矿业大学
教授
中南大学
常务副校长
武汉科技大学
校学术委员会主任 / 教授
湖南科技大学
所长/教授
赤泥综合利用研究报告2025
推广

热门技术
更多+

推荐企业
更多+

福建省金龙稀土股份有限公司
宣传

发布

在线客服

公众号

电话

顶部
咨询电话:
010-88793500-807