青岛垚鑫智能科技有限公司
宣传

位置:中冶有色 >

有色技术频道 >

> 固/危废处置技术

分类:
全部
矿山技术
冶金技术
材料制备及加工技术
环境保护技术
分析检测技术
 
全部
废水处理技术
大气治理技术
固/危废处置技术
土壤修复技术
地区:
全部
北京
天津
上海
重庆
河北
山西
辽宁
吉林
黑龙江
江苏
浙江
安徽
福建
江西
山东
河南
湖北
湖南
广东
海南
四川
贵州
云南
陕西
甘肃
青海
内蒙
广西
西藏
宁夏
新疆
其他
其他
展开
 
全部
南京
无锡
徐州
常州
苏州
南通
连云港
淮安
盐城
扬州
镇江
泰州
宿迁

江苏南通有色金属固/危废处置技术理论与应用

免费发布技术信息>>
有机固废处理发酵生产线翻抛机的无线远程监管系统

本实用新型公开了有机固废处理发酵生产线翻抛机的无线远程监管系统,包括中央控制室工控机、中央控制主PLC、翻抛机从PLC、无线网络接入点、无线网络客户端模块、翻抛机运行变频器、翻抛机翻抛轮变频器、刮板输送变频器和翻抛机运行编码器,翻抛机从PLC电性连接有翻抛机运行变频器、翻抛机翻抛轮变频器、刮板输送变频器和翻抛机运行编码器,翻抛机从PLC与控制中心主PLC通过无线网络接入点和无线网络客户端模块连接,翻抛机从PLC与翻抛机运行编码器连接,中央控制室主PLC连接翻抛机从PLC。本系统应用到翻抛机后,实现了翻抛机的无人操作,提高了工作效率,同时提高了翻抛效果,减少了发酵时间,取得了明显的经济效益,得到用户的一致好评。

标签:
固废
江苏 - 南通 来源:中冶有色网 2023-03-19
提高钢铁固废熔融还原过程金属化率的方法

本发明涉及一种提高钢铁固废熔融还原过程金属化率的方法,首先将钢渣粉、氧化铁皮、炼钢除尘灰倾倒入混料机中,并加入水后进行搅拌混合,并得到混合液;再向混合液键入钢渣还原活化剂进行反应,得到液态钢渣;将液态钢渣送入熔炼炉中进行反应,同时在反应的过程中向熔炼炉中加入改性剂;经过一段时间的反应后,熔炼炉中会得到铁水和钢渣,倾动熔炼炉,将铁水倒入钢包;将装有铁水的钢包运至铁水处理站进行铁水处理,并对处理后的铁水进行冷却,从而得到的所需的还原铁金属。本发明的优点在于:通过利用炼钢产生的钢渣、灰尘等作为原料来提取金属铁,同时再配合钢渣还原活化剂、改性剂,从而提高了还原铁的产能,能够提高10%左右。

标签:
固废
江苏 - 南通 来源:中冶有色网 2023-03-19
海上采油平台用含油固废热脱附处理装置

本申请公开了一种海上采油平台用含油固废热脱附处理装置,包括沿物料输送方向依次连接的油泥进料装置、搅拌装置、微波处理油泥装置、油泥加热分解螺旋装置,所述油泥加热分解螺旋装置输出至干粉排放收集装置,所述油泥进料装置一侧的蒸汽排出口依次连接于废气处理装置以及烟囱,所述废气处理装置包括依次连接的喷淋除硫装置、UV光氧装置、活性炭吸附装置,所述油泥进料装置一侧的蒸汽排出口连接于所述喷淋除硫装置,所述活性炭吸附装置连接于所述烟囱。本发明适用于解决海上平台采油产生的油泥带来环境污染问题,处理效果显著。

标签:
固废
江苏 - 南通 来源:中冶有色网 2023-03-19
工业固废焚烧急冷塔推板式排灰阀

本发明公开了工业固废焚烧急冷塔推板式排灰阀,包括倾斜向下的L型阀体,L型阀体包括倾斜推拉部和排灰出口部,其中:倾斜推拉部,通过支撑板固定在工业焚烧装置上,顶部设有灰尘入口,内部设有推拉排灰装置;排灰出口部,倾斜向下设置,自由端设有自动排灰门;推拉排灰装置包括推拉机构和推板,推板与倾斜推拉部的内壁贴合设置,推拉机构推动推板在倾斜推拉部内往复运动将从L型阀体顶部的灰尘入口进入的灰尘推送至倾斜向下的排灰出口部内,自动排灰门打开,实现自动往复排灰。

标签:
固废
江苏 - 南通 来源:中冶有色网 2023-03-19
利用钙基冶金固废降低链条炉燃烧二氧化硫排放的方法及加工设备

本发明公开了一种利用钙基冶金固废降低链条炉燃烧二氧化硫排放的方法及加工设备,包括基台、冶金设备、研磨机构、传送设备、搅拌机构以及链条炉机构,所述冶金设备固定安装在所述基台顶部的一侧,所述研磨机构安装在所述基台顶部的另一侧,所述传送设备安装在所述基台的上方且位于所述冶金设备与研磨机构之间的位置。本发明通过设置可调节研磨粒径的研磨机构,首先通过距离较大的空间对原料进行研磨,随着研磨的进行,调节旋转磨盘与固定磨盘之间的间隙,进而能够对原料更加方便快捷的研磨,且通过设置可振动的链条炉机构,能够对链条输送带进行轻微抖动,从而实现对链条输送带上的煤粉颗粒的抖动,进而使得煤粉颗粒燃烧更加充分。

标签:
固废
江苏 - 南通 来源:中冶有色网 2023-03-19
新型高效智能组合固废分选装置

本发明公开了一种新型高效智能组合固废分选装置,其特征在于:包含原料输送装置、产品收集装置和若干分选装置,产品收集装置设置在原料输送装置侧面,若干分选装置对称设置在原料输送装置的两侧,分选装置包含机架、悬挂装置、悬挂装置驱动机构、旋转摆臂和抓取装置,悬挂装置滑动设置在机架上并且由悬挂装置驱动机构驱动,旋转摆臂上端设置在悬挂装置下侧,抓取装置固定在旋转摆臂的下端。本发明对薄片类物料的分选效率高,处理量大。

标签:
固废
江苏 - 南通 来源:中冶有色网 2023-03-19
用于固废资源化处理的下吸式等离子体气化熔融装置

本发明公开了一种用于固废资源化处理的下吸式等离子体气化熔融装置,包含下吸式气化炉、熔融室和热处理室,下吸式气化炉的下端灰渣出料口与熔融室进料口连接,下吸式气化炉的下端侧面通过合成气通道与热处理室连接,熔融室的烟气出口与热处理室连接,物料在下吸式气化炉内自上而下依次经过干燥段、热解段、氧化段和还原段,干燥段产生的水蒸气以及热解段产生的热解气与焦油液也与物料运动方向相同。本发明解决现有熔融炉烟气焦油含量高,能源利用效率较低的问题。

标签:
固废
江苏 - 南通 来源:中冶有色网 2023-03-19
含油固废低温热解炉用热量循环系统

本发明公开了一种含油固废低温热解炉用热量循环系统,包括低温热解炉,所述低温热解炉外壁设有保温装置,以及保温装置与低温热解炉之间连通有一次输烟管,所述保温装置一侧设有余热利用装置,且保温装置和余热利用装置之间通过二次输烟管连通,所述保温装置内设有高温烟室,且低温热解炉与高温烟室相交处设置导热片,所述高温烟室的内壁设有金属薄片,且金属薄片上设置过滤器。本发明通过将高温烟气输送到保温装置内,可利用高温烟气携带的热能为低温热解炉进行保温和升温,有利于提高低温热解炉效率,将保温装置内的含有余温的烟气输送到余热利用装置中,为其中的导热液体进行加热,即达到冷却烟气的效果,也收集了热能。

标签:
固废
江苏 - 南通 来源:中冶有色网 2023-03-19
旋罐式有机固废装置
旋罐式有机固废装置 882     
 0

本发明提供一种旋罐式有机固废装置,包括集装箱,所述集装箱内部进出口两端分别设有左固定支架和右固定支架,所述左固定支架和所述右固定支架之间设有旋罐,所述旋罐上设有若干滚轮卡槽,所述旋罐两侧的所述集装箱上设有若干滚轮,所述滚轮与所述滚轮卡槽相互卡接,所述滚轮两侧设有挡边,所述旋罐侧面的所述集装箱上还设有动力源,所述动力源连接有组合小齿轮,所述旋罐上设有大齿轮,所述组合小齿轮和所述大齿轮相互啮合,所述组合小齿轮内穿设有传动轴,所述传动轴连接增力滚轮,所述旋罐内设有若干错位分布的叶片和钉耙。本发明结构紧凑、效率高且便于运输和移动。

标签:
固废
江苏 - 南通 来源:中冶有色网 2023-03-19
等离子体固废处理工艺的梯形高温氧化室

本发明公开了一种等离子体固废处理工艺的梯形高温氧化室,包括底部纵截面为梯形的高温氧化炉、压力控制系统、氧含量控制系统和喷水降温系统;所述的压力控制系统控制高温氧化炉内的压力为‑20~‑30Pa;所述的氧含量控制系统维持炉膛正常氧含量;所述的喷水降温系统控制高温氧化炉的正常焚烧温度。本发明高温氧化室内的流场和热场更加均匀,焚烧更加稳定,效果更佳,能显著降低了NOX的排放;双鼓风机的设置降低了联锁停机的可能性;在结构方面梯形的设计也更加稳固。

标签:
固废
江苏 - 南通 来源:中冶有色网 2023-03-19
固废氯化苯焦油对二氯苯釜式结晶工艺

本发明公开了一种固废氯化苯焦油对二氯苯釜式结晶工艺,所轀° 步骤如下:所述混合二氯苯原料经真空或泵输送到结晶釜,同时打开 冷却系统用冷却盐水对原料进行降温,并对其原料加以搅拌,使之形 成合格的晶核并成长,结晶长大得到合格晶浆,从结晶釜底放出,经 离心机分离得成品。该工艺的优点在于:通过釜式结晶过程通过调节 循环制冷剂和控制温度变化、溶液温度及搅拌速度,使之结晶。该工 艺的优点在于:能耗低、收率高,操作简单。

标签:
固废
江苏 - 南通 来源:中冶有色网 2023-03-19
削减工业废水中固废物的处理系统

本实用新型公开了一种削减工业废水中固废物的处理系统,所述削减工业废水中固废物的处理系统包括絮凝沉降器、一级消解罐、二级消解罐、压滤机和清液处理器;所述絮凝沉降器、一级消解罐、二级消解罐、压滤机和清液处理器通过管道依次相连接;所述絮凝沉降器、一级消解罐、二级消解罐和清液处理器均设置有进口和出口;所述压滤机上设置有进口、第一出口和第二出口;所述絮凝沉降器的出口与一级消解罐的进口相连接;所述一级消解罐的出口与二级消解罐的进口相连接;所述二级消解罐的出口与压滤机的进口相连接;所述压滤机的出口与清液处理器的进口相连接。本实用新型结构简单,使用方便,设计合理,节能环保,防止二次污染。

标签:
固废
江苏 - 南通 来源:中冶有色网 2023-03-19
固废氯化苯焦油提纯自动控制装置

本实用新型公开了一种固废氯化苯焦油提纯自动控制装置,其包括精馏塔上顶部和底部分别接有真空缓冲罐和蒸汽再沸器,所述真空缓冲罐的空气进气口上接有真空调节阀,所述蒸汽再沸器的一端的蒸汽进气管道串联有蒸汽调节阀,精馏塔上装有温度及真空传感器,控制台通过温度及真空传感器传出的信号控制真空、蒸汽调节阀的开启度,从而达到真空及温度的自动控制。控制台通过温度传感器、真空传感器传送的数据控制电动调节阀,及时修正精馏塔中真空度和温度,维持精馏塔的内部平衡,保证了固废氯化苯焦油提纯产品的质量与产量。

标签:
固废
江苏 - 南通 来源:中冶有色网 2023-03-19
固废焚烧干式破碎出渣系统

本发明涉及一种固废焚烧干式破碎出渣系统,包括回转窑、与回转窑的排渣出口连通设置的下料溜槽以及与下料溜槽出料口连通设置的冷却出料装置,排渣出口上方的回转窑内设置有若干个沿回转窑轴线的垂直线方向延伸的破碎冷却滚筒,且所述破碎冷却滚筒通过电机驱动旋转;所述破碎冷却滚筒包括中空滚筒,且中空滚筒内置有冷却水;在所述中空滚筒的外端圆周面上布置有若干个沿中空滚筒长轴方向延伸的破碎叶片;在回转窑与下料溜槽内部的过渡处设置有过滤网,所述过滤网下方的下料溜槽上还固定有与下料溜槽内部连通的吹气装置。本发明的优点在于:本发明固废焚烧干式破碎出渣系统,处理工艺简单且处理成本低。

标签:
固废
江苏 - 南通 来源:中冶有色网 2023-03-19
热解含油固废处理系统
热解含油固废处理系统 1029     
 0

本实用新型提供了一种热解含油固废处理系统包括预脱油混料机、微波干燥器、预储料仓、热解主炉和出料机,所述预脱油混料机和微波干燥器通过螺旋输送设备相连,所述预储料仓设置在所述微波干燥器出口处,所述热解主炉的进口和所述预储料仓的出口连通,处所热解主炉的出口处设置所述出料机。为了适应海上钻井平台设置了紧凑的流转工序精简了处理流程,并通过预处理和热解工序分开提高了处理效率,提高了固废处理效果,同时及时对废液废气进行了净化回收,保证了排放达标。

标签:
固废
江苏 - 南通 来源:中冶有色网 2023-03-19
钻井固废无害化处理系统

本实用新型公开了一种钻井固废无害化处理系统,包括污泥不落地供浆总成、岩屑颗粒高温热解总成、泥浆高温热解总成和有毒有害气体处理总成;其中,泥浆高温热解总成包括雾化高温热解塔及与雾化高温热解塔相连的热风源。本实用新型提供的钻井固废无害化处理系统不仅能将污水和污泥一并无害化处置,而且能实现彻底减容化、无害化和资源化的处理效果,可避免雾化高温热解塔内出现污泥结块堵塞问题,处理效率高,处理效果更佳,能耗更低,重晶石粉等的回收再利用率高,占地面积小,投资及运营成本低且安全环保。

标签:
固废
江苏 - 南通 来源:中冶有色网 2023-03-19
钻井平台用含油固废物热解处置装置及其处置方法

本申请公开了一种钻井平台用含油固废物热解处置系统及其处置方法,其包含:混合搅拌机连通于进料模组。烘干机连通于出料出气罩。提升机连通于出气罩。热解模组具有热解腔室,热解腔室连通于提升机,热解腔室的另一端连通于燃烧室。储渣腔体一端连接于解热模组一侧,并且其另一端连通于混合搅拌机。热交换器连通于储渣腔体的一侧。第一热交换管穿设于热交换器,并其一端为第一空气输入口,其另一端连通于燃烧室。第二热交换管一端连通于燃烧室,并位于热解腔室。烟气汇集室连接于第二热交换管的另一端,烟气汇集室的一侧具有第二空气输入口,其另一侧连通于烘干机。其中混合搅拌机,烘干机与储渣腔体个别连通于排烟单元。

标签:
固废
江苏 - 南通 来源:中冶有色网 2023-03-19
固废焚烧出渣分选装置

本实用新型涉及一种固废焚烧出渣分选装置,其特征在于:包括回转窑、与回转窑的排渣出口连通设置的水封槽、出渣输送模块和渣滓分选模块;本实用新型中通过在回转窑的输出端口设置水封槽,并将输送架的一端延伸至水封槽的槽底,固废在燃烧后的固渣掉落到水封槽内进行降温后通过的输送架输出;混在固渣中的铁质金属在经过分选架上的永磁辊时会吸附在传动带上跟随传送带一起运动贴附在永磁辊上直至运动到对应的存放斗上方掉落,而未有铁质的固渣则由于惯性运动到对应的存放斗上方掉落,实现固渣的分选。

标签:
固废
江苏 - 南通 来源:中冶有色网 2023-03-19
具有减量功能的固废处理用贮存装置

本实用新型公开了一种具有减量功能的固废处理用贮存装置,包括贮存箱和粉碎辊,所述贮存箱的正面左侧安装有观察窗,且贮存箱的上方连接有粉碎箱,所述粉碎箱的右端安装有伺服电机,且粉碎箱的上方连接有加料箱,所述贮存箱的正面下方通过铰链安装有检修门,且贮存箱的下表面左侧连接有出水管,所述贮存箱的下表面右侧安装有振动电机,且贮存箱的内底面安装有斜板,所述粉碎辊通过轴承安装于粉碎箱的内部,所述出水管的下方连接有连接管,且连接管的内部安装有过滤网,所述出水管的内部安装有挡板,且挡板的左端固定有卡块。该固废处理用贮存装置可以将固废物进行粉碎,从而有利于贮存箱内部的空间得到更加合理化的利用。

标签:
固废
江苏 - 南通 来源:中冶有色网 2023-03-19
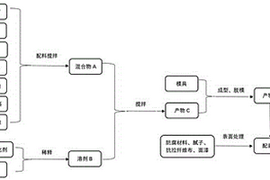
利用固废制作大型配重块的全自动生产工艺方法

本发明公开了一种利用固废制作大型配重块的全自动生产工艺方法,包括以下步骤:(1)配料;(2)混凝土搅拌;(3)物料输送;(4)物料注模;(5)液压成型;(6)拆模;(7)自动清理;(8)半成品转运;(9)成品转运;(10)底部托板回收;(11)模具组装;(12)模具转运。本发明利用固废制作的大型配重块,尺寸控制在3.5m*2.7m*1.33m,总重量控制在24.8~25.2吨,抗压强度不低于10Mpa,实现了全自动化生产控制,减少了人工参与,增加了稳定性和安全性。

标签:
固废
江苏 - 南通 来源:中冶有色网 2023-03-19
密封出灰的含油固废热处理装置

本申请公开了一种密封出灰的含油固废热处理装置,包括油泥反应罐,所述油泥反应罐的进料口分别连接于原料输送斗以及药剂罐,所述油泥反应罐的出料口分别连接于尾气处理器以及油泥水分离器,所述油泥水分离器依次连接于热解碳化处理器、干物料收集器。本发明适用于含油固废处理,降低了环境污染。

标签:
固废
江苏 - 南通 来源:中冶有色网 2023-03-19
利用PC固废制备软瓷的工艺方法

本发明提供了一种利用PC固废制备软瓷的工艺方法,包括PC固废处理工艺和软瓷材料的制备工艺,其中,PC固废处理采用粉碎‑沉降‑过滤‑自然干燥‑粉碎‑过筛的方法制备,而软瓷材料的组分比例如下:以质量份数记,水10~20份,改性乳胶10~20份,消泡剂0.1~0.5份,抑碱剂0.1~0.5份,减水剂0.2~0.5份,白水泥20~30份,PC固废粉体40~80份。本发明采用PC固废作为软瓷的主要原材料,降低了软瓷的成本,提高了软瓷的质感,使其更接近石材,节能环保,工艺方便,成本低廉,具有广阔的应用价值。

标签:
固废
江苏 - 南通 来源:中冶有色网 2023-03-19
石英光纤固废SiO<Sub>2</Sub>的转化利用方法

本发明公开一种石英光纤固废SiO2的转化利用方法,包括以下步骤:S1、称取膨化石墨和石英光纤固废SiO2;S2、将步骤S1所称取的石英光纤固废SiO2加入超纯水中;S3、将步骤S1所称取的膨化石墨加入到双氧水和超纯水的混合溶液中;S4、混合并搅拌以保持其悬浮状态形成多相流体,进行循环剪切;S5、对循环剪切的混合液进行离心分离水洗后再次进行离心分离,沉淀物干燥;S6、用马沸炉对干燥物进行热处理,所得黑色粉体即为纳米SiO2/石墨烯复相材料。本发明以膨化石墨为前驱体,同步实现固废SiO2的分散和膨化石墨剥离为石墨烯,形成两者间的紧密结合,经后续热处理,可获得轻质纳米SiO2/石墨烯复相吸波材料,环保和高效,且液相剪切的制备路径,易于进行连续化处理,有利于产业化进程的推进。

标签:
固废
江苏 - 南通 来源:中冶有色网 2023-03-19
利用硫铁尾矿制作大型配重块的固废配方及制备方法

本发明公开了一种利用硫铁尾矿制作大型配重块的固废配方及制备方法,所述固废配方包括如下重量份组分:水泥100‑150份,硫铁尾矿350‑450份,优质钢渣70‑130份,粉煤灰70‑130份,渣土70‑130份,再生骨料100‑200份,玻璃纤维5‑10份,水78‑85份,浓缩固化剂0.18‑0.2份。本发明利用硫铁尾矿代替混凝土制作大型配重块,实现固废的资源化利用。

标签:
固废
江苏 - 南通 来源:中冶有色网 2023-03-19
环保的建筑固废破碎装置

本实用新型公开了一种环保的建筑固废破碎装置,包括底座,所述底座顶部通过多个支撑腿连接有破碎箱,所述破碎箱顶部设有进料口,所述破碎箱侧壁开设有出料口,所述出料口内侧壁连接有开关门,所述破碎箱内侧壁固定连接有两个对称设置的破碎辊,所述破碎辊位于进料口正下方,所述破碎箱内侧壁固定连接有两个对称设置的磁板,两个所述磁板呈倾斜设置,所述底座顶部固定连接有电机,所述电机通过传动机构连接有两个对称设置的丝杠。本实用新型涉及固废破碎领域,本实用新型通过破碎辊、电机、传动机构、丝杠、移动块、连接机构以及破碎机构的配合使用,通过二次粉碎,实现了对固废进行充分破碎,提高了装置的实用性。

标签:
固废
江苏 - 南通 来源:中冶有色网 2023-03-19
固废原料筛选的装置
固废原料筛选的装置 886     
 0

本实用新型涉及废料加工技术领域,且公开了一种固废原料筛选的装置,包括箱体,所述箱体的内腔滑动安装有筛选框,所述筛选框底部的两侧均固定安装有滑条,所述箱体内腔的两侧均通过固定块固定安装有滑套,两个所述一号连接块的正面均固定安装有驱动套筒,所述箱体内腔正面的两侧均转动安装有驱动轴,两个所述驱动轴的外表面均固定安装有偏心盘,该固废原料筛选的装置,通过驱动轴在旋转过程中配合偏心盘带动驱动套筒上下往复移动,驱动套筒通过一号连接块配合滑条带动筛选框快速上下往复移动,同时配合固废原料的惯性对其进行快速筛选,实现了对固废原料进行不间断自动化筛选的效果,提高了固废原料筛选的效率。

标签:
固废
江苏 - 南通 来源:中冶有色网 2023-03-19
热解含油固废处理系统的翻板机构

本实用新型提供了一种热解含油固废处理系统的翻板机构,包括支架,在所述支架上沿水平方向依次设置有若干个翻板,所述翻板转动安装在所述支架上;在所述支架上还设置有驱动机构,所述驱动机构能驱动若干个所述翻板同步翻转,通过可转动的翻板,是的放置在翻板上的含油固废即可满足本工序的处理需要,当完成本工序处理时通过转动翻板即可完成含油固废物料的转移操作,物料迅速简单,且设备可靠稳定,易于操作人员操作。

标签:
固废
江苏 - 南通 来源:中冶有色网 2023-03-19
立式静电固废分选机
立式静电固废分选机 1060     
 0

本发明公开了一种立式静电固废分选机,包含密封箱体、分选滚筒、至少两组分选电极装置和至少两组非金属卸料装置,分选滚筒转动设置在密封箱体内,至少两组分选电极装置呈点对称设置在分选滚筒的外侧,固废粉末从密封箱体上端进料并沿分选滚筒外壁经过至少两组分选电极装置,非金属卸料装置设置在相邻两组分选电极装置之间并位于分选滚筒外侧将分选滚筒外壁非金属粉末清除,分选电极装置包含若干电晕电极和若干静电极,电晕电极位于静电极的上方。本发明可以将大批量固废粉末分别从多组分选电极装置进行粉末分选,实现单个滚筒中粉末的多次分选,在提高了分选精度的同时,大大提高了粉末分选的处理量,提高了分选效率。

标签:
固废
江苏 - 南通 来源:中冶有色网 2023-03-19
钻井固废无害化处理工艺及处理系统

本发明公开了一种钻井固废无害化处理工艺及处理系统,其中,该处理工艺包括如下步骤:(a)污泥颗粒筛选分离;(b)岩屑固废粗颗粒处理;(c)污泥浆高温热解;(d)含细粉尘的有毒有害废气处理;(e)二次高温焚烧热解处理;(f)喷雾急冷处理;(g)超微细粉尘颗粒废气处理。本发明提供的钻井固废无害化处理工艺及处理系统不仅能将污水和污泥一并无害化处置,而且能实现彻底减容化、无害化和资源化的处理效果,可避免雾化高温热解塔内出现污泥结块堵塞问题,处理效率高,处理效果更佳,能耗更低,重晶石粉等的回收再利用率高,占地面积小,投资及运营成本低且安全环保。

标签:
固废
江苏 - 南通 来源:中冶有色网 2023-03-19
无害化处理钻井固废工艺

本发明公开了一种无害化处理钻井固废工艺,包括如下步骤:(a)污泥脱水:将钻井岩屑污泥进行甩干和脱水,得到粗颗粒污泥和含细颗粒的污水;(b)细颗粒污泥分离:对含细颗粒的污水进行泥、水两相分离得到合格污水和细颗粒污泥;(c)固废污泥高温热解:将井场固废、粗、细颗粒污泥输送到复合型污泥高温热解装置中进行预热脱水、烘干、干燥和热解,且粗颗粒污泥的行走方向与高温热风热源的流动方向为逆向;(d)含粉尘的废气分离处理;(e)超细粉尘颗粒废气处理;(f)二次高温热解:对超细粉尘颗粒进行二次高温热解。本发明提供的无害化处理钻井固废工艺的热解效率高,运营成本低,且能做到真正意义上的彻底减容化、无害化和资源化处理。

标签:
固废
江苏 - 南通 来源:中冶有色网 2023-03-19
上一页 29 30 31 32 33 ... 34 下一页
共34页    到第

中冶有色为您提供最新的江苏南通有色金属固/危废处置技术理论与应用信息,涵盖发明专利、权利要求、说明书、技术领域、背景技术、实用新型内容及具体实施方式等有色技术内容。打造最具专业性的有色金属技术理论与应用平台!

全国热门有色金属设备推荐
展开更多 +
全国热门有色金属技术推荐
展开更多 +

 

江西省隆恩特环保设备有限公司
宣传

报名参会
更多+

报告下载

有色专家
更多+

中国科学院赣江创新研究院
院长
鞍钢集团有限公司
中国工程院院士
长沙矿冶研究院
总经理
昆明理工大学
校长
矿冶科技集团
副所长/研究员
赤泥综合利用研究报告2025
推广

热门技术
更多+

推荐企业
更多+

福建省金龙稀土股份有限公司
宣传

发布

在线客服

公众号

电话

顶部
咨询电话:
010-88793500-807