青岛垚鑫智能科技有限公司
宣传

位置:中冶有色 >

有色技术频道 >

分类:
全部
矿山技术
冶金技术
材料制备及加工技术
环境保护技术
分析检测技术
 
全部
废水处理技术
大气治理技术
固/危废处置技术
土壤修复技术
地区:
全部
北京
天津
上海
重庆
河北
山西
辽宁
吉林
黑龙江
江苏
浙江
安徽
福建
江西
山东
河南
湖北
湖南
广东
海南
四川
贵州
云南
陕西
甘肃
青海
内蒙
广西
西藏
宁夏
新疆
其他
其他
展开
 
全部
杭州
宁波
温州
绍兴
湖州
嘉兴
金华
衢州
台州
丽水
舟山

浙江嘉兴有色金属环境保护技术理论与应用

免费发布技术信息>>
多功能废气废水回收再利用方法

本发明是提供一种多功能废气废水回收再利用方法,特别涉及一种以废动植物油为原料生产生物柴油工艺中的多功能废气废水回收再利用方法。应用这种方法既能能将传统生产工艺中常常要排放到环境中的低沸点、短碳链酯、烷烃等具有恶臭的“裂解气”,进行回收并经处理后送到锅炉中作为燃料进行充分燃烧,保持排放的气体符合国家环保标准;同时还能将传统生产工艺中出现具有恶臭的“工作水”经处理后重新进入泵腔循环使用,无需排放到环境中,每天可节约近百吨的水资源又防止了对环境的污染。

标签:
废水处理
浙江 - 嘉兴 来源:中冶有色网 2023-03-19
涤纶织物染色一浴法工艺用的废水处理设备

本实用新型公开了一种涤纶织物染色一浴法工艺用的废水处理设备,涉及到纺织废水处理技术领域,包括管道泵,管道泵的底端固定连接有一级过滤管,一级过滤管的底端设置有连接管,连接管的底端设置有二级过滤管,二级过滤管的底端设置有排水管,一级过滤管包括固定板,固定板的上表面中部固定连接有支撑板和环形挡板,支撑板和环形挡板之间的缝隙内插接连接有过滤网板。本实用新型通过设置固定管和过滤网板,废水经过管道泵进入一级过滤管后,废水中的纤维被过滤网板过滤,过滤网板垂直设置在一级过滤管内,从而避免了纤维的堆积影响过滤网板的正常工作,从而使得装置的实用性得到提升。

标签:
废水处理
浙江 - 嘉兴 来源:中冶有色网 2023-03-19
染色废水高效回用装置
染色废水高效回用装置 1233     
 0

本实用新型公开了一种染色废水高效回用装置,属于废水回收技术领域,所述包括箱体,所述箱体底部左侧安装有支架A,所述箱体底部右侧安装有支架C,所述支架C右侧安装有按钮盒,所述箱体底部中间安装有连接柱且连接柱贯穿箱体底部,所述连接柱顶部安装有涡扇,所述连接柱底部安装有驱动器,所述驱动器底部安装有电机A,所述箱体内侧壁左侧安装有过滤盒且过滤盒呈对称安装在箱体内侧壁右侧,所述支架A外侧壁左侧焊接有固定板,所述固定板顶部安装有电机B,所述电机B输出端安装有联轴器。本实用新型通过过滤盒将废水内的棉絮清除从而不会影响染色效果,通过泵箱传输废水从而减去人力运输增加染色效率,适合被广泛推广和使用。

标签:
废水处理
浙江 - 嘉兴 来源:中冶有色网 2023-03-19
粽子生产中的废水处理装置

本实用新型公开了一种粽子生产中的废水处理装置,属于废水处理装置技术领域。本实用新型包括过滤池、综合氧化池、膜反应池以及砂滤池,所述过滤池中间固定设置有挡板并被挡板分隔为隔渣池和隔油池,所述挡板的下半部分设置为网状结构且在网状结构上设置有吸油棉,所述隔渣池的开口处可转动的设置有滤板,所述隔渣池的外侧壁上设置有配合于滤板的储渣槽;所述综合氧化池与过滤池之间设置有三级沉淀池;所述膜反应池连通于所述综合氧化池;所述砂滤池与膜反应池相连通且砂滤池采用活性砂滤器,所述砂滤池上设有溢流管以便于水流输出。本实用新型能有效的处理粽子生产中的废水,使得废水可循环利用,既环保卫生又能节约水资源。

标签:
废水处理
浙江 - 嘉兴 来源:中冶有色网 2023-03-19
高盐废水排放处理系统

本实用新型提出了一种高盐废水排放处理系统,包括废水收集池、调节处理池、多介质过滤器、电渗析处理装置、混凝沉淀单元、蒸发结晶单元、纳滤单元和反渗透除盐装置,所述废水收集池的出水端与调节处理池相连,所述调节处理池的输出端与多介质过滤器相连,所述多介质过滤器的输出端与电渗析处理装置相连,所述电渗析处理装置的浓水出水端与混凝沉淀单元相连,所述电渗析处理装置的产水出水端与纳滤单元相连,所述纳滤单元的出水端和反渗透除盐装置相连,所述反渗透除盐装置的产水端与电渗析处理装置相连,所述反渗透除盐装置的浓水出水端、混凝沉淀单元的出水端分别与蒸发结晶单元相连能够处理高浓度含盐废水,可有效地减少环境污染。

标签:
废水处理
浙江 - 嘉兴 来源:中冶有色网 2023-03-19
纳米纤维膜、制备方法及其在染料废水处理中的应用

本发明涉及纺织品废水处理技术领域,特别是关于一种纳米纤维膜、制备方法及其在染料废水处理中的应用。所述纳米纤维膜以醋酸纤维素为主要膜材料经静电纺丝法制得,纳米纤维膜孔隙率高、比表面积大,表面暴露有大量的氨基和羧基活性基团,能够吸附染料废水中有毒、难降解的水溶性物质,在高温环境中仍能具有较高的染料吸附率,且在力学性能、耐碱性能方面表现优异。

标签:
废水处理
浙江 - 嘉兴 来源:中冶有色网 2023-03-19
纺织物印染用废水中絮状物的清理装置

本发明公开了一种纺织物印染用废水中絮状物的清理装置,包括固定板、池体、收集箱和传动链,所述池体顶部的两侧皆均匀安装有固定座,所述固定座的顶部设有固定板,所述固定板的底部皆通过第二电动伸缩杆安装有固定杆,且其中一个固定杆上安装有电机,所述电机的输出端贯穿同一端的两个固定杆并安装有主动轮,且主动轮一端固定杆之间均安装的转轴上均安装有从动轮,从动轮与主动轮之间通过传动链固定连接。本发明通过安装有固定板、池体、收集箱和传动链,固定杆底端安装的第三电动伸缩杆底端安装座之间固定有管网,管网上均匀安装有曝气头,便于通过曝气头曝气将废水中的絮状物通过气流顶起,漂浮在废水上层,便于絮状物的清理。

标签:
废水处理
浙江 - 嘉兴 来源:中冶有色网 2023-03-19
印染废水深度处理设备

本实用新型提供了一种印染废水深度处理设备,包括第一沉淀池、第二沉淀池、污水处理塔、有机物分解腔、酸碱中和腔、蓄水池和控制面板,第二沉淀池位于第一沉淀池的右侧,且第二沉淀池与第一沉淀池为固定连接,污水处理塔位于第二沉淀池的右侧,有机物分解腔位于污水处理塔的内壁上侧,酸碱中和腔位于污水处理塔的内壁下侧,蓄水池位于污水处理塔的底部,且蓄水池与污水处理塔为固定连接,控制面板内嵌于污水处理塔的前端中心位置。该种印染废水深度处理设备设置有中和液箱,通过中和液能够将废液中的碱性物质进行中和,使废液变为中性,实用性较强,适用于印染废水深度处理设备的生产与使用,具有良好的发展前景。

标签:
废水处理
浙江 - 嘉兴 来源:中冶有色网 2023-03-19
印染废水的处理方法
印染废水的处理方法 959     
 0

本发明公开了一种印染废水的处理方法,属于印染水处理技术领域,其技术要点为:印染废水排放到原水沟内散热;接着水泵提升到初沉池内添加废酸和/或废碱反应得到沉淀;随后上层水体排入蓄水池内,加入明矾和活性炭处理装置再次沉淀;随后再次输送到初沉池进行第三次沉淀;然后排入到生化池内,连续曝气后在好氧菌的作用下对水体内的有机物进行分解、吸附和凝聚处理;接着再排入到二沉池内再次沉淀;最后取小样检测COD的含量,当COD在200以下时,排放到市政管网内并经由联合污水处理厂再次处理,合格后即可排入海里。本发明减少了水体中有机物含量,提高了水体的含氧量;同时节约了水资源,提高了印染废水的重复利用率,有助于保护环境和提高水质。

标签:
废水处理
浙江 - 嘉兴 来源:中冶有色网 2023-03-19
园林用废水处理装置
园林用废水处理装置 716     
 0

本实用新型公开了一种园林用废水处理装置,属于园林环保技术领域,包括底座,所述底座顶端左边固定连接有支撑柱a且支撑柱a设置有两组,两组所述支撑柱a顶端固定连接有净化桶a,所述净化桶a顶端中心处开设有进水口,所述净化桶a外侧壁开设有抽槽,所述抽槽内部安装有活性炭吸附抽板,所述净化桶a底部固定连接有连接管b,所述连接管b一端固定连接有水泵且水泵固定连接在底座顶端,所述水泵一侧固定连接有连接管a。本实用新型具有两次净化功能,可以对废水的气味和水质进行净化处理,可以实现废水净化处理后进行再利用的功能,同时该装置可以在用了一段时间后进行有效的清洗处理,这样可以保护该装置使之使用的时间更长。

标签:
废水处理
浙江 - 嘉兴 来源:中冶有色网 2023-03-19
造纸废水微生物厌氧处理装置

本实用新型公开了一种造纸废水微生物厌氧处理装置,包括底座、罐体、出水管和进水管,所述罐体固定焊接在底座顶部,所述出水管固定连接在罐体底部,所述进水管固定连接在罐体一侧底部,所述罐体顶部固定连接有沼气罐,所述沼气罐内腔顶部固定设置有气液分离器,所述沼气罐一侧固定连接有沼气管,所述进水管顶部固定设置有真空泵,且真空泵一端通过管道与罐体相连,所述进水管一端固定连接有一号管,所述一号管一侧固定设置有二号管。本实用新型通过对造纸废水进行加热和搅拌,并通过真空泵对罐体内的氧气进行抽取,从而起到对造纸废气降低含氧量的效果,有利于后期对造纸废水的净化效率,适合被广泛推广和使用。

标签:
废水处理
浙江 - 嘉兴 来源:中冶有色网 2023-03-19
环氧树脂生产废水的处理系统

本实用新型公开了一种环氧树脂生产废水的处理系统,它包括废水收集池,废水收集池通过第一管道和调酸池连接,调酸池通过第二管道和铁碳塔连接,铁碳塔通过第三管道氧化池(芬顿氧化池)连接,氧化池和中和池连接,中和池和反应池连接,反应池通过第四管道和沉淀池连接,沉淀池通过第六管道和综合废水调节池连接,废水调节池连接通过第七管道预酸化池连接,预酸化池通过第八管道和UASB反应器连接,UASB反应器通过第九管道和A/O池连接,A/O池通过第十管道和二沉池连接,二沉池通过第十一管道混凝池连接,混凝池通过第十二管道和三沉池连接,三沉池后接排水管。本实用新型处理后的环氧树脂生产废水能达到排放标准。

标签:
废水处理
浙江 - 嘉兴 来源:中冶有色网 2023-03-19
化纤纺织染色废水处理装置

本实用新型属于废水处理技术领域,尤其为一种化纤纺织染色废水处理装置,包括水箱和盖板,水箱的内部底端固定连接有三个均匀分布的支撑杆,三个支撑杆的上端面均固定连接有第一过滤箱,第一过滤箱的外侧壁上端贯穿设置有多个均匀分布的第二出水口,水箱的下端面贯穿设置有三个均匀分布的通水口,盖板的上端面可拆卸连接有电机支架,电机支架的上端面可拆卸连接有驱动电机,驱动电机的输出端转动连接有转轴,转轴的下端面固定连接有沉淀箱,沉淀箱的外侧壁上端贯穿开设有多个均匀分布的第一出水口,盖板的上端面贯穿设置有孔,盖板的上端面设置有进L型进水管,该种废水处理装置具有体积小、净化速度快、和成本低的特点。

标签:
废水处理
浙江 - 嘉兴 来源:中冶有色网 2023-03-19
臭氧氧化有机废水催化剂

本发明公开了一种臭氧氧化有机废水催化剂,通过以下方法制备得到:将由硅藻土、铁盐、锰盐和硫酸钛组成的原料,按水与原料质量比2~5:1加入水分,并按浓硫酸与原料质量比0.1~0.2:1加入浓硫酸,在搅拌条件下,于40~95ºC反应至少24h,得反应后液固混合物;所述反应后液固混合物进行分离,将滤饼造粒为直径1~10mm的颗粒,置于700~900ºC间焙烧2~6h,得臭氧氧化有机废水催化剂。本发明具有如下的有益效果:(1)降低臭氧氧化有机废水时对pH的依赖度;(2)提高臭氧氧化的效率;(3)所负载的铁盐很稳固,不易脱落。

标签:
废水处理
浙江 - 嘉兴 来源:中冶有色网 2023-03-19
废水处理用净水剂及其生产方法及其使用方法

本发明公开了一种废水处理用净水剂及其生产方法及其使用方法,属于污水处理领域。本发明的絮凝剂成分包括碳酸铝系复合钙硅酸盐、沸石粉、珍珠岩粉和石墨千枚岩粉;其生产方法为:将各原料粉碎至60目以下,先将沸石粉与珍珠岩粉混合搅拌得A,然后将石墨千枚岩粉与A混合搅拌得B,最后将碳酸铝系复合钙硅酸盐与B混合搅拌即得;其使用方法为:将其投入废水中进行充分搅拌混合,分离出沉淀物和上清液,净水剂投加量为废水量的0.1%~0.3%。本发明的净水剂克服现有技术中污水处理成本较高、净化效果不佳的不足,针对各种微生物难以降解的高污染废水能进行高效絮凝处理,且制作成本较低,沉淀物可二次利用处理,不产生次生污染。

标签:
废水处理
浙江 - 嘉兴 来源:中冶有色网 2023-03-19
造纸废水的处理工艺
造纸废水的处理工艺 1041     
 0

本发明提供一种造纸废水的处理工艺包含以下步骤:首先收集造纸废水并滤除悬浮物,然后加入酸化剂实施水解酸化,经过厌氧处理后加入中和剂实施中和反应,在凝沉淀池中加入絮凝剂沉淀,采用砂滤池进行过滤,最后检测合格后排放,采用本发明造纸废水处理工艺处理成本低,处理效率高,净化质量较高,满足再利用的使用要求,广泛应用于造纸废水处理技术领域。

标签:
废水处理
浙江 - 嘉兴 来源:中冶有色网 2023-03-19
低成本印染废水处理剂及其制备方法

本发明公开了一种低成本印染废水处理剂,由以下按照重量份的原料组成:聚丙烯酰胺20‑25份、粉煤灰45‑50份、壳聚糖12‑18份、秸秆粉30‑35份、锯末粉25‑30份、醋酸钠8‑12份、活性麦饭石12‑16份、聚合硫酸铝铁15‑19份、硫酸镁3‑6份、阳离子型淀粉衍生物21‑24份、单硬脂酸甘油酯2‑5份、萤石6‑10份、木质素磺酸钠3‑7份。本发明还公开了所述低成本印染废水处理剂的制备方法。本发明制备的印染废水处理剂具有高效的净化能力,能够有效降低生活污水中的COD、BOD、SS、氨氮及色度,处理效果好,且使用方便,大大降低了印染废水的处理难度。

标签:
废水处理
浙江 - 嘉兴 来源:中冶有色网 2023-03-19
废水处理用催化材料及其制备方法和应用

本发明涉及废水处理技术领域,特别是涉及一种废水处理用催化材料,包括镁改性活性炭载体和负载在所述载体上的活性组分和催化助剂,所述活性组分是MnO2,所述催化助剂是铽掺杂碳点,所述镁改性活性炭载体、活性组分和催化助剂的重量比是100:0.1~10.0:0.01~10.0。所述催化材料部分原材料取自农业副产物,环保低廉,催化材料可对废水中的常规污染物如COD以及腈类、酚类、苯胺类、酰胺类等及抗生素类污染物如甲硝唑和四环素等实现综合、高效降解,催化材料结构稳定且具有较长效的使用寿命。

标签:
废水处理
浙江 - 嘉兴 来源:中冶有色网 2023-03-19
环保型低成本高含油废水处理工艺

本发明公开了一种环保型低成本高含油废水处理工艺,包括以下步骤:将高含油废水通过进水分布区,控制水量落差进入重力沉降反应区,将表面污油通过收油设备收集处理,中路水经沉淀后进入后续处理段,然后采用环保原料对经过重力除油后的中路水进行二次沉降处理;然后再进行生化处理和后处理。本发明与传统的高含油废水处理工艺的主要区别在于:本发明采用改性蒲绒纤维对重力除油后的中路水进行二次沉降处理,该方法不但成本低廉,环保安全,而且对水的除油效果非常好,可以将水中的油含量控制在≤10mg/L。

标签:
废水处理
浙江 - 嘉兴 来源:中冶有色网 2023-03-19
用于高温废水的热回收型净化系统

本实用新型属于废水处理设备技术领域,涉及一种用于高温废水的热回收型净化系统,提供了包括:水洗池,水洗池具有废水出口和回用水进口;换热器,换热器具有热流体通道和冷流体通道,热流体通道的进口端与所述废水出口相连,冷流体通道的出口端与回用水进口相连;储水槽,储水槽的进口端与热流体通道的出口端相连;过滤器,过滤器的进口端与储水槽的出口端相连且过滤器的出口端与冷流体通道的进口端相连。本实用新型的优点在于进出水温差降低,使水中能量能够最大程度的循环利用,降低能源损耗,第一段水洗水出水温度降低,便于后续的废水膜处理,处理效果更好,第二段热交换系统后出水温度提高,减少后续的加温费用。

标签:
废水处理
浙江 - 嘉兴 来源:中冶有色网 2023-03-19
印染废水深度处理剂及其制备方法

本发明制备了一种印染废水深度处理剂及其制备方法,包括以下重量份组分制得:磁性涂层膨润土吸附剂32‑46份、丙烯酸接枝椰子壳纤维24‑38份、氯化铝8‑16份、坡缕石15‑22份。印染废水深度处理剂的制备方法,包括如下步骤:按比例将磁性涂层膨润土吸附剂、丙烯酸接枝椰子壳纤维、氯化铝和坡缕石机械混合均匀,球磨至200目,然后烘干即得。本发明制备得到的印染废水深度处理剂对印染废水中的色度、浊度、COD及BOD都有较好的处理,并且能够很好地去除重金属,处理后的废水完全符合排放要求。

标签:
废水处理
浙江 - 嘉兴 来源:中冶有色网 2023-03-19
用于处理印染废水的壳聚糖新型纳米新材料及其制备工艺

本发明涉及用于处理印染废水的壳聚糖新型纳米新材料及其制备工艺:用硅胶对原料壳聚糖进行交联,再用乙二胺对其进行化学接枝,最后与碳纳米管进行复合,得到用于处理印染废水的壳聚糖新型纳米新材料。本发明提供的用于处理印染废水的壳聚糖新型纳米新材料,具有生物兼容性好、吸附容量高、成本低等优点,且制备工艺简单。

标签:
废水处理
浙江 - 嘉兴 来源:中冶有色网 2023-03-19
环保型医疗废水处理设备

本实用新型公开了一种环保型医疗废水处理设备,其结构包括连接通水管、控制机箱、主机、进水管、进水阀、主机底座、底座横杆、支撑架、机箱杆、MBR膜生物反应器、通水管、出水阀、副机、控制按钮,主机的下端焊接于主机底座的上端且为一体化结构,支撑架的上端右侧机械连接于副机的下端,机箱杆设有两个且下端装设于底座横杆的上端中部,通水管的右端螺纹连接于MBR膜生物反应器的上端左侧,机箱杆的上端螺丝连接于控制机箱的下端,本实用新型的有益效果:通过在设备上增加了MBR膜生物反应器,使医疗废水中细菌、有害物质得以过滤清除,大大地提高了废水处理设备的处理工作能力。

标签:
废水处理
浙江 - 嘉兴 来源:中冶有色网 2023-03-19
废水处理机
废水处理机 920     
 0

一种废水处理机,包括排污管道、收集箱及储水槽,排污管道的上端设置有保护盖,排污管道的底端设置有收集箱和储水槽;收集箱通过废物排出管道与排污管道相连,废物排出管道上设置有排污阀;排污管道内设置有过滤网、轴杆、搅拌装置、档板及振动装置三,过滤网和档板之间设置有轴杆,档板的上端设置有搅拌装置;排污管道内设置有过滤网,过滤网可调节倾斜角度,废水中的异物会被过滤;过滤网的下端设置有挡板,挡板上设置有搅拌装置,挡板也可调节倾斜角度,通过调节角度,废水通过排水装置排出,过滤网通过调节角度将异物倒入挡板上,异物被搅拌装置搅拌粉碎后排入收集箱,该设计提高了废水的处理效率,减少了污染。

标签:
废水处理
浙江 - 嘉兴 来源:中冶有色网 2023-03-19
自清洗的废水树脂捕捉器

本实用新型公开了一种自清洗的废水树脂捕捉器,包括常规的废水树脂捕捉器、转刷驱动装置、联轴器、转刷、上定位器、下定位器和液位控制器,与现有技术相比,本实用新型通过在滤芯外部设置转刷的方式,将滤芯表面的固体废弃物或树脂清掉,保证排水的畅通,避免液位升高;通过在常规的废水树脂捕捉器底部设置排污口的方式,可以将清理下来的固体废弃物或树脂排出,此外,当水处理系统配水装置出现问题时,大量昂贵的离子交换树脂会被废水树脂捕捉器拦截,排污口可作为这些树脂收集口,回收漏出树脂。

标签:
废水处理
浙江 - 嘉兴 来源:中冶有色网 2023-03-19
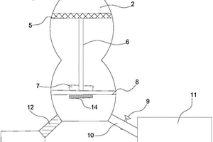
水磨粉生产废水回收利用工艺及设备

本发明是提供一种水磨粉生产废水回收利用工艺及设备,在生产米粉、淀粉、水磨粉等采用水磨工艺制品生产过程中,有大量糖、淀粉溶解物与小颗粒淀粉、米糠夫皮碎屑等物质混在排放的生产废水中;增加了生产成本、污染了环境。通过本工艺及设备回收利用后,使这些有营养成份的生产废水得到充分利用。根据季节不同,可生产甜酒、酵母、食用醋、醋酸菌等多个产品。解决了米粉、淀粉,水磨粉生产废水的排放问题,保护了环境。

标签:
废水处理
浙江 - 嘉兴 来源:中冶有色网 2023-03-19
纺织印染废水的高效处理方法

本发明公开了一种纺织印染废水的高效处理方法,涉及废水处理技术领域,其技术方案要点是包括如下步骤:(1)过滤除杂;(2)氧化处理;(3)一次沉降;(4)厌氧处理;(5)好氧处理;(6)二次沉降;(7)电解处理;(8)混凝沉降将电解处理后的废水引入混凝沉降池内,向混凝沉降池内加入复合脱色剂,沉淀,过滤;其中复合脱色剂包括质量比为1:1‑2.5的无机脱色剂和有机脱色剂;(9)深度过滤;本发明解决了对印染废水脱色率不高,脱色不彻底的问题。利用特定的复合脱色剂,能够边脱色边产生絮凝作用,提高脱色率。

标签:
废水处理
浙江 - 嘉兴 来源:中冶有色网 2023-03-19
印染废水回用设备
印染废水回用设备 1018     
 0

本实用新型涉及一种印染废水回用设备,包括池体,所述池体上横跨有板体,所述板体上设有搅拌装置,所述搅拌装置包括电机和转动连接在板体上且位于池体内的转动轴,所述转动轴远离板体的端部垂直于转动轴设有多个连接杆,多个连接杆位于转动轴的周向位置,多个连接杆远离转动轴的端部于竖直方向垂直于连接杆设有搅拌轴,所述搅拌轴的周向位置上设有多个搅拌叶片,当需要对池体内的废水进行搅拌时,通过驱动电机使得电机带动转动轴转动,转动轴带动连接杆转动使得连接杆上的搅拌轴转动,搅拌轴带动多个搅拌叶片转动,进而对池体内的废水充分搅拌,因搅拌轴为多个,可同时产生转动从而使得池体内的废水搅拌充分,提高了对水解酸化的效果。

标签:
废水处理
浙江 - 嘉兴 来源:中冶有色网 2023-03-19
造纸废水前端除钙系统
造纸废水前端除钙系统 1172     
 0

本实用新型涉及一种造纸废水前端除钙系统,包括废水出料管、废渣回收池、预曝气池、初沉池、调节池和二次沉淀池,废渣回收池上设有过滤网,预曝气池上连接有氧气罐和二氧化碳存储罐,调节池上设有放料筒;本实用新型的优点:通过放料筒向调节池内通入尿素营养盐溶液,尿素营养盐溶液依靠升温催化水解产生的CO32‑,CO32‑与废水中游离钙离子反应生成碳酸钙,并通过二次沉淀池对碳酸钙进行沉淀去除,可将厌氧反应器进水Ca2+浓度由1100~1200mg/L降低至800~1900mg/L,改善厌氧反应器污泥钙化的问题,同时提高了沼气产率和出水水质,减少了废水COD排放量,厌氧出水水质的提高,减轻了后续好氧的处理负荷,减少了能源消耗。

标签:
废水处理
浙江 - 嘉兴 来源:中冶有色网 2023-03-19
沙发革生产过程中的废水处理装置

本实用新型属于机械技术领域,涉及一种沙发革生产过程中的废水处理装置,其解决了现有装置的废水处理效率较低等技术问题。本废水处理装置包括机架和呈环形的筛网,筛网的内端设置有一转盘,机架上设置有与转盘相固连的电机,筛网的下方具有进水管,进水管固定于机架上,进水管上设置有朝向筛网的喷头,进水管的下方设置有集水槽,集水槽上连接有排水管;本废水处理装置还包括位于筛网左上方的清洁柄,清洁柄的中部通过销轴铰接于机架上,清洁柄下表面的两端分别设置有毛刷和磨石,机架上设置有能带动清洁柄绕销轴摆动的驱动源,筛网的左下方设置有集灰斗。本实用新型具有废水处理效率高等优点。

标签:
废水处理
浙江 - 嘉兴 来源:中冶有色网 2023-03-19
上一页 28 29 30 31 32 ... 40 下一页
共40页    到第

中冶有色为您提供最新的浙江嘉兴有色金属环境保护技术理论与应用信息,涵盖发明专利、权利要求、说明书、技术领域、背景技术、实用新型内容及具体实施方式等有色技术内容。打造最具专业性的有色金属技术理论与应用平台!

全国热门有色金属设备推荐
展开更多 +
全国热门有色金属技术推荐
展开更多 +

 

江西省隆恩特环保设备有限公司
宣传

报名参会
更多+

报告下载

有色专家
更多+

中南大学
中国工程院院士
昆明理工大学
校长
江西省科学院应用化学研究所
副主任/副研究员
云南锡业集团(控股)有限责任公司
副总经理
长沙有色冶金设计研究院有限公司
正高级工程师/中国铝业首席工程师/全国有色金属行业设计大师/国家注册采矿工程师
赤泥综合利用研究报告2025
推广

热门技术
更多+

推荐企业
更多+

福建省金龙稀土股份有限公司
宣传

发布

在线客服

公众号

电话

顶部
咨询电话:
010-88793500-807