青岛垚鑫智能科技有限公司
宣传

位置:中冶有色 >

有色技术频道 >

> 加工技术

分类:
全部
矿山技术
冶金技术
材料制备及加工技术
环境保护技术
分析检测技术
 
全部
功能材料技术
复合材料技术
新能源材料技术
合金材料技术
加工技术
地区:
全部
北京
天津
上海
重庆
河北
山西
辽宁
吉林
黑龙江
江苏
浙江
安徽
福建
江西
山东
河南
湖北
湖南
广东
海南
四川
贵州
云南
陕西
甘肃
青海
内蒙
广西
西藏
宁夏
新疆
其他
其他
展开
 
全部
南京
无锡
徐州
常州
苏州
南通
连云港
淮安
盐城
扬州
镇江
泰州
宿迁

江苏扬州有色金属加工技术理论与应用

免费发布技术信息>>
氟掺杂的钛酸锂纳米片的制备方法

氟掺杂的钛酸锂纳米片的制备方法,本发明属于锂离子电池能源材料生产技术领域,通过水热法合成Li4Ti5O12纳米片,能够显著的增加材料与电极的接触面积,进而能够提高材料的电化学性能。氟原子的掺杂使氟原子取代部分晶格氧原子形成Ti?F键,根据电荷守恒,由于F的引入使材料的电荷失去平衡,为了保证材料的电荷守恒,会有部分Ti4+转化为Ti3+,从而增加了材料的导电性。通过F掺杂,取得的产品形貌均一,结晶度好,比表面积大,在高倍率下电化学性能得到了显著提高。

标签:
加工技术
江苏 - 扬州 来源:中冶有色网 2023-03-18
大型光伏发电系统用锂电池储能系统

本实用新型公开了一种大型光伏发电系统用锂电池储能系统,包括锂电池储能集装箱,锂电池储能集装箱包括箱体以及箱门,箱体的侧面设置有观察窗,观察窗处滑动设置有滑动挡板单元,窗框的侧边的下沿处设置有防掉落单元,通过设置了观察窗,方便了工作人员对箱体内的设备运行情况进行观察,在滑动挡板单元上设置了限位块,在窗框上设置防掉落单元,在限位块和防掉落单元的配合下使得滑动单板单元不会掉落,在上滑槽处设置了传感器装置,从而检测是否有人打开了滑动挡板单元,监控装置平时可以监控箱体内的设备运行情况,当有人打开滑动挡板单元后,电机带动监控安装座转动,从而可以使监控装置转动方向拍摄窗外打开滑动挡板单元的人。

标签:
加工技术
江苏 - 扬州 来源:中冶有色网 2023-03-18
新型锂电池装置
新型锂电池装置 995     
 0

本实用新型涉及一种新型锂电池装置,包括壳体主体,所述壳体主体设置成圆弧形,所述壳体主体内侧设置有T型导杆,所述壳体主体内部设置有多个型腔,所述型腔内部设置有多组弹性垫,多组所述弹性垫之间设置有太阳能路灯用锂电池,所述壳体主体上方设置有密封垫圈,所述密封垫圈上方设置有封板,所述壳体主体连接固定块,所述固定块设置有与所述T型导杆相配合的导槽。本实用新型设置的一种新型锂电池装置,安装和运输均比较方便,重复利用率较高,具有一定的防爆以及抗寒保温性能。

标签:
加工技术
江苏 - 扬州 来源:中冶有色网 2023-03-18
锂离子电池游离电解液的萃取方法

本发明提出了一种锂离子电池游离电解液的萃取方法,包括如下步骤:S1、自由悬挂失效的软包电芯,自顶部向电芯内注入2‑5mL萃取剂后封闭注射口;S2、自由悬挂电芯12h,由电芯底部回收残余电解液并封闭回收孔;所述萃取剂包括乙腈或DMC或乙酸乙酯中一种或两种的组合。本发明操作过程简单、溶剂材料易得、无毒无害,可以无损收集失效后锂电池内部游离电解液。

标签:
加工技术
江苏 - 扬州 来源:中冶有色网 2023-03-18
路灯用锂电池原材料的加工平台

本实用新型涉及锂电池技术领域,且公开了一种路灯用锂电池原材料的加工平台,包括底座,所述底座的顶部固定安装有壳体,所述壳体的内壁底部活动安装有滑板,所述滑板的正面开设有滑槽,所述滑槽的内壁活动连接有齿轮板,所述齿轮板的顶部固定安装有平板。该路灯用锂电池原材料的加工平台,通过底座、壳体、滑板、滑槽、齿轮板、支撑块、打磨箱、电机、转动杆、平板、打磨轮、横杆、套杆、限位插销和齿轮的配合使用,可以实现该路灯用锂电池原材料的加工平台的工作区的平板的升降,便于进行原材料加工操作,打磨轮可以对原材料进行打磨,去除原材料表面的氧化物或者杂质,使原材料的使用效果更好,套杆和横杆配合使用,方便打磨操作。

标签:
加工技术
江苏 - 扬州 来源:中冶有色网 2023-03-18
安全性能好的锂电池
安全性能好的锂电池 864     
 0

本实用新型涉及锂电池技术领域,尤其涉及一种安全性能好的锂电池,包括壳体、缓冲弹簧、固定板、固定框、驱动电机和扇叶,所述缓冲弹簧的数量为四个,四个所述缓冲弹簧分别固定连接在壳体左侧壁的四角处,所述固定板固定连接在四个所述缓冲弹簧的一端,所述固定框镶嵌在固定板的中部,所述驱动电机固定连接在固定框的内部。该实用新型中驱动电机工作运行会带动扇叶旋转,加快壳体内部空气的流动,壳体内部在锂电池充放电产生的热量会向上移动,然后会向盖板上的通风口排出,防止壳体在气温降低的情况产生冷凝的现象,同时,缓冲弹簧可以对驱动电机起到缓冲的效果,防止驱动电机工作时产生的晃动,提高了锂电池的使用寿命和安全性。

标签:
加工技术
江苏 - 扬州 来源:中冶有色网 2023-03-18
锂硫电池用多孔碳硫复合正极材料及其制备方法

本发明公开了一种锂硫电池用多孔碳硫复合正极材料,由如下重量份原料制成:35‑50份改性石墨烯多孔碳材料,200‑230份乙二醇,10‑15份掺杂剂,2‑6份炭黑,15‑25份单质硫,225‑250份N‑甲基吡咯烷酮;本发明还公开了一种锂硫电池用多孔碳硫复合正极材料的制备方法;改性石墨烯多孔碳材料具有多孔结构与褶皱形貌,而且不会产生聚集,具有超高的比表面积和孔隙率,能够更多的将硫单质进行负载,本发明制备出的正极材料在使用过程中,超高的比表面积使得该改性石墨烯多孔碳材料能够与电解液充分接触,并且形成双电子层,而且其较高的孔隙率能够为电子的快速转移提供通道,便于电荷传输,进而具有更加优异的导电性能。

标签:
加工技术
江苏 - 扬州 来源:中冶有色网 2023-03-18
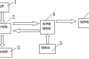
可充电锂电池式通用电池

一种可充电锂电池式通用电池,涉及电池的生产技术领域。包括USB直流电接入端、保护电路、输出电路、电源管理电路和锂电池,可象普通电池一样正常使用,当电压低于保护值的时候,电源管理电路会产生一个信号给保护电路,此时需要用一根数据线连接电池与任意一个USB端口就可以进行充电。

标签:
加工技术
江苏 - 扬州 来源:中冶有色网 2023-03-18
便于安装且安装稳定的UPS应急电源用锂电池

本发明涉及锂电池技术领域,且公开了一种便于安装且安装稳定的UPS应急电源用锂电池,包括安装基座,所述安装基座的内壁固定连接有底板,所述底板的顶部固定连接有托板,所述托板的上方放置有防护框,所述防护框的内侧装设有电池本体,所述电池本体的顶部固定连接有电池接线部,所述电池接线部的外部套设有与电池本体相互抵紧的限位板,所述安装基座的内壁固定连接有托架,所述托架的外部固定连接有与防护框相接触的缓冲块,所述底板的顶部固定连接有伸缩杆,所述伸缩杆的外部套设有支撑弹簧,所述限位板的顶部插接有延伸至安装基座内部的插柱。该便于安装且安装稳定的UPS应急电源用锂电池,实现了便于安装且安装稳定的目的。

标签:
加工技术
江苏 - 扬州 来源:中冶有色网 2023-03-18
具有保护功能的锂电池用外壳

本发明公开了锂电池防护技术领域的一种具有保护功能的锂电池用外壳,包括外壳,所述放置板外壁中心设置有放置槽,所述放置槽内滑动连接有锂电池,所述外壳四周内壁顶部滑动连接有顶盖,在使用时,将锂电池插入放置槽中,然后把顶盖插入到外壳内,再将插杆插入插槽中将顶盖固定,当顶盖继续插入使压板与锂电池顶部接触时,将弹性弓和支撑弹簧压缩,弹性弓和支撑弹簧形变产生的弹力将锂电池抵紧,而复位弹簧形变产生的弹力使三组顶板相互靠近将锂电池夹紧,且连接块在侧板的开槽内上下滑动,限制锂电池的运动轨迹,使锂电池在晃动时只能上下运动,而锂电池上下移动产生的冲击力会被支撑弹簧和弹性弓形变产生的弹力削弱,达到抗震效果。

标签:
加工技术
江苏 - 扬州 来源:中冶有色网 2023-03-18
固相合成锂离子电池负极材料γ-LiFeO2

本发明涉及一种固相合成锂离子电池负极材料γ?LiFeO2,提供了合成锂离子电池负极材料γ?LiFeO2的方法,以Li2CO3和Fe2O3为原料,质量比例为1 : 1,混合均匀后压片,放入马弗炉中并在550–650℃煅烧48小时,获得γ?LiFeO2。还提供使用γ?LiFeO2合成锂离子电池负极材料电池的方法,及γ?LiFeO2的作为合成锂离子电池负极材料的用途。本发明将γ?LiFeO2作为锂离子电池负极活性材料组装电池,并测试它的电化学性能。

标签:
加工技术
江苏 - 扬州 来源:中冶有色网 2023-03-18
锂电池封装盒
锂电池封装盒 1052     
 0

本实用新型提供了一种锂电池封装盒,包括封装盒本体,其中,所述封装盒本体包括上方开口的中空腔体状盒身及与盒身盖合的盒盖,所述盒盖与所述盒身通过固定螺栓固定连接,所述盒盖与所述盒身密封连接,所述盒盖上设有导电端子及防暴孔,所述防暴孔上盖设防爆盖板,所述防爆盖板与所述盒盖通过防爆螺栓连接。本实用新型提供的一种锂电池封装盒的有益效果在于:本实用新型提供的一种锂电池封装盒,盒盖与盒身通过双层密封结构密封,提高了其密封性。

标签:
加工技术
江苏 - 扬州 来源:中冶有色网 2023-03-18
便于装配的锂电池控制装置

本实用新型公开了一种便于装配的锂电池控制装置,包括第一壳体和第二壳体,所述第一壳体的底部以及第二壳体的顶部位置均开设有定位槽,且第一壳体和第二壳体之间通过定位槽填充有密封圈,所述第一壳体的两侧外壁底部以及第二壳体的两侧外壁顶部位置均垂直焊接有挡片,所述第一壳体和第二壳体的两侧外壁前后中间位置均垂直焊接有支柱,位于两侧相邻两组所述支柱相互远离的一端位置之间均焊接有承重板。本实用新型中,锂电池控制装置设有拼接体进行灵活组装,从而为装配提供便利且设有定位结构使得装配的契合度高,同时,提供温度调节通道以对锂电池进行冷却处理,提高锂电池的过热保护性能。

标签:
加工技术
江苏 - 扬州 来源:中冶有色网 2023-03-18
陶瓷复合隔膜及其制备方法和锂离子电池

本发明提供一种陶瓷复合隔膜及其制备方法和锂离子电池。所述陶瓷复合隔膜包括基膜和涂覆在所述基膜表面的混合陶瓷涂层;所述混合陶瓷涂层包括聚合物锂盐、二氧化硅、三氧化二铝、粘接剂、聚偏氟乙烯、分散剂、陶瓷粉体和纳米无机填料。本发明涂覆在基膜表面的混合陶瓷涂层,其表面的颗粒排布较为规律且紧密,进而能够更好地吸收电解液,降低了陶瓷隔膜的内阻,从而缓解电池在循环过程中中央黑斑与边缘膨胀现象,在一定程度上提高了锂离子电池的使用寿命。

标签:
加工技术
江苏 - 扬州 来源:中冶有色网 2023-03-18
基于温度耦合模型的锂离子电池寿命状态估计方法

本发明提供一种基于温度耦合模型的锂离子电池寿命状态估计方法,涉及新能源汽车的电池管理系统技术领域。该基于温度耦合模型的锂离子电池寿命状态估计方法,通过现有的前置条件,判定车辆当前所处状态,根据不同状态获取不同的温度需求信息,根据不同温度下的累计时间和累计放电总安时分别计算温度影响的衰退容量和循环影响的衰退容量,进而求出电池寿命状态SOH,该基于温度耦合模型的锂离子电池寿命状态估计方法,通过对于不同使用频率的电池系统,能够同等地精确估计其寿命状态,不会受到用户使用习惯的影响,工况适应性良好,该方法覆盖整个温度区域,需求数据的可获得性强,算法执行逻辑明确简洁,完全符合目前的工程实际应用场景。

标签:
加工技术
江苏 - 扬州 来源:中冶有色网 2023-03-18
电动车用锂电池放置装置

本发明公开了一种电动车用锂电池放置装置,包括主壳体、顶盖、滑动块、第一弹簧、挡板、电池本体、导热板、散热翅、支撑板、第一连接块、第二弹簧、第二连接块、连接壳、第一固定轴、连接杆、第二固定轴、风机箱、风机、通孔以及固定块。本发明通过固定板与挡板的配合作用,对电池起到了固定效果,导热板以及散热翅,对电池起到散热作用,有利于延长锂电池的使用寿命;该装置内部设有的风机以及通孔,便于及时将热量散发出去,有利于提高锂电池的工作效率;通过第一连接块、弹簧以及第二连接块的配合作用,对装置起到了减震效果,避免装置由于外界震动而导致的损坏,该装置结构简单,效益明显,便于推广使用。

标签:
加工技术
江苏 - 扬州 来源:中冶有色网 2023-03-18
锂电智能型LED太阳能路灯

本发明公开了一种锂电智能型LED太阳能路灯,属于路灯技术领域。本发明一种锂电智能型LED太阳能路灯,LED灯头内的散热扇能够将工作时的热量输送至灯杆内,保证灯头及时散热,延长了路灯的使用寿命;散热管乙将散热扇与蓄电池容纳腔连接,在蓄电池所处环境温度过低时,散热管乙将LED工作时产生的热量输送至蓄电池容纳腔内以提升蓄电池的使用环境温度,既能保证灯头的散热性,又能保证蓄电池的放电效率,合理利用热能;容纳腔内还设有电热装置,当LED工作散发的热量无法保证蓄电池的使用环境温度时,可通过电热装置进一步加热;本发明锂电池使用寿命长,充放电效率高,能够充分利用太阳能,节约能源。

标签:
加工技术
江苏 - 扬州 来源:中冶有色网 2023-03-18
隐蔽式走线的非机动车锂电池安装盒

本发明涉及一种隐蔽式走线的非机动车锂电池安装盒,包括承载箱和封盖,所述封盖盖住承载箱,所述承载箱内部设有若干个电池放置格,相邻电池放置格之间设有散热槽,所述锂电池放置于电池放置格,所述锂电池的正极和负极高于并凸出承载箱,所述封盖设有接通机构,所述接通机构连通各个锂电池的正极和负极。本使用新型,能有效降低内部温度。安装方便,仅需将封盖与承载箱盖合,即完成线缆的接通,减少了电动车安装工人点焊的时间,增进了相邻电池之间电极连接的稳定性,避免了现有技术中使用点焊连接的造成的断裂。

标签:
加工技术
江苏 - 扬州 来源:中冶有色网 2023-03-18
含有洋葱状富勒烯的锂离子电池正极材料及其制备方法

本发明涉及一种含有洋葱状富勒烯的锂离子电池正极材料及其制备方法,包括如下组分以及各组分的质量百分比分别为:锂盐50~55%、洋葱状富勒烯1~4%、导电剂1~3%、粘合剂1~3%、分散剂0.1~0.5%、N‑甲基吡咯烷酮33~48%。该方法为在0MPa压力下,将锂盐、洋葱状富勒烯、导电剂、粘合剂、分散剂至于双行星真空搅拌机内,以20~25r/min的转速搅拌10~15min;在0MPa压力下,向预混完成的粉料中加入NMP,以300~500r/min的转速搅拌20~25min;在‑0.08MPa压力下,以2000~3000r/min的转速搅拌200~300min;在‑0.08MPa压力下,以10~15r/min的转速搅拌15~25min;将混合好的正极浆料过120目筛子,筛去大颗粒杂质。本发明使用洋葱状富勒烯材料可以有效改善正极材料的稳定性,进而提升锂离子电池的循环寿命、降低电池内阻。

标签:
加工技术
江苏 - 扬州 来源:中冶有色网 2023-03-18
散热效果好具有保护功能的锂电池电芯

本实用新型公开了锂电池技术领域的一种散热效果好具有保护功能的锂电池电芯,所述电芯外壳内腔设置有电芯本体,且所述电芯外壳左侧壁设置有前挡板,所述电芯外壳右侧壁设置有后挡板,所述前挡板内壁安装有两个散热风扇,所述电芯本体之间插接有散热铝板,所述液冷管设置于电芯本体两端表面并与其贴附,所述减震外壳表面滑动嵌设有缓冲条,所述缓冲条侧壁等间距设置有弹性缓冲块,且所述缓冲条另一面侧壁对称设置有两个缓冲柱,所述缓冲柱滑动插接于减震套筒内腔,所述减震弹簧另一端与减震套筒内壁固定连接,本实用新型具有散热效果好且能够对锂电池电芯起到保护作用,延长锂电池电芯的使用寿命。

标签:
加工技术
江苏 - 扬州 来源:中冶有色网 2023-03-18
锂离子电池化成时判定元素成膜完成的方法及其应用

本发明提供了一种锂离子电池化成时判定元素成膜完成的方法及其应用,涉及锂离子电池化成的技术领域,本发明的方法通过对锂离子电池在不同化成阶段的负极片进行取样后并进行能谱分析,得到元素含量,再以假设检验来检验不同化成阶段的负极片上元素含量是否发生显著变化来判定元素是否完成成膜反应,能够简单且准确地判断元素在化成中的成膜反应是否已经完成,进而能够为锂离子电池化成工艺的合理制定、优化以及判定化成结束的SOC点提供依据,帮助提升锂离子电池的性能和降低生产成本。

标签:
加工技术
江苏 - 扬州 来源:中冶有色网 2023-03-18
球形偏钛酸锂固体氚增殖材料的制备方法

一种球形偏钛酸锂固体氚增殖材料的制备方法,属于核聚变技术领域,本发明先制备二氧化钛球,再将可溶性锂盐的水溶液与二氧化钛球混合超声处理后进行反应,待反应结束后离心,取固相洗涤,再经烘干后煅烧,取得球形偏钛酸锂。本发明工艺的优点是:反应物乙醇可以回收重复使用,制备成本低廉,设备要求简单,制备周期短。制成的球状偏钛酸锂属于单斜晶型,直径为200nm~400nm,结构较为均一,结晶度好,内部有着孔道结构,有着合理的锂原子密度,活度低,化学稳定性高,与结合材料具有良好的兼容性,复杂的几何球状形貌使得其具有更加良好的热应力和裂变强度。

标签:
加工技术
江苏 - 扬州 来源:中冶有色网 2023-03-18
耐磨的锂电池
耐磨的锂电池 821     
 0

本实用新型公开了一种耐磨的锂电池,涉及锂电池技术领域。一种耐磨的锂电池,包括电池壳体和指示灯,所述电池壳体顶部安装有电池盖,所述电池壳体与电池盖外表面覆盖有耐摩擦层,所述电池壳体与电池盖顶角处通过安装螺钉安装有角保护壳,所述电池壳体棱边处安装有棱边保护壳,所述电池盖上表面中央安装有指示灯,所述电池壳体内部中央连接有渗透隔板,所述渗透隔板两端安装有电池板,所述电池板之间通过连接电极相连,所述电池盖内侧连接有安装架,所述安装架底部安装有壁厚探测器,所述电池盖与电池壳体内壁安装有压变电阻片,所述电池壳体内部安装有电池保护板。本实用新型具有提高耐磨性,自动监测磨损的功能。

标签:
加工技术
江苏 - 扬州 来源:中冶有色网 2023-03-18
提供极柱保护的锂电池
提供极柱保护的锂电池 1082     
 0

本发明公开了一种提供极柱保护的锂电池,包括锂电池本体,所述锂电池本体包括外壳、位于外壳顶端的正极柱和负极柱、位于外壳内部的正极板、负极板、隔膜和电解液;所述外壳的顶端连接有围板,所述围板的顶端固定有盖板,所述盖板和所述围板通过脆弱部连接。本发明的锂电池,通过盖板和保护膜实现对极柱的保护,即时长途运输也不用担心极柱的问题。

标签:
加工技术
江苏 - 扬州 来源:中冶有色网 2023-03-18
具有避震及散热结构的锂电池

本实用新型公开了锂电池技术领域的一种具有避震及散热结构的锂电池,包括放置箱,所述放置板底部四角均焊接有倒T型插杆,所述放置板顶部外壁左右两侧均设置有楔形活动槽,且两组楔形活动槽内滑动连接有锂电池本体,在放置箱内腔的温度上升时,电动推杆伸长启动,使开槽暴露,此时电机带动扇叶旋转,将放置箱内腔热空气通过散热孔排出,同时电动伸缩杆伸缩,带动滑块和电机左右移动,增大了锂电池本体与快速流动的冷空气的接触面积,提高了散热的效率,在放置箱内腔的温度下降到安全值时,电动推杆收缩启动,连接杆下降带动连接块和盖板向前侧移动将开槽闭合,避免外壁灰尘进入开槽内,对过滤层造成堵塞,延长过滤层的清理周期。

标签:
加工技术
江苏 - 扬州 来源:中冶有色网 2023-03-18
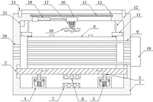
锂电池烘干装置
锂电池烘干装置 904     
 0

本实用新型公开了一种锂电池烘干装置,包括壳体、反射镜、阀门、进气管、空心板、隔热棉、转动轴、电动机、铁架、网板、红外线加热器、排气管、箱盖、放置箱、排气孔、温度表、电源开关、电源箱、卡槽和透明塑料箱门。本实用新型结构简单,使用方便,采用红外线加热器进行加热,并在壳体内壁安装反射镜,充分利用了能源;旋转加热的方式,不仅使锂电池受热更加均匀,而且加快了烘干速度;通过排气管排出的热气流对放置箱内的锂电池进行预加热,不仅有效减少了能源浪费,而且减少了锂电池的烘干时间,提高了烘干效率。

标签:
加工技术
江苏 - 扬州 来源:中冶有色网 2023-03-18
新型硅碳复合负极的锂电池

本实用新型公开了一种新型硅碳复合负极的锂电池,涉及锂电池技术领域,为解决现有的硅碳复合负极锂电池电芯极耳与集电箔的焊接,难以确保足够的焊接强度,不能及时观察电池是否损坏的问题。所述锂电池主体的外部设置有尼龙层,所述尼龙层的内部设置有第一粘合涂层,所述第一粘合涂层的内部设置有铝箔,所述铝箔的内部设置有转化膜层,所述转化膜层的内部设置有第二粘合涂层,所述第二粘合涂层的内部设置有聚烯烃层,所述聚烯烃层的内部设置有电芯,所述电芯上端的两侧均安装有极耳,所述极耳的外部安装有绝缘片,所述电芯的内部设置有电解液,所述电解液的外部安装有PET保护膜,所述电芯的内部安装有正极片。

标签:
加工技术
江苏 - 扬州 来源:中冶有色网 2023-03-18
锂电池盖帽焊接装置
锂电池盖帽焊接装置 1191     
 0

本实用新型公开了锂电池盖帽焊接装置,属于机械领域,包括立杆,所述立板顶部固定连接有立柱,所述立柱之间固定连接有横板,所述横板底部可拆卸连接有液压器,所述液压器底部两侧活动连接有弹簧,所述弹簧一端可拆卸连接有斜杆A,所述横块内侧活动连接有壳体,所述立板一侧可拆卸连接有电动伸缩杆,横板底部可拆卸连接有液压器,而液压器通过底部两侧可拆卸连接的弹簧与斜杆A进行配合连接,通过斜杆A一端固定连接的横块对壳体进行夹紧,形成一个夹取措施,两个立板的内侧可拆卸连接有电动伸缩杆,即需要对锂电池整体进行固定时,电动伸缩杆工作带动一端固定连接的挡板向内进行移动,即可对锂电池主体进行夹紧,即进行有效固定。

标签:
加工技术
江苏 - 扬州 来源:中冶有色网 2023-03-18
氧化石墨烯负载柱五芳烃锂硫电池隔膜、制备方法及其应用

本发明公开了一种氧化石墨烯负载柱五芳烃锂硫电池隔膜、制备方法及其应用,通过将胺基化柱五芳烃负载到氧化石墨烯溶液上形成胺基化柱五芳烃负载氧化石墨烯溶液,将其与一定量的乙醇溶液混合,通过抽滤将混合溶液在锂硫电池隔膜Celgard 2400上抽干,最后真空干燥后得到所述材料。该隔膜材料有较好的电化学优势,且能有效的阻止多硫化物流向锂硫电池负极。

标签:
加工技术
江苏 - 扬州 来源:中冶有色网 2023-03-18
电瓶车锂电池的防盗保护装置

本发明公开了一种电瓶车锂电池的防盗保护装置,包括壳体、底座、电机、主齿轮、第一扇叶、副齿轮、皮带、第二扇叶、锂电池、支撑板、转动杆、第一弹簧、压板、第一开关、螺杆、第二弹簧、推板和第二开关。该电瓶车锂电池的防盗保护装置的结构简单,使用方便,安全性能强,通过开关的控制很好的防止了锂电池被盗的风险,避免了财产的损失,且开关都安装在壳体和底座的内部,很好的降低了被盗的风险;在天气炎热时,通过扇叶的转动使得壳体内部的空气流通,可以很好的对锂电池进行降温,降低了锂电池因高温而毁坏的风险,避免了财产的损失和对人员的伤害,可以放心使用。

标签:
加工技术
江苏 - 扬州 来源:中冶有色网 2023-03-18
上一页 25 26 27 28 29 ... 41 下一页
共41页    到第

中冶有色为您提供最新的江苏扬州有色金属加工技术理论与应用信息,涵盖发明专利、权利要求、说明书、技术领域、背景技术、实用新型内容及具体实施方式等有色技术内容。打造最具专业性的有色金属技术理论与应用平台!

全国热门有色金属设备推荐
展开更多 +
全国热门有色金属技术推荐
展开更多 +

 

江西省隆恩特环保设备有限公司
宣传

报名参会
更多+

报告下载

有色专家
更多+

昆明理工大学
教授
江西省科学院应用化学研究所
副主任/副研究员
矿冶科技集团
中国工程院院士
中国有色金属工业协会
副会长兼秘书长
北京科技大学
副院长/教授
赤泥综合利用研究报告2025
推广

热门技术
更多+

推荐企业
更多+

福建省金龙稀土股份有限公司
宣传

发布

在线客服

公众号

电话

顶部
咨询电话:
010-88793500-807