青岛垚鑫智能科技有限公司
宣传

位置:中冶有色 >

有色技术频道 >

分类:
全部
矿山技术
冶金技术
材料制备及加工技术
环境保护技术
分析检测技术
 
全部
功能材料技术
复合材料技术
新能源材料技术
合金材料技术
加工技术
地区:
全部
北京
天津
上海
重庆
河北
山西
辽宁
吉林
黑龙江
江苏
浙江
安徽
福建
江西
山东
河南
湖北
湖南
广东
海南
四川
贵州
云南
陕西
甘肃
青海
内蒙
广西
西藏
宁夏
新疆
其他
其他
展开
 
全部
南京
无锡
徐州
常州
苏州
南通
连云港
淮安
盐城
扬州
镇江
泰州
宿迁

江苏无锡有色金属材料制备及加工技术理论与应用

免费发布技术信息>>
卷绕式电芯及电池
卷绕式电芯及电池 1206     
 0

本发明公开了一种卷绕式电芯和含有此种结构的卷绕式电芯的锂离子二次电池。该电池与传统的卷绕式电池比较,具有体积小、重量轻、节省物料成本、能量密度高、比能量高等特点,适合作为消费类电子产品、储能系统、动力系统的电源,尤其适合飞行器、电动车辆等需要大电流高倍率充放电的用电设备。

标签:
加工技术
江苏 - 无锡 来源:中冶有色网 2023-03-19
含Co的石墨烯负极材料的制备方法

本发明涉及一种含Co的石墨烯负极材料的制备方法,将氧化石墨烯水溶液抽滤成膜并还原后,得到自支撑的石墨烯膜,然后通过溶剂热?热分解法在石墨烯膜的表面生长出多孔的Co3O4纳米片阵列,得到自支撑的Co3O4纳米片/石墨烯复合膜材料。本发明的复合膜用作锂离子电池负极材料,在200mA/g的电流密度下,经200次循环后,可逆容量高达953mAh/g,倍率性能测试中,电流密度从100mA/g逐渐增大到2000mA/g,在这些不同的电流密度下分别循环10次后再返回到100mA/g的电流密度时,其可逆容量恢复到950mAh/g,表现出较纯石墨烯膜和纯Co3O4粉末更为优异的电化学性能。

标签:
加工技术
江苏 - 无锡 来源:中冶有色网 2023-03-19
浮萍式水上充电桩
浮萍式水上充电桩 1285     
 0

本发明涉及一种浮萍式水上充电桩,属于水上充电桩应用技术领域。在固定桩柱的上方安装滑动升降壳体,在滑动升降壳体的两侧分别安装连接杆、浮体和太阳能电池板。当水面升高时,浮力使连接杆、浮体、太阳能电池板、安装在滑动升降壳体内部的光伏控制器、电路控制装置和锂离子电池及安装在滑动升降壳体顶部的导电线、充电枪支架和充电枪随着水位的升高而升高,同时安装在滑动升降壳体内壁上的滑轨沿着安装在固定桩柱外壁上的滑动滚轮向上移动。当水位降低时,滑轨沿着滑动滚轮向下移动,相关部件同步向下移动。太阳能电池板始终露在水面上接受太阳光的照射产生电流,电流通过导电线、光伏控制器、电路控制装置、充电枪向小型电动游船供应电力。

标签:
加工技术
江苏 - 无锡 来源:中冶有色网 2023-03-19
基于新三网融合的新型手铐节点

本发明公开了一种基于新三网融合的新型手铐节点,其在加强了手铐铐锁安全性的同时能够主动、全天候、实时的监控定位技术来监控罪犯,并可提前预知罪犯行为轨迹,从而实现对罪犯的精细化管理。其包括手铐本体,铐体,锁体和活动卡环,所述的铐体内部安装有无线收发模块,所述的无线收发模块利用可充电锂电池板供电,所述的无线收发模块连接电量检测电路、加速度传感器和信号灯;所述的锁体上设置有指纹锁与电子滚码锁,所述的指纹锁与电子滚码锁均与所述的无线收发模块连接。

标签:
加工技术
江苏 - 无锡 来源:中冶有色网 2023-03-19
带纳米级二氧化钛光催化网微型空气净化器的防雾霾头罩

本发明涉及带纳米级二氧化钛光催化网微型空气净化器的防雾霾头罩,属于新能源劳护用品空气净化技术领域。室外雾霾空气中的人戴着防雾霾头罩,污染空气经过活性炭过滤网过滤和电风扇加快进气进入进气管,锂离子电池向安装在LED紫外灯支架上的LED紫外灯供电,LED紫外灯射出的光线照射纳米级二氧化钛光催化网中的纳米级二氧化钛,增强了半导体光催化剂纳米级二氧化钛吸附、降解有机污染物和无机污染物的能力,结合使用医疗级HEPA过滤网、纳米银离子抗菌涂料、纳米大气净化涂料技术,进入的空气通过通气孔甲进入微型空气净化器处理成洁净空气,洁净空气通过通气孔乙进入洁净空气储藏室和洁净空气供气管供给人的呼吸,保护人的头部。

标签:
加工技术
江苏 - 无锡 来源:中冶有色网 2023-03-19
便携式电源供电生态系统

本发明便携式电源供电生态系统,包括直流电器、主底座和扩展底座,所述主底座与扩展底座并联,所述主底座与扩展底座为直流电器提供直流电,所述直流电器、主底座和扩展底座自上而下安装,所述主底座兼容通过太阳能板或适配器或车充进行充电,可直接连接直流电器供电。所述主底座内设有锂电池、BMS以及充电管理模块、DCDC输出模块,开关、电量显示模块和LED灯。本发明将光伏充电、车充、适配器、充电器的充电电路以及输出模块集成在直流电池内,实现了随时随地,利用直流光伏、车载直流点烟器、电网交流充电的多用途充电,实现未来用户多元化的输出使用。

标签:
加工技术
江苏 - 无锡 来源:中冶有色网 2023-03-19
固态电解质及其制备方法和固态电池

本发明涉及电池技术领域,具体而言,涉及一种固态电解质及其制备方法和固态电池。本发明的固态电解质的化学式包括Li7‑3x‑yP1‑xZrxS6‑4x‑yMyF4x,其中,M包括Cl、I和Br中的一种或多种;0.01≤4x+y≤5.9,x>0,y≥0。本发明通过对LiPSM体系硫化物电解质进行掺锆、掺氟,得到的目标电解质在保持较高电导率条件下,其氧化电位及对锂稳定性均大幅度提升,大幅度提高其在全固态二次电池中的材料化学以及电化学稳定性,可大幅度提升正极活性材料的容量发挥以及整个电池的能量密度和性能。

标签:
加工技术
江苏 - 无锡 来源:中冶有色网 2023-03-19
硅基负极浆料及其制备方法和应用

本发明提供一种硅基负极浆料,所述硅基负极浆料包括硅基活性物质、PEDOT/PSS分散液和粘结剂的组合;所述PEDOT/PSS分散液中的PEDOT/PSS复合材料可以包覆在硅基活性物质的表面形成包覆层,且包覆层具有良好的柔性和优异的导电性;当硅基活性物质发生体积变化时,包覆层不会发生脱落和变形,进而可以保证利用所述硅基负极浆料制备得到的硅基负极极片具有较低的体积电阻率,且采用所述硅基负极极片制备得到的锂离子电池具有较低的DCR以及较高的循环容量保持率,具有重要的研究价值。

标签:
加工技术
江苏 - 无锡 来源:中冶有色网 2023-03-19
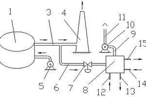
工业窑炉烟气余热制冷供热系统

本发明涉及一种工业窑炉烟气余热制冷供热系统,该系统包括工业窑炉(1)、送风机(5)、窑炉排烟烟道(3)和窑炉烟囱(4),其特征在于:所述系统增设有烟气余热型溴化锂吸收式制冷机、引风机(10)、溴冷机进烟管(6)和溴冷机排烟管(9),其中,溴冷机进烟管(6)的烟气进口端连接在窑炉排烟烟道(3)上,溴冷机进烟管(6)上设置有烟气阀(7),引风机(10)设置在溴冷机排烟管(9)上,引风机(10)的烟气出口端安装连接有引风机排烟烟囱(11)。本发明能使工业窑炉的燃料热量利用率得到大幅度提高。

标签:
加工技术
江苏 - 无锡 来源:中冶有色网 2023-03-19
太阳能光伏发电系统应用在陆上采油机上的供电装置

本发明涉及一种太阳能光伏发电系统应用在陆上采油机上的供电装置,属于新能源应用技术领域。太阳光照射太阳能电池板产生的直流电通过导电线进入控制器,通过控制器输出的直流电既可以输入锂离子电池贮存备用,也可以输入逆变器转换成交流电;交流电输入陆上采油机底座上的配电箱后、接着输入电动机,将电能转换机械能,用作为陆上采油机的各个部件的工作动力,陆上采油机各个部件运动的最后工序是驴头的上下往返运动、带动悬绳器的上下往返运动,悬绳器连结活塞在经过射孔处理的钻井油管中将石油从地层深处采集到地面上的储油罐中。本发明用太阳能光伏清洁能源电力取代有污染的燃煤发电化石能源电力用作为陆上采油机的工作动力。

标签:
加工技术
江苏 - 无锡 来源:中冶有色网 2023-03-19
柴油发电与风电互补应用在插秧机上的混合动力装置

本发明涉及一种柴油发电与风电互补应用在插秧机上的混合动力装置,属于新能源农业机械“绿色”技术领域。采用柴油发电机输出的电流和风力发电系统产生的电流一起向电动机提供混合动力。柴油发电机运转时,输出的电力通过金属导电线输入电动机;微型风力发电机在风速达到每秒3米时开始运转输出直流电,直流电通过控制器的调整后进入逆变器转换成交流电,交流电输入电动机提供工作动力,也可以输入锂离子电池储存备用;插秧机工作时,将电能转换成机械能,接着通过传动带,将机械能输送到插秧装置,通过插秧装置里各个部件的运动来完成插秧机在水田中的行走和运送、抓取、栽插水稻秧苗的多道工序。

标签:
加工技术
江苏 - 无锡 来源:中冶有色网 2023-03-19
基于改进区间求逆滤波的电池SOC状态估计方法

本发明公开了一种基于改进区间求逆滤波的电池SOC状态估计方法,属于锂电池生产技术领域。所述方法针对现有采用区间求逆方法估计SOC状态的方法中,在搜索状态变量区间集合的可行域时,每次需要计算八个方向的顶点值并进行多次的比较得到此区间盒子的最大值和最小值,计算量过大,占用了很多计算资源,无法满足快速估计的要求的问题,本申请方法通过设置位移算子,首先确定搜索方向,进而只需要在一个方向上进行搜索,大大降低了计算量。

标签:
加工技术
江苏 - 无锡 来源:中冶有色网 2023-03-19
智能实心球
智能实心球 885     
 0

本发明公开一种智能实心球,包括实心球壳体、实心球控制主板以及可充电锂电池;所述实心球壳体上开设有充电孔,所述充电孔与实心球控制主板上设置的充电接口相对应;所述实心球壳体上设置有透明区,所述透明区下方设置有显示屏和按键组;所述显示屏和按键组连接实心球控制主板;所述实心球控制主板上设置有陀螺仪传感器、电子罗盘、加速度传感器、微控制器、电池充放电芯片、电池管理芯片及无线通讯模块。本发明可采集实心球投掷后的运动信息,通过显示屏显示及语音播报投掷成绩;实心球投掷信息可实时发送到教员手机上,供教员根据投掷曲线有针对性对学生进行指导;通过充电接口可以随时充电,还可通过数据线导出成绩,方便易用。

标签:
加工技术
江苏 - 无锡 来源:中冶有色网 2023-03-19
钨铊共掺杂镍钴铝三元正极材料及其制备方法

本发明公开一种钨铊共掺杂镍钴铝三元正极材料的制备方法,包括如下步骤:将可溶性镍盐、可溶性钴盐和可溶性铝盐按金属摩尔比溶解在水中,得到溶液A;将可溶性铊源加入溶液A中混合均匀,得到溶液B;将碱液、络合剂并流加入溶液B中,控制pH为10~12,保温反应,随后经固液分离、水洗、干燥,得到铊掺杂镍钴铝前驱体;将氢氧化锂溶解在水中,加入钨源并混合均匀,随后加入铊掺杂镍钴铝前驱体,混合均匀得到浆料C,然后蒸发结晶,得到结晶产物;将结晶产物进行烧结,得到钨铊共掺杂镍钴铝三元正极材料。本发明通过向镍钴铝正极材料掺杂铊、钨,以此细化正极材料的一次颗粒,提高材料的倍率性能。

标签:
加工技术
江苏 - 无锡 来源:中冶有色网 2023-03-19
用于氮碳氧共渗技术的渗氮剂及其制备方法

本发明涉及氮碳氧共渗技术的渗氮剂技术领域,提供了一种用于氮碳氧共渗技术的渗氮剂及其制备方法,包括以下质量分数:C3N3Na3O3,5~8%;KCNO,15~25%;NaCNO,15~28%;Na2CO3,10~15%;K2CO3,10~15%;KCL,15~18%;CeCl3,1~3%;La2(CO3)3,1~3%;LI2CO3,3~5%。本发明克服了现有技术的不足,解决了现有的渗氮剂生产共晶反应时效时间长,成品收得率低,密度高、稳定性差的问题,本发明中的渗氮剂以三聚氰酸钠、氰酸盐、碳酸盐为基础原料,以氯化盐稀土和碳酸盐稀土为催化剂,以碳酸锂为高温稳定剂,以氯化钾为平衡剂,以硫酸铝钾为缓蚀剂和絮凝剂,按熔融理论形成共晶反应,且在熔炼过程种,以氰尿酸为媒介材料采用融化中间体的方式解决共晶的难题,得到品质稳定、渗速可控的环保型渗氮剂配方。

标签:
加工技术
江苏 - 无锡 来源:中冶有色网 2023-03-19
高绝缘强度黑色聚酰亚胺复合膜及其制备方法

本发明涉及一种高绝缘强度黑色聚酰亚胺复合膜,其特征在于,由第一黑色聚酰亚胺膜层与第二黑色聚酰亚胺膜层复合而成,绝缘强度为160kv/mm以上。本发明的高绝缘强度黑色聚酰亚胺复合膜具有极优异的绝缘强度和遮光性能,层间结合力高不发生层间剥离现象,可广泛用于智能手机、显示器、锂电池组件等领域。

标签:
加工技术
江苏 - 无锡 来源:中冶有色网 2023-03-19
金属硒化物/C/B复合包覆的正极材料及其制备方法

本发明适用于锂电池正极材料技术领域,提供一种金属硒化物/C/B复合包覆的正极材料及其制备方法,通过使用高离子电导率的金属硒化物包覆镍钴锰三元单晶型正极材料,提升其倍率性能,然后再在外层包覆多孔无定型碳/碳化硼,控制金属硒化物的穿梭效应,将材料与电解液隔离的同时,增加了离子传输通道,提升材料的倍率性能和循环性能;同时由于碳包覆层的存在可减少正极中导电剂的使用量,从而降低正极质量,提升电池的质量能量密度,解决了由于导电剂分散不均而引起内阻增加的问题。

标签:
加工技术
江苏 - 无锡 来源:中冶有色网 2023-03-19
通过多元包覆改性高镍三元正极材料的制备方法

本发明公开了一种通过多元包覆改性高镍三元正极材料的制备方法,包括以下步骤:1)、以高镍三元正极材料LiNixC0yMn1‑x‑yO2(0.6≤x≤0.85、0.05≤y≤0.2)为基体,加入含铝包覆物A和含硼包覆物B,放入高速混合机内均匀混合;2)、将混合物进行低温富氧烧结,以3‑7℃/min的速率升温至350‑700℃后保温5‑10小时后自然冷却,经过除铁过筛后得到改性后的高镍三元正极材料。本发明采用的固相法使得高镍三元材料被以上两种金属元素均匀的包覆,可有效改善材料中的游离锂,稳定晶体的结构,有效的阻隔材料及电池电解液发生的腐蚀反应;工艺简单,对设备要求低,实用性强,可批量化生产。

标签:
加工技术
江苏 - 无锡 来源:中冶有色网 2023-03-19
医用673nm、750nm双波长光纤输出激光器

一种医用673nm、750nm双波长光纤输出激光器,在750nm激光输出光纤尾段设置750nm分束光纤圈,分束一路750nm激光输出,信号光673nm、闲频光750nm、泵浦光I?1064nm与泵浦光II?532nm进入673nm四波混频周期极化铌酸锂激光谐振腔,发生四波混频效应,产生信号光673nm输出,最后输出673nm、750nm双波长光纤激光输出。

标签:
加工技术
江苏 - 无锡 来源:中冶有色网 2023-03-19
智能老年人用腿部肌肉锻炼运动器械

本发明涉及智能老年人用腿部肌肉锻炼运动器械,属于老年人用品制造技术领域。仰卧的老年人的臀部下面放置臀部垫板,在臀部垫板内的中部安装信息储存处理器和锂离子电池,在臀部垫板内的右部安装右压力传感器和右计数显示器,在右压力传感器的下方安装右弹力绳和右脚蹬板,在臀部垫板内的左部安装左压力传感器和左计数显示器,在左压力传感器的下方安装左弹力绳和左脚蹬板。老年人右脚踩右脚蹬板,右腿做伸屈运动,左脚踩左脚蹬板,左腿做伸屈运动。腿部肌肉的伸屈运动数据通过压力传感器转换成电信号信息分别输入计数显示器和信息储存处理器,在信息储存处理器内进行储存、计算、分析和处理,通过智能管控来使用腿部肌肉锻炼运动器械。

标签:
加工技术
江苏 - 无锡 来源:中冶有色网 2023-03-19
切条机机架材料
切条机机架材料 893     
 0

本发明涉及一种切条机机架材料,按重量份数计,它包括铁50‑60份、铜18‑22份、锰5‑10份、氧化锌5‑10份、钴3‑5份、氧化锂2‑3份和碳化硅0.3‑0.4份。本发明配比精确,易加工,产品机械性能优异。

标签:
加工技术
江苏 - 无锡 来源:中冶有色网 2023-03-19
智能安全防火窗
智能安全防火窗 1165     
 0

本发明涉及家用设备技术领域,尤其为一种智能安全防火窗,包括防火窗主体,防火窗主体包括窗体以及与窗体固定连接的换气结构,窗体内嵌入设置有防火玻璃,第一风扇与第二风扇之间安装有检测装置,换气结构与室外连接的一侧安装有与第一风扇和第二风扇位置相对应的百叶扇,检测装置包括自控装置和烟雾进入孔,自控装置由AC‑DC电源转换模块、充电控制器、锂电池、稳压电路、烟雾传感器、光敏模块、报警装置、开关控制电路、单片机控制电路组成。本发明采用烟雾感应控制,一旦发生火灾危险,其内部的电子控制电路便会及时警醒人们,会发出警报,自动开启换气风扇并警报告知屋内人员采取灭火措施或者打开窗户通风,达到最佳的警报与通风措施。

标签:
加工技术
江苏 - 无锡 来源:中冶有色网 2023-03-19
用于制备空气软管的丁苯橡胶

本发明公开了一种用于制备空气软管的丁苯橡胶,其由下列重量份的原料制成:SBR 160‑170份、丁腈橡胶50‑60份、氟橡胶50‑55份、聚氧乙烯醚10‑15份、二盐基亚磷酸铅3‑8份、引发剂1‑5份、过硫酸钾2‑6份、交联剂2‑6份、苯磺酸类催化剂3‑5份、松焦油5‑10份、聚乙二醇辛基苯基醚10‑15份、三氟甲基磺酸锂8‑10份、增塑剂6‑9份、聚乙烯蜡10‑15份、羟丙基纤维素12‑18份。本发明的用于制备空气软管的丁苯橡胶的物理机械性能高,耐化学腐蚀性强,而且气渗透性低,减低看渗透和污染的问题。

标签:
加工技术
江苏 - 无锡 来源:中冶有色网 2023-03-19
激光雷达用2009nm、905nm双波长光纤输出激光器

一种激光雷达用2009nm、905nm双波长光纤输出激光器,在905nm激光输出光纤尾段设置905nm分束光纤圈,分束一路905nm输出,信号光2009nm、闲频光785nm、泵浦光I?1500nm与泵浦光II?905nm进入2009nm四波混频周期极化铌酸锂激光谐振腔,发生四波混频效应,产生信号光2009nm输出,最后输出2009nm、905nm双波长光纤激光输出。

标签:
加工技术
江苏 - 无锡 来源:中冶有色网 2023-03-19
激光雷达用808nm、872nm、1319nm、1500nm四波长光纤输出激光器

一种激光雷达用808nm、872nm、1319nm、1500nm四波长光纤输出激光器,在1500nm激光输出光纤尾段设置1500nm分束光纤圈,分束一路1500nm激光输出,在1319nm激光输出光纤尾段设置1319nm分束光纤圈,分束一路1319nm激光输出,在808nm激光输出光纤尾段设置808nm分束光纤圈,分束一路808nm输出,信号光872nm、闲频光1500nm、泵浦光I?1319nm与泵浦光II?808nm进入872nm四波混频周期极化铌酸锂激光谐振腔,发生四波混频效应,产生信号光872nm输出,最后输出808nm、872nm、1319nm、1500nm四波长光纤激光输出。

标签:
加工技术
江苏 - 无锡 来源:中冶有色网 2023-03-19
化纤切片的均匀干燥工艺

本发明公开了一种化纤切片的均匀干燥工艺,包括以下步骤:(1)采用冷冻干燥机对干燥风进行一级脱湿;(2)采用微热再生式干燥机和氯化锂脱湿器对经一级脱湿之后的干空气进行二级脱湿,并加上油雾过滤器以除去空气中少量油和水汽;(3)将二级脱湿后的干空气通入干燥塔中干燥化纤切片得到含水率稳定在≤20ppm的干切片。采用本发明所述的工艺干燥的切片干燥均匀不粘连,能满足涤纶FDY超细旦丝等差别化纤维的生产要求,满足生产高附加值纤维的要求,促进了差别化纤维的发展。

标签:
加工技术
江苏 - 无锡 来源:中冶有色网 2023-03-19
取代异吲哚啉的合成方法

本发明公开了一种取代异吲哚啉的合成方法,所述方法包括对Boc保护的异吲哚啉酮与格式试剂或者金属锂试剂反应,得到一种酮或半缩醛的中间体,酮或半缩醛经过还原得到一种醇的中间体,最后通过羟基活化形成易离去基团并在较为温和的条件进一步合环,得到取代异吲哚啉。本方法操作简便、可以实现实验室的快速制备。

标签:
加工技术
江苏 - 无锡 来源:中冶有色网 2023-03-19
新型躺卧位雾化器
新型躺卧位雾化器 1014     
 0

本发明公开了一种新型躺卧位雾化器,包括杯体、第一风管、第一托板、第二托板、药液盒、密封盖、雾化混合腔、第三风管、喷头、进液管接头、进液管、进液头、净化水箱、排污管、压缩机、锂电池、第二风管、出雾管、面罩、杯盖和加药口。本发明当被雾化者平躺时,进液头受重力作用,会跟随药液移动,使得雾化一直进行,避免了雾化时被雾化者一直保持坐位或者半卧位情况的发生,使得被雾化者可以以较为舒适的姿势接受雾化治疗,本发明含有净化水箱,净化水箱内的净化水可净化空气中杂质,避免雾化治疗时,杂质被吸入肺部,保障了被雾化者的身体健康。

标签:
加工技术
江苏 - 无锡 来源:中冶有色网 2023-03-19
导电型石墨烯片浆料的制备方法

本发明公开了一种导电型石墨烯片浆料的制备方法,该制备方法包括膨胀石墨的制备、氧化石墨的制备,氧化石墨的提纯净化,采用微波机械剥离生成氧化石墨烯,将氧化石墨烯,硝酸镍和硝酸铁,超导电硫化铜粉末制备石墨烯‑NiFe2O4‑CuSA浆料。采用该发明方法制备的石墨烯片浆料具有优良的导电型,石墨烯厚度在1~9nm,保证了石墨烯优良的性能,主要用于锂离子电池的正极浆料中。

标签:
加工技术
江苏 - 无锡 来源:中冶有色网 2023-03-19
梯度烧结气相氟掺杂改性高镍正极材料的制备方法

本发明公开了一种梯度烧结气相氟掺杂改性高镍正极材料的制备方法,包括以下步骤:1)将锂源与高镍充分混合均匀;2)、置于气氛炉中先快速的升温速度升至480~530℃,再慢速升温速度升至700‑800℃保温8‑15h,并持续通入高纯氧气,保持炉内微正压;3)、然后降温速度降至550‑650℃保温4‑8h,并关闭高纯氧气,通入高纯氟气,流炉内保持微正压;4)、自然冷并关闭进气及排气口,使炉内无气氛流通;5)、取出处理后得到目标产品。本发明表面掺杂均匀性及一致性更好;采用梯度烧结技术,保证了高镍材料在烧结过程中Ni2+能被充分氧化为Ni3+,提高了材料的比容量及循环性能。

标签:
加工技术
江苏 - 无锡 来源:中冶有色网 2023-03-19
上一页 24 25 26 27 28 ... 500 ... 786 下一页
共786页    到第

中冶有色为您提供最新的江苏无锡有色金属材料制备及加工技术理论与应用信息,涵盖发明专利、权利要求、说明书、技术领域、背景技术、实用新型内容及具体实施方式等有色技术内容。打造最具专业性的有色金属技术理论与应用平台!

全国热门有色金属设备推荐
展开更多 +
全国热门有色金属技术推荐
展开更多 +

 

江西省隆恩特环保设备有限公司
宣传

报名参会
更多+

报告下载

有色专家
更多+

郑州大学
中国工程院 院士
西北稀有金属材料研究院宁夏有限公司
党委书记 / 董事长
有研科技集团有限公司
中国工程院 院士
北京科技大学
教授
中南大学
教授、博士生导师
赤泥综合利用研究报告2025
推广

热门技术
更多+

推荐企业
更多+

福建省金龙稀土股份有限公司
宣传

发布

在线客服

公众号

电话

顶部
咨询电话:
010-88793500-807