青岛垚鑫智能科技有限公司
宣传

位置:北方有色 >

有色技术频道 >

分类:
全部
矿山技术
冶金技术
材料制备及加工技术
环境保护技术
分析检测技术
 
全部
功能材料技术
复合材料技术
新能源材料技术
合金材料技术
加工技术
地区:
全部
北京
天津
上海
重庆
河北
山西
辽宁
吉林
黑龙江
江苏
浙江
安徽
福建
江西
山东
河南
湖北
湖南
广东
海南
四川
贵州
云南
陕西
甘肃
青海
内蒙
广西
西藏
宁夏
新疆
其他
其他
展开
 
全部
南京
无锡
徐州
常州
苏州
南通
连云港
淮安
盐城
扬州
镇江
泰州
宿迁

江苏无锡有色金属材料制备及加工技术理论与应用

免费发布技术信息>>
应用于智慧交通的多功能智能识别终端

本发明公开一种应用于智慧交通的多功能智能识别终端,包括机体,所述机体上设有LED显示屏和车票识别结构,所述机体通过传输信号传输结构与服务器连接,所述机体内部设有卫星定位模块和锂离子蓄电池,所述机体下方设有分体式身份识别结构,所述分体式身份识别结构上设有身份证识别模块、指纹识别模块和录音模块,所述分体式身份识别结构下端设有手托。

标签:
加工技术
江苏 - 无锡 来源:北方有色网 2023-03-19
环保塑料包装袋的制备方法

本发明公开了一种环保塑料包装袋的制备方法,该包装袋以重量份计由下列组分组成:低密度聚乙烯树脂100份,线性聚乙烯树脂25-35份,乙烯醋酸乙烯树脂14-16份,钛酸酯偶联剂2-4份,20%碳酸钙母粒3-5份,环保母粒24-28份;其中所述环保母粒的组成为:活性氧化锰40-44%,硬脂酸偶联剂1.0-1.4%,石蜡3-5%,氧化油4-6%,硬脂酸锂6-8%,余量为聚乙烯;所述制备方法为:使用高速混合机将上述物料充分混合均匀,混合时间40-50分钟,转速240-260转/分;使用吹塑机对混匀后的物料进行吹塑成型为环保塑料包装袋。

标签:
加工技术
江苏 - 无锡 来源:北方有色网 2023-03-19
激光雷达用2043nm、780nm双波长光纤输出激光器

一种激光雷达2043nm、780nm双波长光纤输出激光器,在780nm激光输出光纤尾段设置780nm分束光纤圈,分束一路780nm激光输出,信号光2043nm、闲频光780nm、泵浦光I?1500nm与泵浦光II?905nm进入2043nm四波混频周期极化铌酸锂激光谐振腔,发生四波混频效应,产生信号光2043nm输出,最后输出2043nm、780nm双波长光纤激光输出。

标签:
加工技术
江苏 - 无锡 来源:北方有色网 2023-03-19
激光雷达用702nm、1500nm双波长光纤输出激光器

一种激光雷达用702nm、1500nm双波长光纤输出激光器,信号光702nm、闲频光1500nm、泵浦光I?1319nm与泵浦光II?660nm进入702nm四波混频周期极化铌酸锂激光谐振腔,发生四波混频效应,产生信号光702nm输出,最后输出702nm、1500nm双波长光纤激光输出。

标签:
加工技术
江苏 - 无锡 来源:北方有色网 2023-03-19
用于双酚F合成的改性复合酸性离子树脂

本发明公开了一种用于双酚F合成的改性复合酸性离子树脂。将732强酸性离子交换树脂和氯化锂、磷酸和三氯化铝通过处理、反应得到一种新型的改性复合酸性离子树脂。本发明的优点在于,改性复合催化剂的活性较高;改性复合催化剂的制备工艺简单,使用寿命长;所用原料简单易得,反应步骤简单,容易合成。因此,该改性复合催化剂的设计合成具有较好的工业应用前景。

标签:
加工技术
江苏 - 无锡 来源:北方有色网 2023-03-19
高铝粉铸造涂料
高铝粉铸造涂料 847     
 0

本发明公开了一种高铝粉铸造涂料,包括有按重量份计的以下组分:甲醇25-30份,丙烯酸酯10-18份,高铝粉40-65份,铜粉5-8份,酚醛树脂1-2份,锂基膨润土1-2份,聚乙烯醇缩丁醛0.05-0.08份,脂肪醇聚氧乙烯醚0.3-0.5份。本发明的有益效果为:本发明提供的一种高铝粉铸造涂料,化学稳定性强,不易变性,同时,其粘度远低于现有产品,不会对物料产生沾粘,能够保证铸造型腔或砂芯的表面完整性,提高了产品的光滑程度。

标签:
加工技术
江苏 - 无锡 来源:北方有色网 2023-03-19
变色防污涂料
变色防污涂料 1145     
 0

本发明涉及一种变色防污涂料,所述防污涂料包括A和B两种组份,A组份为3‑二乙氨基‑7,8‑苯并呋喃20~40份,10~18份3‑二乙氨基‑7,8‑苯并呋喃,3~5份十六烷醇,5~15份乙烯‑马来酸酐共聚物,0.5~2份二甲基铜锂和5~30份环己酮,B组份为15~50份结晶紫内酯,30~65份镓酸十二烷基酯,5~10份月桂酸,1~3份异醛萘和0.5~3份气相二氧化硅,本发明的变色温度范围很宽‑100℃到280℃,防污效果好。

标签:
加工技术
江苏 - 无锡 来源:北方有色网 2023-03-19
压力调节系统
压力调节系统 742     
 0

本发明属于锂电池泄漏检查技术领域,具体涉及一种压力调节系统。该压力调节系统,包括上密封腔、下密封座、吸盘机构和供气单元,所述上密封腔内顶壁上设有上更换板,下密封座上对应上更换板设有受台固定板,上更换板和受台固定板上分别设有吸盘机构,两吸盘机构互相对应,所述上更换板和受台固定板上分别设有供气管路,上更换板和受台固定板上的吸盘机构分别通过相对应进气管路连通供气,供气单元通过进气管分别与上密封腔和上更换板和受台固定板上的供气管路连通,上密封腔与下密封座之间盖合密封。其有益效果是:通过调压装置的不同参数来对应不同的电池,进行快速的切换电池,节省大量的时间。

标签:
加工技术
江苏 - 无锡 来源:北方有色网 2023-03-19
焊接装置
焊接装置 763     
 0

本发明涉及一种焊接装置,包括安装板及压料组件。安装板开设有沿第一方向贯穿安装板相对两侧的第一通孔;压料组件设置于所述安装板沿所述第一方向的一侧,且所述压料组件具有用于提供焊接空间的焊接通道及与所述焊接通道错开设置的除尘通道,所述焊接通道沿所述第一方向贯穿所述压料组件的相对两侧,且与所述第一通孔连通,所述除尘通道一端与所述焊接通道连通,另一端用于与吸尘装置连通。设置上述的焊接装置,可通过除尘通道和吸尘装置将焊接时产生的焊渣和粉尘吸出,有效地避免焊渣和粉尘对焊接的影响,提高焊接质量,从而提高组装锂电池的质量。

标签:
加工技术
江苏 - 无锡 来源:北方有色网 2023-03-19
评测浆料流动性的装置及其测试方法

本发明涉及一种评测浆料流动性的装置及其测试方法,属于新能源锂电池浆料的技术领域。它通过浆料槽储存初始浆料,并在浆料槽底部设置有浆料槽出口,通过浆料槽上插入式设置的浆料槽隔板控制浆料槽出口的开闭;浆料通过下方倾斜设置的浆料通道流出,最后通过测试终止线时,被感应光束感应后完成计时。本发明的一种评测浆料流动性的装置及其测试方法,结构合理,测试成本低,测试中人为因素少,数据可靠。

标签:
加工技术
江苏 - 无锡 来源:北方有色网 2023-03-19
将风力发电系统作为供电源的电饭锅

本发明涉及一种将风力发电系统作为供电源的电饭锅,属于新能源应用技术领域。地面上空的风力吹动小型风力发电机的风轮旋转,带动风力发电机产生直流电,直流电通过导电线输入风电控制器进行调整;当电饭锅停止工作、电路关闭时,直流电从风电控制器输入锂离子电池储存备用;当电饭锅工作、电路开启时,直流电从风电控制器输入风电逆变器转换成交流电,交流电通过导电线输入电饭锅内部的电热盘,在电热盘中将电能转换成热能,发热的电热盘通过热传导和热辐射,将热能传导给电饭锅的内锅,用于加热内锅中的食品。温度控制装置控制电热盘的加热温度。风电是清洁能源,采用风能烧饭可以减少向空气中排放二氧化碳。

标签:
加工技术
江苏 - 无锡 来源:北方有色网 2023-03-19
有机发光显示器应用在猫衣服上的广告装置

本发明涉及一种有机发光显示器应用在猫衣服上的广告装置,属于宠物用品技术领域。猫毛色艳丽、活泼可爱、善解人意,是人们驯养多年的宠物。宠物用品在全世界有较大的消费市场,在宠物用品猫衣服上播放电子广告有好的宣传效果。在阳光照射下,有柔性的薄膜太阳能电池产生电流,电流通过肖特基整流二极管、控制器、光敏自动开关进入有机发光显示屏,也可以进入锂离子电池储存备用。信号接收器接受信号后,将信号输入有机发光显示屏显示出活动画面;有机发光显示器显示速度快,清晰度高,不存在倾角问题,超轻薄、色彩鲜艳、功耗低、柔性可弯曲,适合制作在猫衣服上用作为广告装置。

标签:
加工技术
江苏 - 无锡 来源:北方有色网 2023-03-19
耐磨耐碱蚀铝合金
耐磨耐碱蚀铝合金 846     
 0

本发明公开一种耐磨耐碱蚀铝合金,该合金按重量计组成为:硅12~13%、镁3~4.3%、锂1.2~2.7%、钛0.3~0.35%、钴0.4~0.6%、铈0.6~0.76%、镱0.1~0.2%,余量为铝。本发明能显著提高铝合金的耐腐蚀性,特别是耐碱蚀,腐蚀速率由原来的0.027~0.03g/(m2·h)降至0.01~0.012g/(m2·h),硬度由原来的490左右提高到540左右。

标签:
加工技术
江苏 - 无锡 来源:北方有色网 2023-03-19
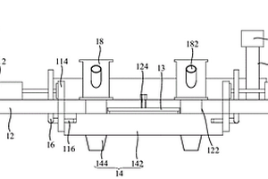
叠片台及叠片机
叠片台及叠片机 1169     
 0

本发明涉及一种叠片台及叠片机,叠片台抱愧承载台及加热装置,承载台具有能够承载极片及隔膜的承载面,加热装置能够对承载于承载面的极片及隔膜进行加热。在进行电芯的制备时,极片提供机构将正极片及负极片交替叠放于承载台的承载面,而隔膜输送机构则在相邻的正极片与负极片之间设置隔膜。由于设置有加热装置对承载于承载面的极片及隔膜进行加热,故电芯在制作过程中便已开始加热。可见,在对电芯进行热压操作之前,电芯的温度已升至较高。因此,在进行热压操作时,电芯中间部分的温度能够更快的达到所需温度,从而大大缩短了热压操作所需要的时间,能够显著提高锂电池的生产效率。

标签:
加工技术
江苏 - 无锡 来源:北方有色网 2023-03-19
双亲性-强极性智能转换的阳离子型表面活性剂

本发明公开了一种双亲性‑强极性智能转换的阳离子型表面活性剂,属于表面活性剂科学与应用技术领域。本发明以长链烷二酸为原料,经酰氯化、酰胺化、氢化铝锂还原和溴代反应,最终合成了N‑Cn‑N+表面活性剂,这一表面活性剂通过调控疏水基团实现了智能转换,表面活性剂在转换过程中,在水中进行,实现了表面活性剂的回收和重复利用,可广泛应用在油品乳化运输、纳米材料合成和非均相催化等领域。

标签:
加工技术
江苏 - 无锡 来源:北方有色网 2023-03-19
真空式标本送检储存箱

本发明公开了一种真空式标本送检储存箱,包括标本箱本体、卡槽、密封板、卡块、抽气泵、锂电池、负压检测表、抽气管、连接绳、把手、进气管、进气壳体、第一进气孔、进气板、第二进气孔、单向阀、放置板、连接杆、放置壳、压杆、弹簧、套筒、隔板和进气阀。该种真空式标本送检储存箱结构简单、设计新颖,实现标本箱本体内的真空环境,保障装有不同的血气、尿气的容器环境安全,防止外部空气进入标本箱本体,避免容器内混合空气,提高检测精度,便于使用,在使用时,通过设置的泄压机构以及负压检测表的配合作用,便于调控标本箱内的压强状态,保障内部容器的稳定,同时便于标本箱的搬运,便于检测时将内部容器取出,适合推广使用。

标签:
加工技术
江苏 - 无锡 来源:北方有色网 2023-03-19
蓄电池恒温箱
蓄电池恒温箱 966     
 0

本发明公开了一种蓄电池恒温箱,包括箱体、控制箱和加热装置,所述箱体呈长方形结构,内部安装设有恒温室,恒温室的内壁两侧设有保温层,保温层与恒温室之间通过隔板隔开,且隔板上密布散热孔,控制箱设于箱体的一侧,且控制箱的正面中间镶嵌设有控制面板,控制面板内镶嵌触控显示屏,加热装置包括加热器和加热管,且加热装置设于箱体底部的底座内,所述箱体的底座内部一侧安装设有电池盒,电池盒内部安装设有蓄电装置,蓄电装置为锂电池。本发明一种蓄电池恒温箱通过箱体底部内设有的加热装置与控制箱配合蓄电装置不仅能够实现箱内的恒温和电源的供应,而且不需要外接其他的电源设备,便于设备的使用。

标签:
加工技术
江苏 - 无锡 来源:北方有色网 2023-03-19
机器人特种润滑脂
机器人特种润滑脂 1266     
 0

本发明涉及润滑脂技术领域,特别涉及机器人特种润滑脂及其制备工艺。所述润滑脂由下述重量百分含量的组分组成,聚α-烯烃酯类油70~80%,氢氧化锂混合物5~13%,癸二酸4~8%,12-羟基硬脂肪酸3~6%,抗氧剂0.5~1%,抗腐蚀剂0.2~0.7%,极压抗磨剂0.2~0.5%,抗泡剂3~8%。本发明与现有技术相比的有益效果是:在高、低温环境下具有较好的耐磨特性和消音特性;电阻率高,具有优异的不导电特性;极小的低温转矩和低蒸发损失,能够保证润滑脂粘度,保证其润滑效果。

标签:
加工技术
江苏 - 无锡 来源:北方有色网 2023-03-19
激光雷达1764nm、830nm、1500nm三波长光纤输出激光器

一种激光雷达1764nm、830nm、1500nm三波长光纤输出激光器,在1500nm激光输出光纤尾段设置1500nm分束光纤圈,分束一路1500nm激光输出,在830nm激光输出光纤尾段设置830nm分束光纤圈,分束一路830nm激光输出,信号光1764nm、闲频光830nm、泵浦光I?1500nm与泵浦光II?905nm进入1764nm四波混频周期极化铌酸锂激光谐振腔,发生四波混频效应,产生信号光1764nm输出,最后输出1764nm、830nm、1500nm三波长光纤激光输出。

标签:
加工技术
江苏 - 无锡 来源:北方有色网 2023-03-19
激光雷达用1764nm、1500nm双波长光纤输出激光器

一种激光雷达用1764nm、1500nm双波长光纤输出激光器,信号光1764nm、闲频光830nm、泵浦光I?1500nm与泵浦光II?905nm进入1764nm四波混频周期极化铌酸锂激光谐振腔,发生四波混频效应,产生信号光1764nm输出,最后输出1764nm、1500nm双波长光纤激光输出。

标签:
加工技术
江苏 - 无锡 来源:北方有色网 2023-03-19
纺织机
纺织机 717     
 0

本发明公开了一种纺织机,所述纺织机的主体采用轻质合金,所述轻质合金的组成按照重量份计为:铝锂合金50-60份,超塑性镁合金20-28份,钛合金4-8份,钨合金15-25份,碳素材料6-12份。本发明的有益效果为:本发明提供的一种纺织机,其材质采用轻质合金,较以往的纺织机重量减轻了40%-60%,便于移动及运输,且能够减少能量的损失,大量节省了劳动力。

标签:
加工技术
江苏 - 无锡 来源:北方有色网 2023-03-19
多重多原子共掺杂碳气凝胶及其制备方法和应用

本发明公开了一种多重多原子共掺杂碳气凝胶及其制备方法和应用,制备方法为:步骤一、将氧化石墨、含杂原子化合物和还原剂混合分散加热形成混合分散液;加入将氧化碳纳米管溶液;水热反应形成杂原子掺杂的碳水凝胶;冷冻干燥得到一重杂原子掺杂碳气凝胶;步骤二、将氧化碳纳米管、含杂原子化合物和还原剂混合得到混合溶液;将混合溶液灌入刺孔的一重杂原子掺杂碳气凝胶中;水热反应形成双重双原子共掺杂的碳水凝胶;冷冻干燥得到双重双原子共掺杂碳气凝胶;步骤三、重复步骤二多次;步骤四、浸泡于活化剂中;步骤五、热还原得到还原过的多重多原子共掺杂碳气凝胶。本发明制备的碳气凝胶具有导电性好等优点,改善了锂离子电池电芯的存液能力等。

标签:
加工技术
江苏 - 无锡 来源:北方有色网 2023-03-19
电极增稠剂及其制备方法

本申请公开了一种电极增稠剂及其制备方法。本申请中,所述电极增稠剂包括:去离子水;第一聚合物,及第二聚合物;其中,所述第一聚合物的平均分子量大于所述第二聚合物的平均分子量,所述第一聚合物溶于去离子水中形成网络结构,较小平均分子量的所述第二聚合物穿插在第一聚合物形成的网络结构中,填补第一聚合物形成的空隙,形成更加致密的网络结构,进而使得负极活性材料层具备更低的孔隙率和更好的导电性,改善了电极动力学条件,使得使用了其的锂离子电池在同等能量密度下,电化学性能尤其是快充性能显著提升,实现充电效率提高的目标。

标签:
加工技术
江苏 - 无锡 来源:北方有色网 2023-03-19
正极、电化学装置和电子设备

本发明提供了一种正极、电化学装置和电子设备,所述正极包括正极活性材料层,所述正极活性材料层包括正极活性材料和至少两类导电剂,所述正极活性材料包括第一活性材料和第二活性材料,所述第一活性材料与所述第二活性材料的粒径D50之差为3μm至15μm。本发明的正极具有较高的锂离子传输效率,采用本发明的正极制备得到的电化学装置在低温(0℃和‑20℃)下具有较高的容量保持率。

标签:
加工技术
江苏 - 无锡 来源:北方有色网 2023-03-19
还原氧化石墨烯@MoS2-SnO2核壳结构复合材料及其制备方法和应用

本发明涉及锂离子电池负极材料制备技术领域,具体涉及还原氧化石墨烯@MoS2‑SnO2核壳结构复合材料及其制备方法和应用。本发明的负极材料使用硫化钼作为内层,采用氧化锡将硫化钼进行包覆,并于氧化锡的表面再包覆一层还原氧化石墨烯材料。本发明将还原氧化石墨烯、MoS2和SnO2共同制成复合材料,同时克服了MoS2和SnO2在充放电过程中发生粉化的技术缺陷,也通过还原氧化石墨烯有效提升负极材料的比容量和能量密度。

标签:
加工技术
江苏 - 无锡 来源:北方有色网 2023-03-19
用于合成双酚A的复配催化剂及其制备方法和应用

本发明公开了一种用于合成双酚A的复配催化剂及其制备方法和应用,属于化学材料与工业领域。本发明针对传统合成双酚A和双酚A环氧树脂方法的不足,提供了一种利用硫酸/高氯酸/氟化锂作为复配催化剂,复配催化剂用于催化合成双酚A时能够取得良好的催化效果,且能够用于催化合成乙酸正戊酯。该复配催化剂结合碳酸钾/氟化钠/甲醇钠复配催化剂联用能够高效生产双酚A环氧树脂,产率高达80%以上,且反应条件较为温和,符合绿色化学的理念。

标签:
加工技术
江苏 - 无锡 来源:北方有色网 2023-03-19
电池模块端盖板组装装置

本发明涉及一种电池模块端盖板组装装置,属于锂电池模组生产领域。该电池模块端盖板组装装置包括取料部、运输部及下料部;其中:取料部用于将端盖板移动至运输部;运输部包括输送装置及安装于输送装置上的治具,治具用于固定电池模块;治具接收取料部送来的端盖板,并将端盖板组装到电池模块上形成电池模块组件;下料部用于将电池模块组件从运输部移走。本发明通过取料部将端盖板输送至运输部,通过治具将端盖板组装在电池模块上,通过下料部将电池模块组件移走,实现了机械化组装,大大提高了生产效率。

标签:
加工技术
江苏 - 无锡 来源:北方有色网 2023-03-19
LNG运输过程中的质量安全追溯系统和方法

本发明公开了一种LNG运输质量安全追溯系统与方法,其中该系统包括:质量追溯云服务平台:其用于模块信息的接收、存储和数据分析,并将处理后的信息发送给其他模块;智能终端:所述智能终端为具有信息处理、移动通讯和定位功能的设备;所述智能终端安装有质量云追溯APP或者微信程序;供电模块:所述供电模块为以车载电源为主,以锂电池为辅的方式进行对外供电;在线监测模块:所述在线监测模块与储能模块采用不可拆分的一体化结构设置,并安装在LNG储罐的液体进出口和气体进出口的管道上;通过对应的传感器采集管道外壁的温度、湿度、震动加速度信息、所在位置经纬度信息、时钟信息进行处理后进行存储,再通过移动通讯方式上传至质量追溯云服务平台。

标签:
加工技术
江苏 - 无锡 来源:北方有色网 2023-03-19
石墨铸造涂料
石墨铸造涂料 1197     
 0

本发明公开了一种石墨铸造涂料,包括有按重量份计的以下物质:丙烯醇20-25份,甲醇20-24,甲基丙烯酸酯4-5份,土装石墨20-22份,鳞片石墨2-5份,石英粉20-25份,锂基膨润土1-2份,聚乙烯醇缩丁醛0.5-1份,脂肪醇聚氧乙烯醚0.05-0.08份,树脂1-2份。本发明的有益效果为:本发明提供的一种石墨铸造材料,以石墨为基料,具有良好的化学稳定性,同时,加入适量石英粉和膨润土,能够有效增加其硬度,在生产过程中的,极大的降低了冲刷槽的出现率。

标签:
加工技术
江苏 - 无锡 来源:北方有色网 2023-03-19
硬质合金冲压件
硬质合金冲压件 1117     
 0

本发明公开了一种硬质合金冲压件,由按照重量份计的以下物料组成:氢氧化铜30-40份,三氧化二锰25-35份,二氧化硅22-26份,碳酸镁15-25份,三氧化铬12-16份,氢氧化镍10-15份,二氧化锡10-15份,四氧化三铁10-14份,氧化钴8-12份,三氧化钼8-10份,氢化锂5-9份,氧化铍6-8份,五碘化钽6-8份,五氧化铌4-6份。本发明的有益效果为:本发明提供的一种硬质合金冲压件,通过调整冲压件的组成配比,能够有效降低压铸件中的皱纹率和扭曲率,相比于现有技术,质量能够提高3-4倍。

标签:
加工技术
江苏 - 无锡 来源:北方有色网 2023-03-19
上一页 22 23 24 25 26 ... 500 ... 786 下一页
共786页    到第

北方有色为您提供最新的江苏无锡有色金属材料制备及加工技术理论与应用信息,涵盖发明专利、权利要求、说明书、技术领域、背景技术、实用新型内容及具体实施方式等有色技术内容。打造最具专业性的有色金属技术理论与应用平台!

全国热门有色金属设备推荐
展开更多 +
全国热门有色金属技术推荐
展开更多 +

 

江西省隆恩特环保设备有限公司
宣传

报名参会
更多+

报告下载

有色专家
更多+

华东理工大学
主任/教授
任灵宝金源矿业股份有限公司
技术发展部经理
江西理工大学
副处长/教授
中冶沈勘秦皇岛工程技术有限公司
原矿山院院长/教授级高工
重庆理工大学
教授
赤泥综合利用研究报告2025
推广

热门技术
更多+

推荐企业
更多+

福建省金龙稀土股份有限公司
宣传

发布

在线客服

公众号

电话

顶部
咨询电话:
010-88793500-807