青岛垚鑫智能科技有限公司
宣传

位置:中冶有色 >

有色技术频道 >

> 通用技术

分类:
全部
矿山技术
冶金技术
材料制备及加工技术
环境保护技术
分析检测技术
 
全部
探矿技术
采矿技术
选矿技术
通用技术
地区:
全部
北京
天津
上海
重庆
河北
山西
辽宁
吉林
黑龙江
江苏
浙江
安徽
福建
江西
山东
河南
湖北
湖南
广东
海南
四川
贵州
云南
陕西
甘肃
青海
内蒙
广西
西藏
宁夏
新疆
其他
其他
展开
 
全部
成都
自贡
攀枝花
泸州
德阳
绵阳
广元
遂宁
内江
乐山
南充
眉山
宜宾
广安
达州
雅安
巴中
资阳
阿坝藏族羌族自治州
甘孜藏族自治州
凉山彝族自治州

四川有色金属通用技术理论与应用

免费发布技术信息>>
细粒级攀西钛精矿制备可氯化富钛料的方法

本发明公开了一种细粒级攀西钛精矿制备可氯化富钛料的方法,包括以下步骤:将细粒级攀西钛精矿进行氧化焙烧后和碳质还原剂、添加剂及粘结剂进行混合配料球磨后装模并压制成球;进行还原反应后再在Ar气氛下进行热处理,然后进行破碎、球磨、磁选后得磁性产物和非磁性浆料;将非磁性浆料过滤干燥得到细粒级富钛料半成品,采用稀盐酸进行酸浸,将得到的细粒级富钛料进行熔融重结晶、破碎筛分得可氯化富钛料。本发明磁选分离后可直接得到高品位铁粉,铁粉品位MFe大于84%,可直接作为产品外售;得到可氯化富钛料的二氧化钛品位大于90%,通过熔融重结晶后,可实现细粒级富钛料的粒度重塑,得到富钛料60~140目大于85%,满足可氯化富钛料的粒度要求。

标签:
通用技术
四川 - 宜宾 来源:中冶有色网 2023-03-18
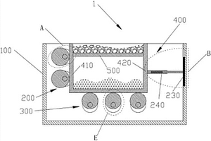
选矿系统
选矿系统 1110     
 0

本实用新型公布了一种选矿系统,该系统包括破碎机、球磨机、搅拌桶、浮选机组、尾矿仓、螺旋选矿机、浓缩池和压滤机,该浓缩池包括精矿浓缩池和尾矿浓缩池;该浮选机包括精选输出端和尾矿输出端;在浮选过程中将粗选与精选分段作业,增加再选流程和选矿时间,增加富集比更有效地降低矿石中有害成分,进行二次浓缩增加精选品位。

标签:
通用技术
四川 - 攀枝花 来源:中冶有色网 2023-03-18
矿物除磷剂及其制备方法

本发明公开了一种矿物除磷剂及其制备方法,其中,矿物除磷剂包括下述质量百分比含量的组分:1‑3%的SiO2、8‑10%的Al2O3、2‑4%的Fe2O3和86‑88%的水;制备矿物除磷剂的方法包括:S1.将矿产品粉碎、研磨成150‑200目的矿粉;S2.按照固液比为1:3‑5的比例将矿粉与浓度为10‑20%的酸液进行混合,得到矿浆;S3.在50‑70°C的条件下,以50‑70转/分钟的速度搅拌矿浆1‑3小时,制得液体除磷剂。本发明中的矿物除磷剂在进行除磷处理时,将水中的磷与液体除磷剂反应形成固体沉淀,再通过固液分离方法将磷除去,不会造成二次污染。

标签:
通用技术
四川 - 成都 来源:中冶有色网 2023-03-18
碲铋矿的浸出方法
碲铋矿的浸出方法 935     
 0

本发明公开了一种碲铋矿的浸出方法,将原生的碲铋矿经破碎处理,研磨粒度到90%矿粉过200目,将上述碲铋矿放入焙烧炉,于温度400~450℃,焙烧4~6h,收集焙烧后的碲铋矿,继续研磨粒度到90%矿粉过200目,经以上预处理的碲铋矿在硫酸介质中,通入臭氧浓度10~50mg/h,加入适量表面活性剂,在70~80℃下浸出,浸出过程采用100‑200r/min机械搅拌,浸出搅拌时间为3~4h,得到浸出液,本发明工艺流程简单,便于操作,无特殊设备需求,成本低,适宜工业化规模生产,碲的浸出率98%以上,铋的浸出率97%以上,碲铋矿中的碲铋充分地浸出;同时浸出的浸出液为下游碲铋的提取提供良好条件。

标签:
通用技术
四川 - 成都 来源:中冶有色网 2023-03-18
高氧化铁钛精矿制备钛白粉的方法

本发明属于钛精矿的应用领域,具体涉及一种高氧化铁钛精矿制备钛白粉的方法。针对现有技术不能直接利用高氧化铁钛精矿生产钛白粉的缺陷,本发明提供一种方法,通过特殊的酸解工艺,能够直接应用高氧化铁钛精矿生产钛白粉而不需要配加其他钛精矿。本发明将高氧化铁钛精矿粉碎后与浓硫酸混合,加入稀释剂,同时通入饱和水蒸汽引发主反应,主反应结束后熟化2~4h,再加入水浸取得到钛液,钛液沉降、结晶、浓缩和水解得到偏钛酸,偏钛酸漂洗、盐处理和煅烧得到钛白粉。应用该方法可使高氧化铁钛精矿酸解率提高2~4%,可直接利用高氧化铁钛精矿生产钛白粉。

标签:
通用技术
四川 - 攀枝花 来源:中冶有色网 2023-03-18
选择性浸出沉积型稀土矿的方法

本发明公开了一种选择性浸出沉积型稀土矿的方法,其步骤如下:a、把沉积型稀土原矿破碎成矿粉;b、将该矿粉在550~850℃下焙烧0.5~5小时;c、将焙烧后的矿粉在常温下冷却0.5~48小时,得到冷却后的熟矿粉;d、将该熟矿粉投入到0.5~5mol/L的无机酸中反应0.5~5小时,液固比为2‑20L/kg,浸出温度20~90℃,得到稀土料液,将余渣水洗至中性,酸性洗液循环使用;所述的沉积型稀土原矿中稀土氧化物REO含量不大于1.6%,稀土元素主要以类质同象替代的形式赋存于粘土矿物中。本方法针对贵州沉积型稀土矿特定技术难点,使其稀土元素浸出率高于90%,同时能有效抑制杂质元素的浸出;具有处理能耗低,操作便捷可控的特点。

标签:
通用技术
四川 - 成都 来源:中冶有色网 2023-03-18
磷矿粉轮碾对辊集成制球生产线及其生产方法

本发明涉及矿产加工技术领域,具体涉及一种磷矿粉轮碾对辊集成制球生产线及其生产方法,包括原粉料仓、破碎装置、负压输送管、细粉料仓、轮碾搅拌机、混合料仓、混合料输送装置、顶料仓、对辊设备、球坯输送装置和收集装置。本发明将粉矿经干混、湿混、碾压、搅拌、对辊挤压等工序制成球坯状黄磷炉料成品,使各种废弃粉矿得以充分回收利用,不仅节约了大量资源,还大幅提高了物料反应性能,实现低电耗、少污染、低成本,是废弃磷矿粉、焦炭粉、硅石粉回收利用生产黄磷的极好装置和方法。

标签:
通用技术
四川 - 眉山 来源:中冶有色网 2023-03-18
原子荧光光度法检测硫铁矿或硫精砂中砷含量的方法

本发明公开了一种原子荧光光度法检测硫铁矿或硫精砂中砷含量的方法,包括:(1)将硫铁矿或硫精矿烘至恒重,粉碎,过筛;(2)取过筛的试样0.2g于150mL容器中,加15mL盐酸,加热溶解;然后加入5mL硝酸,加热至湿盐状;(3)在湿盐状试样中加入盐酸5mL,冷却,移至100mL容量瓶中,加入硫脲‑抗坏血酸混合液或硫脲溶液10mL,加水稀释定容;进行干过滤,弃去最初的20mL滤液,移取1mL滤液到50mL容量瓶中,再加水稀释定容,得到样品溶液;(4)采用原子荧光光度计测量(3)中得到的样品溶液的荧光强度,根据标准曲线求出硫铁矿或硫精砂样品溶液中砷的含量。本发明可以有效提高硫铁矿和硫精矿中砷的溶解彻底性、提高砷的还原程度、降低砷的损失率、提高硫铁矿和硫精矿中砷的准确度和精度。

标签:
通用技术
四川 - 绵阳 来源:中冶有色网 2023-03-18
磁铁矿精选工艺
磁铁矿精选工艺 1188     
 0

本发明公开了一种磁铁矿精选工艺,该工艺包括破碎、球磨、磁选、强磁选以及进入循环桶进行搅拌精选等工艺,精选后的矿溢流进入精矿池并且采用高压喷水装置进行清洗除杂压矿得精矿;同时未溢流进入精矿池的矿经泵送管重新送入磁选机组进行磁选。本发明成本低、能耗低、工艺简单、回收率高、无需添加药剂就能大大提升铁矿石品位。

标签:
通用技术
四川 - 德阳 来源:中冶有色网 2023-03-18
高温法联产富钾溶液的CO2矿化方法

本发明公开了一种高温法联产富钾溶液的CO2矿化方法,其主要内容包括:将粉碎的富含钾长石的矿石粉末与氯化钙充分混合均匀,于不低于600℃温度下进行转化反应;将充分转化反应后的物料置于反应器中加入水,通入CO2,在CO2分压为0.3~15MPa,温度为50~350℃的条件下矿化反应;将充分矿化反应后的料液送入分离设备进行固液分离,液相为富含钾离子的富钾溶液,固相为含有碳酸钙的矿化产物。采用本发明的工艺方法矿化CO2,矿石中钾长石组分的转化率可达96%,较之在先开发出的联产富钾溶液CO2矿化方法最高转化率13%提高了6.3倍多。

标签:
通用技术
四川 - 成都 来源:中冶有色网 2023-03-18
钒钛磁铁矿预处理方法

本发明公开了一种钒钛磁铁矿预处理方法,该方法包括:将钒钛磁铁矿原矿进行粗碎,将粗碎后得到的物料依次进行半自磨处理和分级,然后对分级出的小颗粒物料进行重磁拉强磁处理。本发明提供的钒钛磁铁矿预处理方法工艺步骤简单、工艺流程短,有效降低了选矿的能耗,提高了低品位钒钛磁铁矿的铁、钛品位。

标签:
通用技术
四川 - 攀枝花 来源:中冶有色网 2023-03-18
新型矿基孕育剂成份及生产工艺

一种新型矿基孕育剂,特别是用于铸造时,是具有孕育功能和净化铁水功能的孕育剂;用于炼钢时,是一种炉外精炼剂。该新型矿基孕育剂使用开采石榴石后的废弃矿渣或石榴石族矿原矿和其他一些天然矿石原矿作为主要原料;以碳化钙、碱性无机化工原料、炭等作为次要原料。生产工艺是,将按比例配制的原料粉碎、混匀后合理包装即成为产品。

标签:
通用技术
四川 - 成都 来源:中冶有色网 2023-03-18
尾矿库污染控制导流防渗的方法

本发明公开了一种尾矿库污染控制导流防渗的方法,步骤为:先确定尾矿库库底基岩破碎发育区、天然或人工材料防渗层的破损区,对破损区进行注浆防渗加固处理;根据尾矿库区各地层渗透系数计算出降水半径和优势通道,在尾矿库外围布置周边垂直导流井阵;再对封库的渣堆内部,设置横向导流孔引流,可降低库内渣堆含水量、减少污染物氧化溶解释放与扩散迁移速率。本发明适用于发生污染物迁移扩散问题的尾矿库,查明破损区后进行注浆防渗,再构建尾矿库周边垂直导流井阵对外围地下水进行导流,穿过隔水层直接引流至深层地下水通道,同时结合尾矿库地表防排措施和底部防渗措施,可有效隔绝外部浅层地下水,大幅减少外围地下水与尾矿库内部的交互作用。

标签:
通用技术
四川 - 成都 来源:中冶有色网 2023-03-18
选择性浸出低品位沉积型锂矿的方法

本发明公开了一种选择性浸出低品位沉积型锂矿的方法,涉及锂矿火法湿法综合冶炼技术领域,其步骤如下:a、把沉积型锂原矿破碎成矿粉;b、将该矿粉在500~750℃下焙烧0.5~4.0小时;c、将焙烧后的矿粉在常温下冷却1~24小时,得到冷却后的熟矿粉;d、将该熟矿粉投入到0.5~4.0mol/L的无机酸中反应0.5~4.0小时,液固比为2‑20L/kg,浸出温度20~60℃,得到富锂料液,将余渣水洗至中性,酸性洗液循环使用;所述的沉积型锂原矿中,锂氧化物含量不大于1%,锂元素主要以锂绿泥石的形式赋存于粘土矿物中。本方法针对类似贵州沉积型这类锂矿的特定技术难点,使其锂元素浸出率高于95%,同时能有效抑制杂质元素的浸出;具有处理能耗低,操作便捷可控的特点。

标签:
通用技术
四川 - 成都 来源:中冶有色网 2023-03-18
利用中低品位磷矿制备细菌复合磷肥的方法

本发明涉及公开了利用中低品位磷矿制备细菌复合磷肥的方法。它是先将磷矿粉碎至粒度小于60目,培养嗜酸氧化硫硫杆菌产酸10-20d后,利用菌液对磷矿中磷进行浸出,并通过反复培养菌液浸出磷矿以提高磷的浸出率,然后加入偏碱性矿物调节酸度和固液比,堆放陈化后烘干造粒制备成细菌复合磷肥,有效磷大于12%。菌液培养条件是:自来水/河水为水源,磷矿为营养源,硫粉为能源培养基,25-35℃,120r/min振荡培养10-20d。本方法依靠转种调节pH,使用自来水/河水为水源,以磷矿为菌体生长的营养源,可重复利用硫粉,改变了利用Starky培养基培养嗜酸氧化硫硫杆菌浸磷的传统,操作简便、成本低廉。

标签:
通用技术
四川 - 绵阳 来源:中冶有色网 2023-03-18
磷矿小断层发育地段开采方法

本发明公开了磷矿小断层发育地段开采方法,涉及磷矿开采技术领域。包括步骤一、山体剥离:剥掉磷矿小断层上的覆盖土、风化层,剥掉夹层、围岩以及因节理裂隙发育而无开采价值的磷矿原石层;步骤二、建设平台:磷矿原石层裸露出来后,开挖出适合绳锯机工作的平台,一般宽度在6‑10米,长度根据断层确定,采矿场台阶高度在5‑10米;步骤三、打孔:在磷矿小断层上使用打孔装置进行开孔。本发明通过使用小型小型开采锄轻微敲击磷矿外表,再使用收集工具来对磷矿原石进行拨动松土处理的设置,减少了断层内碎石脱落的现象,降低了工作人员施工时安全隐患,间接的提高了磷矿小断层发育地段开采的工作效率。

标签:
通用技术
四川 - 乐山 来源:中冶有色网 2023-03-18
高钛矿渣透水混凝土及其制作方法

本发明公开了一种高钛矿渣透水混凝土及其制作方法,特别是一种涉及炼钢半钢罐冷修用耐火材料技术领域的高钛矿渣透水混凝土及其制作方法。本发明的高钛矿渣透水混凝土,包括水、水泥、高钛矿渣砂、高钛矿渣骨料和减水剂,其中各组分的质量份数比为水25份、水泥100份、高钛矿渣砂80份、高钛矿渣骨料320份、减水剂1份。本发明的高钛矿渣透水混凝土的方法,包括以下几个步骤:A、破碎处理;B、筛分处理;C、对原料进行检测;D、搅拌;E、静压成型;F、养护。采用本申请的技术方案,可以将高钛矿渣砂和高钛矿渣作为主要原料,制成具有透水、透气、净化水体、吸声降噪的透水混凝土,同时具备保护地下水资源、缓解城市热岛效应性能。

标签:
通用技术
四川 - 凉山彝族自治州 来源:中冶有色网 2023-03-18
提篮式矿粉烧结方法及设备

本发明提供了一种由配料、混料、整粒和传输装置所形成的提篮式矿粉烧结方法及其设备,其特点是熔剂粉碎采用风选破碎、管道输送新工艺,既提高烧结矿质量,又防止环境污染;采用提篮式抽风烧结,使抽风烧结过程无漏风现象发生,大大降低烧结过程抽风用电这一最大能耗;改箱上冷却为箱外冷却,即可增加烧结矿产量50%—200%,并占地少、节能、降耗、比带烧省投资50%以上。

标签:
通用技术
四川 - 成都 来源:中冶有色网 2023-03-18
电化学浸矿工艺
电化学浸矿工艺 1211     
 0

本发明公开了一种电化学浸矿工艺,包括以下步骤:(1)将可酸溶的矿物粉碎至100‑300目;(2)往步骤(1)得到的矿物中加入矿物体积2‑10倍的水调浆;(3)往步骤(2)得到的矿物浆料中加入电解质;(4)往步骤(3)得到的矿物浆料中插入阳极板和阴极板,然后直流电解2‑12小时,电压1‑15V,电流密度1‑300A/m2;(5)电解结束后,阴极板收集酸性条件下可电积元素,矿物浆料固液分离得到料液。本发明以盐电解代替酸反应进行浸矿,反应温和可控,盐电解效果优于直接酸溶,并且可以极大减少含盐废水量,实现循环利用;本发明适用于多种金属矿物加工,实现了矿物综合利用,尤其适用于低品位矿物。

标签:
通用技术
四川 - 乐山 来源:中冶有色网 2023-03-18
在超高磁场选铁矿中目标含量的实现方法

本发明公布了选矿领域中,一种在超高磁场选铁矿中目标含量的实现方法,其特征在于对最佳含量进行再次选矿;所述对最佳含量进行再次选矿,把原始含量的矿通过超高磁选矿设备,得到最佳含量的矿,对最佳含量的矿粉碎后又再进行精选,再次得到最佳含量,几次后最终达到目标含量,这样即能达到目标含量,又能最节约能源和成本。

标签:
通用技术
四川 - 德阳 来源:中冶有色网 2023-03-18
采用二段流化床从低品位硫铁矿中生产硫磺的方法

本发明公开了一种采用二段流化床从低品位硫铁矿中生产硫磺的方法,步骤为:将硫铁矿破碎成矿粒;矿粒与适量空气共同进入一段流化床中焙烧制得一段气;炉渣进入洗选系统制得铁矿粉;一段气与含硫劣质煤及适量空气进入二段流化床还原反应,制得含单质硫、少量SO2及其它少量含硫的二段混合气体;二段混合气体经旋风除尘器除去矿尘,再经冷凝器冷至液硫温度,分离出液硫及尾气;尾气经处理得到亚硫酸钙后经烟囱放空,亚硫酸钙返回原料系统循环利用。采用现有的流化床技术通过二段燃烧反应的处理方法直接处理品位17~20%的原矿,克服了硫精砂工艺尾砂对环境的污染问题;铁矿粉含量高于60%可用于钢厂,综合矿资源利用率高,是硫铁矿开发利用的较佳途径。

标签:
通用技术
四川 - 泸州 来源:中冶有色网 2023-03-18
氨铵氧化浸出体系选择性降低钒钛磁铁精矿中钒钛含量的方法

本发明提供了一种氨铵氧化浸出体系选择性降低钒钛磁铁精矿中钒钛含量的方法,包括如下步骤:S1、配制氨铵体系复合浸出剂;S2、将矿物磨碎后与步骤S1所得氨铵体系复合浸出剂混合进行选择性碱解浸出反应,得到反应后的混合物;S3、对步骤S2所得混合物进行磁选得到钒钛磁铁精矿和尾矿矿浆,对尾矿矿浆进行固液分离得到滤液,将滤液返至步骤S2中循环利用;本发明所提供的方法,能够有效将矿物中的钒钛等杂质转移到液相中,而铁被保留在固相中,从而实现铁与钒钛等杂质的高效分离;最后通过磁选方式实现其与脉石矿物的分离,本发明操作简单、对原料要求低、运行费用低、处理效果好,能够充分提高钒钛磁铁精矿中铁的含量,为高炉冶炼提供优质铁精矿。

标签:
通用技术
四川 - 成都 来源:中冶有色网 2023-03-18
矿物脱色剂及其制备方法

本发明公开了一种矿物脱色剂及其制备方法,其中,所述矿物脱色剂为铝硅酸盐;制备矿物脱色剂的方法包括:S1.将矿产品粉碎为180‑200目的矿粉,按照固液比为1:7‑13的比例将矿粉加入水中,并以100‑140转/分钟的速度搅拌0.5‑1.5小时得到矿粉溶液;S2.向矿粉溶液中加入分散剂并搅拌,分散剂和矿粉溶液的质量比为1‑5:10000;S3.筛选出精选矿粉;S4.按照固液比为1:2‑5的比例将精选矿粉加入浓度为0.8‑4摩尔/升的酸液中,在60~90°C的条件下进行活化处理1‑8小时,得到活化物;S5.将活化物用清水洗涤至pH值为3‑5;S6.在90‑110°C温度下烘干洗涤后的活化物得到矿物脱色剂。本发明中的矿物脱色剂与现有的脱色剂相比成本更低,在达到同样脱色效果时性价比更高。

标签:
通用技术
四川 - 成都 来源:中冶有色网 2023-03-18
采用含硒煤矸石生产矿物复合酵母硒的方法

本发明提供了一种采用含硒煤矸石生产矿物复合酵母硒的方法,包括1)选用含硒量在0.02%-0.2%的煤矸石矿进行分选,并粉碎成粒度为0.074~0.08MM的颗粒状;2)加入玉米粉、小麦粉、催化酶,搅拌均匀;3)按搅拌后物料的总重量计,加入3-6%的活性生物酵母,再进行搅拌,放入发酵罐中进行至少24小时发酵,发酵温度控制在26℃-32℃%;4)干燥,粉碎成粒度为0.08~0.09MM的颗粒即成。本发明生产方法简单,生产出有机矿物复合酵母硒添加剂、补充饲料中硒元素的不足,安全,更利于动物吸收。

标签:
通用技术
四川 - 遂宁 来源:中冶有色网 2023-03-18
提取废矿渣中铁精粉的装置

一种提取废矿渣中铁精粉的装置,其特征在于,包括下料器、第一传送装置、压碎装置、筛分板、第二传送装置和磁选装置,下料器出口连接第一传送装置,压碎装置设在第一传送装置上方,筛分板设在第一传送装置末端,筛分板倾斜设置,第二传送装置位于筛分板下方,第二传送装置末端连接磁选装置,筛分板顶部设有挡板,筛分板上设有振动器。下料器内设有多个折流板。压碎装置的碾压头底面为波纹面。筛分板与垂直方向的夹角为30°~60°。本实用新型通过流水线式的操作流程,对分离出了有色金属后的废矿渣进行压碎、筛分、磁选,提取铁精粉,实现资源再利用。

标签:
通用技术
四川 - 泸州 来源:中冶有色网 2023-03-18
矿料输送装置
矿料输送装置 1027     
 0

本实用新型涉及矿山设备技术领域,公开了一种矿料输送装置,包括第一输送支架、第二输送支架、破碎机,所述第一输送架上安装有皮带输送带,所述第二输送支架安装在皮带输送带进料端上方,所述第二输送支架上安装有筛网输送带,所述筛网输送带进料端设置有进料滑板,所述破碎机安装在筛网输送带出料端下方,所述破碎机进料口与筛网输送带出料端连接,所述破碎机出料口位于皮带输送带上,所述筛网输送带与皮带输送带之间安装有斜挡板。其结构简单,使用方便,避免了人工挑选破碎,提高了输送效率,保证了输送的安全,节约了成本和人力资源。

标签:
通用技术
四川 - 凉山彝族自治州 来源:中冶有色网 2023-03-18
极贫表外钒钛磁铁矿选铁方法

本发明公开了一种极贫表外钒钛磁铁矿选铁方法,涉及选矿技术领域,解决的技术问题是提供一种矿低成本、节能且环保的极贫表外钒钛磁铁矿选铁方法。本发明采用的技术方案是:极贫表外钒钛磁铁矿选铁方法,首先,将极贫表外钒钛磁铁矿原矿进行破碎;其次,通过磁滑轮进行干式抛尾,磁选抛尾获得磨矿原料;再次,经过“两段球磨+两段分级+三段磁选”选矿过程;最后,获得钒钛铁精矿。钒钛铁精矿的组分按照质量计,TFe占55%以上,TiO2占10.0%左右,V2O5占0.6%以上。本发明为极贫表外钒钛磁铁矿综合利用开辟了的新途径,实现了废物利用,减少了矿山次生灾害发生,使得废弃资源得到充分的利用,还改善了矿区额作业环境。

标签:
通用技术
四川 - 攀枝花 来源:中冶有色网 2023-03-18
工业尾矿渣制备纤维水泥平板的制备方法

本发明公开了一种工业尾矿渣制备纤维水泥平板的制备方法,包括将5‑10重量份数的木浆纤维、15‑50重量份数的水泥、20‑55重量份数的锂渣、10‑30重量份数的石墨尾渣以及3‑5重量分数的添加剂,放入粉碎机中粉碎成粉末状的混合原料,该种工业尾矿渣制备纤维水泥平板的制备方法,采用了中间体螯合剂,利用重金属的螯合作用和堵塞毛细能量输送通道,使其由活化态转变成稳定态,进而提高稳定化产物的长期稳定性;固体废弃物经改性处理后,降低了化学反应动能,降低材料反应活性,提高了固体废弃物(石墨尾渣、锂渣等)材料的耐候性能,多级超强固结材料,分级强化封固固废技术也可根据需求形成不同种类的绿色建筑施工新材料。

标签:
通用技术
四川 - 眉山 来源:中冶有色网 2023-03-18
利用低品位氧化锌矿配废石膏生产纳米立德粉的方法

本发明公开了一种利用低品位氧化锌矿配废石膏生产纳米立德粉的方法,其具体步骤包括浸出、净化、复分解反应、洗涤粉碎等步骤,通过氨-硫酸铵法选择性浸出锌,并结合过硫酸铵除铁、砷,硫化法和锌粉置换法除去镍、铜、铅、镉等重金属元素,复分解反应得到nZnS-BaSO4微细结晶体滤饼,干燥粉碎结晶体滤饼,得到的纳米立德粉产品。本发明所得立德粉产品质量好,生产所用锌原料为低品位氧化锌矿提供,硫酸根由废石膏提供,可以将低品位氧化锌中的锌进行回收利用,废石膏实现了资源化利用,化废为宝,生产成本低、操作简单。

标签:
通用技术
四川 - 成都 来源:中冶有色网 2023-03-18
磁铁矿干磨干选方法和装置

本发明公开了一种磁铁矿干磨干选方法和装置,属于铁矿选矿磨矿技术领域,本发明将中碎后<80mm的矿石与粗粒返回料混合,经过高压辊挤压后,送至机械筛分,筛分粒径为3mm,筛上物作为所述粗粒返回料返回高压辊继续挤压,筛下物进入干式磁选机分选,干式磁选机分选的粗精矿送至风力选粉机分级,风力选粉机分级后的粗粉也作为所述粗粒返回料返回高压辊继续挤压,风力选粉机分级后达到铁精粉细度要求的细粉收集后,送至干式磁选机分选,干式磁选机分选后达到铁精粉细度要求的细磁矿最后进行湿式磁选。本发明将矿石的破碎粉磨和磁选合理搭配,降低了系统能耗,钢耗,水耗,减轻了对环境的污染。

标签:
通用技术
四川 - 成都 来源:中冶有色网 2023-03-18
上一页 23 24 25 26 27 ... 89 下一页
共89页    到第

中冶有色为您提供最新的四川有色金属通用技术理论与应用信息,涵盖发明专利、权利要求、说明书、技术领域、背景技术、实用新型内容及具体实施方式等有色技术内容。打造最具专业性的有色金属技术理论与应用平台!

全国热门有色金属设备推荐
展开更多 +
全国热门有色金属技术推荐
展开更多 +

 

江西省隆恩特环保设备有限公司
宣传

报名参会
更多+

报告下载

有色专家
更多+

有研科技集团有限公司
中国工程院 院士
长沙矿冶研究院有限责任公司
中国工程院院士
昆明理工大学
教授
赣州江钨钨合金有限公司
副总经理
江西省科学院应用化学研究所
副主任/副研究员
赤泥综合利用研究报告2025
推广

热门技术
更多+

推荐企业
更多+

福建省金龙稀土股份有限公司
宣传

发布

在线客服

公众号

电话

顶部
咨询电话:
010-88793500-807