青岛垚鑫智能科技有限公司
宣传

位置:中冶有色 >

有色技术频道 >

> 加工技术

分类:
全部
矿山技术
冶金技术
材料制备及加工技术
环境保护技术
分析检测技术
 
全部
功能材料技术
复合材料技术
新能源材料技术
合金材料技术
加工技术
地区:
全部
北京
天津
上海
重庆
河北
山西
辽宁
吉林
黑龙江
江苏
浙江
安徽
福建
江西
山东
河南
湖北
湖南
广东
海南
四川
贵州
云南
陕西
甘肃
青海
内蒙
广西
西藏
宁夏
新疆
其他
其他
展开
 
全部
广州
韶关
深圳
珠海
汕头
佛山
江门
湛江
茂名
肇庆
惠州
梅州
汕尾
河源
阳江
清远
东莞
中山
潮州
揭阳
云浮

广东中山有色金属加工技术理论与应用

免费发布技术信息>>
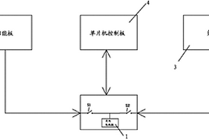
用于锂电池的智能能量管理装置

本实用新型的一种用于锂电池的智能能量管理装置,其包含充电电池组,充电电池组连接太阳能板和负载,充电电池组通过第一开关连接太阳能板,并通过第二开关连接负载,该第一、第二开关及充电电池组连接单片机控制板。本实用新型的有益效果为:利用技术成熟的单片机对于锂电池进行管理控制,可以减小误判率,减轻甚至避免电池或负载可能受到的影响。

标签:
加工技术
广东 - 中山 来源:中冶有色网 2023-03-18
锂离子圆柱动力电池的电芯及加工方法

本发明涉及一种锂离子圆柱动力电池的电芯及加工方法,正极片上的正极敷料上方设有陶瓷层,陶瓷层的上方至正极敷料边设有正极空箔;所述的负极敷料下方设有负极空箔,负极空箔与电芯的下端平齐。一种锂离子圆柱动力电池的电芯的加工方法,包括如下加工步骤:先将隔膜一和隔膜二重叠卷2‑3圈;将负极空箔朝下送进两层隔膜中间;将正极片空箔朝上送入上层隔膜上面卷绕;电芯两端的揉平;揉平的中心部位进行烫孔;对电芯正负极端进行极耳收拢;电芯两侧壁贴头部保护胶纸。本发明安全可靠,具有内阻小,导电快,自耗电小,体积能量比高的特点;电芯结构揉平后采用头部收拢方式,可以使隔圈与电芯头部形成避空位,防止合盖后隔圈直接接触头部导致压伤电芯顶部。

标签:
加工技术
广东 - 中山 来源:中冶有色网 2023-03-18
电动汽车磷酸铁锂电池组三级管理系统

本发明涉及一种电动汽车磷酸铁锂电池组三级管理系统,包括一与汽车行车电脑连接的用于对电池组的状态和故障进行实时显示的人机界面,一用于完成上下级模拟数据和数字数据的转换、运算处理的数字信号处理模块,以及一用于对电池组状态和故障进行实时检测、控制的三段式电池控制模块;所述人机界面、数字信号处理模块和三段式电池控制模块依次导通连接。这样,本发明通过建立包括上位用户层的人机界面、中间处理层的数字信号处理模块和底层硬件层的三段式电池控制模块,实现平衡控制、故障诊断、电池组自动级联识别和自举功能、磷酸铁锂电池组电化学模型以及与之相匹配的模型算法,硬件拓扑电路,从而提高电池组的电压精度、安全性和性能。

标签:
加工技术
广东 - 中山 来源:中冶有色网 2023-03-18
锂电池运输箱
锂电池运输箱 817     
 0

本实用新型通过将箱盖设置成至少两个依次并排设置的盖板,然后通过连接结构A将相邻两个盖板进行组合连接,形成箱盖,盖板再通过连接结构B固定连接在箱体上,当锂电池运输箱的箱盖在运输过程中发生碰撞,从而发生变形或损坏时,可以马上对发生变形或损坏的盖板进行替换,从而保证锂电池运输箱的完好以及密封,并且只替换盖板比替换整个箱盖的成本更低,降低维护成本,而且单个盖板比整个箱盖的体积更小,当返回原厂或运送至装配锂电池的场地时,可以对箱盖进行进一步的拆分运输,降低箱盖的运输成本。

标签:
加工技术
广东 - 中山 来源:中冶有色网 2023-03-18
18Ah消防A型灯具集中电源专用锂电池

本实用新型涉及消防电源技术领域,具体公开了一种18Ah消防A型灯具集中电源专用锂电池,包括锂电池本体,所述锂电池本体上设置有若干个接线端子台及与所述接线端子台连接的电池管理电路板,所述电池管理电路板包括电芯连接电路、主控电路及MOS充放电管理电路,所述电芯连接电路、主控电路及MOS充放电管理电路均与所述电池管理电路板电性连接。本实用新型通过设置主控电路来控制MOS充放电管理电路进行充放电控制,对充放电进行有效的管理,当电源进入保护状态后可自动恢复充放电,使用方便。

标签:
加工技术
广东 - 中山 来源:中冶有色网 2023-03-18
锂电池分选装置
锂电池分选装置 753     
 0

本实用新型涉及一种锂电池分选装置,包括分选机体、输送装置,所述分选机体安装在所述输送装置上方,所述分选机体竖直安装,在所述分选机体顶部,设置有一个进料口,所述进料口开口向上,同时在所述分选机体顶部,水平设置一个轻质物料出口,在所述分选机体底部,设置有一个进水口;针对废旧锂电池被破碎后,形成的干破碎物料在转运分离过程容易发生扬尘污染的问题,本技术方案提供了一种在封闭和水环境中的分选装置,分选装置下部进水采用可调节水流大小和速度的设计,通过调节水流大小和速度,将重质物料和沉水料经过多次分选,达到物料完全分离的效果。

标签:
加工技术
广东 - 中山 来源:中冶有色网 2023-03-18
锂离子电池负极石墨材料的混料方法

本发明涉及一种锂离子电池负极石墨材料的混料方法,包括以下步骤:(1)将全部石墨粉料加入搅拌机中,抽真空;(2)喷入NMP的水溶液搅拌;(3)加入全部导电胶搅拌;(4)加入配置好的CMC水溶液搅拌;(5)调节粘度至3000-6000mp.s;(6)加入胶黏剂SBR,SBR即丁苯橡胶,采用公转和自转两种方式结合进行中高速搅拌转速控制:公转:15-30rpm,自转100-1000rpm,时间30min;(7)消泡处理,抽真空消泡,真空度在-0.06Mpa—-0.09Mpa之间,即得到分散良好的浆料。本发明大幅降低搅拌难度,大幅提高设备利用率,降低能耗,提高了电池能量密度。

标签:
加工技术
广东 - 中山 来源:中冶有色网 2023-03-18
易于抽真空的锂电池
易于抽真空的锂电池 833     
 0

本实用新型公开了一种易于抽真空的锂电池,包括包装膜以及卷芯,所述包装膜内设置有能够容置卷芯的内腔以及设置在内腔外周的通道腔,所述包装膜内部设置有能够阻止卷芯由内腔移动到通道腔的隔离板,通道腔与内腔之间连通并且能够允许气体和/或液体通过,外界能够通过通道腔抽取内腔中的气体和/或液体;本设计使得在抽真空的过程中,包装膜内壁通过通道腔与卷芯形成一定的间隙,内壁不会贴近卷芯,使得气体和/或液体能够顺利通过,抽真空速度大大加快,缩短时间,并且锂电池的硬度相应提高。

标签:
加工技术
广东 - 中山 来源:中冶有色网 2023-03-18
抗冲击锂电池
抗冲击锂电池 726     
 0

本发明提供一种抗冲击锂电池,包括下加固板、上加固板、缓冲抗压机构以及缓冲距离调节机构,所述下加固板安装在后加固板前端面下部位置,所述上加固板安装在后加固板前端面上部位置,所述缓冲抗压机构设置在后加固板前端面上,所述缓冲抗压机构包括滑轨、滑轮、前加固板、气囊、滑块、滑槽、减震弹簧、推杆、橡胶塞、密封套筒以及连接软管,所述缓冲距离调节机构包括导向开口、齿轮一、齿条一、锂电池安装板、支架、导向槽、齿轮二、齿条二、移动槽以及齿轮三,与现有技术相比,本发明具有如下的有益效果:实现了外界冲击力的快速吸收以及碰撞缓冲功能,还实现了缓冲距离的自动调节功能。

标签:
加工技术
广东 - 中山 来源:中冶有色网 2023-03-18
新型无人机锂电池
新型无人机锂电池 754     
 0

本实用新型提供一种新型无人机锂电池,包括装置主体、充电鼓包断电机构以及预防起火机构,装置主体包括外壳、通讯接口、面板以及锂电池本体,外壳安装在面板左端面,锂电池本体装配在外壳内,通讯接口安装在面板右端面,充电鼓包断电机构包括气囊一、软管一、放置室、圆筒、绝缘环、金属环、金属片、绝缘盘、充电接口、连接孔、软管二以及气囊二,预防起火机构包括蓄电池、接触片一、接触片二、加液口一、隔板、电磁阀、加液口二、连接管、储液腔一、通孔、固定环、弹簧三、堵头、盲孔以及储液腔二,与现有技术相比,本实用新型具有如下的有益效果:达到了充电鼓包断电的目的,还达到了预防起火的目的。

标签:
加工技术
广东 - 中山 来源:中冶有色网 2023-03-18
太阳能路灯用锂电池盒
太阳能路灯用锂电池盒 1133     
 0

本实用新型公开了一种太阳能路灯用锂电池盒,包括电池盒、接口和安装在电池盒上的两个固定条;所述电池盒包括电池盒盖子和电池盒主体,所述电池盒盖子和电池盒主体通过卡扣结构连接;所述电池盒主体的左右侧外壁上端对称设有两个连接体,所述连接体包括一体成型的盒体连接片、台阶和两个卡板。该太阳能路灯用锂电池盒结构简单,设计合理,安装方法简单,拆卸性好;该太阳能路灯用锂电池盒生产成本较低,有利于市场推广。

标签:
加工技术
广东 - 中山 来源:中冶有色网 2023-03-18
提高软包锂离子电池散热的方法

本发明公开了一种提高软包锂离子电池散热的方法,将用于堆叠起始和结尾的负极片只作单面涂覆负极浆料,并独立地冲切,之后堆叠时,起始和结尾的负极片的铜箔面与正极料错开,由于软包锂离子电池组完成封装后,其内阻在一定充放电循环寿命内是恒定的,根据焦耳定律,其产生的热量随着电流的变化而变化,由于堆叠形成的电芯表面没有涂覆导热性非常差的负极浆料,而直接是具有导热性极好的铜箔面,因此有效的加快了电芯表面温度聚集速度从而增大电芯表面热辐射的交换速度,达到提高软包锂离子电池组电芯的散热效果。

标签:
加工技术
广东 - 中山 来源:中冶有色网 2023-03-18
新型可压缩隔膜的软包锂离子电池及加工方法

本发明涉及一种新型可压缩隔膜的软包锂离子电池及加工方法,包括:正极片、负极片、隔膜、电解液和作为外壳的铝塑复合膜,所述的隔膜为混涂型隔膜,混涂型隔膜包括单层PE膜、陶瓷涂层和PVDF混涂层,陶瓷涂层为α晶型Al2O3小颗粒,PVDF混涂层为偏氟乙烯均聚物,当电池电池第一次激活,混涂型隔膜在液态电解液浸泡下溶胀凝胶化,厚度被压缩50%。一种新型可压缩隔膜的软包锂离子电池的加工方法,电池第一次激活温度为50℃至80℃,所述压力为0.3MPa至1.5MPa,所述电流为0.1C至2C。本发明能够采用较厚的隔膜达到较薄的隔膜效果,有效的避免了电芯短路、压降过大、硬度差,改善长循环寿命,降低生产成本。

标签:
加工技术
广东 - 中山 来源:中冶有色网 2023-03-18
3.7V锂电LED天花灯应急电源

本实用新型公开了一种3.7V锂电LED天花灯应急电源,包括半波整流滤波电路、开关式隔离稳压输出电路、主电应急转换电路,所述半波整流滤波电路、开关式隔离稳压输出电路、主电应急转换电路依次连接,所述开关式隔离稳压输出电路依次连接有电池恒流充电电路、电池过充保护电路,所述主电应急转换电路连接有电池过放保护电路。本实用新型小体积,大容量锂电;改镍隔电池为锂电,有充电过压保护,防止过充电损坏电池,充电电压超过4-4.2V则自动停止充电;放电有过电压保护,放电电压低于2.8-3V,停止放电,防止放电电压过低损坏电池;方便安装于支架内;产品性价比高,成本降低,使用性能不变,电池直接焊接在线路板上,消除拔插电池带来的接触不良影响。

标签:
加工技术
广东 - 中山 来源:中冶有色网 2023-03-18
锂离子电池头部贴异形胶的方法

本发明涉及一种锂离子电池头部贴异形胶的方法,包括下列步骤:启动负压取料装置进行取料、启动展开封边装置进行封边、启动贴胶装置进行贴胶、启动整形装置一进行整形、启动背面抹胶装置进行电芯背面贴胶、启动整形装置二进一步整形、启动收角装置进行收角和启动出料装置出料。本发明的贡献置于提供了一种锂离子电池头部贴异形胶的方法,本发明提供的技术方法是使用贴异型胶流水线即设在流水线的多台设备自动完成。实现一次性对两侧封边胶纸包胶并自动收顶封边完成贴胶过程,从而极大提高生产效率、合格率、降低物料和人工成本,实现了高收益。

标签:
加工技术
广东 - 中山 来源:中冶有色网 2023-03-18
锂电池高温静置立库温度独立控制装置

本实用新型涉及锂电池生产制造技术领域,具体为一种锂电池高温静置立库温度独立控制装置,包括用于电池静置存储的高温静置货架、用于加温的高温房、取送电池的堆高机以及安装在每层所述高温房上的快速门。该种锂电行业电池高温静置立库温度独立控制设备及方法及其使用方法:通过设立每列都是独立的高温静置立库货架,每列独立的货架外加装独立的高温房和温控系统,实现每列温度独立控制;配合一列每层的独立快速门,实现电池托盘的取送。以达到温度独立控制、加温区域小型化、节省能源、一个电池托盘的取送不会对整体温度稳定性造成影响。整体系统结构设计巧妙、完整,系统运行方式灵活、智能化,运行费用低。

标签:
加工技术
广东 - 中山 来源:中冶有色网 2023-03-18
锂离子电池极片涂布材料的电阻测试装置

本实用新型涉及一种锂离子电池极片涂布材料的电阻测试装置,包括:一个测试台、数块测试导电块、一个内阻测试仪和测试样品膜片,测试台上端设有平面工作台,工作台中部设有横向的样品放置区,样品放置区的长边边沿设有刻度尺,工作台面下设有内阻测试仪,内阻测试仪探针通过导线连接测试导电块,测试时测试样品横向的样品放置区,测试导电块按设定的间距放在测试样品上。本实用新型能测量出锂离子电池材料的电阻,计算出材料的电阻率,能够快速评价锂离子电池材料体系的导电性能,缩短材料体系的评价周期,缩短电池研发的周期,减少实验投入,降低研发成本。

标签:
加工技术
广东 - 中山 来源:中冶有色网 2023-03-18
锂电池组平衡充电器
锂电池组平衡充电器 1161     
 0

本实用新型是一种锂电池组平衡充电器。包括有红色指示灯(1)、绿色指示灯(2)、交流输入口(3)、电路板(4)、两串电池插口(5)、三串电池插口(6),其中电路板(4)上设有交流输入口(3)、两串电池插口(5)及三串电池插口(6),电路板(4)通过交流输入口(3)与交流输入电源连接,锂电池组能通过两串电池插口(5)及三串电池插口(6)与电路板(4)连接。本实用新型将交流适配器器和平衡充电集成在一体,方便用户使用,又能保证电池组的平衡效果良好。本实用新型是一种设计合理,方便实用的锂电池组平衡充电器。

标签:
加工技术
广东 - 中山 来源:中冶有色网 2023-03-18
新型卷绕结构的软包装锂离子电池及加工方法

本发明涉及一种新型卷绕结构的软包装锂离子电池,包括单体卷绕式结构卷芯和软包装铝塑膜,所述的单体卷绕式结构卷芯为U字形卷芯。一种新型卷绕结构的软包装锂离子电池的加工方法,包括如下加工步骤:1)将常规的单体卷绕式结构卷芯水平放置在电芯折叠装置上的电芯支柱和折叠条之间;2)启动折叠气缸;3)取出折叠后的电芯;本发明由于单体卷绕式结构卷芯为U字形卷芯,使该电池实现宽度和厚度接近的方形电芯的目标。由于为U字形卷芯,电池卷绕圈数要比传统常规卷绕式圈数要少,电池内阻低,电芯倍率性能优。该电池解决传统卷绕结构因设备限制无法实现宽度窄厚度厚的电芯卷绕问题。

标签:
加工技术
广东 - 中山 来源:中冶有色网 2023-03-18
可控列尾锂电池
可控列尾锂电池 902     
 0

本实用新型提供一种可控列尾锂电池,包括框体、密封门板、拉线孔、弯管、湿度调节组件以及温度调节组件,密封门板装配在框体前端面,拉线孔开设在密封门板前端面,弯管连接在框体上端面,温度调节组件连接在弯管右端面,温度调节组件安装在湿度调节组件右端面,湿度调节组件包括方形管一、开口、连接杆一、弹簧一、方形框、网状板、压块一、连接杆二、弹簧二、压块二、雾化喷头以及安装盒,温度调节组件包括盲孔、弹簧三、引风机、方形管二、固定轴、套筒以及叶片,与现有技术相比,本实用新型具有如下的有益效果:实现了锂电池工作环境湿度的调节,还达到了利用列车行驶过程中的高速气流进行散热以及保温的目的。

标签:
加工技术
广东 - 中山 来源:中冶有色网 2023-03-18
低温环境锂电池充电控制电路

本实用新型公开了一种低温环境锂电池充电控制电路,包括有充电芯片、发热丝、第一温控开关、NPN管、PMOS管、充电正极和充电负极,充电正极用于连接电源,充电负极作为地,充电芯片用于为锂电池组充电,锂电池组、发热丝和第一温控开关均设于一保温箱体内,发热丝和第一温控开关依次串联,发热丝的前端连接于充电正极,第一温控开关的后端接地,发热丝与第一温控开关连接点的电信号传输至NPN管的基极,NPN管的发射极接地,NPN管集电极的电信号传输至PMOS管的栅极,充电正极的电信号传输至PMOS管的源极,PMOS管漏极的电信号传输至充电芯片的电源正极,第一温控开关用于当温度低于预设值时闭合。本实用新型能够在低温环境中对锂电池进行正常充电。

标签:
加工技术
广东 - 中山 来源:中冶有色网 2023-03-18
基于复合材料的高储能锂离子电池

本实用新型涉及锂电池技术领域,且公开了一种基于复合材料的高储能锂离子电池,包括底座和电池外壳,所述电池外壳的内部设有多个小电池,所述电池外壳的顶部设有盖体,所述底座顶部的边缘固定设置有弧形支架,所述弧形支架的顶部与电池外壳的底部固定,所述底座的顶部固定设有支撑杆,所述支撑杆的顶部固定连接有顶块。该基于复合材料的高储能锂离子电池,当需要对装置内部的小电池进行更换时,先将盖体从电池外壳的顶部打开,向下按压电池外壳,使得整个电池外壳向下移动,空槽在顶块的表面向下移动,然后通过顶块将支撑垫和小电池向上顶起一段距离,使得小电池的上端移动到电池外壳的外部,然后再便于将小电池从装置的内部取出。

标签:
加工技术
广东 - 中山 来源:中冶有色网 2023-03-18
磷酸锂铁电池组电量显示管理系统

本实用新型公开了一种磷酸锂铁电池组电量显示管理系统,包括电池组充放电检测单元、电池组实时容量修正单元、电池组残余电量计算单元和电池组残余电量显示单元,该系统以磷酸锂铁电池组充电饱和的累计充电电量和放电完毕后的累计放电电量,用充电容量减去放电容量,计算得到电池组实际容量,得到的电池组实际容量是随着使用时间的推移而变化的动态量,然后通过计算残余电量相对于实际容量的百分数,计算出实际的电池残余电量并显示出来,能够真实反映磷酸锂铁电池组的残余电量。

标签:
加工技术
广东 - 中山 来源:中冶有色网 2023-03-18
双MOS管并联结构的锂电池充电保护板

本实用新型涉及锂电池技术领域,且公开了一种双MOS管并联结构的锂电池充电保护板,包括壳体,所述壳体的内部固定安装有充电架,所述充电架的内部固定安装有锂电池本体,所述壳体的内部开设有方形槽,所述方形槽的内部活动连接有放置板,所述放置板的内部设有保护板体,所述保护板体的输出端与充电架的输入端活动插接。该双MOS管并联结构的锂电池充电保护板,通过螺杆转动并带动其表面螺纹连接的移动块上移,使两个伸缩杆向上回缩,使推架发生转动后其顶端推动充电架向左移动,使充电架的输入端从充电保护板的输出端向左移出,此时两个伸缩杆无法继续回缩,使推动放置板上移,带动充电保护板上移至通槽处,从而便于充电保护板的拆卸更换。

标签:
加工技术
广东 - 中山 来源:中冶有色网 2023-03-18
汽车锂电池组保护装置

本实用新型提出一种汽车锂电池组保护装置,所述锂电池组设有正、负输出端,所述保护装置的特征在于:包括处理器、传感模块以及串接于电池组正输出端的输出开关,所述处理器根据传感模块反馈的锂电池组工作状态信号控制输出开关的通断。本实用新型对锂电池组进行实时监测,并对故障实现及时的预警与处理,保障电池组与电池组存放空间的安全;相比于人工检测方式,其检测精度更高、监控更为全面、反馈更为及时。

标签:
加工技术
广东 - 中山 来源:中冶有色网 2023-03-18
新型的圆柱锂电子电池托盘

本实用新型公开了一种新型的圆柱锂电子电池托盘,包括托盘侧框及托盘底板,所述托盘底板上设置有呈纵横交错式阵列排布的挡板,四个相邻的挡板宽板面围成第一型电池挡板槽,四个相邻的挡板窄板面围成第二型电池挡板槽,所述第一型电池挡板槽内设置用于固定26650圆柱锂离子电池的第一型电池固定孔,所述第二型电池挡板槽内设置用于固定18650圆柱锂离子电池的第二型电池固定孔。本实用新型所述圆柱锂电子电池托盘充分利用了托盘空间,可良好兼容18650圆柱锂离子电池和26650圆柱锂离子电池的灵活放置,避免了大量的手动调整操作,降低了人力成本,利于生产安排和管理。

标签:
加工技术
广东 - 中山 来源:中冶有色网 2023-03-18
锂电池行业用电池托盘拆码盘机

本实用新型公开了一种锂电池行业用电池托盘拆码盘机,包括电池托盘、滚筒线、拆码盘机夹臂、对中机构、阻挡器、定位销、同步升降机构、框架、检测开关组件、PLC电控系统,电池托盘的侧面开设有若干侧边孔,电池托盘的底面开设有若干定位孔,检测开关组件安装在框架的顶部一侧,拆码盘机夹臂安装在同步升降机构的上部。该锂电池行业用电池托盘拆码盘机中,通过同步升降机构能够保证实现托盘升降的同步,保证拆码盘动作完成稳定且精确,且通过实现带刹车电机实现电池托盘的上升、下降驱动,避免采用气缸的失压风险,保证生产安全,便于锂电池的加工生产。

标签:
加工技术
广东 - 中山 来源:中冶有色网 2023-03-18
新型无人机锂电池
新型无人机锂电池 1058     
 0

本发明提供一种新型无人机锂电池,包括装置主体、充电鼓包断电机构以及预防起火机构,装置主体包括外壳、通讯接口、面板以及锂电池本体,外壳安装在面板左端面,锂电池本体装配在外壳内,通讯接口安装在面板右端面,充电鼓包断电机构包括气囊一、软管一、放置室、圆筒、绝缘环、金属环、金属片、绝缘盘、充电接口、连接孔、软管二以及气囊二,预防起火机构包括蓄电池、接触片一、接触片二、加液口一、隔板、电磁阀、加液口二、连接管、储液腔一、通孔、固定环、弹簧三、堵头、盲孔以及储液腔二,与现有技术相比,本发明具有如下的有益效果:达到了充电鼓包断电的目的,还达到了预防起火的目的。

标签:
加工技术
广东 - 中山 来源:中冶有色网 2023-03-18
感应式锂电路灯灯头
感应式锂电路灯灯头 1028     
 0

本实用新型涉及一种感应式锂电路灯灯头,包括灯头主体和光源板,所述的灯头主体的下侧嵌入安装有光源板,该灯头主体的下端面安装有将光源板封住的玻璃板,所述的灯头主体的上端面居中安装有电池仓,该电池仓内部安装有控制线路板和锂电池,该锂电池的上端安装有电池上盖,所述的电池上盖的一侧安装有上端开有弧形槽的灯臂连接座,该灯臂连接座上端并排布置有若干个弧形压板,所述的灯头主体的下端面居中安装有人体感应开关。本实用新型结构简单,具有人体感应开启和亮度调节功能,节能效果好,防水性能好,可以适应通过压板与固定镙丝可以上下调整来匹配不同口径的灯臂。

标签:
加工技术
广东 - 中山 来源:中冶有色网 2023-03-18
锂电池防爆裂包覆膜
锂电池防爆裂包覆膜 857     
 0

本实用新型公开了一种锂电池防爆裂包覆膜,其特点是包括由上而下依次层叠的防爆裂包覆面材层、第一胶粘层和离型层。该技术方案使用前通过离型层对第一胶粘层进行全方位的保护,防止使用前第一胶粘层被损伤,保证产品质量,使用时,将离型层分离,然后将第一胶粘层粘贴包覆在锂电池外层,通过设置的防爆裂包覆面材层可承受爆炸冲击力,避免电子设备的锂电池因爆裂导致使用者受伤。

标签:
加工技术
广东 - 中山 来源:中冶有色网 2023-03-18
上一页 20 21 22 23 24 ... 27 下一页
共27页    到第

中冶有色为您提供最新的广东中山有色金属加工技术理论与应用信息,涵盖发明专利、权利要求、说明书、技术领域、背景技术、实用新型内容及具体实施方式等有色技术内容。打造最具专业性的有色金属技术理论与应用平台!

全国热门有色金属设备推荐
展开更多 +
全国热门有色金属技术推荐
展开更多 +

 

江西省隆恩特环保设备有限公司
宣传

报名参会
更多+

报告下载

有色专家
更多+

昆明理工大学
副校长
昆明理工大学
教授
江西理工大学
教授
西安建筑科技大学
教授
赣州有色冶金研究所有限公司
副主任/高级工程师
赤泥综合利用研究报告2025
推广

热门技术
更多+

推荐企业
更多+

福建省金龙稀土股份有限公司
宣传

发布

在线客服

公众号

电话

顶部
咨询电话:
010-88793500-807