青岛垚鑫智能科技有限公司
宣传

位置:中冶有色 >

有色技术频道 >

分类:
全部
矿山技术
冶金技术
材料制备及加工技术
环境保护技术
分析检测技术
 
全部
功能材料技术
复合材料技术
新能源材料技术
合金材料技术
加工技术
地区:
全部
北京
天津
上海
重庆
河北
山西
辽宁
吉林
黑龙江
江苏
浙江
安徽
福建
江西
山东
河南
湖北
湖南
广东
海南
四川
贵州
云南
陕西
甘肃
青海
内蒙
广西
西藏
宁夏
新疆
其他
其他
展开
 
全部
南京
无锡
徐州
常州
苏州
南通
连云港
淮安
盐城
扬州
镇江
泰州
宿迁

江苏无锡有色金属材料制备及加工技术理论与应用

免费发布技术信息>>
低能耗高镍三元材料的制备方法

本发明公开了一种低能耗高镍三元材料的制备方法,工艺简单,实用性强,批量化生产可实现全自动;首先选用高镍低钴前躯体,工业1级碳酸锂作为原料,成本更低;采用固相掺杂纳米级金属元素有益于稳定材料的晶体结构,使之在充放电过程中不易破坏,并有效降低烧结残余碱量,提高充放电性能;使用空气氧气各半的进气条件,相对纯氧成本更低,又能保证材料在合成过程中的催化作用;采用大容量匣钵,更多的装载带来了产量的提升,生产过程中下层匣钵的气体挥发不充分,较上层可以减少装载来达到性能的平衡。

标签:
加工技术
江苏 - 无锡 来源:中冶有色网 2023-03-19
有机电致发光器件及其应用

一种有机电致发光器件,包括:第一电极、面向第一电极的第二电极、第一电极与第二电极之间的发光层以及位于光线射出一侧的电极之上的覆盖层,阳极与发光层之间具有空穴传输区,阴极与发光层之间具有电子传输区,其中电子传输区包括空穴阻挡层和电子传输层,电子传输层包括第一电子传输化合物和第二电子传输化合物,空穴阻挡层含有通式(1)所示结构的化合物,第一电子传输化合物的结构如通式(2)、通式(3)或通式(4)所示,所述第二电子传输化合物为LiQ(八羟基喹啉锂);本发明电子传输区域采用空穴阻挡层和电子传输层(第一电子传输材料和第二电子传输材料)搭配,可以有效降低器件电压,同时提升器件效率和寿命。

标签:
加工技术
江苏 - 无锡 来源:中冶有色网 2023-03-19
手摇发电式汽车发射器精密注塑壳体

本发明公开了一种手摇发电式汽车发射器精密注塑壳体,包括壳体,所述壳体内部安装有信号发射装置,所述信号发射装置表面凸起设有若干个功能按键,所述壳体另一侧面上设有一个转轴,所述转轴贯穿所述壳体,所述转轴外侧连接有一根手摇杆,所述手摇杆平行于所述壳体侧面,所述壳体内部设有小型发电机,所述小型发电机的输入转轴与所述转轴连接,所述小型发电机的输出端连接桥式整流电路,所述桥式整流电路的输出端连接充放电控制器的输入端,所述充放电控制器的输出端连接锂电池组,所述充放电控制器的另一输出端连接所述信号发射装置。通过上述方式,本发明能够通过手摇发电产生电力的方式,提供电能给内部的信号发射器工作。

标签:
加工技术
江苏 - 无锡 来源:中冶有色网 2023-03-19
二氧化硅/聚偏氟乙烯复合纳米纤维膜的制备方法

一种二氧化硅/聚偏氟乙烯复合纳米纤维膜的制备方法,涉及利用溶胶-凝胶法制备改性纳米二氧化硅,以及使用静电纺丝装置制备二氧化硅/聚偏氟乙烯纳米纤维膜等技术领域。本发明借助溶胶凝胶原理一步法制备改性纳米二氧化硅,并把其与聚偏氟乙烯进行共混,利用静电纺丝技术制备出复合纳米纤维。本发明解决了静电纺丝制备纳米纤维强度低,改性纳米二氧化硅制备流程长、工艺复杂等缺点。本发明制备出的纳米纤维膜强度高、可加工性强,纤维直径小、分布均匀,可广泛应用于锂离子电池隔膜、过滤、生物医学材料等多个领域。

标签:
加工技术
江苏 - 无锡 来源:中冶有色网 2023-03-19
刚玉粉铸造涂料
刚玉粉铸造涂料 810     
 0

本发明公开了一种刚玉粉铸造涂料,包括有按重量份计的以下组分:甲醇25-35份,刚玉粉60-65份,松香1-2份,环氧树脂3-8份,双氰胺1-3份,锂基膨润土1-2份,聚乙烯醇缩丁醛0.05-0.08份,脂肪醇聚氧乙烯醚0.3-0.5份。本发明的有益效果为:本发明提供的一种刚玉粉铸造涂料,化学稳定性强,硬度高,生产过程中,不易产生金属冲刷槽,有效的增加了产品的使用寿命。

标签:
加工技术
江苏 - 无锡 来源:中冶有色网 2023-03-19
黑金星釉陶瓷制品辊道窑快烧方法

本发明涉及陶瓷制备方法,具体涉及黑金星釉陶瓷制品辊道窑快烧方法,素烧过的陶瓷的坯件,先用浸釉法施底釉,再用浸釉法或者淋釉法施面釉,烧成温度为1180~1890℃,烧成周期为5小时,底釉包括长石、石英、方解石、苏州土、二氧化锰、宜兴白土、宜兴土骨;面釉包括平江钾长石、湖州石英、长兴方解石、苏州高岭土、玻璃粉、氧化锌、碳酸锂、碳酸锶、氧化锰、氧化铜、氧化铁。本发明提供辊道窑快烧方法,通过新颖独特的釉料配方,烧成过程中不必再单独进行冷却保温阶段的处置,获得的黑金星釉的微结晶更稳定,烧成出釉层表面呈现有点点闪烁的星光这一独特的釉面效果。

标签:
加工技术
江苏 - 无锡 来源:中冶有色网 2023-03-19
激光雷达用559nm波长光纤输出激光器

一种激光雷达用559nm波长光纤输出激光器,信号光559nm、闲频光1500nm、泵浦光I?1319nm与泵浦光II?532nm进入559nm四波混频周期极化铌酸锂激光谐振腔,发生四波混频效应,产生信号光559nm输出,最后输出559nm波长光纤激光输出。

标签:
加工技术
江苏 - 无锡 来源:中冶有色网 2023-03-19
激光雷达用2489nm、1500nm双波长光纤输出激光器

一种激光雷达用2489nm、1500nm双波长光纤输出激光器,信号光2489nm、闲频光730nm、泵浦光I?1500nm与泵浦光II?905nm进入2489nm四波混频周期极化铌酸锂激光谐振腔,发生四波混频效应,产生信号光2489nm输出,最后输出2489nm、1500nm双波长光纤激光输出。

标签:
加工技术
江苏 - 无锡 来源:中冶有色网 2023-03-19
激光雷达用2009nm、905nm、1500nm三波长光纤输出激光器

一种激光雷达用2009nm、905nm、1500nm三波长光纤输出激光器,在1500nm激光输出光纤尾段设置1500nm分束光纤圈,分束一路1500nm激光输出,在905nm激光输出光纤尾段设置905nm分束光纤圈,分束一路905nm输出,信号光2009nm、闲频光785nm、泵浦光I?1500nm与泵浦光II?905nm进入2009nm四波混频周期极化铌酸锂激光谐振腔,发生四波混频效应,产生信号光2009nm输出,最后输出2009nm、905nm、1500nm三波长光纤激光输出。

标签:
加工技术
江苏 - 无锡 来源:中冶有色网 2023-03-19
激光雷达用559nm、1319nm双波长光纤输出激光器

一种激光雷达559nm、1319nm双波长光纤输出激光器,在1319nm激光输出光纤尾段设置1319nm分束光纤圈,分束一路1319nm激光输出,信号光559nm、闲频光1500nm、泵浦光I?1319nm与泵浦光II?532nm进入559nm四波混频周期极化铌酸锂激光谐振腔,发生四波混频效应,产生信号光559nm输出,最后输出559nm、1319nm双波长光纤激光输出。

标签:
加工技术
江苏 - 无锡 来源:中冶有色网 2023-03-19
医用673nm、532nm、1064nm三波长光纤输出激光器

一种医用673nm、532nm、1064nm三波长光纤输出激光器,在1064nm激光输出光纤尾段设置1064nm分束光纤圈,分束一路1064nm激光输出,在532nm激光输出光纤尾段设置532nm分束光纤圈,分束一路532nm输出,信号光673nm、闲频光750nm、泵浦光I 1064nm与泵浦光II 532nm进入673nm四波混频周期极化铌酸锂激光谐振腔,发生四波混频效应,产生信号光673nm输出,最后输出673nm、532nm、1064nm三波长光纤激光输出。

标签:
加工技术
江苏 - 无锡 来源:中冶有色网 2023-03-19
带纳米级二氧化钛光催化网微型空气净化器的防雾霾头盔

本发明涉及带纳米级二氧化钛光催化网微型空气净化器的防雾霾头盔,属于新能源劳护用品空气净化技术领域。在雾霾空气中前进的电动车驾驶人迎面吹来的污染空气通过活性炭过滤网过滤和电风扇加快进气风速进入头盔上的吸气管,锂离子电池向安装在LED紫外灯支架上的LED紫外灯供电,LED紫外灯射出的光线照射纳米级二氧化钛光催化网中的纳米级二氧化钛,增强了半导体光催化剂纳米级二氧化钛吸附、降解有机污染物和无机污染物的能力,结合使用医疗级HEPA过滤网、纳米银离子抗菌涂料、纳米大气净化涂料技术,将从进气口输入的污染空气净化为洁净空气,通过洁净空气供气管向电动车驾驶人供给洁净空气呼吸,确保驾驶人的人头各部分的健康。

标签:
加工技术
江苏 - 无锡 来源:中冶有色网 2023-03-19
铝合金结构材料
铝合金结构材料 810     
 0

本发明公开一种铝合金结构材料,按重量计,由以下各组分组成:10~14%的硅、5~7%的锌、3~5%的镁、3~4%的铁、0.2~0.8%的锰、0.5~0.7%的锶、0.2~0.4%的钨、0.2~0.3%的钒、0.08~0.1%的钴、0.06~0.07%的铬、0.05~0.08%的钛、0.03~0.04%的锂,余量为铝。本发明的铝合金的抗拉强度达到380~430MPa,断裂延伸率0.5~1.2%,具有良好的冲击韧性和加工成型能力,可用作结构材料。

标签:
加工技术
江苏 - 无锡 来源:中冶有色网 2023-03-19
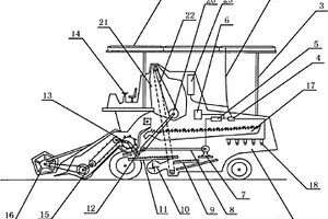
将太阳能光伏发电系统作为动力装置的收割机

本发明涉及一种将太阳能光伏发电系统作为动力装置的收割机,属于新能源应用技术领域。太阳光照射收割机顶部的顶蓬支撑架上方的硅太阳能电池和贴在收割机的外壳的外部表面上的化合物薄膜太阳能电池产生直流电,直流电通过导电线输入控制器进行调整、接着输入逆变器转换成交流电,交流电输入电动机,将电能转换成机械能,机械能通过传动带和传动轮驱动收割机的各部件进行运转,按照顺序完成谷类农作物的拔禾、割台推运、脱粒、运粮、卸粮、逐稿等收割作业。从控制器输出另一部分直流电,可用于安装在收割机后部的发光二极管的照明,还可以输入锂离子电池储存备用。

标签:
加工技术
江苏 - 无锡 来源:中冶有色网 2023-03-19
光伏新能源文化朗诵字画

本发明涉及光伏新能源文化朗诵字画,属于新能源应用技术领域。字画是中国传统的文化作品,字画中包含着深厚的文化底蕴。朗诵家朗诵字画内容能抒发人的感情。近年来,薄膜太阳能电池的技术进步很快,无论在强光照射下还是在室内弱光照射下,薄膜太阳能电池都能产生电流。柔性薄膜太阳能电池厚度薄、重量轻、可以卷曲,能够安装在字画上和字画一起展开或者卷轴,适合安装在字画正面上进行独立发电,电流通过导电线、安装在薄膜太阳能电池背面的接线盒和安装在字画卷轴中的控制器输入录音播放器播放朗诵家的朗诵录音,并通过安装在字画背面的扬声器进行播放,使游客在欣赏字画的同时接听悦耳的朗诵声调。在字画卷轴中安装锂离子电池储存电能。

标签:
加工技术
江苏 - 无锡 来源:中冶有色网 2023-03-19
柴油车颗粒补集催化剂及其制备方法

本发明涉及一种柴油车颗粒补集催化剂及其制备方法,属于机动车尾气后处理技术领域。起括载体,所述载体为钛酸铝、碳化硅或者堇青石材质、具有非对称壁流式蜂窝状结构的整体载体,载体上涂覆有催化氧化碳颗粒和挥发性有机物的涂层材料,其涂层材料的涂覆量为1~50g/L。在涂层材料中,采用氧化铈和氧化铝作为贵金属Pt和Pd的负载基体,碱金属(钾、钠、锂等)作为化学和结构助剂。采用本发明制备的柴油车颗粒补集催化剂拥有更低有碳颗粒氧化平衡点温度,因为碱金属的存在,增大了碳颗粒与催化剂的接触率,催化剂催化燃烧碳颗粒活性增强。从而有效减少了颗粒物的排放,降低了C‑DPF使用过程中的背压,同时也有效降低了NOx的排放。本发明制备方法简单,步骤易于操作。

标签:
加工技术
江苏 - 无锡 来源:中冶有色网 2023-03-19
用于极片卷绕的自动换卷装置

本发明涉及锂电池卷绕技术领域,公开一种用于极片卷绕的自动换卷装置。该用于极片卷绕的自动换卷装置包括背板、送料过辊和一对换卷组件;送料过辊垂直连接于背板,一对换卷组件包括第一换卷组件和第二换卷组件,对称设置于背板上,并分别位于所料过辊的两侧,一对换卷组件上绕设有料卷,其中第一换卷组件的料卷绕设于送料过辊用于送料,其上的料卷为送料卷,第二换卷组件用于接料,其上的料卷为接料卷,一对换卷组件能够将送料卷切断为回收段和连接于送料过辊的待接料段,第二换卷组件能够将接料卷末端通过第一胶带粘接于待接料段一侧,第一换卷组件能够将第二胶带贴设于接料卷末端和待接料段的另一侧,以使接料卷继续送料。该装置接料准确。

标签:
加工技术
江苏 - 无锡 来源:中冶有色网 2023-03-19
镍钴锰三元正极材料的激光烧灼制备方法

本发明适用于锂电池技术领域,提供一种镍钴锰三元正极材料的激光烧灼制备方法,本发明采用激光烧灼法制备的镍钴锰三元材料,通过合理Ni、Co、Mn比例,并加入一定量的碳纳米管,并且合理设置粉料的厚度以及激光反应器烧灼温度,在激光反应器中进行烧灼反应,这种方法比传统方法烧结制备的三元材料组成更加均一,结构更稳定,从而电性能得到提高。

标签:
加工技术
江苏 - 无锡 来源:中冶有色网 2023-03-19
耐高温不氧化石墨陶瓷材料

本发明公开了一种耐高温不氧化石墨陶瓷材料,包括以下组分,锂化物或钛,铝、氧化铝、钛酸铝、氮化铝、莫来石、尖晶石、堇青石、二氧化钛中的一种或几种的组合,硅、二氧化硅、碳化硅、氮化硅中的一种或几种的组合,碳、碳化硼、氮化硼、氧化镁、氧化钙、氧化锆、氟化钙、氧化钇、氧化镧、氧化铈中的一种或几种的组合。本发明的陶瓷材料在高温下不氧化、不粘金属熔液,不会污染金属熔液,保证金属熔液的纯度,有的配方30s内瞬间加热至1400~1500℃,不开裂、不炸断,可有效替代石墨用于冶金领域的熔液搅拌棒或搅盘;陶瓷材料强度高、硬度大、耐磨损,使用寿命是同等条件下使用石墨材料的十倍以上。

标签:
加工技术
江苏 - 无锡 来源:中冶有色网 2023-03-19
化纤切片干燥工艺
化纤切片干燥工艺 864     
 0

一种化纤切片干燥工艺,包括以下步骤:(1)采用干燥机对吸入风进行一级脱湿,空气经过压缩后,通过降低冷冻水温度将冷冻后的空气温度降低至≤4℃,冷冻后的空气中含水量降低至35%,冷冻水温度≤12℃;(2)采用微热再生式干燥机和氯化锂脱湿器对经一级脱湿之后的干空气进行二级脱湿,通过油雾过滤器以除去空气残余的油水混合汽体,将微热再生式干燥机的再生风温控制在90~115℃,再生风量控制在18~22Nm 3 /min,通过二级脱湿后得到的干空气露点≤‑100℃。本发明通过对切片干燥工艺与切片干燥流程不断优化改造,使切片能均匀干燥,提高了生产效率。

标签:
加工技术
江苏 - 无锡 来源:中冶有色网 2023-03-19
具有按摩功能的美容灯
具有按摩功能的美容灯 1031     
 0

本发明公开了一种具有按摩功能的美容灯,包括可拆卸按摩头和手持柄,可拆卸按摩头上安装有美容灯组和按摩机构;美容灯组包括LED安装灯板和LED灯组,LED灯组的上表面还罩接有滤光灯罩;按摩机构包括转动按摩头和超声波模块;转动按摩头包括可拆卸按摩套和活动滚轮,活动滚轮的中心穿接有中心旋转轴,中心旋转轴的轴末端连接有微型伺服电机;超声波模块包括超声波发生器和超声波换能器,超声波换能器的输出端连接有超声波探头;手持柄中安装有智能控制板和可充电锂电池,微控制器上连接有功率调节器控制器的GPIO端口连接有报警保护装置,本发明既具有LED灯光美容效果,还具有振动按摩和超声波护肤效果,使用方便安全稳定性好。

标签:
加工技术
江苏 - 无锡 来源:中冶有色网 2023-03-19
搪玻璃用瓷釉
搪玻璃用瓷釉 1011     
 0

本发明公开了一种搪玻璃用瓷釉,包括以下重量份数的组分:80~100份的氧化硅,60~80份的钾长石,40~80份的钠长石,30~50份的氧化钙,30~50份的硼砂,30~40份的堇青石,20~30份的氧化镁,1~10份的氧化锰,1~10份的三氧化二铁,1~10份的氧化铜,1~5份的氧化镧,1~5份的氧化锶,1~5份的氧化铷,1~5份的氧化锂和1~5份的氧化钡。本发明与传统技术相比,耐磨耐高温抗腐蚀能力强,适合长期使用,修补周期长。

标签:
加工技术
江苏 - 无锡 来源:中冶有色网 2023-03-19
钢铁表面复合纳米镀液及其制备方法

本发明公开了一种钢铁表面复合纳米镀液及其制备方法,由以下组分按重量份数配比制成:硫酸钠18~38份、氯化锂7~28份、硼酸15~24份、纳米碳化硅7~19份、纳米硅酸钠8~22份、氯化镍12~23份、PO乳化剂8~22份、十二烷基磺酸钠8~21份、乙二胺四乙酸9~21份、水26~52份。与现有技术相比,本发明具有以下优点:(1)本发明所述钢铁表面复合纳米镀液首先对基础镀液的加工工艺进行优化,其次向基础镀液中加入纳米镀液获得一种能够同时兼顾耐高温、耐腐蚀和耐磨损性能的钢铁表面镀液;(2)本发明所述钢铁表面复合纳米镀液生产工艺简单,易于操作,且适合大规模生产。

标签:
加工技术
江苏 - 无锡 来源:中冶有色网 2023-03-19
用吸收式制冷空调降温的汽车防晒机器人

本发明涉及用吸收式制冷空调降温的汽车防晒机器人,属于智能机器人应用技术领域。汽车防晒机器人内安装电子计算机控制器,电子计算机控制器通过导电线指令行驶控制装置控制行驶装置和机械部件驱动前导向轮和后行驶轮行驶到指定的停车位,使出冷风口对准汽车的顶部。太阳能集热器吸收太阳光的热量,升高热水箱内的水温,辅助加热器也可以升高热水箱内的水温,用太阳能热水驱动单效溴化锂—水吸收式制冷机实现制冷,使冷却水箱、冷冻水箱内的水温大幅度降低,冷冻水使风机盘管内的空气降温,从风机盘管下面的出冷风口向下吹向汽车顶部的冷风、给汽车顶部和车内乘坐空间降低温度。不再用消耗燃油发动汽车引擎带动车内空调降温的老办法。

标签:
加工技术
江苏 - 无锡 来源:中冶有色网 2023-03-19
低电压便携式户外光伏应急电源

本发明涉及一种低电压便携式户外光伏应急电源。低电压便携式户外光伏应急电源包括光伏板,主机座,支撑架;所述的光伏板布置在主机座上,光伏板可相互折叠放置,主机座的下方设有支撑架;主机座内设有锂电池,主机座外侧设有对外适配端口。本发明提供的低电压便携式户外光伏应急电源,采用太阳能功能,节能环保。本发明提供的低电压便携式户外光伏应急电源,结构轻便便于携带。

标签:
加工技术
江苏 - 无锡 来源:中冶有色网 2023-03-19
便携式无线传输设备
便携式无线传输设备 1074     
 0

本发明提供一种便携式无线传输设备,包括:嵌入式处理器、显示模块、传输模块、存储模块和电源模块;所述显示模块、传输模块、存储模块和电源模块与嵌入式处理器相连,所述显示模块包括:电量显示灯、状态显示灯和电源显示灯;所述传输模块包括:USB接口和无线传输模块;所述电源模块包括:开关、充电接口和外接电源接口;本发明同时支持多点对多点、点对点网络工作方式;设备需支持双无线电模块,同时具有传输功能;符合自动网状网路由传输协议;每条链路具有不少于150mbps可用带宽,并保证网络稳定及低延时;设备需要具有移动架构模式(适用多种复杂环境需要及移动网络需要);拥有大容量锂电池供电,工作时间长,即开即用,方便携带。

标签:
加工技术
江苏 - 无锡 来源:中冶有色网 2023-03-19
可以同时检测多巴胺和扑热息痛的碳纳米管复合材料电化学传感器的制备

本发明提供了一种双亲光电活性功能支化大分子修饰碳纳米管制备碳纳米管复合材料及其应用于电化学传感器的制备方法,属于大分子自组装和复合材料电化学传感器领域,由以下步骤制备而得:1)首先合成了一种双亲光电活性支化功能大分子;2)将合成的功能大分子用于修饰碳纳米管制备可水分散的碳纳米管复合材料;3)将碳纳米管复合材料分散液滴到干净的电极表面,通过紫外光照交联成膜;4)将修饰后的电极插在高氯酸锂/乙腈溶液中电聚合制备得到碳纳米管复合材料电化学传感器。该方法采用水做溶剂,节能环保,且制得的纳米复合材料传感器稳定性好,灵敏度高、延长了使用周期。

标签:
加工技术
江苏 - 无锡 来源:中冶有色网 2023-03-19
激光雷达用2043nm、780nm、905nm、1500nm四波长光纤输出激光器

一种激光雷达用2043nm、780nm、905nm、1500nm四波长光纤输出激光器,在1500nm激光输出光纤尾段设置1500nm分束光纤圈,分束一路1500nm激光输出,在780nm激光输出光纤尾段设置780nm分束光纤圈,分束一路780nm激光输出,在905nm激光输出光纤尾段设置905nm分束光纤圈,分束一路905nm输出,信号光2043nm、闲频光780nm、泵浦光I?1500nm与泵浦光II?905nm进入2043nm四波混频周期极化铌酸锂激光谐振腔,发生四波混频效应,产生信号光2043nm输出,最后输出2043nm、780nm、905nm、1500nm四波长光纤激光输出。

标签:
加工技术
江苏 - 无锡 来源:中冶有色网 2023-03-19
镍铬合金冲压件
镍铬合金冲压件 1057     
 0

本发明公开了镍铬合金冲压件,由按照重量份计的以下物料组成:氢氧化铜30-40份,三氧化二锰25-35份,二氧化硅22-26份,氧化锌15-25份,氧化钛12-16份,三氧化铬12-16份,氢氧化镍10-15份,二氧化锡10-15份,四氧化三铁10-14份,氧化钴8-12份,三氧化钼8-10份,氢化锂5-9份,氧化铍6-8份,五碘化钽6-8份,五氧化铌4-6份。本发明的有益效果为:本发明提供的镍铬合金冲压件,通过调整冲压件的组成配比,能够有效降低压铸件中的皱纹率和扭曲率,相比于现有技术,质量能够提高3-4倍。

标签:
加工技术
江苏 - 无锡 来源:中冶有色网 2023-03-19
显示人体抬腿脚踏旋转装置的圈数的计数式腿部运动器械

本发明涉及显示人体抬腿脚踏旋转装置的圈数的计数式腿部运动器械,属于下肢静脉曲张护理技术领域。旋转轴穿过脚踏旋转装置底座上部的左右两面档壁上的圆孔和正圆形的旋转轮的中心圆孔,旋转轴的左端与左转柄连接,左转柄的外端与左脚踏板连接,旋转轴的右端与右转柄连接,右转柄的外端与右脚踏板连接,安装在脚踏旋转装置底座内的锂离子电池分别向光电计数器和旋转圈数显示器供电,左脚踩踏左脚踏板和右脚踩踏右脚踏板旋转时,带动旋转轮转动,光电计数器感知旋转轮的转动次数,并在旋转圈数显示器的显示屏上显示出旋转轮的旋转次数,静脉曲张患者通过调整旋转轮的旋转次数对静脉曲张疾病进行恰当的护理。

标签:
加工技术
江苏 - 无锡 来源:中冶有色网 2023-03-19
上一页 19 20 21 22 23 ... 500 ... 786 下一页
共786页    到第

中冶有色为您提供最新的江苏无锡有色金属材料制备及加工技术理论与应用信息,涵盖发明专利、权利要求、说明书、技术领域、背景技术、实用新型内容及具体实施方式等有色技术内容。打造最具专业性的有色金属技术理论与应用平台!

全国热门有色金属设备推荐
展开更多 +
全国热门有色金属技术推荐
展开更多 +

 

江西省隆恩特环保设备有限公司
宣传

报名参会
更多+

报告下载

有色专家
更多+

北京科技大学
教授
中南大学
院长/教授
北京科技大学
副院长/教授
重庆大学
副院长/教授
长沙矿冶院检测技术有限责任公司
总经理
赤泥综合利用研究报告2025
推广

热门技术
更多+

推荐企业
更多+

福建省金龙稀土股份有限公司
宣传

发布

在线客服

公众号

电话

顶部
咨询电话:
010-88793500-807