青岛垚鑫智能科技有限公司
宣传

位置:中冶有色 >

有色技术频道 >

分类:
全部
矿山技术
冶金技术
材料制备及加工技术
环境保护技术
分析检测技术
 
全部
废水处理技术
大气治理技术
固/危废处置技术
土壤修复技术
地区:
全部
北京
天津
上海
重庆
河北
山西
辽宁
吉林
黑龙江
江苏
浙江
安徽
福建
江西
山东
河南
湖北
湖南
广东
海南
四川
贵州
云南
陕西
甘肃
青海
内蒙
广西
西藏
宁夏
新疆
其他
其他
展开
 
全部
合肥
芜湖
蚌埠
淮南
马鞍山
淮北
铜陵
安庆
黄山
阜阳
宿州
滁州
六安
宣城
池州
亳州

安徽合肥有色金属环境保护技术理论与应用

免费发布技术信息>>
乙二醇联产碳酸二甲酯所得废结晶盐的处理方法

本发明属于固废处理领域,具体涉及一种乙二醇联产碳酸二甲酯所得废结晶盐的处理方法,所述废结晶盐主要成分为:硝酸钠、碳酸钠、草酸钠、甲酸钠、亚硝酸钠,将废结晶盐用水溶解得到废结晶盐混合液,依次对混合液进行下述处理:加入硝酸、在50~70℃条件下向其中鼓入空气、调节混合液pH至中性、加入氢氧化钙、过滤除沉淀并将滤液蒸发结晶,烘干得到硝酸钠产品。本发明的方案,通过化学反应将废结晶盐中的多种成分转化成硝酸钠,且反应过程中副产物多为气体或少量沉淀,可以直接去除,所得硝酸钠产品纯度高,可直接作为工业盐使用。

标签:
固废
安徽 - 合肥 来源:中冶有色网 2023-03-19
利用城市污泥制备脱硝催化剂涂覆浆料的方法

本发明公开一种以城市污泥为原料制备脱硝催化剂涂覆浆料的方法,涉及固废资源化技术领域,本发明包括以下步骤:(1)将城市污泥焙烧得城市污泥粉体;(2)将城市污泥粉体、单乙醇胺、偏钒酸铵、偏钨酸铵、七钼酸铵、去离子水按质量比混合,加入等量的乙醇水溶液形成混合液后,加入混合液质量1‑2%聚乙二醇、铝溶胶或聚乙烯醇,混合后,干燥焙烧,得到活性催化剂粉体;(3)将活性催化剂粉体、粘结剂、硅溶胶、去离子水按质量比混合,球磨。本发明的有益效果在于:各原料之间协同作用,制备得到粒径低、分散均匀的脱硝催化剂涂覆浆料,制得的涂覆浆料涂覆到载体上后,催化剂脱硝效率高,制备方法简单成本低廉。

标签:
固废
安徽 - 合肥 来源:中冶有色网 2023-03-19
可伸缩式机械刮料装置
可伸缩式机械刮料装置 1178     
 0

本发明公开一种可伸缩式机械刮料装置,包括皮带和皮带支撑架,还包括与皮带支撑架连接的固定板、与固定板连接的基板,所述的基板上安装有刮刀;所述的刮刀上安装有刮刀保护膜。有益效果是本发明结构简单,安装方便,方便清理粘结在皮带上的顽固废料,便于拆卸,占用空间小,效率高。除此之外,基板底部带有伸缩块,刮刀安装位置的下方、基板的表面设置有挡块。上述设计提高了设备整理的安全性和灵活性,保证了使用。

标签:
固废
安徽 - 合肥 来源:中冶有色网 2023-03-19
含氟有机废气处理及其废水零排放系统及方法

本发明提供一种含氟有机废气处理及其废水零排放系统及方法,包括稳压系统,焚烧系统,急冷系统,喷淋吸收系统,喷淋液循环处理系统;在氧气存在的条件下,含氟有机物高温分解,转化为HF、CO2和H2O,高温烟气经急冷处理、两级喷淋处理后排入大气;通过换热将系统中热量排出,通过中和沉淀将系统中的氟以固废形式分离出来,达到废水零排放的目的。本发明在处理过程中分离得到一定浓度的氢氟酸,可以回收利用也可以处理后继续循环利用,处理过程中无废液排放,避免二次污染,节约水资源,系统关键参数自动控制,减少了人工操作,可以长期稳定运行。

标签:
固废
安徽 - 合肥 来源:中冶有色网 2023-03-19
纳米粉体行业零排放污水处理工艺

本发明公开了一种纳米粉体行业零排放污水处理工艺,包括凝絮池、沉淀池、电泳池、碟式过滤器、正压超滤过滤器、树脂过滤罐、RO膜过滤罐、海淡膜过滤器和蒸发器;凝絮池对污水中的纳米粉体进行凝絮,沉降;然后经过沉淀池,获得沉淀污泥和一级清水;一级清水进入电泳池,去除大部分超细粉末,然后经过碟式过滤器和正压超滤过滤器进行过滤,获得超滤清水和超滤浓缩水;将超滤清水经过树脂过滤罐,获得软化水;将软化水经过RO膜过滤罐和海淡膜过滤器,获得净水和浓水,将浓水经过蒸发器获得超净水;本发明的纳米粉体行业零排放污水处理工艺,通过凝絮和沉降,实现初步处理,再通过多级过滤和浓缩,获得完全分离的固废和纯水,实现污水零排放。

标签:
固废
安徽 - 合肥 来源:中冶有色网 2023-03-19
预埋轻质块的内隔墙板及其制备方法

本发明公开了一种预埋轻质块的内隔墙板的制备方法,包括如下步骤:将模具清理干净并刷涂脱模油,在模具内铺设绑扎好的轻质钢筋网笼和预埋件;将水泥、粉煤灰、炉渣、建筑垃圾陶粒、废旧轻质颗粒以及称量好水的质量75%,依次加入搅拌机,搅拌2分钟,然后将剩余的25%水以及外加剂、增稠剂加入搅拌机,搅拌2分钟制得轻质混凝土浆料;将上述制得轻质混凝土浆料一次性浇筑于模具中并进行充分振捣、收面和拆模养护。与现有技术相比,轻质混凝土以工业固废炉渣、建筑垃圾陶粒和废旧轻质颗粒完全替代传统轻质骨料,节能环保,显著降低混凝土单方成本;另外轻质混凝土容重低,减轻了结构自重,降低基础荷载,具有显著的综合经济效益。

标签:
固废
安徽 - 合肥 来源:中冶有色网 2023-03-19
铸铝无机旧砂联合再生及回用方法

本发明提供了一种铸铝无机旧砂联合再生及回用方法,既解决了无机旧砂产生的固废环保问题,同时实现旧砂再利用降低生产成本、为企业创造直接效益,本发明的技术方案包括无机旧砂的再生以及无机再生砂的回用,其中无机旧砂的再生包括破碎、热法再生、激冷、湿法再生、脱水、烘干以及筛分等,回用方法包括加入无机粉剂、无机粘接剂、甲基硅油、氢氧化钠搅拌混合等。

标签:
固废
安徽 - 合肥 来源:中冶有色网 2023-03-19
可改善泵送性能的泵送混凝土掺合料及其制备方法

本发明公开了一种可改善泵送性能的泵送混凝土掺合料及其制备方法,该掺合料按重量份,包括以下原料:铜尾渣70~80,粒化高炉矿渣20~30,外加剂0~0.1,外加剂由三乙醇胺、聚乙烯醇和聚羧酸塑化剂组成。本发明利用湿法选矿的铜尾渣中含有大量5um以下的细粉颗粒,通过表面改性、烘干、粉磨等工艺,制备出能有效减少泵送混凝土的泌水、离析和可显著提高可泵送性的混凝土掺合料,能大量利用固废,产品成本低,经济价值高,符合国家循环经济和可持续发展政策。

标签:
固废
安徽 - 合肥 来源:中冶有色网 2023-03-19
煤化工RO浓盐水处理工艺

本发明公开了一种煤化工RO浓盐水处理工艺,所述浓盐水首先进入活性炭吸附塔,之后通过纳滤分盐系统实现二价盐和一价盐初步分离,二价盐溶液通过电解、蒸发和降温结晶后得到工业芒硝,一价盐溶液则通过RO膜浓缩、蒸发结晶和离心脱水后得到工业氯化钠晶体。本工艺能够降低蒸发液体积和能耗,并提高所得结晶盐的纯度和品质,资源回收的同时减少固废处理量。

标签:
固废
安徽 - 合肥 来源:中冶有色网 2023-03-19
建筑垃圾透水混凝土配合比设计方法

本发明公开了一种建筑垃圾透水混凝土配合比设计方法,骨料采用4.75~9.5mm、1.18~2.36mm两档断级配建筑垃圾,在实现绿色低碳、节能环保建设,同时有效增大集料之间接触面,利于水泥胶凝材料形成连续的浆桥,进而大大提升透水混凝土强度,利用断级配的两档建筑垃圾作为骨料,在形成透水混凝土骨架的同时,减少骨料之间的干涉作用,利于骨架稳定性,同时减少因粒径差异过大带来的离析现象,利于现场施工作业。该方法综合透水混凝土强度与工作性能之间的协调性,能有效减少施工作业过程中出现以一种性能的损失为代价而进行的施工,再实现固废循环再利用同时,有效保证了施工质量,具有显著的社会经济效益。

标签:
固废
安徽 - 合肥 来源:中冶有色网 2023-03-19
城市污泥干化装置
城市污泥干化装置 820     
 0

本发明属于固废处理领域,具体涉及一种城市污泥干化装置。本发明包括轴线倾斜放置的滚筒以及用于驱动该滚筒沿其轴线旋转的驱动组件,滚筒内部具备有容纳污泥的容纳腔;容纳腔沿滚筒轴向方向顺延贯穿设置,且其进料端处于滚筒的高端部处,其出料端位于滚筒的低端部;城市污泥干化装置还包括用于供给容纳腔热量的供热通道以及收集和排除湿污泥烘干后飞灰废热的回风通道,所述供热通道连通容纳腔布置;回风通道进风端连通容纳腔,出风端连通于外部飞灰废热处理设备。本发明污泥干化效率高,可避免传统的“飞灰废热随干泥同时排出”所导致的环境污染乃至人身安全等状况的发生,其结构简洁,操作可靠,工作效率高而安全稳定。

标签:
固废
安徽 - 合肥 来源:中冶有色网 2023-03-19
利用改性水生植物生物炭除水体中氮磷的方法

本发明公开了一种利用改性水生植物生物炭除水体中氮磷的方法,涉及水处理和固废处理技术领域。本发明通过步骤一:将水生植物用含镁离子高盐母液废水进行浸泡改性;步骤二:对浸泡后的水生植物进行炭化,得到改性水生植物生物炭和步骤三:将改性水生植物生物炭加入待处理水体中,即可实现氮磷的去除。本发明通过利用恶性水生植物同含镁离子高盐母液废水混合制备成改性水生植物生物炭,利用了恶性水生植物和含镁离子高盐母液废水,不仅减轻对生态环境的破坏,而且有效的提高了改性水生植物生物炭在水体中氮磷共存情况下的吸附能力,更有利于投入到实际应用中;且制备原材料来源广、成本低廉,制备方法简单易行,便于投入实际生产中。

标签:
固废
安徽 - 合肥 来源:中冶有色网 2023-03-19
用于化工泵壳体表面的油漆

本发明提供了一种用于化工泵壳体表面的油漆,该油漆分为底漆和面漆,在面漆中加入了经济实惠的天然树脂,而且油漆的制备过程简单,没有固废和废弃产生,适合大面积生产,并且其作为化工泵壳体的表面涂层,具很好的防护效果,延长了化工泵的使用寿命,大大扩大了化工泵壳体材料的选择范围,降低了对铸造化工泵壳体材料的要求,降低化工泵整体的铸造成本。

标签:
固废
安徽 - 合肥 来源:中冶有色网 2023-03-19
基于互联网的化学试剂供应链管理系统

本发明提出了一种基于互联网的化学试剂供应链管理系统,包括试剂数据模块,预存有产品信息、商品与销售商和/或生产商的绑定关系;议价采购模块,包括依次设置的需求提供端口、采购流程单元、议价单元、入库流程单元;销售反馈模块,与试剂数据模块连接,包括依次设置的销售流程单元、库存访问单元;监管模块,与试剂数据模块连接,用于接入监管机构的管理系统或终端设备;接收监管机构上传的查询请求数据,并根据监管机构权限向监管机构下发监管机构所请求查询的数据。将试剂供应链所涉及的生产、用户、销售、存储、监管、固废回收集成到同一平台上,形成对完整供应链链条的集成管理。

标签:
固废
安徽 - 合肥 来源:中冶有色网 2023-03-19
高浓度有机废水处理方法及装置

本发明涉及污水催化处理技术领域,具体地,涉及一种高浓度有机废水处理方法及装置。针对现有技术中有机废水处理方法工艺复杂,使用时催化条件要求高,对高浓度有机废水处理能力低,且当有机废水中固废含量少导致的不能形成碳球的技术问题,本方案的高浓度有机废水处理方法,在待处理有机废水中取出少量形成碳球结构,再采用质量分数1~5%的有机酸和质量分数2~10%的金属盐溶于硫酸溶液作为催化剂,于密闭容器中,搅拌加热,工艺简单,使用条件宽泛,在纯液体高浓度有机废水的处理中效果优异。本方案还提供了一种高浓度有机废水处理装置,可在同一装置中处理含高浓度有机物的废水,占地面积小,显著提高了效率和效益。

标签:
固废
安徽 - 合肥 来源:中冶有色网 2023-03-19
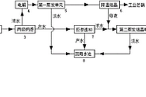
工业废盐处理系统与工艺

本发明公开了一种工业废盐处理系统与工艺,属于工业废盐处理领域。一种工业废盐处理系统,包括:废盐溶解装置、管膜装置、纳滤膜装置与蒸发结晶装置;管式膜的输入端用于输入废盐溶液,所述管膜装置的输出端连接所述纳滤膜装置的输入端,所述纳滤膜装置执行一级或多级纳滤,所述纳滤膜的输出端与所述蒸发结晶装置连接,所述蒸发结晶装置蒸发所述纳滤膜装置输出的纳滤膜清液,获得结晶工业盐。本申请的废盐处理系统与工艺行之有效的解决了以氯化钠为主的工业废盐处理问题,并且降低了以氯化钠为主的工业废盐的处理成本,为有限的固废填埋厂增加了空间。为系统的稳定性、可靠性提供了保障。

标签:
固废
安徽 - 合肥 来源:中冶有色网 2023-03-19
炭基复合吸附材料的制备方法

本发明公开了一种炭基复合吸附材料的制备方法,将预处理后的餐厨垃圾、污水厂污泥与稻壳粉混合后,先采用双氧水和氢氧化钠进行预处理,然后加入三氯化铁和阳离子聚丙烯酰胺进行调理,压滤脱水,烘干后分步保温炭化,即得。本发明不仅可以实现对城市常见固废餐厨垃圾、污水厂污泥进行联合回收利用处理,而且制得的炭基复合吸附材料具有优良的吸附效果,尤其适合应用于含磷酸盐废水的无害化处理。

标签:
固废
安徽 - 合肥 来源:中冶有色网 2023-03-19
利用餐厨垃圾堆肥混合基质原位修复草坪的方法

本发明涉及草坪修复领域,公开了一种利用餐厨垃圾堆肥混合基质原位修复草坪的方法,包括以下步骤:调节混合基质中堆肥产物与辅料的配比;在混合基质中添加草籽,制成均匀的混合物;将混合物装进预制的可降解的盒体内,制成草坪修复盒;将草坪修复盒平铺在草坪受损区域内,定期浇水;利用混合基质和草籽混匀后填装在可降解无盖方盒内,对草坪受损区域进行原位修复,混合基质选用餐厨垃圾堆肥产物与辅料,既富含植物生长所需的各类营养,还能保水保土,与此同时也实现了固废资源化利用。

标签:
固废
安徽 - 合肥 来源:中冶有色网 2023-03-19
新型市政工程用安全防护装置

本实用新型公开了市政工程技术领域的一种新型市政工程用安全防护装置,包括安装框以及与安装框转动连接的盖板,盖板上开设有多个均匀分布的通槽,盖板底部位于多个通槽一侧均设有封板,封板的两侧均设有与安装框固定连接的支撑板,支撑板的顶部滑动连接有与封板一端固定连接的斜块,相邻的两个斜块之间通过固定杆固定连接,安装框的两侧靠近盖板转动处均滑动贯穿有按压杆,按压杆的顶部固定连接有按压板;通过对两侧限位板同时移动,使得按压板按压,使得按压杆与斜块接触,使得斜块在支撑板上滑动,通过封板对盖板的通槽进行封闭,可对盖板周围的固废进行清扫处理,可有效避免固废从通槽进入干板内部,造成对窨井处发生堵塞。

标签:
固废
安徽 - 合肥 来源:中冶有色网 2023-03-19
含氰电镀废水处理系统

本实用新型公开了一种含氰电镀废水处理系统,包括依次布置且依次连通的调节池(1)、破氰池一(2)、破氰池二(3)、高效气浮装置(4)、污泥池(12)、板框压滤机(13)和固废处理装置(14),在高效气浮装置(4)后面还依次布置且依次连通有含铜废水调节池(5)、一级反应池(6)、二级反应池(7)、中间水池(8)、TMF系统(9)、RO系统(10)和回用水池(11),所述电镀污泥处理装置为回转窑固废焚烧系统。与现有技术相比,本实用新型的有益效果是:结构简单、废水全部处理回用并且电镀污泥处理彻底。

标签:
固废
安徽 - 合肥 来源:中冶有色网 2023-03-19
工业废气处理用等离子氧化装置

本实用新型属于等离子氧化装置领域,尤其是一种工业废气处理用等离子氧化装置,针对现有的现有的工业废气处理装置在对含有有毒有害物质的废气时效果有限,处理效率低且能耗较大,导致未完全净化的废气直接排放对空气污染严重,且没有对工业废气中的固废进行单独处理,且不能对固废进行收集的问题,现提出如下方案,其包括设置为中空结构的过滤箱,所述过滤箱侧壁上开设有环形槽,环形槽内转动安装有环形过滤板,过滤箱的顶部内壁上开设有第一滑槽。本实用新型结构简单,操作方便,能够快速方便的对过滤箱内的废气进行过滤,将粘附在环形过滤板上的废物进行清理收集,提高废气处理效果,节能环保高效,所以满足了人们的需求。

标签:
固废
安徽 - 合肥 来源:中冶有色网 2023-03-19
重质免烧陶粒及其制备工艺

本发明提供一种重质免烧陶粒及其制备工艺,重质免烧陶粒堆积密度大于1400kg/m3,表观密度大于2600kg/m3,吸水率低于4%,由包括以下重量份的组分制备而成:粉料100份,水泥15份‑25份,水玻璃10份‑15份,减水剂1.5份‑2.5份,氯化钙0.5份‑1份,水25份‑35份;其中,粉料包括铸造抛丸灰、钢渣粉、金属尾矿粉中的一种或者几种。本发明以铸造抛丸灰、钢渣粉、金属尾矿粉中的一种或几种为主要原料,不但可以稳定、持久、无害化地处理铸造抛丸灰、钢渣粉、金属尾矿粉等固废,能够有效解决固废难处理的问题,而且制备出来的重质免烧陶粒强度高,堆积密度大,吸水率低,能够应用于混凝土、墙体材料、水泥预制件等场所,制备工艺无需高温烧结,可以实现大规模工业化生产。

标签:
固废
安徽 - 合肥 来源:中冶有色网 2023-03-19
防静电化学原料桶的内衬桶及其工艺

本发明公开一种防静电化学原料桶的内衬桶及其工艺,包括原料桶、桶把、桶盖和内衬桶,所述原料桶侧面设有两个把孔,把孔外端设有固定耳,固定耳上设有通孔;所述把孔内设有转板,转板一端设有桶把,桶把贯穿通孔,桶把上贯穿设有保护把壳,保护把壳上贯穿设有把环;本发明有防静电功能,防止桶内化工原料在运输过程中产生静电,发生安全事故;本发明质量轻,桶壁上化工原料粘合少,固废处理成本低廉,具有很好的环保功效;本发明耐腐蚀强,外衬的铁桶可回收利用,大大降低化工原料的使用成本。

标签:
固废
安徽 - 合肥 来源:中冶有色网 2023-03-19
基于市政用垃圾回收处理装置

本实用新型涉及垃圾回收技术领域,且一种基于市政用垃圾回收处理装置,包括垃圾箱本体,所述垃圾箱本体外壁设有丢物口和放水口,所述垃圾箱本体内部安装有铁丝网、过滤网、挡板、斜块、弹簧、第一发动机、第二发动机和第三发动机,所述垃圾箱本体正面设有铁门和换滤口。该基于市政用垃圾回收处理装置,通过铁丝网与挡板,将其液体与固体进行分离,通过斜块将重垃圾和轻垃圾进行二次分离,达到了垃圾进行自动分类的有益效果,通过三层过滤网将液体进行多次过滤,使其液体可以进行回收利用,利用出水口将过滤的水排出,达到了对废水再次利用的有益效果。

标签:
固废
安徽 - 合肥 来源:中冶有色网 2023-03-19
蒸压石膏自保温多孔砖及其制作方法

本发明公开了一种蒸压石膏自保温多孔砖及其制作方法,蒸压石膏自保温多孔砖包括以下原料:磷石膏、电石渣、粉末、粉煤灰、改性剂1为3%、改性剂2为10%、转晶剂为4%、保温材料7%,原料中采用磷石膏等工业固废,改善了工业固废堆积造成的环境污染问题,降低了生产成本,减少了环境污染;配合加入改性剂、转晶剂和保温材料以及其他成分,制得的蒸压石膏砖质量好,强度高,保温隔热性能好;本发明蒸压石膏自保温多孔砖的制作方法中,设置2次粉混,采用低压蒸汽1.0MPa,蒸养温度只需120℃‑130℃,蒸养温度低,蒸养压力小,提高了蒸压石膏自保温多孔砖的制作过程中的安全性,大大降低了蒸汽成本,进而节约生产成本、降低能耗。

标签:
固废
安徽 - 合肥 来源:中冶有色网 2023-03-19
抗污堵的填埋场防渗系统

本实用新型公开了一种抗污堵的填埋场防渗系统,包括由上至下布置的第一土工滤网层、第一卵石排水层、第一人工防渗层和场底基础,各层材料在填埋场场底基础面上依次铺设,在填埋场运行过程中具有对固体废物渗滤液和地下水的反滤、导排、防渗功能;系统结构中土工滤网具有抗污堵、耐老化、抗压能力强、耐酸碱腐蚀等优点;渗滤液和地下水排水层在土工滤网反滤作用保护下,可以防止或延缓污堵现象的发生,长期保持稳定的排水功能。

标签:
固废
安徽 - 合肥 来源:中冶有色网 2023-03-19
超细干粉灭火剂灭火效能测试装置

本实用新型公开了一种超细干粉灭火剂灭火效能测试装置。该装置包括进气系统,气溶胶发生系统,装置支撑系统,杯式燃烧器,激光测量系统,废气收集处理系统和校准系统(7)。与现有的技术相比,该装置可在杯式燃烧器内形成稳定、均匀、分散的固体气溶胶,解决了粉尘分布不均匀导致的临界灭火浓度测量误差大的问题。该装置可用于既有的超细干粉灭火剂的灭火性能评估,也可用于新型超细粉体的配方设计优化。

标签:
固废
安徽 - 合肥 来源:中冶有色网 2023-03-19
全自动隔油提升一体化设备

本实用新型公开了一种全自动隔油提升一体化设备,包括相连通的杂物分离箱、油水分离箱及污水提升箱,所述杂物分离箱连接在废水进水管路上,所述杂物分离箱内的入水口处设有可自动剔除固体杂物的机械格栅,所述油水分离箱顶端设有自动刮油器,所述自动刮油器与集油桶相连通,所述油水分离箱底端设有与其相连通的集泥桶。本实用新型结构紧凑、节省土建施工,具有高效隔油自动排油、自动清除杂物、高效排泥与污水自动提升排放的功能,具有环保、卫生、节能、占有空间小等显著优点。

标签:
固废
安徽 - 合肥 来源:中冶有色网 2023-03-19
物资回收专用夹
物资回收专用夹 1025     
 0

本实用新型所述的一种物资回收专用夹,包括安装座、两油缸、左夹臂、右夹臂、滚轮,所述安装座上设有多个导轨,左夹臂和右夹臂分别通过滚轮和导轨与安装座相连,所述左夹臂和右夹臂相对侧分别设有多个纵向排列的夹持条,所述夹持条上开有梯形齿。本实用新型所述的货物回收专用夹,可对于打包后的废旧金属块或其他坚硬固体进行搬运、堆垛等,大大满足了用户对特殊物体的搬运需求,提高了生产效率。同时左右夹臂上分别设置有横向三角筋和纵向加强筋板,保证了夹臂在工作时不会变形、开裂,提高了使用性能及使用寿命。

标签:
固废
安徽 - 合肥 来源:中冶有色网 2023-03-19
智能监管蓝藻资源化利用的产业生态园模式

本发明提供一种智能监管蓝藻资源化利用的产业生态园模式,涉及蓝藻资源化利用领域,本发明充分挖掘开发蓝藻资源,将蓝藻分级提纯利用,盐析后的上清液用于提取多糖,初步盐析后的粗蛋白用于制作猪饲料,二次盐析后的精蛋白用于提纯试剂级藻蓝蛋白,生产产生的藻渣用于沼气工程。既能解决提取完藻蓝蛋白和多糖后剩余藻渣的污染问题,又能解决农业固废和畜禽粪污、生活污水等污染问题,同时还能产生沼气等清洁能源,沼气工程的沼渣还能用于生产富硒有机肥用于农业生产出高品质的富硒有机农产品。

标签:
固废
安徽 - 合肥 来源:中冶有色网 2023-03-19
上一页 17 18 19 20 21 ... 75 下一页
共75页    到第

中冶有色为您提供最新的安徽合肥有色金属环境保护技术理论与应用信息,涵盖发明专利、权利要求、说明书、技术领域、背景技术、实用新型内容及具体实施方式等有色技术内容。打造最具专业性的有色金属技术理论与应用平台!

全国热门有色金属设备推荐
展开更多 +
全国热门有色金属技术推荐
展开更多 +

 

江西省隆恩特环保设备有限公司
宣传

报名参会
更多+

报告下载

有色专家
更多+

昆明理工大学
副校长
华东理工大学
主任/教授
矿冶科技集团有限公司工程公司
副总经理
任灵宝金源矿业股份有限公司
技术发展部经理
江西理工大学
副处长/教授
赤泥综合利用研究报告2025
推广

热门技术
更多+

推荐企业
更多+

福建省金龙稀土股份有限公司
宣传

发布

在线客服

公众号

电话

顶部
咨询电话:
010-88793500-807