青岛垚鑫智能科技有限公司
宣传

位置:中冶有色 >

有色技术频道 >

分类:
全部
矿山技术
冶金技术
材料制备及加工技术
环境保护技术
分析检测技术
 
全部
废水处理技术
大气治理技术
固/危废处置技术
土壤修复技术
地区:
全部
北京
天津
上海
重庆
河北
山西
辽宁
吉林
黑龙江
江苏
浙江
安徽
福建
江西
山东
河南
湖北
湖南
广东
海南
四川
贵州
云南
陕西
甘肃
青海
内蒙
广西
西藏
宁夏
新疆
其他
其他
展开
 
全部
合肥
芜湖
蚌埠
淮南
马鞍山
淮北
铜陵
安庆
黄山
阜阳
宿州
滁州
六安
宣城
池州
亳州

安徽合肥有色金属环境保护技术理论与应用

免费发布技术信息>>
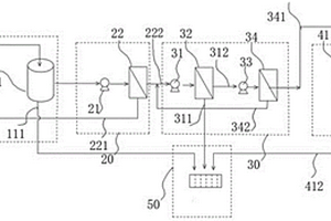
危险及医疗废物焚烧烟气综合吸收脱酸系统

本发明公开一种危险及医疗废物焚烧烟气综合吸收脱酸系统,包括急冷塔、碳酸氢钠粉料喷射塔、活性碳粉料喷射塔、烟道反应器、布袋除尘器、酸洗塔、基洗塔、烟气旁路、换热器、急冷水塔、碱液制备塔、飞灰储运塔,本发明系统适应温度范围宽,可以适应200℃到900℃的高温烟气,对焚烧设备没有严苛的工艺要求;具有脱酸效率高,可以稳定保证排放指标,优于GB18484-2001标准;生产过程中不需要任何污水处理设备,实现污水零排放。

标签:
危废
安徽 - 合肥 来源:中冶有色网 2023-03-19
新型危险废品抓取装置
新型危险废品抓取装置 1129     
 0

本发明涉及危险废品抓取技术领域,且公开了一种新型危险废品抓取装置,包括顶板,所述的顶部对称固定连接有两组支撑杆,每组所述支撑杆的数量为两个,所述顶板的底部通过固定套对称固定连接有两个第一电机,两个所述第一电机的输出端对称固定连接有两个第一螺杆,两个所述第一螺杆的后端通过转动座与顶板的底部固定连接,所述顶板的底部通过固定座对称固定连接有两个导杆,两个所述第一螺杆的外圆面之间螺纹套接有第一移动板。本发明解决了传统的危险废品抓取工作一般采用六瓣抓斗起重机来抓取危险废品,其抓取效率较低,且造成机械磨损速度快以及能源消耗较大,使得装置的使用寿命降低和能源利用率下降的问题。

标签:
危废
安徽 - 合肥 来源:中冶有色网 2023-03-19
用于客车涂装车顶打胶的辅助工装

本实用新型公开了一种用于客车涂装车顶打胶的辅助工装,包括刮板,所述刮板的底面固定安装有两个支撑板,两个所述支撑板分别位于刮板底面的两侧边缘处;所述刮板底面的两个支撑板均垂直于该刮板,所述刮板和支撑板均为钢板结构;所述刮板为等腰梯形结构,所述支撑板为直角三角形结构,所述支撑板的直角处设置有圆角,所述刮板上开设有圆弧切口,圆弧切口位于刮板窄边中心位置处;该辅助工装结构简单,便于制作,节约了成本;通过在刮板上设置圆弧切口和固定角度,保证了刮胶的胶宽、胶厚及均匀度,提高了打胶质量一致性;防止刮胶时两侧胶体溢出,代替了打胶前的遮蔽工作,进而减少了涂装危险固废产量。

标签:
固废
安徽 - 合肥 来源:中冶有色网 2023-03-19
工程型钢构组合式底泥脱水系统

本实用新型公开了工程型钢构组合式底泥脱水系统,包括从左至右依次组合对接而成的药剂箱、浓缩罐、清水池、沉淀池和主机基础平台,所述主机基础平台的上方安装有封闭式脱水主机,所述浓缩罐和封闭式脱水主机之间设置有调理反应装置,所述药剂箱通过PVC给水管和泵分别与浓缩罐、清水池、沉淀池和调理反应装置形成泡药加药系统,所述浓缩罐的上端安装有旋流套筒。本发明中,由多个小型模块组合构成,可以灵活地利用狭窄、分散的场地,通过活接管道快速进行系统连接,并就地展开作业,解决水环境整治工程中场地紧缺、狭小的问题,同时可以减少场地建设成本、缩减工期、减少对临时用地和周边生态的破坏、减少撤场时产生的固废。

标签:
固废
安徽 - 合肥 来源:中冶有色网 2023-03-19
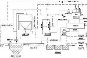
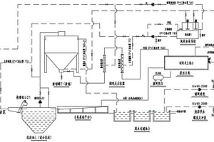
含油污泥油品回收及无害化处理的系统

本实用新型涉及有机固废处理技术领域,提供了一种含油污泥油品回收及无害化处理的系统。本实用新型提供的系统包括低温调质装置1、离心装置2、间接式回转窑3、洗涤塔4、二燃室5、急冷脱酸塔6、除尘净化装置7、油水分离装置8和污水处理系统9。本实用新型提供的系统以低温调质装置1及离心分离装置2为油品回收主要装置,以间接式回转窑3为间接式热解装置,整个系统运行成本低,设备投资小,可处理高含油率的含油污泥,避免了设备结焦和焦油堵塞问题。以本实用新型提供的系统进行含油污泥油品回收及无害化处理,油品回收效率高,无害化、减量化及资源化水平显著,经济效益好,易于产业化推广及应用。

标签:
固废
安徽 - 合肥 来源:中冶有色网 2023-03-19
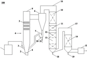
低热值燃料资源化燃烧利用装置

本实用新型公开了一种低热值燃料资源化燃烧利用装置,涉及低热值燃料燃烧技术领域,包括循环流化床焚烧炉、旋风分离器、尾部烟道结构和余热回收利用结构;循环流化床焚烧炉包括炉膛,炉膛的上部为稀相区,炉膛的下部为密相区;炉膛的出口与旋风分离器连通,旋风分离器与炉膛下部的循环灰入口连通,所述尾部烟道结构中设置有对流换热装置;余热回收利用结构设置有烟气出口。本实用新型解决了低热值煤和煤基固废在燃烧领域的利用问题,同时联产具有一定温度和压力的热水和蒸汽,可用于汽轮机发电、集中供暖或工业用汽,产生一定的经济效益。

标签:
固废
安徽 - 合肥 来源:中冶有色网 2023-03-19
工业化围墙
工业化围墙 1160     
 0

本实用新型公开了一种工业化围墙,包括预先开挖的基槽,基槽底部设置垫层,垫层上设置基础垫板,所述的基槽、基槽内的垫层及垫层上的基础垫板三个为一组,两侧的基础垫板上固定有立柱,立柱之间固定安装两块整体的、呈倒置的“T”形墙体,两块墙体上的空缺部分固定安装有栏杆,垫层、基础垫板、立柱、墙体和栏杆均为单一的整体结构,通过吊装组合安装。本实用新型主要用于住宅项目,围墙的主要部分均采用预制的形式在厂房内批量生产,减少围墙基坑的土方开挖,节省时间,标准化,施工速度快,成本低,和传统围墙相比成本减少10%左右,环保,减少固废和污水排放,避免传统现浇围墙因为基础沉降造成裂缝。

标签:
固废
安徽 - 合肥 来源:中冶有色网 2023-03-19
利用燃煤机组粉煤灰制造沸石的系统

本实用新型公开了一种利用燃煤机组粉煤灰制造沸石的系统,涉及烟气处理领域,包括运送装置、冲洗装置、酸洗装置、水热反应装置、干燥装置;所述运送装置包括轨道衡、抓斗,所述抓斗连接在所述轨道衡上并能够沿所述轨道衡移动,所述冲洗装置、酸洗装置、水热反应装置、干燥装置均位于所述抓斗的移动路线上。本实用新型的优点在于:该系统生产出的粉煤灰沸石为降低烟气中二氧化碳、二氧化硫和氮氧化物的排放提供了新材料,同时提高了粉煤灰的利用率,降低了企业的固废排放。

标签:
固废
安徽 - 合肥 来源:中冶有色网 2023-03-19
工业废盐处理系统
工业废盐处理系统 1177     
 0

本实用新型公开了一种工业废盐处理系统,属于工业废盐处理领域。一种工业废盐处理系统,包括:废盐溶解装置、管膜装置、纳滤装置与蒸发结晶装置;管式膜的输入端用于输入废盐溶液,所述管膜装置的输出端连接所述纳滤装置的输入端,所述纳滤装置执行一级或多级纳滤,所述纳滤膜的输出端与所述蒸发结晶装置连接,所述蒸发结晶装置蒸发所述纳滤装置输出的纳滤膜清液,获得结晶业盐。本申请的废盐处理系统与工艺行之有效的解决了以氯化钠为主的工业废盐处理问题,并且降低了以氯化钠为主的工业废盐的处理成本,为有限的固废填埋厂增加了空间。为系统的稳定性、可靠性提供了保障。

标签:
固废
安徽 - 合肥 来源:中冶有色网 2023-03-19
高性能环保石膏的制备方法

本发明公开了一种高性能环保石膏的制备方法。传统工艺生产的粉刷石膏在墙体施工时会时常出现现场污染大、耗材多的问题。本发明的玻化微珠首先给料,接着工业硫酸铝、工业硫酸钾和纤维素同时给料,等钙粉给料后在混合机中预先混合2‑3分钟,最后无水石膏、黄沙和水泥同时给料,原料和辅料在混合机中混合搅拌7分钟;本发明根据点声源在预测点产生的等效声级贡献值需满足《工业企业厂界环境噪声排放标准》昼间及夜间限值来对厂界进行限定,同时综合考虑卫生防护距离对厂界的限定,取两者的较小值。本发明的废气可以做到达标排放,废气和噪声均满足总量控制指标的要求,对周边环境影响较小,不会改变区域现有的环境功能;无废水和固废等污染物。

标签:
固废
安徽 - 合肥 来源:中冶有色网 2023-03-19
气化飞灰/聚氨酯复合材料及其制备方法

本发明公开了气化飞灰/聚氨酯复合材料及其制备方法,所述复合材料包含如下重量份计的原料:多元醇30‑70份、聚氨酯黑料60‑100份、交联剂1‑10份、硅油1‑3份、二丁基二月桂酸锡0.1‑0.2份、三乙烯二胺0.05‑0.1份、改性飞灰5‑25份、水0.1‑1份;其制备的方法步骤如下:S1:将多元醇、交联剂、硅油、二丁基二月桂酸锡、三乙烯二胺0.05‑0.1份和水混合搅拌均匀;S2:将改性飞灰和聚氨酯黑料添加到S1的混合溶液中并搅拌均匀;S3:浇注成型,并静置定型;S4:养护;S5:脱模,得气化飞灰/聚氨酯复合材料。本发明制备的气化飞灰聚氨酯泡沫具有优异的抗压性、防潮性以及热稳定性,适合用于建筑材料等,同时也实现了固废的资源化利用。

标签:
固废
安徽 - 合肥 来源:中冶有色网 2023-03-19
基于废纸箱制备掺杂铁氮生物炭功能材料的方法及应用

一种基于废纸箱制备掺杂铁氮生物炭功能材料的方法及应用,涉及固废资源化及污染物控制技术领域。将废纸箱粉碎过筛后与三氯化铁、尿素溶液均匀混合浸泡,首先进行初步水热化处理,然后在马弗炉中经自主设计高效隔氧手段进一步热解,再经酸、碱依次活化处理后制得。本发明制备的铁氮生物炭功能材料比表面积高达220m2/g,具备优良的活化PMS性能,低投加量即可实现高效快速去除水体中抗生素。该材料中Fe、N元素的有效掺杂不仅能够使材料具备磁性,促进活化PMS过程中的电子转移,进而提高污染物去除效率,同时材料经磁分离进行多次回收利用后,仍然具备良好性能。

标签:
固废
安徽 - 合肥 来源:中冶有色网 2023-03-19
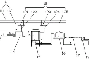
刮刀可旋转式机械刮料结构

本发明公开一种刮刀可旋转式机械刮料结构,包括皮带和皮带支撑架,还包括与皮带支撑架连接的固定板、与固定板连接的基板,所述的基板上安装有刮刀;所述的刮刀上安装有刮刀保护膜。有益效果是本发明结构简单,安装方便,方便清理粘结在皮带上的顽固废料,便于拆卸,占用空间小,效率高。除此之外,基板底部带有伸缩块,刮刀安装位置的下方、基板的表面设置有挡块。上述设计提高了设备整理的安全性和灵活性,保证了使用。刮刀通过轴承可旋转的安装在基板上,且轴承的另一侧也安装有刮刀,上述设计进一步提高了设备的灵活性。

标签:
固废
安徽 - 合肥 来源:中冶有色网 2023-03-19
从晶体硅切割废料中回收高纯硅和碳化硅的方法

本发明公开了一种从晶体硅切割废料中回收高纯硅和碳化硅的方法,具体步骤为:首先将硅切割废料与有机溶液混合,搅拌过滤,水洗后烘干;然后将烘干后的硅切割废料置于气氛炉高温处理,然后冷却至室温,接着将硅切割废料与酸溶液混合,水洗过滤烘干;然后将烘干后的硅切割废料置于浮选槽中,加入浮选溶液,调整pH,开启浮选机进行浮选,待浮选结束后,将上浮料与下沉料分别过滤水洗、烘干。本方法回收的硅纯度达到99.65%以上,碳化硅纯度达到99.38%以上;工艺简单易行,环保经济。本发明简化了晶体硅和碳化硅的回收工艺,减少了工业固废量,采用的浮选药剂具有无毒,无致癌性,环境友好的特点,实现了资源的高值化循环利用。

标签:
固废
安徽 - 合肥 来源:中冶有色网 2023-03-19
电镀废水同步除磷除氟复配絮凝剂及其制备方法

本发明公开了一种电镀废水同步除磷除氟复配絮凝剂及其制备方法,由双氧水、聚合氯化铝、无机铝盐和无机铈盐按摩尔比复配而成。将聚合氯化铝、无机铝盐和无机铈盐按配比充分进行混合,加入水制成混合溶液,然后加入双氧水,混合均匀,充分反应,即可。本发明复配絮凝剂克服了传统电镀废水中磷和氟难以同步深度处理的缺陷,具有成本低、效果好的特点,解决了因磷的形态问题而导致无法有效处理等问题,能够同步去除水体中磷酸根和氟离子,沉淀速度快,处理效果好,产生的污泥量小,符合固废的减量化原则。

标签:
固废
安徽 - 合肥 来源:中冶有色网 2023-03-19
磁性多孔污泥炭载金属氧化物催化剂及其在过硫酸盐氧化反应降解偶氮染料中的应用

本发明涉及固定化催化剂、染料污染物去除、固废利用等技术领域,尤其涉及一种磁性多孔污泥炭载金属氧化物催化剂及其在过硫酸盐氧化反应降解偶氮染料中的应用。磁性多孔污泥炭载金属氧化物催化剂,由污泥炭和金属氧化物组成,金属离子在催化剂中的质量百分含量为1~3%。本发明首先以剩余市政污泥、金属盐为原料,通过碳化处理制备得到污泥炭,然后以污泥炭为载体,将金属离子负载到污泥炭上,经过制备得到污泥炭载金属氧化物催化剂,该催化剂的制备方法简单,价格低廉。该催化剂的催化活性高,金属离子溶出低,稳定性好。用该催化剂应用于非均相过硫酸盐氧化技术处理印染废水,可在室温条件下进行,反应条件温和,脱色效果好。

标签:
固废
安徽 - 合肥 来源:中冶有色网 2023-03-19
低浓度硝酸铵废水浓缩方法

本发明涉及一种低浓度硝酸铵废水浓缩方法,属于半导体材料技术领域,包括以下步骤:步骤一、向低浓度硝酸铵废水中加入絮凝剂,并调节溶液的pH在6‑8,经过压滤,得一次固废和一次滤液;步骤二、将一次滤液流经填有吸附剂的填充柱,得处理液;步骤三、将处理液经过浓缩、三效蒸发,得硝酸铵浓缩液,再经结晶,得硝酸铵。且所述的吸附剂是以高岭土和淀粉为原料逐步反应获得,利用了高岭土在酸性条件下对冠醚化淀粉进行吸附,使得混合料得以制成粒状吸附剂,利用了高岭土良好的机械性能,使吸附剂既保留了冠醚化淀粉对贵金属吸附容量大的优势,又具有良好的机械强度,使其能够应用于动态吸附,降低了回收得的硝酸铵中的重金属含量。

标签:
固废
安徽 - 合肥 来源:中冶有色网 2023-03-19
采用废旧SCR催化剂再生吹灰制备催化剂涂覆浆料的方法及其应用

本发明公开一种采用废旧SCR催化剂再生吹灰制备催化剂涂覆浆料的方法,涉及固废资源化应用技术领域,本发明包括以下步骤:(1)往收集的废旧SCR催化剂再生吹灰中加入混合溶液中搅拌,搅拌后压滤和洗涤,烘干后,得到处理后的吹灰;(2)将步骤(1)中处理后的吹灰与偏钒酸铵、偏钨酸铵、草酸和去离子水混合,混炼至泥块,干燥后煅烧、研磨后得到催化剂粉末;(3)按质量比10‑50:0.5‑3:20‑60:30混合硅溶胶、聚环氧乙烷、去离子水和催化剂粉末,进行砂磨,使混合物的D90小于1.5μm,得到催化剂涂覆浆料。本发明的有益效果在于:实现了废旧SCR催化剂再生吹灰的资源化利用。

标签:
固废
安徽 - 合肥 来源:中冶有色网 2023-03-19
污泥干燥设备
污泥干燥设备 926     
 0

本发明属于固废处理领域,具体涉及一种基于城市污泥干化处理的污泥干燥设备。本发明包括轴线倾斜放置的滚筒以及用于驱动该滚筒沿其轴线旋转的驱动组件,滚筒内部具备有容纳污泥的容纳腔;容纳腔沿滚筒轴向方向顺延贯穿设置,且其进料端处于滚筒的高端部处,其出料端位于滚筒的低端部;污泥干燥设备还包括用于供给容纳腔热量的供热管,供热管位于容纳腔内,供热管为两根以上且其沿容纳腔轴向方向顺延布置,供热管上贯穿其管壁开设有连通其管腔与容纳腔的通气孔。本发明的供热管结构,其自身在起到供热干燥作用的同时,亦作为整个容纳腔的搅拌管而存在,其结构简单而工作简便可靠,可有效实现对于现有湿污泥的干化及干燥目的,其干燥效率极高。

标签:
固废
安徽 - 合肥 来源:中冶有色网 2023-03-19
防蚊虫路面砖及其制备方法

本发明公开了一种防蚊虫路面砖,其特征在于,包括以下重量份的原料:钢渣20‑30份、煤矸石20‑30份、沸石20‑30份、硫磺渣15‑25份、防蚊虫添加剂0.5‑3份、皂角粉2‑5份、氧化锌1‑3份、粉煤灰15‑25份、二氧化硅5‑10份、水泥15‑35份。本发明的防蚊虫路面砖具有良好的防蚊虫、驱蚊虫的作用,耐磨防滑、固废利用率大、环境污染小,同时本发明的防蚊虫路面砖的制备方法简单、充分利用矿物费料、材料成本较低、原料易得、且工艺简明,具有较大的实用价值和良好的应用前景。

标签:
固废
安徽 - 合肥 来源:中冶有色网 2023-03-19
轻质高强陶粒混凝土及其制备方法和应用

本发明涉及一种轻质高强陶粒混凝土及其制备方法和应用,涉及建筑材料领域,由以下组分按重量份数组成:胶凝材料400~530份;粗骨料420~460份;细骨料650~850份;外加剂6.8~21份;水160~220份;所述粗骨料为粉煤灰陶粒;所述细骨料由炉渣与砂子组成;所述外加剂包括聚羧酸减水剂与增强剂。本发明以超细改性粉煤灰、水泥与活性硅微粉为胶凝材料;以炉渣与河砂为细骨料;以粉煤灰陶粒为粗骨料,制备轻质化高强预制构件,有效的解决了由于陶粒密度小而导致的陶粒混凝土分层的问题,制备的陶粒混凝土强度高,便于实际施工操作,且有效利用固废,益于环境保护。

标签:
固废
安徽 - 合肥 来源:中冶有色网 2023-03-19
熔模铸造用耐火粉料
熔模铸造用耐火粉料 758     
 0

本发明提出了一种熔模铸造用耐火粉料,其按重量份数计,包括回收粉60‑85份、铝矾土熟料15‑40份、氢氧化铝1‑4份,本发明可以使熔模铸造型壳的回收粉使用率提高到85%,耐火粉料的综合性能与新莫来石粉相当,粉料可实现反复循环回收再利用,背层耐火粉辅料成本降低30‑50%,不仅有效减少了固废的排放,同时还具有良好的经济价值和社会效益。

标签:
固废
安徽 - 合肥 来源:中冶有色网 2023-03-19
预制构件用防辐射C40混凝土及其制备方法

本发明公开了一种预制构件用防辐射C40混凝土,该混凝土由水泥、粉煤灰、河砂、碎石、外加剂、膨胀剂和水混合制成,按照重量份数,各组分用量为:水泥200~300份、粉煤灰120~210份、碎石1100~1200份、河砂700~750份、水140~160份、外加剂7~10份、膨胀剂20~40份。与现有技术相比,1.本发明以玄武岩为骨料,并通过配合比优化保证混凝土表观密度达2350kg/m3,使其具备屏蔽质子射线和中子射线的性能,且强度达到C40等级;2.通过严格控制混凝土原材中的有害元素含量来控制混凝土屏蔽墙感生放射性的量;3.大掺量掺合料的掺入在实现固废利用降低成本的同时,大幅降低混凝土水化热,预裂缝的出现;4.混凝土中高性能膨胀剂的加入,补偿混凝土中收缩,预防收缩裂缝的出现,强化辐射屏蔽效果。

标签:
固废
安徽 - 合肥 来源:中冶有色网 2023-03-19
利用水蓼修复轻中度镉污染稻田土壤的方法

本发明公开了一种利用水蓼修复轻中度镉污染稻田土壤的方法,步骤是:1)稻田准备:施入腐熟有机肥作底肥;2)调节土壤pH值:测定土壤pH值;3)生态型选择:选用生长在洞庭湖湿地低海拔区域的水蓼生态型;4)育苗材料准备:从野外采集水蓼的地下根茎;5)扦插直栽育苗:按行距开浅条沟,将浸泡过生根粉的根茎段按株距沿沟壁斜向上摆放,芽体向上,边摆边覆土;6)水分管理;7)水蓼地上部分收获;8)收割后田间管理:从土壤中移除更多的镉;9)收获物无害化处理:燃烧后的灰分按固废集中处置。方法易行,操作简便,成本低,易于操作和管理,重金属移除效率较高,满足了中国南方地区轻中度镉污染稻田土壤修复与治理的需要。

标签:
固废
安徽 - 合肥 来源:中冶有色网 2023-03-19
促进白腐真菌定向产酶降解塑料污染物的方法

本发明公开了一种促进白腐真菌定向产酶降解塑料污染物的方法,涉及固废处理技术领域。本发明公开了一种促进白腐真菌定向产LiP/MnP降解塑料污染物的方法,包括以下步骤:(1)将所述白腐真菌在定向产LiP/MnP的培养基中培养至对数生长期,得到白腐真菌培养物;(2)将消毒处理后的塑料污染物放入所述白腐真菌培养物中,继续培养10d以上;所述塑料污染物为PS塑料或PLA塑料。本发明利用定向产LiP和MnP的培养基,使白腐真菌产生LiP或MnP,通过将生长到对数期的白腐真菌培养物与塑料污染物进行共培养,实现了对塑料污染物的降解。

标签:
固废
安徽 - 合肥 来源:中冶有色网 2023-03-19
园艺盆栽花卉栽培基质及其制备方法

本发明涉及园艺花卉栽培基质领域,旨在提供一种园艺盆栽花卉栽培基质及其制备方法,栽培基质包括厨余垃圾40‑60份、园林废弃物20‑30份制得的有机发酵物,向有机发酵物30‑40份中加入粉煤灰和高岭土20‑30份、蛭石8‑10份、珍珠岩7‑10份、陶粒0‑5份、增效剂2‑5份。本发明添加粉煤灰和高岭土,既解决了燃煤发电厂的固废问题,粉煤灰中的多种微量元素为植物生长提供营养需求,同时,粉煤灰、高岭土的微孔结构和絮凝物质也对营养物质的释放起到了控释/缓释的作用。原材料成本较低,简单易得,得到的栽培基质,营养全面,能够长时间、持续供给花卉生长所需要的养分。

标签:
固废
安徽 - 合肥 来源:中冶有色网 2023-03-19
抗氧化色泽度高的印刷油墨及其制作方法

本发明公开了一种抗氧化色泽度高的印刷油墨,其特征在于,由下列重量份的原料制成:聚酰胺树脂20-30、三硬脂酸甘油酯3-5、有机硅乳液6-9、丙二醇10-13、月桂二酸4-6、环氧大豆油7-10、白蜡3.2-4.8、乙基纤维素1.1-2.4、二硫化钼0.2-0.5、茶多酚2.1-3.6、蛭石1-3、茶渣5-8、甘薯渣2-4、六偏磷酸钠0.5-0.8、有机颜料4-7、助剂5-8、适量水;本发明工艺简单,易于控制,产品质量稳定,添加茶渣、甘薯渣等不仅有效解决了固废的排放还提高了产品性能,制得的油墨具有抗氧化色泽度高、适应性强、耐候性佳、耐水洗等优点。

标签:
固废
安徽 - 合肥 来源:中冶有色网 2023-03-19
建筑垃圾透水混凝土生产制备方法

本发明公开了一种建筑垃圾透水混凝土生产制备方法,选取建筑垃圾粒径为5~10mm,利用建筑垃圾替代天然石料,形成混凝土骨架,粉煤灰替代部分水泥,添加外加剂改善混凝土性能,利用各组分之间质量关系及各材料的自身参数,提出确切的各组分材料用量的计算方法。本方法选取粒径单一的建筑垃圾,可通过控制集料粒径来调试混凝土性能。该方法利用粉煤灰部分替代水泥及添加外加剂,对混凝土性能的改善有较大作用。利用建筑垃圾制备透水混凝土,实现了固废的再利用,有利于环境保护,降低工程成本。

标签:
固废
安徽 - 合肥 来源:中冶有色网 2023-03-19
加油站高效膜分离带回油的油气回收装置

本发明涉及冷凝法回收油气设施技术领域,尤其为一种加油站高效膜分离带回油的油气回收装置,包括安装座和防爆控制箱,所述安装座的端面分别对应设置有压缩系统、冷凝和膜分离系统,本发明通过设计采用压缩系统、冷凝系统、膜分离系统,压缩系统为膜分离法工艺提供一定的压力,使同等面积的膜处理效率提高5‑7倍,大大减少膜的用量,膜在系统内为一种耗材,用量越小,后期更换量就越少,越贴近环保要求,冷凝系统主要是配合压缩系统,在压缩系统的基础上,再加上冷凝系统,使整个装置在同等膜面积的情况下,处理效率再提高3‑5倍,再次减少膜的用量,并且使用后的膜组件无任何油气残留,不会产生二次污染,不产生固废,不需要二次处理。

标签:
固废
安徽 - 合肥 来源:中冶有色网 2023-03-19
工程型钢构组合式底泥脱水系统及其脱水工艺

本发明公开了工程型钢构组合式底泥脱水系统及其脱水工艺,包括从左至右依次组合对接而成的药剂箱、浓缩罐、清水池、沉淀池和主机基础平台,所述主机基础平台的上方安装有封闭式脱水主机,所述浓缩罐和封闭式脱水主机之间设置有调理反应装置,所述药剂箱通过PVC给水管和泵分别与浓缩罐、清水池、沉淀池和调理反应装置形成泡药加药系统,所述浓缩罐的上端安装有旋流套筒。本发明中,由多个小型模块组合构成,可以灵活地利用狭窄、分散的场地,通过活接管道快速进行系统连接,并就地展开作业,解决水环境整治工程中场地紧缺、狭小的问题,同时可以减少场地建设成本、缩减工期、减少对临时用地和周边生态的破坏、减少撤场时产生的固废。

标签:
固废
安徽 - 合肥 来源:中冶有色网 2023-03-19
上一页 16 17 18 19 20 ... 75 下一页
共75页    到第

中冶有色为您提供最新的安徽合肥有色金属环境保护技术理论与应用信息,涵盖发明专利、权利要求、说明书、技术领域、背景技术、实用新型内容及具体实施方式等有色技术内容。打造最具专业性的有色金属技术理论与应用平台!

全国热门有色金属设备推荐
展开更多 +
全国热门有色金属技术推荐
展开更多 +

 

江西省隆恩特环保设备有限公司
宣传

报名参会
更多+

报告下载

有色专家
更多+

郑州大学
副院长/教授
江西铜业集团有限公司
党委书记、董事长
矿冶科技集团
副所长/研究员
赣州有色冶金研究所有限公司
副主任/高级工程师
西北有色金属研究院、中国工程院
院士
赤泥综合利用研究报告2025
推广

热门技术
更多+

推荐企业
更多+

福建省金龙稀土股份有限公司
宣传

发布

在线客服

公众号

电话

顶部
咨询电话:
010-88793500-807