青岛垚鑫智能科技有限公司
宣传

位置:中冶有色 >

有色技术频道 >

> 加工技术

分类:
全部
矿山技术
冶金技术
材料制备及加工技术
环境保护技术
分析检测技术
 
全部
功能材料技术
复合材料技术
新能源材料技术
合金材料技术
加工技术
地区:
全部
北京
天津
上海
重庆
河北
山西
辽宁
吉林
黑龙江
江苏
浙江
安徽
福建
江西
山东
河南
湖北
湖南
广东
海南
四川
贵州
云南
陕西
甘肃
青海
内蒙
广西
西藏
宁夏
新疆
其他
其他
展开
 
全部
合肥
芜湖
蚌埠
淮南
马鞍山
淮北
铜陵
安庆
黄山
阜阳
宿州
滁州
六安
宣城
池州
亳州

安徽合肥有色金属加工技术理论与应用

免费发布技术信息>>
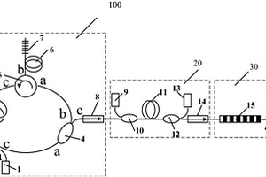
单频窄线宽绿光激光器
单频窄线宽绿光激光器 1095     
 0

本发明公开了一种单频窄线宽绿光激光器,包括1064nm波段单频窄线宽环形腔掺镱光纤激光器(100),保偏掺镱光纤放大器(20)及基于周期极化反转铌酸锂(PPLN)光波导的倍频系统(30),1064nm波段单频窄线宽环形腔掺镱光纤激光器(100)输出的激光经保偏掺镱光纤放大器(20)放大后,通过光纤直接注入基于PPLN光波导的倍频系统(30)并倍频为532nm波段单频窄线宽绿光。本发明相比现有技术具有以下优点:采用1064nm波段单频窄线宽环形腔掺镱光纤激光器作为种子源,经保偏掺镱光纤放大器,由PPLN倍频晶体波导倍频获得高性能的单频窄线宽绿色激光,结构简单紧凑。

标签:
加工技术
安徽 - 合肥 来源:中冶有色网 2023-03-19
金属铜润滑防腐涂层及其制备方法

本发明公开了一种金属铜润滑防腐涂层,该涂层是由下述重量份的原料组成的:锂基润滑脂2‑4、肌醇六磷酸酯0.3‑1、乙烯基三甲氧基硅烷13‑15、1.8‑2g/l的柠檬酸溶液200‑300、硅烷偶联剂KBM510313‑17、正硅酸乙酯100‑110、丙烯酸六氟丁酯30‑37、偶氮二异丁腈0.1‑0.14、20‑25%的氨水5‑7、四氧化三铁4‑5、氟硅酸钠1‑2、八钼酸铵0.8‑2、三聚硫氰酸0.7‑1、二氨基二苯醚0.1‑0.2、二异丙基乙醇胺0.6‑1、二硫化钼0.1‑0.2、异丙醇3‑5。本发明可以形成各种不同形貌的杂化涂层表面,不同结构的涂层表面结合裸露在外的低表面能的乙烯基团,共同赋予了涂层具有超疏水特性。

标签:
加工技术
安徽 - 合肥 来源:中冶有色网 2023-03-19
耐湿热抗氧化土工格栅及其制备方法

本发明公开了一种耐湿热抗氧化土工格栅,它是由下述重量份的原料组成的:磷酸二氢锌4‑5、亚磷酸酯2‑3、二甲基二烯丙基氯化铵0.6‑1、聚丙烯亚胺10‑17、丙烯酸叔丁酯6‑8、氢化铝锂0.1‑0.3、4‑二甲氨基吡啶0.3‑1、抗氧剂10100.4‑1、多壁碳纳米管10‑15、抗氧剂1680.6‑1、高密度聚乙烯140‑160、氯化石蜡4‑6、钛白粉10‑12、三辛酸丁基锡0.4‑1、氨基三亚甲基膦酸0.1‑0.2、二苯基硅二醇2‑3、六氟乙酰丙酮钙0.4‑1。本发明的土工格栅具有很好的耐湿热性能,抗渗性好,不易腐蚀。

标签:
加工技术
安徽 - 合肥 来源:中冶有色网 2023-03-19
三元正极材料及其制备方法和应用

本发明提供了一种三元正极材料及其制备方法和应用。制备方法包括:将镍盐、钴盐和M盐溶于水中,得到混合盐溶液;向混合盐溶液中加入尿素溶液,搅拌,升温至反应温度,保温,静置陈化;冷却,过滤,洗涤滤饼,滤饼进行真空干燥,得到三元单晶前驱体;将三元单晶前驱体与锂源混合,压实成块,在空气或氧气的气氛中,升温至预烧温度,保温,自然冷却至室温,得到块状物料;将块状物料破碎,压实成块,在空气或氧气的气氛中,控制压力,升温至烧结温度,保温,再将压力降至3Pa‑10Pa,保温,自然冷却至室温,粉碎,得到三元正极材料。本发明制备的三元正极材料紧密、质地均匀且采用该三元正极材料制备的电池具备优异的倍率性能和循环性能。

标签:
加工技术
安徽 - 合肥 来源:中冶有色网 2023-03-19
柔性自支撑各向异性电致变色聚苯胺薄膜及其制备方法,以及电致变色器件

本发明提供了一种柔性自支撑各向异性电致变色聚苯胺薄膜及其制备方法,以及电致变色器件。本发明先将苯胺单体与无机酸液混合,得到苯胺盐溶液,再在碱金属无机盐存在的条件下,与氧化剂溶液混合反应,形成聚苯胺盐;之后利用碱性溶液对所述聚苯胺盐进行去质子化,得到聚苯胺;然后与氯化锂的有机溶液混合进行热处理,得到聚苯胺凝胶;之后,进行拉伸处理,得到聚苯胺凝胶膜;再置于酸液中进行酸掺杂质子化,得到柔性自支撑各向异性电致变色聚苯胺薄膜。本发明制得的柔性自支撑各向异性电致变色聚苯胺薄膜能够提高机械性能、电导率和电化学性能,且能够实现无基底和电致变色。

标签:
加工技术
安徽 - 合肥 来源:中冶有色网 2023-03-19
一株高效厌氧锑还原菌株及其应用

本发明属于环境生物技术领域,公开了一株高效的锑还原菌株及其应用。本发明所述高效的锑还原菌株分离于中国湖南省冷水江市锑污染区的土壤,经16S#rDNA鉴定,该菌属于发酵粘土弯菌属,并命名为Pelosinus fermentans Ti_20,保藏在广东省微生物菌种保藏中心,其保藏编号为GDMCC No:60921。本发明所述发酵粘土弯菌(Pelosinus fermentans)Ti_20不仅具有高效还原五价锑的能力,同时还能将还原态的三价锑转化为Sb2O3沉淀,实现锑的生物矿化。在锑污染矿区的环境修复方面具有广阔的应用前景。所形成的三氧化二锑还可以作为一种性能优异的阻燃剂及锂离子或钠离子电池的电极替代材料。

标签:
加工技术
安徽 - 合肥 来源:中冶有色网 2023-03-19
磷化纳米pdu线束护套材料及其制备方法

本发明公开了一种磷化纳米pdu线束护套材料,它是由下述重量份的原料组成的:甲基丙烯酸甲酯35‑40、环氧丙醇25‑31、聚氯乙烯140‑150、硅烷偶联剂kh550 0.7‑1、纳米二氧化硅10‑12、烷醇酰胺3‑4、双乙酸钠1‑2、胺催化剂0.8‑1、甲醇锂0.1‑0.2、三氯化磷7‑9、季戊四醇10‑14、乙酸异丁酸蔗糖酯0.8‑1、对甲基苯磺酸0.1‑0.2、硬脂酸钡2‑3,本发明通过磷掺杂,可以起到一定的防火阻燃效果,从而提高了成品材料的综合性能。

标签:
加工技术
安徽 - 合肥 来源:中冶有色网 2023-03-19
电池热失控实验夹具
电池热失控实验夹具 903     
 0

本发明公开了一种电池热失控实验夹具,涉及锂电池技术领域,包括夹板、针刺孔、收集平台、盖板、第二温度传感器;两个夹板的内侧相对;其中一个夹板上设有针刺孔,针刺孔贯穿在夹板的外侧面与内侧面之间;每个夹板的顶部固定连接有一个收集平台,两个收集平台分别向两个夹板的外侧延伸;盖板的材质和厚度模拟电池包的箱盖,盖板位于收集平台的上方并与收集平台之间留有间隙;多个第二温度传感器分别安装在两个收集平台的顶面以及盖板的底面的喷发物区域。本发明的优点在于:能够收集电芯发生热失控后的喷发物以及喷发物的温度,以进行仿真模型验证。

标签:
加工技术
安徽 - 合肥 来源:中冶有色网 2023-03-19
胶体防火材料的制备方法

本发明属于建筑材料技术领域,具体涉及一种胶体防火材料的制备方法。本发明的制备方法中,包括:先分别配制不同质量分数的丙烯酰胺单体溶液A和B,并分别在两种不同浓度的溶液中,加入对应浓度的其他组分,如季戊四醇、磷酸二氢铵、脲和锂皂石,分别经加热反应得到物理交联凝胶体A和B;将亚甲基双丙烯酰胺、四甲基乙二胺按质量比为1:3‑1:5混合,得复配交联剂;随后将物理交联凝胶体A和物理交联凝胶体B混合倒入高压均质机中,并加入消泡剂,经高压均质后,转入反应器,并加入复配交联剂和引发剂,于温度为100‑120℃条件下,搅拌反应3‑6h,出料,即得产品。

标签:
加工技术
安徽 - 合肥 来源:中冶有色网 2023-03-19
正极极片及其制备方法与正极极板、固态电池

本发明提供了一种正极极片及其制备方法与正极极板、固态电池。以正极极片的原料总质量为100%计,正极极片的原料包括:正极活性材料80‑98%;离子导电剂1.5‑10%;电子导电剂0.5‑5%;助剂0‑5%;正极活性材料选用锂材料;所述离子导电剂选用卤化物固态电解质。正极极板包括集流体和设置于集流体表面的上述正极极片。固态电池包括依次设置的杉树正极极板、电池隔膜和负极极板。本发明提供的正极极片用于固态电池有助于避免固态电池出现热失控问题。

标签:
加工技术
安徽 - 合肥 来源:中冶有色网 2023-03-19
由石墨制备高浓度石墨烯浆料的机械剥离方法及其在极板材料制备中的应用

本发明公开了一种由石墨制备高浓度石墨烯浆料的机械剥离方法及其在极板材料制备中的应用,以石墨粉为原料,将原位微反应产生的锂机械剪切挤压插进石墨粉的原子层间距中,使石墨层间距增加作用力减小,随后通过增加介质锆珠剪切力、石墨表面动态粘结、溶剂化和聚合物吸附的多重作用使石墨层间层层分离,形成石墨烯含量为10‑22wt%的浓石墨烯浆料。本发明石墨烯浆料与碳纤维复合制备极板材料,通过石墨烯辅助碳纤维分丝定丝、叠合、热处理和模压等工序,形成极板材料。该方法制备的石墨烯‑碳纤维基极板材料具有薄轻和耐腐蚀等特征,有望用于燃料电池和液流电池的双极板。

标签:
加工技术
安徽 - 合肥 来源:中冶有色网 2023-03-19
含有相变储能材料的蓄电池防护箱

本发明提供一种含有相变储能材料的蓄电池防护箱,属于蓄电池技术领域,该含有相变储能材料的蓄电池防护箱包括相变储能材料箱体,相变储能材料箱体的顶端可拆卸连接有箱盖,相变储能材料箱体和箱盖之间设置有连接机构和密封组件,连接机构用于连接相变储能材料箱体和箱盖,密封组件用于保障相变储能材料箱体和箱盖之间的密封性,相变储能材料箱体内设置有防护组件,防护组件用于对蓄电池防护;本发明中,通过连接机构配合密封组件对相变储能材料箱体和箱盖进行密封,有效的防止相变储能材料箱体内的热量从其他位置散出,方便相变储能材料箱体对锂电池热量的吸收和利用。

标签:
加工技术
安徽 - 合肥 来源:中冶有色网 2023-03-19
表面双包覆的三元正极材料及其制备方法

本发明公开了一种表面双包覆的三元正极材料,包括位于内部的三元正极材料以及由里到外依次包覆在三元正极材料表面的掺氯碳量子点(以下简写为CQDs)包覆层和ZrO2包覆层。本发明还公开了一种表面双包覆的三元正极材料的制备方法,包括如下步骤:S1、制备表面掺氯CQDs包覆层的三元材料前驱体;S2、制备Zr(OH)4包覆层;S3、制备双层包覆结构的三元正极材料。本发明公开的表面双包覆三元正极材料具有良好的电子导电性和结构稳定性,并且可有效地优化界面电化学反应环境,提高了三元锂离子电池的倍率与循环性能。

标签:
加工技术
安徽 - 合肥 来源:中冶有色网 2023-03-19
工业废盐渣固化剂及固化方法

本发明属于危险废物处理领域,具体涉及一种工业废盐渣固化剂,按质量百分含量计包括:高铁硫铝酸盐70%~75%,石英粉15%~20%,氯化钙1%~5%,氯化锂1%~5%。本发明还涉及一种利用上述固化剂对工业废盐渣进行固化处理的方法。采用上述方案,固化时,在水泥提供的碱性环境下,硅酸盐、三氧化二铝、二氧化硅等通过碱激发反应生成一种新型的硅铝酸盐胶凝材料,这种材料具有Si‑O‑Si链和Al‑O‑Si链彼此互相缠绕以及交互形成的无定形和半结晶的三维硅铝酸盐结构,能将工业废盐渣中存在的大量Na+、K+等离子镶嵌在网络间隙中,与体系中的负电荷互相平衡,实现工业废盐渣的固化;另外,这种三维结构内部还存在大量的空腔结构,可以将盐渣其他的成分包裹在内部,进一步加强固化效果。

标签:
加工技术
安徽 - 合肥 来源:中冶有色网 2023-03-19
AIOT智能路锥
AIOT智能路锥 963     
 0

本发明公开了AIOT智能路锥,用于解决现有的智能路锥需要人为安装、固定在传统路锥上;需要人为开启各项功能;采用LORA,433MHZ本地数据传输,与服务器的数据需要另外增加数据传输基站设备;撞击后报警功能只能通过在设备上的LED闪动和喇叭声音;设备供电内部集成传统锂电池,具有反复充电,但设备工作能耗高的问题。包括路锥本体,所述路锥本体的内部安装有传感器模块、数据处理模块、NB远程数据传输、本地无线自组网及定位电路模块和新能源供电模块;本发明集成传感技术,无线数据传输技术,定位技术,新能源技术与一体,无需人员干涉操作,即放置即使用,超低功耗,超长工作时。

标签:
加工技术
安徽 - 合肥 来源:中冶有色网 2023-03-19
复合负极材料及其制备方法和应用

本发明公开了一种复合负极材料及其制备方法和应用,将金属盐、葡萄糖和氯化钠加入水中完全溶解后,得到混合溶液;将所述混合溶液微波快速蒸干,得到混合物;将所述混合物在绝氧条件中进行煅烧,制得多孔碳纳米片支撑的金属氧化物。该复合负极材料的制备方法可实现对碳纳米片厚度的调控和金属氧化物纳米颗粒的生长限制,从而拓展了其在锂离子电池领域的应用。

标签:
加工技术
安徽 - 合肥 来源:中冶有色网 2023-03-19
复合固态电解质材料及其制备方法、全固态电致变色器件

本发明提供了一种复合固态电解质材料,包括:高粘聚合物多孔膜;与设置在高粘聚合物多孔膜孔内的聚乙二醇电解质填充物;所述聚乙二醇电解质填充物包括改性聚乙二醇、透明光固化树脂与锂盐。与现有技术相比,本发明将高粘聚合物多孔膜引入复合固态电解质材料中,其粘接性能较好;同时在多孔膜孔内设置高电导率的聚乙二醇电解质填充物,从而使复合固态电解质材料具有堪比液态器件的响应时间,显著提高了电解质的离子电导率与粘接性能,进而提高了全固态电致变色器件的循环寿命。

标签:
加工技术
安徽 - 合肥 来源:中冶有色网 2023-03-19
表征SEI膜生成平台出现原因的化学方法

本发明公开了一种表征SEI膜生成平台出现原因的化学方法,包括以下步骤:采用单面涂布的负极极片、锂铜复合带和电解液组装成负极叠片电池;将所述负极叠片电池经过化成、循环,采用不同的成分进行清洗后,再化成,通过收集各个过程中的负极粉料,分别进行红外、DSC和XPS表征来表征SEI膜的形成、溶解与稳定的过程,从而探究SEI膜生成平台出现的原因。

标签:
加工技术
安徽 - 合肥 来源:中冶有色网 2023-03-19
平面磨床用高速磨削砂轮的制造方法

本发明提供了一种平面磨床用高速磨削砂轮的制造方法,涉及磨具磨料领域,包括以下步骤:将二氧化硅、碳酸锂、硼砂、氧化硼、冰晶石、碳酸钙、氧化钠、氧化铝和氧化锆按比例混合,球磨粉碎后,将粉碎后的原料加热熔融,将熔融原料倒入冷水中降温固化,捞出固体并干燥后,湿法球磨,得到结合剂;将白刚玉磨料、棕刚玉、黑碳化硅、钛、铬、钼和上述结合剂混合粉碎加入模具,高温高压真空压模;将成型后的砂轮再经热处理后即可得到所述砂轮,本发明制造的砂轮具有磨削效率高、磨耗小、应用范围广、能进行高速磨削的优点。

标签:
加工技术
安徽 - 合肥 来源:中冶有色网 2023-03-19
聚烯烃微孔膜及其制备方法

本发明公开了一种聚烯烃微孔膜的制备方法,包括以下步骤:将聚烯烃树脂和稀释剂在双螺杆挤出机内熔融、共混,由模头挤出,并经流延辊冷却铸片,再经过双向拉伸、萃取、干燥后,制得微孔膜A;在光敏剂的存在下,利用低压水银灯对微孔膜A的表面进行辐照,得到微孔膜B;将微孔膜B进行横向热定型处理,得到微孔膜C;将微孔膜C用电晕处理机进行电晕处理,得到聚烯烃微孔膜。以聚烯烃树脂经过湿法工艺后在收卷工序前经过紫外光辐照及电晕对聚烯烃微孔膜进行两次表面处理,在不破坏聚烯烃微孔膜微孔结构的条件下同时提升微孔膜的表面张力系数,制备出一种具有高表面张力系数的聚烯烃微孔膜,从而提高了锂离子电池的安全性和能量密度。

标签:
加工技术
安徽 - 合肥 来源:中冶有色网 2023-03-19
抗菌天花板复合材料及其制备方法

本发明公开了一种抗菌天花板复合材料及其制备方法,涉及天花板材料领域,包括以下重量份计的原料:聚氯乙烯55‑65份、乙烯‑乙酸乙烯酯共聚物20‑25份、丙烯酸酯2‑5份、环氧大豆油4‑9份、轻质碳酸钙10‑18份、改性硅藻土8‑15份、改性珊瑚粉5‑10份、椰子纤维5‑10份、玻璃纤维8‑15份、烯丙基三苯基氯化膦2‑5份、碳酸锂3‑7份、硬脂酸锌3‑7份、茉莉花香精0.2‑0.6份、橘子香精0.2‑0.6份、复合发泡剂3‑5份和阻燃剂4‑9份;本发明天花板通过原料间的配合作用,具有良好的柔韧性和抗折抗压性,耐腐蚀性和抗老化性能优异,同时可以吸附室内的有害物质和异味,抗菌抑菌,绿色环保。

标签:
加工技术
安徽 - 合肥 来源:中冶有色网 2023-03-19
新型动力电池组用充电管控装置

本发明涉及锂电池组管控技术领域,具体的说是一种工作稳定、充电效率高的新型动力电池组用充电管控装置,设有壳体,壳体上开设形变组件固定孔,弹性膜固定在形变组件固定孔上,壳体采用导热性好的金属材料制成,壳体外壁上设有散热鳍片以及散热风扇,壳体上设有防水透气阀和防爆塞;其特征在于设有充电状态获取模块、被充电设备控制模块和通信模块,还设有充电电路、控制器、充电接口状态检测电路,通过充电接口状态检测电路实时检测充电接口连接状态,在非连接状态时,即使控制继电器断开充电电路,使充电机停止充电,防止长期待机造成高能耗。

标签:
加工技术
安徽 - 合肥 来源:中冶有色网 2023-03-19
喷嘴用陶瓷材料及其制备方法

一种喷嘴用陶瓷材料,由下列重量份的原料制成:硅线石24-28、镁粉1-2、氧化铟1-2、钾长石35-40、钠长石20-26、锂辉石18-22、紫砂页岩18-22、陶土34-38、氢氧化钠2-3、去离子水适量、正硅酸乙酯3-4、乙醇适量、助剂4-6;本发明的陶瓷具有较高的硬度,光滑,耐磨性好,耐酸碱等腐蚀,造型容易,适用于制作陶瓷喷嘴,可广泛用于在粮食、食品、颜料化工等行业;通过使用本发明的助剂,能够增加陶瓷的表面光滑性、耐磨性和耐热性。

标签:
加工技术
安徽 - 合肥 来源:中冶有色网 2023-03-19
避雷器用压敏陶瓷材料及其制备方法

本发明公开了一种避雷器用压敏陶瓷材料,该陶瓷材料包括如下重量份的组分:氧化锌ZnO 120‑150份、氧化钴Co2O3 1.5‑2.8份、氧化铬Cr2O3 1.2‑2.2份、钛酸锶SrTiO3 0.6‑1.8份、钛酸镁Mg2TiO40.8‑2.0份、碳酸锂Li2CO3 0.1‑0.6份。本发明的陶瓷材料配比合理,采用加水球磨成浆液分别烘干煅烧等的制备方式,获取的压敏陶瓷材料,其电位梯度可达到400‑600V/mm,非线性系数约为46左右,泄漏电流为约 1.5μA,吸波能力与耐大电流冲击能力强。

标签:
加工技术
安徽 - 合肥 来源:中冶有色网 2023-03-19
壬酸香草酰胺PE发泡板材及其制备方法

本发明公开了一种壬酸香草酰胺PE发泡板材及其制备方法,其由下重量份的原料制成:低密度聚乙烯72~86、氯化聚氯乙烯31~43、朱砂6~9、壬酸香草酰胺4~7、三碱式硫酸铅2~5、邻苯二甲酸二异丁酯13~19、过氧化二碳酸二异丙酯2~4、甘蔗渣19~34、霞石粉15~20、棉絮24~38、环己酰亚胺1~2、三羟甲基丙烷三硬脂酸酯2~4、二叔丁氧基二乙酰氧基硅烷2~3、坡缕石10~15、锂皂土7~14、柠檬桉精油5~10、玉米秸秆20~30、花生壳15~20。本发明在原料中添加了朱砂、环己酰亚胺、柠檬桉精油等成分,够对PE发泡板材赋予具有优异的防鼠防白蚁性能,避免PE发泡板材受到老鼠、白蚁等啮齿类动物的攻击。

标签:
加工技术
安徽 - 合肥 来源:中冶有色网 2023-03-19
硅烷改性抗氧化土工格栅及其制备方法

本发明公开了一种硅烷改性抗氧化土工格栅,它是由下述重量份的原料组成的:聚丙烯亚胺10‑17、丙烯酸叔丁酯6‑8、氢化铝锂0.1‑0.3、4‑二甲氨基吡啶0.3‑1、抗氧剂10100.4‑1、多壁碳纳米管10‑15、抗氧剂1680.6‑1、高密度聚乙烯140‑160、乙酰丙酮锌0.5‑1、氨丙基三乙氧基硅烷0.7‑1、二苯基咪唑啉0.4‑1、双癸基二甲基溴化铵0.7‑1、亚磷酸双酚A酯4‑5、氧化钙1‑2、煅烧高岭土13‑20、硫醇丁基锡0.1‑0.2。本发明的土工格栅具有很好的抗冲击强度,表面硬度高,耐压性好,耐腐蚀性强。

标签:
加工技术
安徽 - 合肥 来源:中冶有色网 2023-03-19
建筑节能隔热材料及其制备方法

本发明属于节能建筑材料技术领域,提供了一种建筑节能隔热材料及其制备方法,所述的建筑节能隔热材料包括如下重量份数的原料:闭孔膨胀珍珠岩20‑26份、水镁石13‑29份、重钙2‑9份、高温粘结剂1‑5份、钛白粉1‑6份、工业废料2‑11份、锂瓷石9‑15份、轻烧镁5‑15份、二氧化硅气凝胶溶胶1‑6份、刨花2‑5份、憎水剂1‑2份。本发明提供的一种建筑节能隔热材料,通过调整材料配方,以闭孔膨胀珍珠岩、水镁石、工业废料为主料,辅助其他原料,制得具有较优异保温隔热效果的材料,同时还充分利用了工业废料,节约资源。

标签:
加工技术
安徽 - 合肥 来源:中冶有色网 2023-03-19
随钻测斜系统
随钻测斜系统 945     
 0

本发明公开了一种随钻测斜系统,包括:测斜机构、数据采集机构,所述的数据采集机构通过USB数据线与测斜机构连接,所述的测斜机构上设置有夹持槽、连接螺纹、电池仓、电源开关、通信接口、集成电路板、盖板,所述的数据采集机构上设有电源开关二、充电接口、电池仓二、锂电池、电路板、通信接口二、液晶显示器、按键面板,所述的集成电路板上设有加速度传感器和磁场传感器。本发明具有使用方便、操作简单、测斜精度高等优点。

标签:
加工技术
安徽 - 合肥 来源:中冶有色网 2023-03-19
疏水抗氧化土工格栅及其制备方法

本发明公开了一种疏水抗氧化土工格栅,它是由下述重量份的原料组成的:1H,1H,2H,2H‑全氟癸基三乙氧基硅烷0.6‑1、聚丙烯亚胺10‑17、丙烯酸叔丁酯6‑8、氢化铝锂0.1‑0.3、4‑二甲氨基吡啶0.3‑1、抗氧剂10100.4‑1、多壁碳纳米管10‑15、抗氧剂1680.6‑1、聚山梨酯800.1‑0.2、碳酸锆钾1‑2、聚乙烯苯磺酸0.2‑0.4、氯酞酸二甲酯1‑2、氧化聚乙烯蜡3‑5、天青石粉10‑14、二丙酮醇2‑3。本发明加入的抗氧剂1010、抗氧剂168联用,可以消除烷基自由基、过氧自由基、烷氧自由基以及氢过氧化物,大大降低参与聚合物自动氧化链式反应的自由基含量,延缓聚合物氧化降解过程,提高成品材料的抗氧化性能。

标签:
加工技术
安徽 - 合肥 来源:中冶有色网 2023-03-19
具有抗紫外线性能的外墙保温乳胶涂料及其制备方法

本发明公开了一种具有抗紫外线性能的外墙保温乳胶涂料,其特征在于,由下列重量份的原料制备制成:金红石型纳米二氧化钛16-20、锂皂石9-12、纯丙乳液35-40、软木6-8、坡缕石6-8、橡胶粉1-2、珍珠棉边角料7-9、水105-110、蔗糖脂肪酸酯1.2-2、预胶化淀粉2.5-3.5、炭粉2-3、间苯二酚单苯甲酸酯0.4-0.6;本发明添加紫外线吸收剂间苯二酚单苯甲酸酯,配合金红石型纳米二氧化钛的添加,可以反射太阳光,进一步的抵抗紫外线辐射,制成的涂料具有良好的抗紫外线效果,添加珍珠棉边角料,能够提高涂料的保温隔热效果,而且生产成本降低,工艺便于工业控制,产品使用寿命长,适合各种外墙使用。

标签:
加工技术
安徽 - 合肥 来源:中冶有色网 2023-03-19
上一页 17 18 19 20 21 ... 180 下一页
共180页    到第

中冶有色为您提供最新的安徽合肥有色金属加工技术理论与应用信息,涵盖发明专利、权利要求、说明书、技术领域、背景技术、实用新型内容及具体实施方式等有色技术内容。打造最具专业性的有色金属技术理论与应用平台!

全国热门有色金属设备推荐
展开更多 +
全国热门有色金属技术推荐
展开更多 +

 

江西省隆恩特环保设备有限公司
宣传

报名参会
更多+

报告下载

有色专家
更多+

武汉理工大学
副主任/研究员
中南大学
中国工程院 院士
北京科技大学
教授
广西大学
处长/教授
江西铜业集团有限公司
党委书记、董事长
赤泥综合利用研究报告2025
推广

热门技术
更多+

推荐企业
更多+

福建省金龙稀土股份有限公司
宣传

发布

在线客服

公众号

电话

顶部
咨询电话:
010-88793500-807