青岛垚鑫智能科技有限公司
宣传

位置:中冶有色 >

有色技术频道 >

> 废水处理技术

分类:
全部
矿山技术
冶金技术
材料制备及加工技术
环境保护技术
分析检测技术
 
全部
废水处理技术
大气治理技术
固/危废处置技术
土壤修复技术
地区:
全部
北京
天津
上海
重庆
河北
山西
辽宁
吉林
黑龙江
江苏
浙江
安徽
福建
江西
山东
河南
湖北
湖南
广东
海南
四川
贵州
云南
陕西
甘肃
青海
内蒙
广西
西藏
宁夏
新疆
其他
其他
展开
 
全部
济南
青岛
淄博
枣庄
东营
烟台
潍坊
济宁
泰安
威海
日照
滨州
德州
聊城
临沂
菏泽

山东济南有色金属废水处理技术理论与应用

免费发布技术信息>>
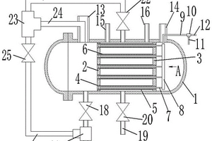
过滤袋可再生使用的过滤器

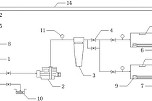
一种过滤袋可再生使用的过滤器,当需要清洗滤袋时,开启阀门Ⅰ和阀门Ⅱ,将残留的工作液排出,之后进汽管输入蒸汽,蒸汽通过通孔Ⅱ喷出,蒸汽将滤袋进行蒸汽吹扫,之后进水管通入软水,软水通过通孔Ⅱ流出对滤袋进行冲洗,冲洗后的废水通过排液管Ⅰ和排液管Ⅱ排出,最终通过氮气进气管通入氮气,氮气将滤袋吹干,因此无需更换新滤袋,而且可以回收残留的工作液,可以节约处理费,节省成本。

标签:
废水处理
山东 - 济南 来源:中冶有色网 2023-03-19
喷漆房废气处理装置
喷漆房废气处理装置 1119     
 0

本实用新型提供一种除漆雾明显、结构简单的喷漆房废气处理装置。一种喷漆房废气处理装置,包括:水渠,设置在喷漆房地下,水渠上方设置有遮盖板,水渠内设置有通风管道,水渠出水口连通废水处理器;通风口,设置在喷漆房底部,一端连接废气管道,另一端连通通风管道;废气处理罐,具有进气口和排气口;多个第一抽风机,进风口连接废气管道,出风口连接废气处理罐的进气口;和第二抽风机,与电机电连接,一端连接废气处理罐的排气口,另一端经排气筒连通大气。

标签:
废水处理
山东 - 济南 来源:中冶有色网 2023-03-19
用于药品生产中回收乙酰胺的装置

一种用于药品生产中回收乙酰胺的装置,包括反应罐,其特征在于,所述反应罐的出口通过管道与真空浓缩罐的进口相连接,真空浓缩罐的出口分别与接收罐Ⅰ的进口和接收罐Ⅱ的进口并联连接,接收罐Ⅰ的出口和接收罐Ⅱ的出口与真空泵并联连接。本实用新型的有益效果在于,采用了上述结构的回收乙酰胺的装置以后,能对药品生产过程中母液废渣中的乙酰胺进行回收,充分利用了母液废渣,同时减少了废水废渣的排放量,从而减轻了对环境的污染,保护了环境。

标签:
废水处理
山东 - 济南 来源:中冶有色网 2023-03-19
纳滤结合螯合分离法增强浓缩浓盐水装置

本实用新型公开了一种纳滤结合螯合分离法增强浓缩浓盐水装置,属于浓盐水浓缩设备技术领域,其结构包括保安过滤器、高压泵和电渗析装置,保安过滤器入口与待处理浓盐水管道连通,待处理浓盐水管道上分别连通加NaOH装置和加DTPA装置;保安过滤器的出口通过管道与高压泵连通,高压泵出口通过管道与纳滤分离装置入口连通,纳滤分离装置的出口通过DTPA络合态超浓缩盐水管道与电渗析装置连通,电渗析装置的出口连通脱除DTPA的超浓缩盐水管道。本实用新型的纳滤结合螯合分离法增强浓缩浓盐水装置和现有技术相比,具有设计合理、易于加工、能耗低,浓缩倍率更高,废水排放少等特点。

标签:
废水处理
山东 - 济南 来源:中冶有色网 2023-03-19
混凝土回收站
混凝土回收站 1169     
 0

一种混凝土回收站,包括一泥浆水回收池,一冲洗料斗加水管的一端与设于泥浆水回收池内侧上部的第一水泵相连,另一端伸入设在泥浆水回收池一侧的冲洗料斗的内部,一搅拌车加水管的一端与设于泥浆水回收池内侧上部的第二水泵相连,另一端伸至冲洗料斗上方且在靠近端部处设有一感应开关,冲洗料斗的出口与一砂石分离机的入口相连,砂石分离机的出口与一砂石回收池连接,一分离机排污水管的一端与砂石分离机相连,另一端与泥浆水回收池连接,在泥浆水回收池顶部设有一横跨于泥浆水回收池上方的走台。它结构设计合理,可将冲洗搅拌车后的废水及搅拌车内壁残留的混凝土进行回收再利用,达到零排放的要求,既保护了环境,又提高了资源的利用率。

标签:
废水处理
山东 - 济南 来源:中冶有色网 2023-03-19
消泡喷水枪
消泡喷水枪 900     
 0

本实用新型提供了一种消泡喷水枪,包括可调喷枪头、喷管、喷管调节阀组成和加压泵。可调喷枪头由固定喷头、可调套头组成,采用“扁平式圆头小孔”形状设计,固定喷头固结在喷管侧壁,可调套头根部旋转连接在喷头外;喷管主要由远程、近程喷管组成,远程喷管水平侧壁均匀分布安装可调喷枪头数组,近程喷管水平偏下侧壁均匀分布安装可调喷枪头数组;喷管调节阀主要由总调节阀、远程调节阀、近程调节阀组成,加压泵安装在总管前的入水口端。与现有技术相比,能快速清除水面堆积的悬浮泡沫,满足了生产企业中各类悬浮泡沫废水循环利用的基础要求,且安装维护便捷、运行成本低廉,运行可靠。

标签:
废水处理
山东 - 济南 来源:中冶有色网 2023-03-19
工件合轧设备
工件合轧设备 1203     
 0

本实用新型公开了一种工件合轧设备,包括平台,所述平台底部的中心固定连接有回收箱,所述回收箱的两侧均安装有气泵,所述回收箱内壁的两侧均固定连接有与气泵相对应的气管,所述回收箱的底部固定连接有缓冲箱,所述缓冲箱内壁的顶部固定连接有与回收箱相对应的第一排水阀,所述缓冲箱外壁的两侧均安装有制冷机,所述缓冲箱内壁的两侧均固定连接有多个与制冷机相对应的导冷杆。本实用新型通过在平台的底部设置有回收箱、气泵和气管等结构装置,从而可以将冷却过该装置的废水进行回收利用,从而大大提高了该装置的实用性,同时缓冲箱、第一排水阀、制冷机和导冷杆等结构装置可以起到增强该装置的降温冷却效果的作用。

标签:
废水处理
山东 - 济南 来源:中冶有色网 2023-03-19
新型的反渗透膜清洗设备

本实用新型公开了一种新型的反渗透膜清洗设备,包括溶液箱、精密过滤器和RO膜压力容器,所述进水口与输水管道固定连接,所述输水管道前端与管道阀法兰连接,所述输水管道与RO膜压力容器产水口管道连接,所述RO膜压力容器产水口上方设置有RO膜压力容器排水口,所述温度传感器下方设置有加热器,所述溶液箱下方通过管道与废水槽管道连接,所述溶液箱下方通过管道与增压泵管道连接,所述增压泵通过管道与精密过滤器管道连接,所述精密过滤器左侧管道与压力表法兰连接,所述精密过滤器右侧通过管道与汽水混合器固定连接。该新型的反渗透膜清洗设备具有使用方便、快捷可靠、清洁实用等优点,可以普遍推广使用。

标签:
废水处理
山东 - 济南 来源:中冶有色网 2023-03-19
刀具
刀具 1168     
 0

本实用新型涉及的是一种车床刀夹具领域,尤其一种是刀具。本实用新型公开了一种刀具,包括有刀头(2)、刀柄(4),其特征在于:在所述刀体(4)上设置冷却液通道(6),所述冷却液通道(6)一端为进水口(7),其另一端为出水口(5),并在所述出水口(5)的上端设置喷嘴(3)。本实用新型的优点:省却了外接管路,冷却液经过喷头,直接喷到刀头上,冷却效果好,并且水流量小,不浪费水,循环系统基本没有废水,且节能减排。

标签:
废水处理
山东 - 济南 来源:中冶有色网 2023-03-19
移动床生物膜厌氧发酵产氢装置

本实用新型公开了一种移动床生物膜厌氧发酵产氢装置,属于生物发酵产氢设备领域,其结构包括圆筒状外壳体和圆筒状内壳体,内壳体通过支架安装在外壳体的内腔中,内壳体的外径小于外壳体的内径,内壳体的上下两端为通孔与外壳体的内腔连通;内壳体的内腔构成反应区,内壳体与外壳体之间的空间构成回流区,内壳体上方的外壳体内腔构成分离区;反应区和回流区内灌注有填料;内壳体内设置的搅拌机与外壳体顶部的电机连接;外壳体底部设置有进水管与反应区连通,外壳体的上部设置有出水管与分离区连通。本实用新型具有运行稳定、容积利用率高、生物持有量高、产氢率高等优点;该装置在制取氢气的同时还可以降解废水中的有机污染物。

标签:
废水处理
山东 - 济南 来源:中冶有色网 2023-03-19
高精度三维石材雕刻机

本实用新型提供一种高精度三维石材雕刻机,包括倾斜管、过滤箱、溢流管、过滤网、括储水箱、输水管、鹅颈管、喷头以及吸水泵,所述溢流管右端安装在过滤箱左端面,所述过滤网装配在过滤箱内中部位置,所述倾斜管上端安装在工作台下端面,所述倾斜管下端安装在过滤箱右端面下侧,该设计实现了本实用新型对废水净化处理的目的,所述吸水泵装配在储水箱内部,所述输水管设置在储水箱上端面,且输水管下端延伸至储水箱内部,并连接吸水泵,所述鹅颈管左端连接输水管上端,所述鹅颈管右端装配有喷头,该设计解决了原有石材雕刻机水资源浪费严重的问题,本实用新型节约水资源,工作环境整洁,稳定性好,可靠性高。

标签:
废水处理
山东 - 济南 来源:中冶有色网 2023-03-19
锅炉烟气脱硝、脱硫除尘装置

本实用新型公开了一种锅炉烟气脱硝、脱硫除尘装置,包括一号超重力旋转床污染控制装置,一号超重力旋转床污染控制装置进风口与锅炉烟气出口相连,一号超重力旋转床污染控制装置的碱性吸收液加入口与碱性吸收液循环水池相连,一号超重力旋转床污染控制装置排污口与碱性吸收液循环水池相连,一号超重力旋转床污染控制装置与低温等离子体净化装置相连,低温等离子体净化装置与二号超重力旋转床污染控制装置相连。本实用新型采用上述方案,结构设计合理,无废水、废气、和废固体物产生,无氨逃逸现象,环保绿色,不使用催化剂,不依赖氨,彻底杜绝了氨使用中的一些安全问题,脱除烟气颗粒物、硫氧化物及氮氧化物效率高,能够实现稳定达标排放。

标签:
废水处理
山东 - 济南 来源:中冶有色网 2023-03-19
节水卫生洁具
节水卫生洁具 857     
 0

本实用新型公开了一种节水卫生洁具,属于一种将家庭生活废水收集加以利用的节水器具。本实用新型节水卫生洁具,包括集水箱和设置于其底部的进水管、出水管,还包括与所述集水箱配合的活塞,该活塞上部设置有控制绳;所述进水管设置有控制阀和在进水方向导通的单向阀,所述出水管则设置有控制阀。本实用新型提供了一种结构简单,使用方便的节水卫生洁具。

标签:
废水处理
山东 - 济南 来源:中冶有色网 2023-03-19
搅拌充气机
搅拌充气机 911     
 0

一种搅拌充气机,由电机、空心转轴及推进式叶轮等三部分构成。电机以1500~3000转/分的转速驱动叶轮转动,此时,在叶轮的前沿可产生一个负压区,空气通过空心转轴吸入,并随液流分散到水体中,空气在水体中滞留时间长,提高了空气的氧化效果。该装置可在污水处理池、排水渠中自由安置,用于各种污染废水的曝气处理,可在污水处理工程中广泛应用。

标签:
废水处理
山东 - 济南 来源:中冶有色网 2023-03-19
轻钢结构的除尘加工装置

本实用新型公开了一种轻钢结构的除尘加工装置,主要涉及钢结构加工技术领域,包括支架,在所述支架上部设有壳体,在所述壳体内中下部设有负压装置,所述装置包括引风管,在所述引风管上部设有负压吸头,所述引风管与壳体外部的引风机连接,在所述壳体内、负压装置上部设有筛屑装置,所述筛屑装置包括筛屑板,所述筛屑板两端分别通过第一筛杆与驱动电机连接、第二筛杆与壳体内壁连接,在所述筛屑板与壳体连接处设有密封装置,在所述壳体顶部设有漏屑板,所述漏屑板上部设有漏屑板孔,在所述壳体内底部设有集水槽,所述集水槽与壳体内部底面连接,能够有效分离收集钢屑、废水。

标签:
废水处理
山东 - 济南 来源:中冶有色网 2023-03-19
钟罩炉用滤水过滤器
钟罩炉用滤水过滤器 947     
 0

本实用新型公开了一种钟罩炉用滤水过滤器,包括电机和储水壳,所述电机的下方设置有电机转轴,且电机转轴的下方设置有转动杆,所述转动杆的左右两侧均安装有不锈钢刷,且不锈钢刷的四周包围有充水壳,所述充水壳的右侧连接有进水管,且充水壳下方连接有过滤壳,所述砂石层的下方设置有活性炭层,且活性炭层的下方设置有PVA无纺布,所述储水壳连接于过滤壳的下方,且储水壳的下方设置有冷却箱,所述冷却箱的右侧安装有流出口,所述储水壳的左侧连接有出水管,且出水管的左端连接有抽水泵。本实用新型设置过滤壳,过滤壳内部的过滤层能将废水中的颗粒进行过滤,过滤一定时间后可以将过滤壳拆卸,换取新的过滤壳,保证过滤效果。

标签:
废水处理
山东 - 济南 来源:中冶有色网 2023-03-19
快滤池
快滤池 782     
 0

一种快滤池,滤池(1)的下部设置滤板(3)和滤板上部的滤料层,所述滤池(1)上部设置排水槽(2),所述滤料层由不同粒径的滤料按一定比例混合而成,粒径大的滤料所占比例大;反冲洗状态下,反冲洗清水从反冲洗系统(5)进入滤板(3)滤帽,气体从进气系统(8)进入滤板(3)滤帽进行气水均匀混合反冲洗滤板(3)上的滤料层,反洗后的废水经排水槽(2)和反洗排水系统(6)排出或部分回收;每次反冲洗后用压缩空气将滤料混合均匀,使较细的滤料均匀地填充在较粗滤料的孔隙中。过滤周期长,单位体积产水量高,出水水质好,节能效果显著。

标签:
废水处理
山东 - 济南 来源:中冶有色网 2023-03-19
短暂间歇软化器
短暂间歇软化器 1024     
 0

本实用新型公开了一种短暂间歇软化器,属于水处理设备领域,其结构包括筒体,筒体的底部安装有支腿,筒体内腔上部为再生室,下部为吸附室;再生室的上部设置有硬水收集装置,硬水收集装置与硬水出口连通;再生室的下部设置有再生剂分布装置,再生剂分布装置与再生剂进口连通;再生室的底部通过树脂分配装置二与吸附室连通;吸附室的下部设置有进水布水装置,进水布水装置与筒体下方的进水管道和排水管道连通;筒体外侧设置有树脂输送管道,树脂输送管道的上端与设置在硬水收集装置下方的树脂分配装置一连通;树脂输送管道的下端与吸附室的下部连通。本实用新型可提高设备利用效率,减少设备的投资;减少了废水的排放,降低环境污染。

标签:
废水处理
山东 - 济南 来源:中冶有色网 2023-03-19
空化污水处理装置
空化污水处理装置 954     
 0

本实用新型提出了一种空化污水处理装置,用以解决现有技术中污水处理装置结构复杂、使用成本较高的问题。该空化污水处理装置包括组合仓、涡流仓和挡板,组合仓的顶部开有与其内腔相连通的进水口;涡流仓设置于组合仓内,涡流仓的底部与组合仓的内腔密封配合,涡流仓内开有延伸至其底端的涡流内腔,涡流仓上设有涡流装置;挡板固定安装于涡流仓的下方,该空化污水处理装置利用空化效应作为难降解废水的处理方法,不仅可以有效去除许多难降解物质和有毒物质,而且具有无二次污染、反应装置简单等优点,具有很好的实用性。

标签:
废水处理
山东 - 济南 来源:中冶有色网 2023-03-19
氯化锌溶液多效蒸发浓缩生产系统

本实用新型涉及一种氯化锌溶液多效蒸发浓缩生产系统,生产系统中进料泵经板式换热器与一效降膜加热室连接,一效降膜加热室与一效分离室连接,一效分离室与二效降膜加热室连接,一效降膜加热室和一效分离室的底部均经过一效转料泵与二效降膜加热室连接,二效降膜加热室分别与冷凝水桶和二效分离室连接,冷凝水桶经冷凝水泵与板式换热器连接,二效降膜加热室与二效分离室的底部均经二效转料泵与列管换热器连接,列管换热器与高温浓缩室连接,高温浓缩室的下管箱与冷却螺旋输送机连接。本实用新型可生产出高纯度的氯化锌,且换热后冷凝水进入氯化锌反应工序重复利用,节约了能耗,实现了废水的零排放。

标签:
废水处理
山东 - 济南 来源:中冶有色网 2023-03-19
良品率高的提花地毯织机结构

本实用新型公开了一种良品率高的提花地毯织机结构,包括防护过滤外壳,进水管道,地毯织机连接板,连接螺纹孔,废水收集漏斗,污水排水管,手动球阀开关,设备挂置架,设备挂置架插板,抽拉式过滤网,净化装置和抽风风扇,本实用新型,通过设置净化装置能够有效的对一些悬浮物和绒线垃圾进行清理净化,防止飘散到空气之中导致工作人员吸入造成伤害,先通过将少量的水通过净化喷头喷洒到净化柱上,在此经过带有悬浮物和绒线垃圾的空气会与湿润的净化柱进行融合将悬浮物和绒线垃圾附着在净化柱上,然后经过喷水器喷水将附着在净化柱上的垃圾冲洗掉即可完成净化作用,通过将悬浮物和绒线垃圾清除能够有效的保证了工作人员的健康。

标签:
废水处理
山东 - 济南 来源:中冶有色网 2023-03-19
汽车零部件加工用水洗装置

本实用新型公开了一种汽车零部件加工用水洗装置,包括箱体,所述箱体的一侧顶部开有进出口,且进出口的一侧铰接有箱门,所述箱体的一侧内壁两端均设置有传动辊,且传动辊的外壁设置有传动带,传动带的外壁粘接有第一刷毛,所述箱体的一侧外壁固定连接有电机,且电机的输出轴与其中一个传动辊的一端固定连接,所述箱体的内壁底部固定连接有储水室,且箱体的一侧外壁底部固定连接有抽水泵。本实用新型通过喷头对汽车零部件进行冲洗处理,冲洗过程中的废水流入储水室内继续使用,节约用水,将汽车零部件置于传动带和安装板之间,利用传动带和挡板以及第一刷毛和第二刷毛对汽车零部件进行翻动刷洗处理,提高装置的水洗效率。

标签:
废水处理
山东 - 济南 来源:中冶有色网 2023-03-19
高效旋转纤维束滤池
高效旋转纤维束滤池 830     
 0

本实用新型涉及一种高效旋转纤维束滤池。本高效旋转纤维束滤池,包括连接均设有控制阀门的进水管、出水管、反洗废水管和反洗气管的密闭池体;密闭池体的池体底部安装有固定装置;固定装置上安装有穿孔集水管,穿孔集水管位于密闭池体的池体中心;密闭池体的池体上部安装有耦合装置,耦合装置上端通过旋转轴连有电机;穿孔集水管外围包裹有抗拉、抗扭强度高、表面光滑、耐腐蚀、抗老化的纤维束,纤维束一端固定于固定装置上,另一端固定于耦合装置上;密闭池体内还设有压力传感器。本实用新型有效解决常规纤维束滤池易堵塞,过滤周期短,不易反洗干净等缺点,具有滤速大,负荷高,占地面积小,出水水质好等优点。

标签:
废水处理
山东 - 济南 来源:中冶有色网 2023-03-19
膜生物反应水处理器
膜生物反应水处理器 1185     
 0

本实用新型提供一种实现污水充分循环利用,防止污染地下水的膜生物反应水处理器。本实用新型包括格栅、调节池,所述的格栅与调节池连通后与MBR膜生物反应器相连,所述的MBR膜生物反应器包括MBR专用膜、曝气管、集水管,所述的MBR专用膜通过支架固定在MBR膜生物反应器内部上半部分,所述的曝气管安装在MBR膜生物反应器的低端。本实用新型出水水质良好稳定;抗负荷冲击能力强,有效处理高浓度有机废水;可拦除大部分致病菌,减少消毒药剂用量。

标签:
废水处理
山东 - 济南 来源:中冶有色网 2023-03-19
集水坑围栏式防垃圾进入隔离装置

本实用新型提供了一种集水坑围栏式防垃圾进入隔离装置,属于建筑施工技术领域。其技术方案为:包括网状围挡和连接件,网状围挡靠近两端部位分别设置有连接豁口,四个网状围挡通过连接豁口相互连接,形成方形围栏,网状围挡的连接部位通过连接件固定,网状围挡底部设置有透水豁口。本实用新型的有益效果为:本实用新型结构简单,安装方便并且能够重复利用,使用本实用新型提供的隔离装置能够阻止大块的建筑垃圾进入集水坑,保证了集水坑中的建筑废水及小块建筑垃圾可以通过抽水泵抽走,避免了工人为清理大块建筑垃圾,在无照明且空间较小集水坑中通过软爬梯爬上爬下的安全隐患。

标签:
废水处理
山东 - 济南 来源:中冶有色网 2023-03-19
家用医用混合型制水机
家用医用混合型制水机 1160     
 0

本实用新型公开了一种家用医用混合型制水机,本实用新型包括原水进水管、原水粗过滤系统、RO膜过滤器、净水输水管和废水输水管,原水粗过滤系统通过水管连接原水进水管和RO膜过滤器的进口,其特征在于:还包括有混床,所述的净水输水管包括RO水输水管和纯水输水管,RO膜过滤器的出口通过水管连接RO水输水管和混床的进水口,混床的出水口连接纯水输水管。本实用新型在RO膜过滤器出口之后接有RO水输水管和混床,混床之后接纯水输水管,RO水输水管输出的水是RO水,完全符合人类饮用标准,纯水输水管输出的水是RO水再经过混床纯化去离子,完全达到医用水标准,可供医用及实验室使用。

标签:
废水处理
山东 - 济南 来源:中冶有色网 2023-03-19
电催化氧化设备污水处理装置

本实用新型具体是一种电催化氧化设备污水处理装置,属于污水处理领域,包括呈并排设置的电解反应器和沉淀池,所述电解反应器和所述沉淀池通过自流管道连通;其中,所述电解反应器内部设置有多个呈并排设置的合金电极板,且合金电极板连接在稳压整流器上,在合金电极板下端的电解反应器的底部设置有微孔曝气器;在所述沉淀池上端设置有絮凝剂加药罐,絮凝剂加药罐连接在自流管道上进而可确保处理后的出水长期稳定性达标;解决了高浓废水处理技术领域中由于进水浓度随机变化及进水有机物浓度极高而引起的出水水质不稳定问题,同时解决了极板电极易钝化、极板更换周期短、运行成本高、出水悬浮物高、自动化控制程度低等问题。

标签:
废水处理
山东 - 济南 来源:中冶有色网 2023-03-19
成品氨水提质系统
成品氨水提质系统 1005     
 0

本实用新型公开了成品氨水提质系统,其结构包括成品氨水中间槽、成品氨水泵、氨水收集槽、絮凝剂搅拌槽、氨水泵、尾气处理管以及装车鹤管,所述的成品氨水泵进水管道连接成品氨水槽,出水管道进入氨水收集槽,所述成品氨水收集槽上部设有尾气收集管、氨水循环管;所述氨水泵的入口管与氨水收集槽底部管道、絮凝剂搅拌槽管道连接,所述氨水泵的出口与四个外送管道相连,所述四个外送管分别是氨水循环管,送入装车台的去装车鹤管,送入脱硫岗位作为脱硫系统的外送清液管和排氨水收集槽底部的残渣外送管。该系统可以去除成品氨水的油类、悬浮物等各种杂质,成品氨水得到很大的提升,不但满足了脱硫生产,销售的价格也有大幅提高。对于稳定废水平衡,提高销售业绩,增进了企业的节能减排具有明显的效果。

标签:
废水处理
山东 - 济南 来源:中冶有色网 2023-03-19
豆腐皮自动腌制和输送设备

本实用新型公开了一种豆腐皮自动腌制和输送设备,包括两个支撑柱、放置盘和安装板,两个支撑柱之间共同有放置架,所述放置架的下端设有电动葫芦,两个支撑柱之间设有放置台、卤水池和固定架,所述卤水池位于固定架和放置台之间,所述固定架上设有废水接收装置。本实用新型达到了对豆腐皮自动腌制的目的,不需要多次工作人员搬动放置框,减少工作人员劳动强度,同时提高腌制效率,同时可以对卤水进行回收和利用,减少卤水浪费,增加使用成本。

标签:
废水处理
山东 - 济南 来源:中冶有色网 2023-03-19
水厂土建工程用集水装置

本实用新型公开了土建设备技术领域的一种水厂土建工程用集水装置,包括主体,主体前后侧壁均匀开设有凹槽,凹槽内滑动连接有支撑板,支撑板上有滤布,主体的四周有围板,围板内壁有缓冲板,围板顶部和地面高度一致,围板和主体侧壁有安装板,安装板上有水箱和水泵,水泵分别有出水管和进水管,水箱内壁中端处固定连接有镂空板,镂空板上摆放有过滤棉,水箱侧壁通孔处固定连接有排水管,本实用新型通过将主体设置在地面以下,使得集水装置可收集雨水和施工过程中产生的废水,使得装置集水效果好,再通过土建基坑或水处理池作为集水装置中的主体,使得集水装置集水量大,有助于节约水资源,同时无需增加其他结构,生产成本低。

标签:
废水处理
山东 - 济南 来源:中冶有色网 2023-03-19
上一页 15 16 17 18 19 ... 57 下一页
共57页    到第

中冶有色为您提供最新的山东济南有色金属废水处理技术理论与应用信息,涵盖发明专利、权利要求、说明书、技术领域、背景技术、实用新型内容及具体实施方式等有色技术内容。打造最具专业性的有色金属技术理论与应用平台!

全国热门有色金属设备推荐
展开更多 +
全国热门有色金属技术推荐
展开更多 +

 

江西省隆恩特环保设备有限公司
宣传

报名参会
更多+

报告下载

有色专家
更多+

西北稀有金属材料研究院宁夏有限公司
党委书记 / 董事长
鞍钢集团有限公司
中国工程院院士
江西铜业集团有限公司
党委书记、董事长
任灵宝金源矿业股份有限公司
技术发展部经理
中国矿业大学(北京)
教授
赤泥综合利用研究报告2025
推广

热门技术
更多+

推荐企业
更多+

福建省金龙稀土股份有限公司
宣传

发布

在线客服

公众号

电话

顶部
咨询电话:
010-88793500-807