青岛垚鑫智能科技有限公司
宣传

位置:中冶有色 >

有色技术频道 >

> 加工技术

分类:
全部
矿山技术
冶金技术
材料制备及加工技术
环境保护技术
分析检测技术
 
全部
功能材料技术
复合材料技术
新能源材料技术
合金材料技术
加工技术
地区:
全部
北京
天津
上海
重庆
河北
山西
辽宁
吉林
黑龙江
江苏
浙江
安徽
福建
江西
山东
河南
湖北
湖南
广东
海南
四川
贵州
云南
陕西
甘肃
青海
内蒙
广西
西藏
宁夏
新疆
其他
其他
展开
 
全部
广州
韶关
深圳
珠海
汕头
佛山
江门
湛江
茂名
肇庆
惠州
梅州
汕尾
河源
阳江
清远
东莞
中山
潮州
揭阳
云浮

广东广州有色金属加工技术理论与应用

免费发布技术信息>>
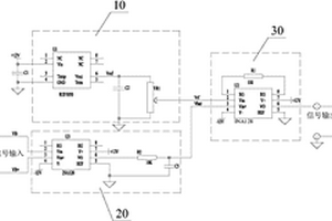
锂电池钝化检测及激活电路、方法及装置

本申请涉及一种锂电池钝化检测电路及激活电路。其中,锂电池钝化检测及激活电路,包括供电切换电路、电源监测芯片、放电电路以及处理器;供电切换电路的第一端用于连接外部电源,第二端连接用于连接锂电池,第三端连接处理器;放电电路的第一端用于连接锂电池,第二端连接处理器,第三端接地;电源监测芯片的第一端连接处理器,第二端接地,第三端用于连接锂电池;处理器根据电源监测芯片传输的电信号,判断锂电池是否处于钝化状态;若判断的结果为是,处理器向放电电路传输放电信号、以导通锂电池与地之间的连接。本申请的锂电池钝化检测及激活电路,基于锂电池的应用电路来设计,既起到防止锂电池钝化的作用,也不增加较大成本。

标签:
加工技术
广东 - 广州 来源:中冶有色网 2023-03-18
从电池电极材料浸出液中回收锂的方法

一种从电池电极材料浸出液中回收锂的方法,本发明所述浸出液为废旧锂离子电池电极材料浸出液分离得到的含镍、钴和锂的溶液。回收方法如下:将浸出液与酸性含磷萃取剂按体积比1:1~5萃取分离,得到含锂的萃余液;按锂与碳酸根摩尔比1:0.4~0.6,将含锂的萃余液加入到温度为90℃以上碳酸钠溶液中,搅拌0.5~3小时,趁热过滤,得到碳酸锂和沉淀母液;将沉淀母液与酸性含萃取剂混合,搅拌0.5~3小时,得到皂化酸性含萃取剂和皂化母液;蒸发皂化母液,冷却后过滤,得到硫酸钠结晶和结晶母液,结晶母液加入到含锂的萃余液回收利用。本发明方法提高了锂的回收率,并回收了硫酸钠,降低了回收成本,提高了锂电池回收的经济效益。

标签:
加工技术
广东 - 广州 来源:中冶有色网 2023-03-18
UPS与锂电池并机系统
UPS与锂电池并机系统 738     
 0

本发明提出了一种UPS与锂电池并机系统,包括UPS电路、主锂电池组电路和多个从锂电池组电路,主锂电池组电路与UPS电路之间通过CAN通信连接,所述主锂电池组电路与所述从锂电池组电路之间通过RS485通信连接;所述主锂电池组电路通过RS485接口获取各锂电池组的状态信息并进行汇总,并通过CAN通信接口将所述状态信息及所述主锂电池组电路中锂电池组的状态信息反馈到UPS电路,所述UPS电路根据所述状态信息调节锂电池组的充电、放电功率。本发明通过主锂电池组电路获取各从锂电池组电路中锂电池的状态信息并反馈到UPS中,便于UPS根据各锂电池组的状态信息控制各锂电池的充放电情况。

标签:
加工技术
广东 - 广州 来源:中冶有色网 2023-03-18
负极片及其制备方法、锂离子电池

本发明公开了一种负极片及其制备方法、锂离子电池。本发明的负极片的组成结构包括钛片、二氧化钛纳米管、氧化锌纳米颗粒和金属锂;所述二氧化钛纳米管原位生长在钛片表面;所述氧化锌纳米颗粒负载在二氧化钛纳米管表面;所述金属锂负载在二氧化钛纳米管表面和氧化锌纳米颗表面。本发明的负极片的制备方法包括以下步骤:1)钛片的阳极氧化,在钛片上原位生成二氧化钛纳米管;2)在二氧化钛纳米管上负载氧化锌纳米颗粒;3)在二氧化钛纳米管表面和氧化锌纳米颗表面负载金属锂。本发明的负极片的导电性好、体积变化极小,不仅可以缓解锂枝晶的形成,而且可以提高锂离子电池的循环容量和循环稳定性,在锂离子电池领域有良好的应用前景。

标签:
加工技术
广东 - 广州 来源:中冶有色网 2023-03-18
石墨烯改性镍锰酸锂的制备方法

本发明公开了一种石墨烯改性镍锰酸锂的制备方法。所述制备方法首先利用可溶性锂盐、锰盐、镍盐、络合剂和少量的氨水,采用溶胶-凝胶法,制备出镍锰酸锂复合氧化物;以鳞片状石墨为原料采用Hummers法制备氧化石墨,再对所述氧化石墨进行剥层,在化学还原的同时利用甲基蓝对所述氧化石墨进行功能化,得到亲水改性的石墨烯片;利用所得到的石墨烯片修饰所制得的镍锰酸锂复合氧化物的颗粒表面,得到石墨烯改性后的镍锰酸锂。该方法工艺过程简单、生产成本低,增加了锂离子电池正极材料的导电性,将其用于锂离子电池,能够有效改善电池在常温环境及高温环境下的倍率充放电性能。

标签:
加工技术
广东 - 广州 来源:中冶有色网 2023-03-18
锂二硫化铁电池的电解液及其电池

本发明提供了一种锂二硫化铁电池的电解液,其包括电解质和有机溶剂,所述电解质由高氯酸锂和碘化锂组成,所述高氯酸锂的浓度为0.1~0.8?mol/L;所述高氯酸锂的浓度大于所述碘化锂的浓度;所述有机溶剂由以下体积百分数的组分组成:乙二醇二甲醚10%~90%、1, 3?二氧戊环90%~10%。所述的电解液通过合理搭配高氯酸锂与碘化锂,并限定了溶剂的种类及用量之比,有效解决高氯酸锂电解液的安全性能问题,其成本低,由其所制备的锂二硫化铁电池的电化学性能及安全性能良好。

标签:
加工技术
广东 - 广州 来源:中冶有色网 2023-03-18
锂电池保护装置
锂电池保护装置 1126     
 0

本实用新型涉及电池领域,具体涉及一种锂电池保护装置。本实用新型的锂电池保护装置,安装在锂电池主体的外部,其至少包括与锂电池正极端相连的正极导电片和与锂电池负极端连接的负极导电片以及外壳。本实用新型在锂电池主体的基础上增加保护装置后,能有效避免电池受外部机械力量引起的内部短路而导致过多能量释放,防止锂电池发生热失控引起电池起火燃烧。本实用新型在使用时,锂电池本身的能量高低不影响保护装置的安全;而且本实用新型加工简单,制造成本低,适应性强,基本不影响原来电池的性能和比能量,是解决锂离子电池安全问题的有效办法,因此,采用本实用新型后,锂离子电池可以往大容量化、高容量化和多样化发展。

标签:
加工技术
广东 - 广州 来源:中冶有色网 2023-03-18
混合锆盐电解质材料的合成方法及在锂金属电池中的用途

本发明提供了一种混合锆盐电解质材料的合成方法及在锂金属电池中的用途。所述制备方法包括如下步骤:第一步,以现有商业化的锂电池电解液作为原材料制备含锆混合电解质材料的浑浊液溶液;第二步,将第一步中得到的浑浊溶液离心,取下层沉淀,然后用商业化的碳酸酯类电解液溶剂清洗多余的杂质;第三步,将第二步中清洗后的得到的白色沉淀进行干燥,然后研磨粉碎即得到了一种混合锆盐电解质材料。将这种混合锆盐电解质材料加入含有六氟磷酸锂的锂电池电解液中后,能够非常显著的提高锂金属电池中锂阳极的循环稳定性和倍率充放电性能,从而大幅度提高锂金属电池的电化学性能。

标签:
加工技术
广东 - 广州 来源:中冶有色网 2023-03-18
掺杂包覆改性锂离子电池层状富镍正极材料及其制备方法

本发明公开了一种掺杂包覆改性锂离子电池层状富镍正极材料及其制备方法。该锂离子电池层状富镍正极材料的化学式为:MOx·LiNi1‑a‑b‑c‑dCoaMnbAlcMdO2,MOx为表面修饰层材料。本发明通过液相前驱体制备、高温固相烧结和表面修饰方法,制备出掺杂包覆改性锂离子电池层状富镍正极材料。掺杂改性具有很好的锂离子导电性,有利于锂离子的脱嵌,可大幅提高层状富镍正极材料的倍率性能,进而改善锂离子电池正极材料的功率密度和能量密度。利用表面包覆修饰可以降低材料表面碱含量,减少副反应的发生,提高层状富镍正极材料的循环性能和安全性能,工序简单,结构易控,能实现工业化大规模生产。

标签:
加工技术
广东 - 广州 来源:中冶有色网 2023-03-18
纤维素涂布锂离子电池隔膜及其制备方法

本发明属于锂离子电池隔膜与生物质材料交叉领域,具体公开了一种纤维素涂布锂离子电池隔膜及其制备方法。所述制备方法为:取适量的水溶性纤维素衍生物和聚乙烯醇分别配制成均匀的水溶液后混合搅拌均匀,取适量的纳米纤维素加入混合均匀的水溶液配制成均匀的水悬浮液,搅拌一段时间至体系均匀;将混合均匀的涂料涂布于聚烯烃隔膜表面后迅速置于无水乙醇浴中放置一段时间,最后通过真空干燥,即得所述纤维素涂布锂离子电池隔膜。所述隔膜的涂布过程无有毒有机溶剂使用,所制备的涂布隔膜性能优良。制得的隔膜的电解液吸收率大于300%,离子导电率大于1.0mS cm‑1。

标签:
加工技术
广东 - 广州 来源:中冶有色网 2023-03-18
萜烯树脂基水系粘结剂及其在锂离子电池负极或超级电容器中的应用

本发明提供了萜烯树脂基水系粘结剂在锂离子电池负极或超级电容器中的应用,所述的萜烯树脂基水系粘结剂是由萜烯树脂乳液和羧甲基纤维素按一定比例配成,萜烯树脂与羧甲基纤维素的质量比为100∶1-1∶100。所述的含有该萜烯树脂基水系粘结剂构成的锂离子电池负极或超级电容器,其组成的比例为:活性材料∶导电剂∶(萜烯树脂+羧甲基纤维素)=70-95∶1-20∶4-10。本发明采用天然环保的萜烯树脂作为锂离子电池或超级电容器水系粘结剂,能极大提高电池的整体循环稳定性和倍率性能,并能显著降低电池的成本。

标签:
加工技术
广东 - 广州 来源:中冶有色网 2023-03-18
具有保护层的锂负极及其制备方法和应用

本发明公开了一种具有保护层的锂负极及其制备方法和应用。这种锂负极的保护层位于电极表面,保护层为掺杂纳米二硫化钼的锂化全氟磺酸膜。这种具有保护层的锂负极的制备方法,包括以下步骤:一、全氟磺酸的锂化;二、二硫化钼的装载;三、保护层的涂覆和固化。同时还公开了这种具有保护层的锂负极在锂硫电池中的应用。本发明这种锂电池金属锂负极的保护层能有效抑制锂枝晶,减弱穿梭效应,从而提高锂硫电池的充放电容量、倍率性能和循环寿命。

标签:
加工技术
广东 - 广州 来源:中冶有色网 2023-03-18
锂硫电池球形复合正极材料及其制备方法与应用

本发明属于电化学储能领域,公开了一种锂硫电池球形复合正极材料及其制备方法与应用。所述锂硫电池球形复合正极材料为多孔碳纳米球/硫/聚苯胺复合正极材料,具有“三明治”球形结构;本发明采用化学共沉积法载硫-原位聚合法包覆导电聚苯胺的一锅合成方法,形成多孔碳纳米球/硫/聚苯胺复合正极材料。所述制备方法工艺简单,成本低,产物一致性、稳定性高。所得锂硫电池球形复合正极材料的电子和离子导电性强,载硫量高,抑制了聚硫化物的扩散,可用于制备锂电池复合正极片;所得锂硫电池复合正极片的电化学性能优异,循环稳定性和容量保持率高。

标签:
加工技术
广东 - 广州 来源:中冶有色网 2023-03-18
锂电池极耳的固定结构
锂电池极耳的固定结构 1089     
 0

本实用新型公开了一种锂电池极耳的固定结构,包括机架以及均设置在机架上的第一固定装置、第二固定装置和第三固定装置;第一固定装置用于与相抵以阻止锂电池极耳在X向上活动;第二固定装置用于与相抵以阻止锂电池极耳在Y向上活动;第三固定装置用于与相抵以阻止锂电池极耳在Z向上活动。本实用新型通过设置第一固定装置、第二固定装置和第三固定装置分别与锂电池极耳相抵而阻止极耳在X、Y和Z三向上活动,从而固定锂电池极耳,利于后续进行视觉检测。

标签:
加工技术
广东 - 广州 来源:中冶有色网 2023-03-18
特种锂电池铅膏负极涂覆用固定结构

本实用新型提供一种特种锂电池铅膏负极涂覆用固定结构,包括:基座;支撑装置,所述支撑装置设置于所述基座的顶部,所述支撑装置包括两个竖板,两个所述竖板的顶部固定连接有横板,两个所述竖板相互靠近的一侧固定连接有放置板;两个夹持装置,两个所述夹持装置分别设置于两个所述竖板的内部,两个所述夹持装置包括夹持杆。本实用新型提供一种特种锂电池铅膏负极涂覆用固定结构,通过设置夹持装置用于固定锂电池,并且通过固定装置用于固定夹持装置,避免锂电池移动,通过设置涂料装置便于对锂电池进行固定,通过设置驱动装置带动涂料装置转动,从而便于刮板转动,将出料口上流出来的铅膏刮摸均匀,便于提高锂电池的涂覆的效率。

标签:
加工技术
广东 - 广州 来源:中冶有色网 2023-03-18
正极浆料、正极极片及锂离子电池

本发明公开一种正极浆料、正极极片及锂离子电池,其中,正极浆料包括正极活性物质、导电剂、粘结剂以及硅基磷酸锂盐添加剂,所述硅基磷酸锂盐添加剂的化学结构通式为:其中,R1,R2独立地选自苯基,C1‑C4烷基和C1‑C4卤代烷基中的一种。本发明提供的正极浆料包括硅基磷酸锂盐添加剂,所述硅基磷酸锂盐添加剂作为补锂剂在电池首次充电过程中,能脱离出锂离子参与负极表面形成SEI膜,减少了正极活性物质锂离子的消耗量,从而提高了电池的首次效率和电池容量;此外,该硅基磷酸锂盐添加剂中的硅基和苯基在首次充电时参与正极的成膜反应,使正极成膜的更致密,减少了正极活性物质在高电压下与电解液发生的副反应,从而提高电池的稳定性和安全性。

标签:
加工技术
广东 - 广州 来源:中冶有色网 2023-03-18
高容量磷酸锰锂复合正极材料及其制备方法

本发明提供了一种高容量磷酸锰锂复合正极材料的制备方法,包括:将磷源、锂源、锰源、金属源、碳源和助剂,进行水热或溶剂热反应,得到正极材料前驱体;将所述正极材料前驱体进行烧结,得到高容量磷酸锰锂复合正极材料。本发明提供的复合正极材料的制备方法工艺过程简单、分散均匀,能够调整材料的形貌、离子/电子电导,有利于锂离子快速、可逆的嵌入和脱嵌,有利于锂离子在固相中的快速扩散。本发明提供了一种上述技术方案所述的方法制备得到的高容量磷酸锰锂复合正极材料,这种复合正极材料的容量高、倍率性能和循环稳定性优异。

标签:
加工技术
广东 - 广州 来源:中冶有色网 2023-03-18
可充电锂离子电池装置

本发明提出了一种可充电锂离子电池装置,包括外壳,所述外壳的一端设有正极端子和负极端子,所述外壳的内部设有由多节磷酸铁锂电池串联组成的锂电池组,所述锂电池组的正极与所述正极端子连接,所述锂电池组的负极与所述负极端子连接。实施本发明的可充电锂离子电池装置,具有以下有益效果:电池容量较大、能对电池进行充电。

标签:
加工技术
广东 - 广州 来源:中冶有色网 2023-03-18
MXene有机复合物膜及其制备方法与作为锂硫电池隔离膜的应用

本发明公开了一种MXene有机复合物膜及其制备方法与作为锂硫电池隔离膜的应用。该方法包括以下步骤:(1)先将酸溶液与锂盐混合搅拌,再加入Ti3AlC2粉末,搅拌,离心,干燥,得到二维材料Ti3C2;(2)将聚合物前驱体溶液利用静电纺丝技术得到有机聚合物膜;(3)利用真空抽滤的方法,将二维材料Ti3C2抽滤在有机聚合物膜上,并应用于锂硫电池隔离膜。本发明制备的MXene有机复合物膜具有良好的机械性能,热稳定性,对电解液浸润性好,同时可以有效抑制锂硫电池循环过程中多硫化锂的穿梭效应,从而提高了锂硫电池的循环寿命。所述的制备方法简单易行,有利于大规模的工业化生产。

标签:
加工技术
广东 - 广州 来源:中冶有色网 2023-03-18
用作锂离子电池过充保护剂的氧化还原梭

本发明公开了一种用作锂离子电池过充保护剂的氧化还原梭及其应用,其结构式如式I所示:其中,R选自-CH2CH2CN、-Si(CH3)3、-S(O)2CH3、-S(O)2CF3、-C(O)CH3中的任一种。本发明的氧化还原梭引入极性基团(如氰基、酯基、磺酰基),能提高氧化还原梭的氧化电位及其在电解液中的溶解性和稳定性。所述氧化还原梭作为锂离子电池电解液添加剂应用于锂离子电池。

标签:
加工技术
广东 - 广州 来源:中冶有色网 2023-03-18
纳米纤维素基仿贝壳结构复合锂电池隔膜及其制备方法与应用

本发明涉及锂离子电池技术领域,具体公开了一种纳米纤维素基仿贝壳结构复合锂电池隔膜及其制备方法。本发明以纳米纤维素纤维为基体材料,通过高压均质将其均匀分散在去离子水中,形成稳定分散胶体;再将硅酸镁锂均匀分散在去离子水中,制备溶胶,并用聚乙二醇对硅酸镁锂溶胶进行改性,得到改性硅酸镁锂溶胶;然后将纳米纤维素纤维溶胶与改性硅酸镁锂溶胶均匀混合得到复合溶胶液,浇注于平板上,干燥成膜;最后将复合膜浸泡于乙醇中除去聚乙二醇,经真空干燥形成多孔锂电池隔膜。本发明首次将仿生结构生物基材料引入锂电池中作为隔膜,制备工艺简单,原料环保无毒;纳米纤维素基仿贝壳结构隔膜具有多孔性,热稳定性高,力学稳定性优异以及电解液润湿性好的特点。

标签:
加工技术
广东 - 广州 来源:中冶有色网 2023-03-18
锂离子电池电极材料用电解液多功能添加剂及其制备方法

本发明提供一种锂离子电池电极材料用电解液多功能添加剂及其制备方法,涉及锂离子电池多功能添加剂技术领域。本发明锂离子电池电极材料用电解液多功能添加剂包含1‑丁炔基膦酸二乙酯、乙氧基五氟环三磷腈、碳酸乙烯亚乙烯酯、六甲基二硅胺烷、1,3‑丙烯磺酸内酯。本发明锂离子电池电极材料用电解液多功能添加剂能够提高锂离子电池的性能,由本发明锂离子电池电极材料用电解液多功能添加剂制造的锂离子电池对发展长寿命储能和动力锂离子电池具有显著地应用价值和前景。

标签:
加工技术
广东 - 广州 来源:中冶有色网 2023-03-18
生产线上锂离子电池的负极浆料及其制备方法

本申请属于锂离子电池技术领域,具体涉及一种生产线上锂离子电池的负极浆料及其制备方法。本发明所提供的负极浆料包括:负极活性物质179份、导电剂4份和聚丙烯酸锂17份,采用聚丙烯酸锂作为粘结剂,和传统粘结剂相比,聚丙烯酸锂具有离子导电性,能整体提高本发明负极浆料的导电性能。本发明的负极浆料采用分段球磨的方法来制备,能充分搅拌材料,从而避免浆料沉淀,由此大大提高负极浆料的分散性能。因此,本发明提供的负极浆料具有分散性好、粘稠度适中、导电性能良好、低成本和绿色环保的优点,其工艺优化,可广泛应用于生产线上制备锂离子电池,不仅可以提高锂离子电池的生产效率,还可以提高所生产的锂离子电池的整体性能。

标签:
加工技术
广东 - 广州 来源:中冶有色网 2023-03-18
锂电池内部微短路检测装置

本实用新型公开了一种锂电池内部微短路检测装置,包括用于产生基准电压的基准电压产生电路、用于采集待检测锂电池的输出电压的锂电池电压采样滤波电路以及差值放大电路和六位半高精度数字万用表,差值放大电路将基准电压与锂电池的输出电压之间的差值进行放大后输出给六位半高精度数字万用表进行检测。本实用新型,使用了电池电压跟踪式差分高增益放大技术,可以快速识别锂电池制造过程中内部微短路的不良品电池,大幅缩短因锂电池微短路而引起的电池自放电导致的电池电压下降的识别时间,使原来锂电池自放电工艺周期大幅缩短,有效降低了电池制造成本。本电路实现简单、实用性强,工作安全可靠。

标签:
加工技术
广东 - 广州 来源:中冶有色网 2023-03-18
锂金属电池用电解液及其制备方法与应用

本发明提供了一种锂金属电池用电解液,包括以下组分:经过除水的有机溶剂和电解质锂盐;所述有机溶剂的成分包括:碳酸乙烯亚乙酯和二(2,2,2‑三氟乙基)碳酸酯。采用该电解液制备得到电池具有既能够阻止电解液燃烧,又能够促进锂金属负极成膜的特点,该电解液能在锂金属负极表面形成一层稳定的SEI膜,有效阻隔了本体锂与电解液的反应,显著提高了锂金属负极/电解液界面稳定性,从而提高锂金属电池的循环稳定性。

标签:
加工技术
广东 - 广州 来源:中冶有色网 2023-03-18
处理废旧锂电池的方法及装置

本发明提供了一种处理废旧锂电池的方法,其包括以下步骤:首先将放电并拆解开的废旧锂电池放置在密闭空间内;将水通入水分子热能发生装置中,启动所述水分子热能发生装置的加热程序,获得热焓值高的气态水分子热能;再将气态水分子通入到装有废旧锂电池的密闭空间内,气态水分子首先将封闭空间内的空气排出形成一个无氧环境的封闭空间;利用水分子热能热解废旧锂电池内的粘结剂、隔膜、电解液等有机物质,生成碳黑、水和二氧化碳等气体;最后对经过高温热解后的废旧锂电池进行分类处理,得到镍、钴、锰等稀有金属、铜箔和铝箔等金属材料以及碳黑;也提供了一种处理废旧锂电池的装置,利用高温无氧环境将废旧锂电池中的有机物进行热分解。

标签:
加工技术
广东 - 广州 来源:中冶有色网 2023-03-18
锂制剂在制备抗骨肉瘤药物的应用

锂制剂在靶向治疗骨肉瘤方面的新用途,属于医药技术领域。实验表明,锂制剂具有显著体内及体外抗骨肉瘤作用,其作用可能是通过磷酸化GSK-3β抑制其功能而得以实现的,与经典化疗药阿霉素等联合使用明显增强其杀灭肿瘤的效果。本发明的锂制剂中的锂盐选自氯化锂、碳酸锂、硫酸锂、枸橼酸锂、乳清酸锂,以及其他药学上可以或者已经使用的锂盐,本发明可以采用口服或注射剂型,也可以与其他药物例如阿霉素制成复方制剂,制成制剂时,制剂中包括锂盐和药学上可以接受的载体或者赋形剂。

标签:
加工技术
广东 - 广州 来源:中冶有色网 2023-03-18
锂离子电池正极活性物质及其电池

本发明锂离子电池正极活性物质及其电池属于电池领域,锂离子电池正极活性物质包含有第一活性物质A和第二活性物质B,第一活性物质A是铌酸锂,具有如下结构式:LixNbyOz,第二活性物质B是除去铌酸锂外的其它能掺入/脱出锂的活性物质,第一活性物质A和第二活性物质B质量混合比A/(A+B)为0.05-0.5之间,LixNbyOz具有稳定的锂掺入/脱出性能,循环性能好,其锂掺入/脱出电位在1.7V左右(对Li+/Li),充放电平台宽。本发明可以有效地延缓电池电压急剧下降速度,避免或减少电池过放或反极对电池和电池组的损害。抗过放电性能优良,适用于制作串联电池组的锂离子二次电池。

标签:
加工技术
广东 - 广州 来源:中冶有色网 2023-03-18
锂电池正极材料及其制备方法

本发明涉及一种用于锂电池的正极材料,其材料 用化学通式表示为LixM1-xFePO4,M选自Mg2+、Ca2+、Sr2+、Ti3+、Al3+、B3+、Si4+、Ge4+、P5+。该材料是用加入导电掺杂剂,采用金属氧化物、碳酸盐、硫化物、磷酸盐、氟化物与非饱和状态的锂铁磷酸盐晶体,升温到500~900℃反应10小时制得的。通过非化学计量的方法可以制备出高电导率的锂铁磷酸盐晶体,其材料用化学通式表示为LiFePO4-y。对于增压型置换离子制备锂电池的正极材料,其化学通式为LixM1-xFezM’1-zPO4,M’选自Ti3+、V3+、Co3+、Ni3+、Mn3+、Cr3+、Cu3+和Mo3+,通过固相反应制得掺镁锂铁锰磷酸盐LixMg1-xFezMn1-zPO4的固体粉末。对于纳米结构的正极材料,其化学通式为LixFePO4-y,通过真空溅射沉积制得,该材料电导率可达10-2S/cm,实际放电容量达到240mAh/g。该新型正极材料具有低价、高能和安全的特性,不仅适用于中小型聚合物、胶体和液体锂离子电池中,尤其适用于大功率动力电池。

标签:
加工技术
广东 - 广州 来源:中冶有色网 2023-03-18
水基正极浆料组合物、水基正极浆料及制备方法、正极片、锂离子电池和用电设备

本发明提供了一种水基正极浆料组合物、水基正极浆料及制备方法、正极片、锂离子电池和用电设备,涉及电池材料技术领域,所述水基正极浆料组合物包括按质量百分比计的正极活性物质95‑97%、导电剂1‑2%、粘合剂1‑3%和增稠剂0.1‑2%,其中,所述粘合剂为聚丙烯酸粘合剂,所述增稠剂包括羧甲基纤维素锂、聚丙烯酸锂或海藻酸锂中的至少一种,改善了现有水基正极浆料易分层,不稳定的技术问题,本发明提供的水基正极浆料组合物采用聚丙烯酸粘合剂并辅以特定锂盐作为增稠剂,显著提高了水基正极浆料的分散稳定性,使浆料分散更均一稳定,同时通过作为增稠剂的锂盐为锂离子电池补充活性锂,能够有效增加正极片中锂离子的含量。

标签:
加工技术
广东 - 广州 来源:中冶有色网 2023-03-18
上一页 155 156 157 158 159 ... 172 下一页
共172页    到第

中冶有色为您提供最新的广东广州有色金属加工技术理论与应用信息,涵盖发明专利、权利要求、说明书、技术领域、背景技术、实用新型内容及具体实施方式等有色技术内容。打造最具专业性的有色金属技术理论与应用平台!

全国热门有色金属设备推荐
展开更多 +
全国热门有色金属技术推荐
展开更多 +

 

江西省隆恩特环保设备有限公司
宣传

报名参会
更多+

报告下载

有色专家
更多+

北京科技大学
主任/教授
昆明理工大学
教授
紫金矿业信息化研发中心
副总经理
辽宁忠旺集团
教授级高工
长沙矿冶院检测技术有限责任公司
总经理
赤泥综合利用研究报告2025
推广

热门技术
更多+

推荐企业
更多+

福建省金龙稀土股份有限公司
宣传

发布

在线客服

公众号

电话

顶部
咨询电话:
010-88793500-807