青岛垚鑫智能科技有限公司
宣传

位置:中冶有色 >

有色技术频道 >

> 复合材料技术

分类:
全部
矿山技术
冶金技术
材料制备及加工技术
环境保护技术
分析检测技术
 
全部
功能材料技术
复合材料技术
新能源材料技术
合金材料技术
加工技术
地区:
全部
北京
天津
上海
重庆
河北
山西
辽宁
吉林
黑龙江
江苏
浙江
安徽
福建
江西
山东
河南
湖北
湖南
广东
海南
四川
贵州
云南
陕西
甘肃
青海
内蒙
广西
西藏
宁夏
新疆
其他
其他
展开
 
全部
济南
青岛
淄博
枣庄
东营
烟台
潍坊
济宁
泰安
威海
日照
滨州
德州
聊城
临沂
菏泽

山东青岛有色金属复合材料技术理论与应用

免费发布技术信息>>
环保的高硬度ABS合金材料

本发明公开了一种环保的高硬度ABS合金材料,包括下列重量份数的物质:ABS树脂30-50份,玻璃纤维10-15份,山梨醇类透明剂10-12份,蒽醌型分散染料12-15份,增韧剂1-9份,浓盐酸2-6份,PE酯15-19份,硼酸锌17-21份,乙酰丙酮盐11-21份,固体石酯14-19份,硬脂酸17-19份,硬脂酸盐14-19份,三甲硅基甲基膦酸二甲酯25-35份,氰尿酸三聚氰胺3-9份,三氧化钼2-5份,聚磷酸铵10-25份,蒙脱土10-25份。本发明采用在ABS中添加玻璃纤维的方法,以提高该复合材料的硬度,从而满足部分特殊材料产品队表面硬度的需求。

标签:
复合材料
山东 - 青岛 来源:中冶有色网 2023-03-18
极性改性聚乙烯及其制备方法

本发明公开了一种极性改性聚乙烯,其原料的重量份组成为:LLDPE线性低密度聚乙烯40~100份,马来酸酐接枝聚乙烯5~20份,经硅烷偶联剂处理的无机材料10~40份,增韧剂2~10份,1010抗氧剂0.5份。本发明采用了带有极性基团的马来酸酐接枝的聚乙烯,使制品具有一定的极性,改善制品的表面涂饰性,添加经硅烷偶联剂处理的无机材料,与LLDPE线性低密度聚乙烯充分相容,增加了制品的硬度,添加增韧剂,提高了制品的韧性和与金属的结合强度,制得了防腐性能优异,附着力强,使用工艺好的极性改性聚乙烯复合材料。

标签:
复合材料
山东 - 青岛 来源:中冶有色网 2023-03-18
高分散碳纳米管/炭黑复合碳材料及其制备方法

本发明涉及碳材料制备技术领域,公开了一种高分散碳纳米管/炭黑复合碳材料,将碳纳米管/炭黑分散液分散于纤维素气凝胶微孔中,通过高温碳化,得到高分散碳纳米管/炭黑复合碳材料。本发明得到的碳纳米管/炭黑复合材料团聚体间吸附力降低,粒子间间距增大,分散能力增强,同时经碳化后碳材料表面活性增强,提高了与橡胶的结合能力,应用于橡胶中可提高其补强、耐磨及导电性能等,使碳纳米管在橡胶中发挥巨大的应用潜力。

标签:
复合材料
山东 - 青岛 来源:中冶有色网 2023-03-18
抗菌、抗静电的封边条及其制备方法

本申请涉及复合材料领域,具体公开了一种抗菌、抗静电的封边条及其制备方法,所述封边条由包含以下重量份的原料制成:PVC树脂45‑55份、石粉20‑30份、润滑剂3‑8份、稳定剂5‑15份、染料1‑3份、增塑剂8‑12份、抗菌剂5‑10份、抗静电剂5‑10份;抗菌剂为包覆有壳聚糖季铵盐的纳米脂质体分散液;抗静电剂由介孔纳米二氧化硅包裹纳米银粉、十二烷基磺酸钠和云母粉制成;使封边条具有抗菌、抗静电的作用;其制备方法为:按照比例,称取原料,混合后进行造粒,然后挤出成型,印刷图案经干燥后,制得封边条成品;具有操作简单、易于生产的优点。

标签:
复合材料
山东 - 青岛 来源:中冶有色网 2023-03-18
WO<Sub>3</Sub>/Zn<Sub>2</Sub>GeO<Sub>4</Sub>非贵金属双金属氧化物光催化剂及其制备方法和应用

本发明涉及一种氧化钨/锗酸锌非贵金属双金属氧化物光催化剂的制备方法及其在光催化分解水析氢方面的应用。该催化剂首先通过水热法以氢氧化钠做溶剂合成金属锗基纳米棒光催化剂,再在水热条件下以盐酸水溶液做溶剂合成方块状氧化钨纳米材料,最后采用高温固相法将两种材料复合得到本发明所述锗酸锌/氧化物非贵金属双金属氧化物光催化剂。该方法制备的复合型纳米复合材料显著拓宽了光响应范围广,异质结的形成加快了电荷的传输,有效抑制光生电子和空穴的复合,用于光催化分解水析氢具有很好的催化活性。并且该制备方法操作简单,易于调控,成本低,绿色环保。

标签:
复合材料
山东 - 青岛 来源:中冶有色网 2023-03-18
耐电压高防腐复合橡胶密封圈及其制备方法

本发明提供了一种耐电压高防腐复合橡胶密封圈及其制备方法,属于复合材料技术领域。本发明提供的耐电压高防腐复合橡胶密封圈包括橡胶部分和骨架部分,所述骨架部分嵌入并粘合在橡胶部分内侧。本发明通过对橡胶部分的配方进行设计,可以提高密封圈的耐腐蚀性、耐水性和耐老化性;本发明在橡胶部分中嵌入骨架部分,可以提高密封圈的绝缘性能和机械强度,使得密封圈不易产生扭曲变形,能承受500V以上电压;本发明通过对骨架部分和橡胶部分进行粘结,可以使二者牢固结合,保证密封圈的机械强度。本发明提供的制备方法操作简单,易于实现工业化生产。

标签:
复合材料
山东 - 青岛 来源:中冶有色网 2023-03-18
碳纤维/聚乙烯亚胺/碳纳米管多尺度增强体的制备方法

一种碳纤维/聚乙烯亚胺/碳纳米管多尺度增强体的制备方法,它涉及一种碳纤维的改性方法。本发明的目的是要解决现有碳纳米管接枝到碳纤维表面的方法制备的碳纳米管接枝碳纤维中CFs与CNTs之间的物理吸附较弱和其与基体的界面结合粘性差的问题。方法:一、碳纤维的抽提;二、碳纤维的氧化;三、接枝聚乙烯亚胺;四、碳纳米管的羧基化;五、碳纤维接枝碳纳米管,得到碳纤维/聚乙烯亚胺/碳纳米管多尺度增强体。本发明制备的碳纤维/聚乙烯亚胺/碳纳米管多尺度增强体能够极大提高碳纤维/环氧树脂复合材料的界面性能和力学性能。本发明可获得一种碳纤维/聚乙烯亚胺/碳纳米管多尺度增强体。

标签:
复合材料
山东 - 青岛 来源:中冶有色网 2023-03-18
高性能SiC@NiCo<sub>2</sub>O<sub>4</sub>/Ni(OH)<sub>2</sub>复合超级电容器正极材料

本发明公开了一种高性能SiC@NiCo2O4/(NiOH)2复合超级电容器正极材料,属新能源存储领域。本发明采用电沉积法在SiC纳米线上制备了整齐排列的NiCo2O4/(NiOH)2混合纳米片阵列,并且NiCo2O4纳米片的尺寸较大,分散均匀,(NiOH)2纳米片的尺寸较小,垂直交叉生长在NiCo2O4纳米片表面,且片与片之间形成了充足的自由空隙;本发明制得的SiC@NiCo2O4(NiOH)2复合材料具有优异的电化学性能,其最大质量比电容值为2580F/g,并且经过3000圈循环后,其比电容仍能保持原比电容的91.5%,这为构筑新一代高性能超级电容器提供了优质的候选正极材料。

标签:
复合材料
山东 - 青岛 来源:中冶有色网 2023-03-18
氯醚乳液水性防腐涂料

本发明公开了一种氯醚乳液水性防腐涂料。由氯醚乳液、氨水、乳液稳定剂、增塑剂、防锈颜料、颜填料、催干剂、防闪锈剂、防霉剂、成膜助剂、助剂、去离子水、助溶剂组成,漆膜具有良好的防腐性、耐候性,可以用在钢铁、金属基材和各种复合材料表面,具有良好的防腐性能。本发明使用乳液稳定剂、氨水,改善了水性涂料中氯醚乳液的稳定性,使生产出的氯醚乳液直接应用于防腐涂料。减少了氯醚乳液的工序,简化了生产工艺,节省了能耗,满足环保需求。

标签:
复合材料
山东 - 青岛 来源:中冶有色网 2023-03-18
耐腐蚀性磁性塑胶
耐腐蚀性磁性塑胶 1036     
 0

本发明公开了一种耐腐蚀性磁性塑胶,其特征在于,包括下列重量份数的物质:尼龙6粉末25-30份,复合基质料9-16份,辅助剂2-7份,粘结剂3-7份,甲基丙烯酸甲酯1-4份,偶氮二甲酰胺2-6份,聚乙烯酯25-30份,双癸二酸酯14-20份,炭黑3-8份,过氧化二叔丁基2-5份,高密度聚乙烯HDPE1-6份。本发明的塑胶材料中钦铁硼磁粉分布均匀,在熔融挤出的过程中更容易分散,增加了复合材料的强度。

标签:
复合材料
山东 - 青岛 来源:中冶有色网 2023-03-18
防沉没保温救生装置
防沉没保温救生装置 1147     
 0

本发明涉及了一种防沉没保温救生装置,尤其是一种具有保温特性、能防止沉没、强度高、可透光的海上救生装置,它包括了舱体和浮漂装置,舱体采用两层以上的复合材料可具有保温特性,在舱体外围上设置了可以防止该救生装置沉没的浮漂装置,在舱底设置了其稳定作用的稳定翼,舱体上有观察窗、进出口及扶手,本技术方案可延长人员在救生装置中的生存时间,为争取救援创造了更多有利条件,对于航海安全及船舶、配件制造业具有十分重要意义。

标签:
复合材料
山东 - 青岛 来源:中冶有色网 2023-03-18
混合粘合剂及应用该粘合剂的橡胶组合物及其制备方法

本发明涉及复合材料领域,尤其提供了一种混合粘合剂及应用该混合粘合剂的橡胶组合物及其制备方法,该混合粘合剂主要由亚甲基给予体、亚甲基接受体和N,N’-间苯撑双马来酰亚胺三种组分组成,而应用该粘合剂的橡胶组合物主要由天然橡胶或聚异戊二烯或丁苯橡胶及丁二烯橡胶与该粘合剂等辅料混炼而成,与现有技术相比,本发明所制得的橡胶组合物与芳纶纤维具有很好的界面粘合力。

标签:
复合材料
山东 - 青岛 来源:中冶有色网 2023-03-18
复合托盘
复合托盘 1163     
 0

本实用新型公开了一种复合托盘,属于包装运输类,是在用无机高强胶凝复合材料制成的托盘面板的下面,固定有均匀分布的托盘支撑座。为了便于托盘载物多层放置,在支撑座的下面还可固定一托盘底板。为防止放在托盘面板上的物品滑脱,可在其板面上压有各种图案的凸凹防滑花纹。由于该托盘是用高强胶凝复合材料模铸制成,因此制作简单,能防水、火、虫,强度高,抗折弯能力强,可承托物品重量达两吨以上,可多次重复使用而不损坏,节约了木材,降低了成本。

标签:
复合材料
山东 - 青岛 来源:中冶有色网 2023-03-18
表面喷涂不锈钢、铜窨井盖

一种表面喷涂不锈钢、铜窨井盖。它是在铸铁或复合材料窨井盖的表面,采用热喷涂技术,喷涂一层不锈钢或铜金属材料。该涂层与井盖成为一体,表面经抛光后呈现不锈钢光泽或铜金属光泽。窨井盖喷涂后,变得美观,而且不会生锈,美化周边环境;提高了表面耐磨性能,增强了表面硬度,扩大了窨井盖基体为复合材料的使用寿命和使用范围。

标签:
复合材料
山东 - 青岛 来源:中冶有色网 2023-03-18
机械手
机械手 896     
 0

本实用新型提供一种机械手,包括:横梁、引拔梁、主臂和副臂,所述横梁平行于地面方向延伸;所述引拔梁装设于所述横梁,该引拔梁平行于地面方向、且垂直于所述横梁的延伸方向延伸;所述主臂和副臂装设于所述引拔梁,该主臂和副臂垂直于地面方向、且垂直于所述引拔梁的延伸方向延伸;所述机械手的引拔梁为单梁结构,所述引拔梁由碳纤维复合材料制成。本实用新型的机械手通过采用强度更高、重量更轻的碳纤维复合材料制成支撑机械臂的引拔梁及主副臂,能够使引拔梁由现有的双梁结构精简为单梁结构,使结构更加紧凑,并且在简化机械手结构、降低设备重量的同时,实现了更优的支撑强度。?

标签:
复合材料
山东 - 青岛 来源:中冶有色网 2023-03-18
挤出成型机用挤压螺杆

本实用新型是挤出成型机用挤压螺杆,所述的挤压螺杆位于挤出成型机的机筒中,其特征是:在所述的挤压螺杆的螺棱外表面上具有防漏流沟槽。所述的防漏流沟槽是阶梯式沟槽;每一级阶梯的前部表面是向前倾斜的。或所述的防漏流沟槽还可是多齿式沟槽;各防漏流齿的前部表面是向前倾斜的。本实用新型是能提高加工质量效率的、能保证产品尺寸稳定的木塑复合材料挤出成型机专用的挤压螺杆,适于挤出成型加工以高添加生物质塑化原料为基料的木塑复合材料,还适于挤出成型加工以PVC、PE、PP、ABS和PET等为基料的非塑化的生物质原料。

标签:
复合材料
山东 - 青岛 来源:中冶有色网 2023-03-18
除湿专用包装袋
除湿专用包装袋 799     
 0

除湿专用包装袋是有挂钩,密封夹、渗漏孔、上、下两袋体粘合而成,其中在上袋体中装有防潮剂,在上下袋体的连接处留有渗漏孔,上下袋体外延复合为密闭的一袋体。在上袋体上有一穿透面,该穿透面是最好选用纸基复合材料或纤维材料制成,其余面均为复合薄膜面。具有结构合理、加工简单,使用方便、渗透性好、无污染、环保、成本低、不渗漏、可任意悬挂或搁置等特点的除湿专用包装袋。尤其是采用了纸基复合材料,使潮气可迅速渗透,实现了除潮、防霉、除味的功效,并且体积小,密封好,美观大方。经医学研究和测试,完全符合人们生活要求和卫生指标,从根本上解决了人们的生活中除潮的难题,是理想的生活中防潮专用包装装置。

标签:
复合材料
山东 - 青岛 来源:中冶有色网 2023-03-18
集装箱用地板中梁及具有其的集装箱

本实用新型公开了一种集装箱用地板中梁及具有其的集装箱。集装箱包括底架,底架包括底横梁与至少两块地板;地板铺设于底横梁的顶面,至少两块地板沿底架的宽度方向依次设置,沿宽度方向,相邻的地板的相对的端部均具有缺口,以构成开口朝下的容纳槽;地板中梁构造为连续纤维增强热塑性复合材料件,地板中梁用于沿底架的长度方向设置,并搭接至底横梁,地板中梁用于设置于容纳槽内,以支撑沿宽度方向的相邻的地板。地板中梁支撑沿底架的宽度方向的相邻的地板,这样地板中梁可缓冲地板和底横梁之间的载荷,减小地板的磨损,地板中梁构造为连续纤维增强热塑性复合材料件,地板中梁的耐腐性强,可以增加地板中梁的使用寿命,进而提高地板的使用寿命。

标签:
复合材料
山东 - 青岛 来源:中冶有色网 2023-03-18
转向架的侧梁以及转向架

本实用新型公开一种转向架的侧梁以及转向架,侧梁包括箱型的主梁体,以及位于所述主梁体两端的端部梁体,所述端部梁体与所述主梁体一体或分体设置,所述端部梁体为板状结构,至少所述主梁体由纤维复合材料制成。本方案中,侧梁的主梁体作为主要结构承载件,设计为中部空心的箱型结构,且主梁体所处位置的空间相对较大,可以根据需求设计出箱型尺寸使得由纤维复合材料制成的主梁体具有足够的强度和刚度,而端部梁体则设置为板状结构,以适应构架在此位置的高度空间限制,同时板状结构使得端部梁体具有一定弹性,通过刚度设计,可与一系弹簧、一系垂向减振器一起作为一系悬挂,提供垂向刚度。

标签:
复合材料
山东 - 青岛 来源:中冶有色网 2023-03-18
组合式复合包装箱
组合式复合包装箱 1143     
 0

本实用新型涉及包装箱技术领域,具体涉及一种组合式复合包装箱,包括底板,所述底板的上端固定设置有复合材料组件,所述底板的上端设置有固定装置,所述底板的上端设置有防护装置,所述防护装置包括减震组件和防护组件,所述减震组件设置在底板的上方,本实用新型的有益效果是:通过减震弹簧为支撑板承载载重物提供一个减震缓冲的作用,可以起到很好的防护作用,有效保护载重物的安全,并且整个包装箱为组合式连接,方便进行拆卸,使用成本低廉,承载能力好,四周的防护板与复合材料可以起到很好的防护与假牙作用,增加了包装箱的减震、抗震、抗冲击能力及弹性形变能力的能力,经济实惠。

标签:
复合材料
山东 - 青岛 来源:中冶有色网 2023-03-18
阳台一体嵌入式太阳能热水器

本实用新型提供阳台一体嵌入式太阳能热水器,包括开放式水箱(1)、真空集热管(2)、真空集热管托架(3)、换热管盘(4)、智能热水器(5);所述的开放式水箱(1)由三层构成,内胆为新型复合材料,中间层为保温层,外层为具有骨架的铝塑板,开放式水箱(1)上设置有排气孔,自动补水孔,进水孔和出水孔,进水孔和建筑物内的自来水管相连,出水孔通过出水管与智能热水器(5)相连。本实用新型利用新型复合材料解决了传统材料制成的水箱不耐腐蚀,容易滴漏的问题,并设置一个智能热水器,弥补了开放式水箱冬季时热水的温度不够,用于加热换热管盘中流出的水。

标签:
复合材料
山东 - 青岛 来源:中冶有色网 2023-03-18
立式止回阀
立式止回阀 1098     
 0

一种立式止回阀涉及热工技术领域之阀门。阀体具有竖向阀腔,阀体顶部具有顶盖,顶盖内壁具有竖直向下开口的短管,阀腔内具有环台,具有竖向阀杆5的阀芯4座于阀腔环台3上,阀杆其上端插入短管导向腔内,阀芯、阀杆于阀腔内可上下移动,阀芯俯视呈齿轮状,阀杆表面具有多条竖向沟槽,阀体底部具有进汽口,阀体侧壁具有出汽口。阀芯、阀杆由高内磨性复合材料制成。该止回阀的优点在于,因阀芯、阀杆采用高耐磨复合材料制作,耐磨不易损,使用寿命长;立式设计可省略启闭回位弹簧等,构造简化;打开上盖,即可取出阀芯,维修方便。

标签:
复合材料
山东 - 青岛 来源:中冶有色网 2023-03-18
场发射电子源器件
场发射电子源器件 1171     
 0

一种场发射电子源器件,它有封入真空容器内的场发射电子源和阳极,场发射电子源包括基片上的阴极、栅极及其间层结构,其特征是引出栅极电极的厚金属膜与阴极之间为绝缘层,而与厚金属膜相连的、具有大量微孔的薄金属膜与阴极之间为复合体层。上述的间层结构指位于阴极与栅极之间的绝缘层、半导体层、复合体层。上述的薄金属膜指厚度在50纳米以内、具有大量微孔的金属膜。其制备方法是利用微电子工艺在硅、玻璃等基板上的阴极上制备有复合材料层薄膜,再在上述的复合材料薄膜表面上有薄金属膜栅极,将上述器件与阳极密封在真空容器内而成。本实用新型工艺简单,结构合理,具有驱动电压低、发射电流密度高、电子束发散小,发射率高等优点。

标签:
复合材料
山东 - 青岛 来源:中冶有色网 2023-03-18
重卡翼子板支架
重卡翼子板支架 1232     
 0

本实用新型涉及一种重卡翼子板支架,包括连接杆以及底座,所述底座设置于所述连接杆端部,所述底座上设置有固定孔,所述连接杆为金属材料制成,所述底座为热固性聚氨酯复合材料制成,所述连接杆贯穿所述底座并与所述底座间隙配合,所述连接杆的端部固定有限位板。实用新型的一个用途是,热固性聚氨酯复合材料的底座与车壳或翼子板连接,能够减少因磕碰造成的掉漆现象,从而提高抗腐蚀性能,且能够减小重量,加之与连接杆之间的间隙配合,能够起到一定的减震作用;而且金属材质的连接杆,加上限位板限定了与底座的连接位置,能够保证强度,适合在重卡等车辆上使用。

标签:
复合材料
山东 - 青岛 来源:中冶有色网 2023-03-18
工业水泵节能改造设备
工业水泵节能改造设备 1006     
 0

本实用新型公开了一种工业水泵节能改造设备,包括装置主体、液压组件、托板、伸缩座和出料管,液压组件装配于装置主体的上部,托板装配于装置主体操作面的上侧,伸缩座装配于装置主体的侧壁,且伸缩座通过导管与外部材料供应设备连通,出料管装配于伸缩座的前侧,且出料管与伸缩座相连通,液压组件和托板的端面均装配有废料收纳槽,使用外部设备对复合材料进行固化处理,最后通过启动外部供料设备,出料管挤出树脂复合材料,随后重复上述操作,同时在模具稳定的情况下对树脂进行固化处理;该设备能够提供良好的水泵壳及模具定位方案,同时在模具锁定的情况下进行材料固化处理,避免材料因流动性较大,容易出现涂布不均匀的问题。

标签:
复合材料
山东 - 青岛 来源:中冶有色网 2023-03-18
用于生产不锈钢产品的拉伸模具

本实用新型公开了一种用于生产不锈钢产品的拉伸模具,包括上模板和下模板,上模板上设置有上镶块,上镶块上形成有上型腔面,下模板上设置有下镶块,下镶块上形成有下型腔面,上型腔面与下型腔面配合形成拉伸模具的成型腔体,且上镶块和下镶块均为碳纤维复合材料制作而成的镶块结构。该拉伸模具,在实际应用过程中,无需额外覆膜即可使用,且使用过程中能够避免产品拉出划痕,消除了产品覆膜和撕膜造成的物料浪费和人工操作成本,有效地提升了不锈钢产品的整体生产效率;此外,由于拉伸模具的至镶块结构采用碳纤维复合材料来替代传统的昂贵稀缺的铜合金材料,从而大大降低了拉伸模具的成本。

标签:
复合材料
山东 - 青岛 来源:中冶有色网 2023-03-18
车辆前座椅固定横梁
车辆前座椅固定横梁 1202     
 0

本实用新型涉及一种车辆前座椅固定横梁,包括横梁主体,所述横梁主体包括两侧的支撑部以及中间的连接部,所述支撑部上开设有固定孔,所述横梁主体为热塑性复合材料制作而成,所述支撑部中均嵌合固定有加强板,所述加强板由金属材质制成,所述固定孔贯穿所述横梁主体以及所述加强板布置。实用新型的一个用途是,螺栓穿过固定孔时穿过金属材质的加强板,利用加强板的刚性提高锁紧后的稳定性,保证本装置即具备热塑性复合材料的易成型、重量轻的特点,又具备钣金结构连接强度高的优点。

标签:
复合材料
山东 - 青岛 来源:中冶有色网 2023-03-18
镭射防伪保润保湿复合型包装材料加工设备

本实用新型公开了一种镭射防伪保润保湿复合型包装材料加工设备,包括相互连接的加料区、加工区和出料区,所述加料区内均匀插设有原料,所述出料区内均匀设有复合材料,所述加料区内开设有与原料相互配合的清理槽,所述出料区内开设有与复合材料相互配合的定型槽,且清理槽、加工区和定型槽相互连通,所述清理槽内设有去屑装置,所述定型槽内设有冷却装置。本实用新型中在加工区的一侧设有加料区并在加料区内设有去屑装置,可以将待加工原料上的杂质去除干净,从而避免杂质混入原料内,极大的改善了镭射防伪保润保湿复合型包装材料的加工质量,设计合理。

标签:
复合材料
山东 - 青岛 来源:中冶有色网 2023-03-18
纯电动汽车副车架装置

本实用新型涉及纯电动汽车副车架装置,其包括上板、下表面与上板粘接的下板、设置在上板与下板之间的中空内腔。上板为长玻纤复合材料材料或玄武岩碳纤维材料模压成型;为长玻纤复合材料材料或玄武岩碳纤维材料模压成型。在上板的后端中部粘接有后悬置安装板,在上板的后端右部粘接有右安装座、右转向器安装加强板、以及右安装座加强板,在右安装座与右转向器安装加强板之间竖直设置有金属衬套,在右安装座与右安装座加强板之间竖直设置有金属衬套;右安装座、右转向器安装加强板、以及右安装座加强板在上板围成转向器的右安装腔体;本实用新型设计合理、结构紧凑且使用方便。

标签:
复合材料
山东 - 青岛 来源:中冶有色网 2023-03-18
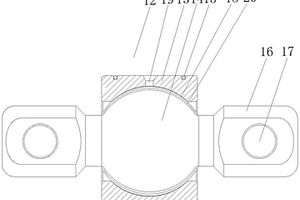
用于均衡梁上的关节轴承

本实用新型公开了一种用于均衡梁上的关节轴承,包括均衡梁总成、车桥和关节轴承,关节轴承安装在均衡梁总成的两端,关节轴承包括外圈、内圆球销和锁圈,外圈和内圆球销均为合金钢材质,内圆球销一体设置有球柄,球柄位于外圈的两侧,球柄上设置有螺栓连接孔,外圈的内壁设置有自润滑复合材料衬垫,自润滑复合材料衬垫与内圆球销的球面相互配合转动,球柄与车桥的连接处为加工平面,球柄和车桥的装配部位可安装垫片。该结构能够保证强度和韧性,承载能力大大提高,无需添加润滑剂,工作中减少关节轴承的磨损,使用过程免维护,降低维护成本,可以调整中后桥之间的轴距、平行度和位置度,避免螺栓松动或脱落,避免螺栓与连接支架间摩擦产生的噪音。

标签:
复合材料
山东 - 青岛 来源:中冶有色网 2023-03-18
上一页 11 12 13 14 15 ... 90 下一页
共90页    到第

中冶有色为您提供最新的山东青岛有色金属复合材料技术理论与应用信息,涵盖发明专利、权利要求、说明书、技术领域、背景技术、实用新型内容及具体实施方式等有色技术内容。打造最具专业性的有色金属技术理论与应用平台!

全国热门有色金属设备推荐
展开更多 +
全国热门有色金属技术推荐
展开更多 +

 

江西省隆恩特环保设备有限公司
宣传

报名参会
更多+

报告下载

有色专家
更多+

中冶沈勘秦皇岛工程技术有限公司
原矿山院院长/教授级高工
江西省科学院应用化学研究所
副主任/副研究员
北京科技大学
副院长/教授
长沙有色冶金设计研究院有限公司
正高级工程师/中国铝业首席工程师/全国有色金属行业设计大师/国家注册采矿工程师
郑州大学
副校长
赤泥综合利用研究报告2025
推广

热门技术
更多+

推荐企业
更多+

福建省金龙稀土股份有限公司
宣传

发布

在线客服

公众号

电话

顶部
咨询电话:
010-88793500-807