青岛垚鑫智能科技有限公司
宣传

位置:中冶有色 >

有色技术频道 >

> 复合材料技术

分类:
全部
矿山技术
冶金技术
材料制备及加工技术
环境保护技术
分析检测技术
 
全部
功能材料技术
复合材料技术
新能源材料技术
合金材料技术
加工技术
地区:
全部
北京
天津
上海
重庆
河北
山西
辽宁
吉林
黑龙江
江苏
浙江
安徽
福建
江西
山东
河南
湖北
湖南
广东
海南
四川
贵州
云南
陕西
甘肃
青海
内蒙
广西
西藏
宁夏
新疆
其他
其他
展开
 
全部
武汉
黄石
十堰
宜昌
襄阳
鄂州
荆门
孝感
荆州
黄冈
咸宁
随州
恩施土家族苗族自治州
仙桃
潜江
天门

湖北有色金属复合材料技术理论与应用

免费发布技术信息>>
CNT增强W-Cu热用复合材料的制备方法

本发明是一种CNT增强W-Cu热用复合材料的制备方法,具体是:采用包覆的方法制备Cu@CNT复合包覆粉末和Cu@W复合包覆粉末,然后将Cu@CNT复合包覆粉末和Cu@W复合包覆粉末按照体积百分比为Cu@CNT=0.1%-10.0%、Cu@W=90.0%-99.9%进行球磨混合均匀,将混合均匀粉末在100-500MPa下进行冷等静压获得坯体,最后将坯体放入真空热压炉中进行烧结,得到所述CNT增强W-Cu热用复合材料。本发明可以获得致密度高的CNT增强W-Cu复合材料,具有热导率高、W和Cu界面之间结合力强等优点。

标签:
复合材料
湖北 - 武汉 来源:中冶有色网 2023-03-18
W-Cu-SiC三元复合材料及其制备方法

本发明是一种新型的具有高致密结构的W-Cu-SiC三元热控复合材料及其制备方法,W-Cu-SiC三元复合材料是由W粉、SiC粉和Cu粉按比例混合后,经热压烧结而成。所述复合材料中含体积分数30~50vol%的Cu,50~70vol%的W与SiC,其中SiC的体积分数范围为20~80%,相对应W粉的体积分数范围为80~20%,在不同配比下W-Cu-SiC复合材料的致密度均高达98%以上,在40~300°C温度范围内,该复合材料的热膨胀系数均稳定在5.7×10-6—9.74×10-6/K。本发明是一种成型方便、成本低廉和高性能的新型的复合材料,在电子封装、半导体散热片等领域具有广泛的应用前景。

标签:
复合材料
湖北 - 武汉 来源:中冶有色网 2023-03-18
Ag/PMMA纳米复合材料的制备方法

本发明提供一种Ag/PMMA纳米复合材料的制备方法,具体是:以PMMA作为聚合物基体,PMMA是聚甲基丙烯酸甲酯的英文缩写,以硝酸银为Ag源,以PVP为分散剂,PVP是聚乙烯基吡咯烷酮的英文缩写,以DMF为反应溶剂和还原剂,DMF是N,N-二甲基甲酰胺的英文缩写,将它们加热反应后得到含有Ag纳米粒子的Ag/PMMA纳米溶胶;再将Ag/PMMA纳米溶胶采用溶剂沉淀法以除去还原剂DMF,最后经干燥后加热成型得到Ag/PMMA纳米复合材料。本发明的制备工艺简单,可以有效解决传统方法制备Ag/PMMA纳米复合材料时Ag纳米粒子的团聚现象,并实现Ag纳米粒子粒径、形貌的精确设计和调控。

标签:
复合材料
湖北 - 武汉 来源:中冶有色网 2023-03-18
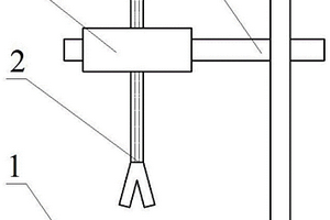
智能监测三维应力复合材料芯导线

本实用新型提供了一种智能监测三维应力复合材料芯导线,该导线由三根光纤光栅、复合材料芯、保护层和外层铝合金导体组成,三根光纤光栅等角度粘贴在复合材料芯侧壁上,外围再包裹一层保护层,铝合金导体铰合在复合材料芯周围,铝合金导体截面可以是梯形或圆形或其它形状;本实用新型中三根光纤等角度粘贴在复合材料芯侧壁,能够监测复合材料芯三维空间内任意角度的应力大小。只需在接口处添加相应的测量设备便能够实时监测芯线任意位置任意方向上应力的大小,一旦某一方向应力过大便发出报警信号。

标签:
复合材料
湖北 - 武汉 来源:中冶有色网 2023-03-18
聚四氟乙烯基复合材料及其制备方法与应用

本发明公开了一种聚四氟乙烯基复合材料,包括聚四氟乙烯以及分散于其中的Ag@TiO2,所述Ag@TiO2为TiO2包覆纳米银颗粒的核壳结构颗粒,其中,所述纳米银颗粒与所述TiO2的摩尔比为1 : 10~1 : 4,所述TiO2为金红石型,所述Ag@TiO2在所述复合材料中的体积分数为30%~70%,其粒径小于600nm。本发明还公开了该复合材料的制备方法与应用。本发明通过在聚四氟乙烯中填充Ag@TiO2,制备了一种具有较高的相对介电常数的复合材料,同时通过调节Ag@TiO2在材料中的比例,可以根据需求优化材料的介电性能,具有广泛的工程实用性。

标签:
复合材料
湖北 - 武汉 来源:中冶有色网 2023-03-18
辐射交联无卤阻燃ABS/PC复合材料及其制备方法

本发明涉及一种辐射交联无卤阻燃ABS/PC复合材料及其制备方法,该材料可采用电子加速器对ABS/PC复合材料进行交联改性,主要改善传统ABS/PC复合材料耐热性不足、流动性和刚性方面欠佳,不能用于汽车、耐热电子电器元件、大尺寸注塑件的缺点。该发明提供了一种辐射交联无卤阻燃ABS/PC复合材料,突破其耐热性界限,提高其耐热温度,同时改善了材料刚性,确保薄壁化后制件的支撑强度,满足市场的需求。产品主要原料为ABS树脂、聚碳酸酯、苯乙烯-马来酸酐共聚物、甲基丙烯酸甲酯-丁二烯-苯乙烯共聚物、三羟甲基丙烷三甲基丙烯酸酯、磷酸三苯酯、聚磷酸铵、硼酸锌、间苯二酚双(二苯基磷酸酯)、甲基乙烯基硅橡胶等原料。

标签:
复合材料
湖北 - 孝感 来源:中冶有色网 2023-03-18
复杂结构高韧性SiC基复合材料零件的快速制造方法

本发明属于SiC基复合材料领域,具体涉及一种复杂结构高韧性SiC基复合材料零件的快速制造方法。所述制造方法为:将N源和B源与碳纤维粉末混合后制备BN包覆碳纤维复合粉末;加入酚醛树脂制备酚醛树脂/BN-双包覆碳纤维复合粉末;利用SLS快速成形技术制备复杂结构零件坯件;对坯件内的酚醛树脂进行热解处理,得到Cf/C预制件;对预制件进行渗硅蒸气处理,得到Cf/SiC复合材料零件。本发明利用酚醛树脂/BN-双包覆碳纤维复合粉末解决了碳纤维在GSI过程中易受到高温气相硅损害的问题;利用SLS技术可成形高精度复杂结构坯件,结合GSI工艺完成致密化,缩短生产周期,快速制造出复杂结构高韧性SiC基复合材料零件。

标签:
复合材料
湖北 - 武汉 来源:中冶有色网 2023-03-18
压电陶瓷与聚乙烯醇缩醛复合材料

本发明涉及一种压电陶瓷与非极性聚合物复合材料。压电陶瓷与聚乙烯醇缩醛复合材料,其特征是:它包括压电陶瓷、聚乙烯醇缩醛,各成分所占体积比为:压电陶瓷50-90%,聚乙烯醇缩醛10-50%。所述的压电陶瓷和聚乙烯醇缩醛中外加导电粒子,导电粒子占压电陶瓷和聚乙烯醇缩醛体积的0.01-0.5%。本发明提供了一种压电陶瓷与聚乙烯醇缩醛复合材料;同时提供了一种压电性能高的压电陶瓷与聚乙烯醇缩醛复合材料。

标签:
复合材料
湖北 - 武汉 来源:中冶有色网 2023-03-18
用于连续纤维增强热塑性基体复合材料及制备方法

本发明公开了一种用于连续纤维强化热塑性树脂基体复合材料及其制备方法。该复合材料将连续纤维作为热塑性树脂基体材料的增强体,以及各种热塑性树脂作为基体材料制备连续纤维增强热塑性基体复合材料,其具体制备步骤为:对连续纤维采用适合的表面处理方式后浸渍热塑性树脂溶液,然后进入真空干燥部件,在热和真空压力的作用下完成树脂对纤维的完全浸润及溶剂的去除和回收,得到连续纤维增强热塑性树脂复合材料的预浸料,将预浸料层积后加温加压可制得连续纤维增强热可塑性树脂复合材料。该复合材料较之射出成型得到的复合材料能够最大限度发挥纤维性能,获得高性能的复合材料;并且由于使用的是热塑性树脂,有利于废弃复合材料的回收再利用。

标签:
复合材料
湖北 - 武汉 来源:中冶有色网 2023-03-18
高强轻质型水下航行器复合材料安装板

本发明公开了一种高强轻质型水下航行器复合材料安装板,包括预埋件和复合材料板,所述预埋件和复合材料板采用体整体一次成型方法制备而成;所述预埋件为六边形边框、矩形边框或减轻型矩形边框型嵌套螺纹件;所述复合材料板为层合板或夹芯板,所述复合材料板其中心开有减轻孔,所述复合材料板上开设有多个通孔,所述通孔用于通过不锈钢螺纹件和钛合金螺纹件实现与所述预埋件的配合连接。本发明的复合材料水下航行器安装板,样品阶段减轻了结构重量达17%;相比金属材质板上钻孔嵌套钢丝螺套,复合材料板螺纹件接口采用嵌套式结构,整体性好、工艺稳定、强度更高;复合材料板具有不导电、耐腐蚀等优点。

标签:
复合材料
湖北 - 武汉 来源:中冶有色网 2023-03-18
以复合材料及微载体为细胞培养支架的生物人工肝系统

本实用新型公开了一种以复合材料及微载体为细胞培养支架的生物人工肝系统,包括本体,所述本体上设有生物人工肝反应器及混合血浆池,所述生物人工肝反应器内填充有包含微载体的液体、还布置有圆柱形的复合材料卷,所述复合材料卷的两端为开口,复合材料卷中插设有多根中空纤维,所述复合材料卷与反应器外壳轴向相同布置且复合材料卷的外径和反应器外壳的内径相配合,所述复合材料卷为单层的复合材料螺旋盘卷得到,所述复合材料由一层无纺布及其上覆盖的细菌纤维素薄膜构成。本实用新型将螺旋形盘卷有中空纤维的复合材料卷置入生物人工肝反应器中,使得细胞附着在复合材料上,促进肝细胞的3-D培养,细胞形态更完整,培养效果更佳。

标签:
复合材料
湖北 - 武汉 来源:中冶有色网 2023-03-18
空心微珠增强环氧树脂复合材料及其制备方法

本发明是一种空心微珠增强环氧树脂复合材料 及其制备方法。按重量份数计,该复合材料的组分包括:环氧 树脂100份、固化剂8~100份、稀释剂10~35份、偶联剂6~ 13份和增强材料60~130份,增强材料是空心微珠。该复合材 料的制备步骤包括对空心微珠的筛选及预处理、复合材料的预 凝胶和复合材料的微波后固化。本发明复合材料制品质地均 匀,性能优异,具有强度高(14MPa~74MPa)、密度低 (0.45g/cm3~ 0.78g/cm3)和吸水率低的优点,可 广泛地应用于机械、轻工、航空航天、船舶、建筑等领域。本 发明复合材料的制备工艺简单,容易操作,可使用隧道式微波 设备连续化生产,从而利于工业化生产。

标签:
复合材料
湖北 - 武汉 来源:中冶有色网 2023-03-18
金纳米颗粒-金纳米团簇复合材料及其制备方法和应用

本发明公开一种金纳米颗粒‑金纳米团簇复合材料及其制备方法和应用,属于纳米材料技术领域。该复合材料由以下步骤制得:S1、将HAuCl4水溶液与半乳糖氧化酶(GO)溶液混合得到混合液;S2、调节所述混合液的pH值至11.0‑12.0;S3、将调节pH后的所述混合液在35‑40℃下进行反应得到所述金纳米颗粒‑金纳米团簇复合材料。本发明还包括该金纳米颗粒‑金纳米团簇复合材料在检测Ag+中的应用。该复合材料可直接实现对低浓度Ag+的检测。

标签:
复合材料
湖北 - 武汉 来源:中冶有色网 2023-03-18
基于测地线距离的带孔复合材料结构设计优化方法

本发明属于复合材料结构设计优化领域,并具体公开了一种基于测地线距离的带孔复合材料结构设计优化方法,包括如下步骤:在带孔复合材料结构的实体区域内均匀定义离散设计点,设定各设计点处纤维角度的初始值;对结构进行网格划分,确定各单元中心点的坐标;计算各设计点到各单元中心点的测地线距离,基于测地线距离求得各单元中心点处的纤维角度;建立刚度矩阵,并计算得到整体位移向量;根据整体位移向量得到敏度,然后更新纤维角度θi直至满足优化终止条件。本发明通过计算单元中心点到设计点之间的测地线距离,并基于测地线距离得到带孔复合材料结构的连续变角度纤维布局,改善了带孔复合材料结构的连续变角度纤维布局,提升了结构性能。

标签:
复合材料
湖北 - 武汉 来源:中冶有色网 2023-03-18
壳聚糖/累托石纳米复合材料及其制备方法

本发明公开了一种用作抗菌剂的壳聚糖/累托石纳米复合材料及其制备方法。壳聚糖/累托石纳米复合材料基本组成为壳聚糖和累托石,由壳聚糖插层进入粘土层间而生成。其制备方法是首先使天然累托石与改性剂进行阳离子交换得到有机累托石,然后在搅拌条件下将壳聚糖溶液分两次滴加到有机累托石悬浮液中,用NaOH溶液沉淀反应物,蒸馏水洗至溶液成中性,干燥,即得壳聚糖/累托石纳米复合材料。这种纳米复合材料结合了粘土片层对细菌的吸附固定作用和壳聚糖的抑菌杀菌作用,其抗菌性能与纯壳聚糖相比有大幅度的提高,同时,由于高耐热性的粘土在壳聚糖基体中均匀的分散,壳聚糖/累托石纳米复合材料的耐热性能也比壳聚糖好。

标签:
复合材料
湖北 - 武汉 来源:中冶有色网 2023-03-18
聚酰亚胺/改性天然黑色素纳米复合材料及其制备方法

本发明提供了一种聚酰亚胺/改性天然黑色素纳米复合材料,所述纳米复合材料中的聚酰亚胺与天然黑色素通过化学键连接,所述天然黑色素表面接枝硅烷偶联剂。进一步的,本发明提供了上述纳米复合材料的制备方法,先用硅烷偶联剂(APTES)对天然黑色素进行表面改性,然后不同比例的改性天然黑色素与聚酰亚胺复合形成纳米复合材料。本发明提供的聚酰亚胺/改性天然黑色素纳米复合材料中的基体在光催化过程中不降解,耐强紫外线的照射,机械性能及耐热性能突出,寿命更长。

标签:
复合材料
湖北 - 武汉 来源:中冶有色网 2023-03-18
连续纤维增强复合材料及零件的选区熔化成形方法及设备

本发明提供一种基于高能束选区熔化成形技术的连续纤维增强复合材料及零件的制备方法,涉及复合材料及增材制造技术领域。采用基于粉末床的高能束选区熔化成形技术,将连续纤维和基体粉末分层布置,连续纤维的熔点高于基体粉末熔点,设定合适的高能束加工参数,保证高能束能够熔化基体粉末但不熔化连续纤维。高能束根据规划路径逐层选区熔化基体粉末,实现基体和连续纤维的紧密结合,最终实现连续纤维增强复合材料及零件的高度自动化、柔性化和精细化制备。制备过程在真空或惰性气体保护环境中进行,能够有效防止制备过程中复合材料的氧化。该方法适用材料范围广、制备方法自由度高,能够大幅缩减复合材料及零件的制备周期和成本。

标签:
复合材料
湖北 - 武汉 来源:中冶有色网 2023-03-18
铸造减摩耐磨高铝锌基复合材料及其制备方法

本发明涉及一种铸造减摩耐磨高铝锌基复合材料及其制备方法。其技术方案是:所述复合材料以锌和铝为基,以铜和镁为主要合金元素,加入锶、钛、硼和稀土镧等微量合金元素、以及微米碳化硅和微米石墨非金属陶瓷增强体颗粒,熔炼,得基体熔液;对基体熔液采用喷粉、搅拌和超声波联合处理的深加工工艺,使具有耐磨性能的碳化硅颗粒和减摩性能的石墨颗粒能很好的浸入基体熔液中,在复合材料中能均匀的分散和分布,得到晶粒细小的铸造减摩耐磨高铝锌基复合材料。本发明具有工艺简单和制备成本低的特点,所制制品增强体颗粒分布均匀,复合材料的塑性、韧性和耐磨性能优良,质量稳定。

标签:
复合材料
湖北 - 武汉 来源:中冶有色网 2023-03-18
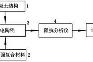
纤维增强复合材料加固混凝土结构的结合面松动监测系统

本发明公开了一种纤维增强复合材料加固混凝土结构的结合面松动监测系统,涉及混凝土结构监测领域。本系统包括被测对象混凝土结构(1)和纤维增强复合材料(2);设置有压电陶瓷(3)、阻抗分析仪(4)和计算机(5);在混凝土结构(1)和纤维增强复合材料(2)的结合面设置有压电陶瓷(3);压电陶瓷(3)、阻抗分析仪(4)和计算机(5)依次连接。本发明可以实现纤维增强复合材料与混凝土结构结合松动状态的长期在线实时监测;监测系统布设方便灵活快捷,压电陶瓷尺寸较小,不会影响和改变原有纤维增强复合材料和混凝土结构之间的粘结特性;监测方法操作简单易行,甚至在仅布置单一压电陶瓷的情况下,仍然可以实现被测结构的健康诊断。

标签:
复合材料
湖北 - 武汉 来源:中冶有色网 2023-03-18
带金属法兰的复合材料结构件及其制备方法

本发明公开了一种带金属法兰的复合材料结构件,由两端金属法兰、复合材料体和O型密封圈组成,所述的复合材料体选用与密封液体及使用温度相匹配的材料,所述两端金属法兰与复合材料体的至少一个接触面上依次设置有锥面、多个固定凹槽和一个密封凹槽,所述的O型密封圈预埋在所述的密封凹槽中,其中金属法兰为圆环形金属法兰或端板形金属法兰;还公开了带金属法兰的复合材料结构件的制备方法;本发明适于高比强度高比刚度的结构件,特别适于作高密封性能、高承载能力等要求的结构连接件,既保证密封效果又提高承载能力,进而来满足结构件高比强度高比刚度的要求。

标签:
复合材料
湖北 - 武汉 来源:中冶有色网 2023-03-18
高韧性低碳型抗爆水泥基复合材料及其制备方法

本发明属于混凝土材料技术领域,具体公开了一种高韧性低碳型抗爆水泥基复合材料及其制备方法。本发明由以下原料先混合制成浆体:胶凝材料、钢纤维、引气型减水剂和水,待浆体预水化1天后,采用早期碳化养护,得到所述高韧性低碳型抗爆水泥基复合材料;所述胶凝材料由普通硅酸盐水泥、硅粉和粉煤灰微珠组成;按重量份计,钢纤维占胶凝材料重量的7.5%‑8.5%,引气型减水剂占胶凝材料重量的1.5%‑2%;体系中水胶比为0.18‑0.20。本发明中通过引入粉煤灰微珠和硅粉两种矿物掺合料,提升了水泥基复合材料力学性能;采用早期碳化养护方式制备出高韧性水泥基复合材料,不仅有效增加了CO2封存量,而且显著提升了水泥基复合材料抗爆性能。

标签:
复合材料
湖北 - 武汉 来源:中冶有色网 2023-03-18
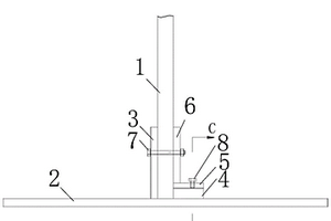
复合材料力学性能测试装置及方法

本发明公开了一种复合材料力学性能测试装置及方法,属于材料的力学性能测试技术领域,包括:脉冲电源、电磁力加载线圈、驱动机构和支撑机构;电磁力加载线圈套设于支撑机构的外侧,驱动机构设置于电磁力加载线圈的外侧,且贴合于待测复合材料的表面;脉冲电源用于将脉冲电流输送至电磁力加载线圈;电磁力加载线圈用于接收脉冲电流后产生脉冲磁场;驱动机构用于在脉冲磁场下产生感应涡流从而产生径向的电磁力和/或轴向的电磁力,并将电磁力施加于待测复合材料上以使待测复合材料向外膨胀和/或轴向压缩发生破坏,以测得待测复合材料的结构强度。本发明能够实现对缠绕结构的复合材料的多轴力加载测试,可以快速有效地评估其力学加固性能。

标签:
复合材料
湖北 - 武汉 来源:中冶有色网 2023-03-18
超疏水还原氧化石墨烯/海绵复合材料及其制备方法

本发明公开了一种超疏水还原氧化石墨烯/海绵复合材料及其制备方法,采用微波?超声波法,以乙二胺为还原剂,将氧化石墨烯还原成还原氧化石墨烯,并在空穴等声波作用下将还原氧化石墨烯分散并附着到商品海绵上,从而得到超疏水性的还原氧化石墨烯/海绵复合材料。本发明方法操作简单,成本低廉,反应耗时短,效率高,能耗低,有利于工业大规模生产。采用本方法制备的还原氧化石墨烯/海绵复合材料具有优异的疏水性能和吸油性能、吸附量大、稳定性好,可作为选择性吸附剂用于含油废水的处理。

标签:
复合材料
湖北 - 武汉 来源:中冶有色网 2023-03-18
耐高温抗冲击复合材料壳体及其成型方法

本发明公开一种耐高温抗冲击复合材料壳体及其成型方法,包括内胆体、隔热层、复合材料层和防护环;内胆体为不锈钢薄壁筒,内胆体的外圆周依次为隔热层和复合材料层;复合材料层包括缠绕在隔热层外圆周的斜纹纤维布以及缠绕在所述斜纹纤维布外圆周的芳纶纤维布;在所述复合材料层的外圆周沿轴向均匀分布有两个以上防护环。该壳体成型时采用物理和化学相结合的方法,将多种具备不同性能或功能的材料制成一种新的多相固体材料,使其能在250℃高温条件下可靠地工作而不发生明显变形。通过恰当的结构设计,采用硬、软不同的材料组合成复合材料,既提高了构件的整体强度和刚度,又具备一定的抗冲击能力。

标签:
复合材料
湖北 - 宜昌 来源:中冶有色网 2023-03-18
低温快速制备导电陶瓷复合材料的方法

本发明涉及一种制备导电陶瓷复合材料的方法。 一种低温快速制备导电陶瓷复合材料的方法,其特征在于:将 TiB2粉末与BN粉末按照重量百 分比40-58∶42-60进行充分混合,喷雾干燥后,置于大电 流高压快速烧结炉中,加热速率150-180℃/分钟,烧结时间 10-30分钟,烧结温度:1600℃-1700℃,烧结压力:40- 60MPa,随炉冷却后,可获得密度大于95%的 TiB2-BN导电陶瓷复合材料。 本发明具有明显的节能效果和生产效率高的特点。

标签:
复合材料
湖北 - 武汉 来源:中冶有色网 2023-03-18
压电陶瓷/聚合物复合材料的新制备方法

一种压电陶瓷/聚合物复合材料的新制备方法,以解决压电陶瓷/聚合物复合材料界面结合差的问题。该方法首先在聚合物溶液中加入醋酸盐搅拌混合,混合均匀后升温至60℃~120℃加入乙酰丙酮或冰醋酸,搅拌均匀后滴加一定量的钛酸酯,反应得到含有聚合物的纳米陶瓷溶胶。然后直接于120℃~170℃下蒸馏或倒入不溶于所用聚合物的溶剂中进行沉降,完全干燥后将混合物研成细粉即得压电陶瓷/聚合物原位复合母粒。再将该母粒与普通压电陶瓷粉加入混合设备混合均匀,按照聚合物成型的方法压制成型,制得压电陶瓷/聚合物复合材料。

标签:
复合材料
湖北 - 武汉 来源:中冶有色网 2023-03-18
复合材料板与钢质结构的机械连接结构及连接方法

本发明提供一种复合材料板与钢质结构的机械连接结构,包括固定夹持板、活动式夹持板、滑轨、滑块、连接螺栓和紧固螺栓;固定夹持板垂直固定连接在钢质结构上;复合材料板夹在固定夹持板和活动式夹持板之间,且复合材料板的底部与钢质结构接触,固定夹持板、复合材料板与活动式夹持板通过所述的连接螺栓连接;活动式夹持板的底部与滑块固定连接,滑块与滑轨单向滑动连接,滑轨固定连接在钢质结构上;滑块与滑轨之间通过所述的紧固螺栓固定。本发明通过设计固定夹持板和活动式夹持板,将复合材料板夹在两块夹持板之间,运用螺栓的预紧力提供压力,使复合材料板与钢质结构之间产生摩擦力,来抵抗复合材料板与钢质结构之间的相互作用力。

标签:
复合材料
湖北 - 武汉 来源:中冶有色网 2023-03-18
保证制造质量的变刚度复合材料结构优化设计方法

本发明属于复合材料结构优化设计方法领域,并具体公开了一种保证制造质量的变刚度复合材料结构优化设计方法,包括以下步骤:在复合材料结构的设计域内定义一系列离散设计点,并设定各设计点处纤维角度θi的初始值;将复合材料结构的设计域划分为多个正方形单元,计算各单元中心点处的纤维角度;建立单元刚度矩阵并计算得到整体位移向量和单元位移向量;计算c、ge利用c、ge及θi上下界更新纤维角度;重复上述步骤直至满足优化终止条件。采用本发明优化设计得到的变刚度复合材料结构在制造工程中,纤维带之间不会产生重叠或空隙,保证了结构的制造质量,避免了制造缺陷对结构性能的危害。

标签:
复合材料
湖北 - 武汉 来源:中冶有色网 2023-03-18
改性生物质纤维增强聚乳酸复合材料及其制备方法

本发明提供了一种改性生物质纤维增强聚乳酸复合材料,它是用乳酸通过酯化反应对生物质纤维进行接枝改性,得到改性生物质纤维,再以改性生物质纤维和聚乳酸为原料,经密炼制成改性生物质纤维和聚乳酸的均质混合物,再将所得的改性生物质纤维与聚乳酸的均质混合物在热压机中热压成型后经冷却固化得到的复合材料。本发明制备方法操作简单,生产效率高,制备的复合材料其组分之间界面结合良好,与聚乳酸相比,本发明的复合材料在力学性能与热学性能上均有较大提高,且大大降低了材料的成本。本发明复合材料同时保持了聚乳酸良好的生物降解性与生物相容性,可用于制备新型环保的工程塑料与骨折内固定等组织工程材料。

标签:
复合材料
湖北 - 武汉 来源:中冶有色网 2023-03-18
无机复合材料压力管及成型工艺

无机复合材料压力管及成型工艺,先采用耐磨蚀聚酯树脂和玻璃纤维的复合材料或用PVC管形成内衬防腐耐磨层。再缠绕高性能无机复合材料,并经固化、脱模、固化形成中间受力结构层。无机复合材料是将玻璃纤维在由氧化镁、氯化镁溶液等配制的胶液中浸胶后获得的。最后涂覆聚酯树酯,玻璃纤维的复合材料,形成外保护层。本压力管比重1.8—2.0。运输安装方便,耐腐蚀性,耐火性好,刚度大、变形小,可承受10kg内的大气压。

标签:
复合材料
湖北 - 武汉 来源:中冶有色网 2023-03-18
上一页 126 127 128 129 130 ... 136 下一页
共136页    到第

中冶有色为您提供最新的湖北有色金属复合材料技术理论与应用信息,涵盖发明专利、权利要求、说明书、技术领域、背景技术、实用新型内容及具体实施方式等有色技术内容。打造最具专业性的有色金属技术理论与应用平台!

全国热门有色金属设备推荐
展开更多 +
全国热门有色金属技术推荐
展开更多 +

 

江西省隆恩特环保设备有限公司
宣传

报名参会
更多+

报告下载

有色专家
更多+

昆明理工大学
教授
广西大学
处长/教授
武汉理工大学
外籍院士/教授
江西理工大学
副校长/教授
中国矿业大学(北京)
院长/教授
赤泥综合利用研究报告2025
推广

热门技术
更多+

推荐企业
更多+

福建省金龙稀土股份有限公司
宣传

发布

在线客服

公众号

电话

顶部
咨询电话:
010-88793500-807