青岛垚鑫智能科技有限公司
宣传

位置:中冶有色 >

有色技术频道 >

> 加工技术

分类:
全部
矿山技术
冶金技术
材料制备及加工技术
环境保护技术
分析检测技术
 
全部
功能材料技术
复合材料技术
新能源材料技术
合金材料技术
加工技术
地区:
全部
北京
天津
上海
重庆
河北
山西
辽宁
吉林
黑龙江
江苏
浙江
安徽
福建
江西
山东
河南
湖北
湖南
广东
海南
四川
贵州
云南
陕西
甘肃
青海
内蒙
广西
西藏
宁夏
新疆
其他
其他
展开
 
全部
成都
自贡
攀枝花
泸州
德阳
绵阳
广元
遂宁
内江
乐山
南充
眉山
宜宾
广安
达州
雅安
巴中
资阳
阿坝藏族羌族自治州
甘孜藏族自治州
凉山彝族自治州

四川成都有色金属加工技术理论与应用

免费发布技术信息>>
硫酸法锂盐生产新工艺

本发明涉及一种硫酸法锂盐生产新工艺,包括:取锂辉石精矿,先焙烧,再冷却,得锂辉石焙砂;对锂辉石焙砂进行磨矿,得锂辉石矿粉;向锂辉石矿粉中加入硫酸,焙烧,得酸熟料;向酸熟料中加入碳酸钙,得混合物,向混合物中加水,当混合物的pH值在5.5?6.0时,过滤,得固含量10%以上的硫酸锂浸出液;将硫酸锂浸出液经微滤膜过滤,去除固体杂质,滤液经软化处理,得Li+含量为20?25g/L的软化后滤液,软化后滤液经浓缩得Li+含量为40?50g/L的浓缩液,收集浓缩下来的废水,回收利用;向浓缩液中加入纯碱饱和溶液,使碳酸锂沉淀,过滤分离碳酸锂沉淀,用热水洗涤,干燥,得碳酸锂成品。

标签:
加工技术
四川 - 成都 来源:中冶有色网 2023-03-18
含γ-硫代丁内酯的高镍三元锂电池电解液

本发明属于三元电池电解液制备的技术领域,具体涉及一种含γ‑硫代丁内酯的高镍三元锂电池电解液。本发明一种含γ‑硫代丁内酯的高镍三元锂电池电解液,包括非水溶剂、锂盐、添加剂为γ‑硫代丁内酯、过氧化二苯甲酰以及肉豆蔻酸异丙酯的混合物;γ‑硫代丁内酯添加到电解液中,使得锂盐的溶解度增大,改善电解液中锂离子传输特性;成膜添加剂过氧化二苯甲酰作为电解液和负极的表面活性剂,负极和电解液之间的电阻被降低从而抑制了电解液在负极表面上的分解;浸润添加剂肉豆蔻酸异丙酯可提高电解液对负极的浸润能力,从而提高电池的整体性能。成膜添加剂和浸润添加剂复合作用形成易传锂、高稳定的SEI膜,从而提高了锂电池的锂离子传输性能。

标签:
加工技术
四川 - 成都 来源:中冶有色网 2023-03-18
核壳结构的锂电池三元正极材料及制备方法

本发明涉及锂电池材料领域,公开了一种核壳结构的锂电池三元正极材料及制备方法。包括如下制备过程:(1)将三元正极材料前驱体30~35份、有机溶剂40~50份,研磨至纳米级别,然后与微孔空心球状富锂化合物20~25份复合,使三元正极材料前驱体充分进入微孔空心球状富锂化合物的空心,加热预烧制得核壳结构的粉体材料;(2)将粉体材料浸入锂盐溶液中,在70~90℃下快速搅拌2~2.5h;(3)进行过滤、烘干,然后在300~350℃下固相烧结3~5h,即得核壳结构的锂电池三元正极材料。本发明复合三元正极材料的容量高,有效解决了传统富锂基三元材料首次脱锂引起的容量衰减剧烈的问题,首次放电衰减小,三元正极材料的稳定性好,应用前景好。

标签:
加工技术
四川 - 成都 来源:中冶有色网 2023-03-18
制备碳包覆钛酸锂的方法

本发明公开了一种制备碳包覆钛酸锂的方法,本发明提供了一种制备锂电池用碳包覆钛酸锂负极材料的方法。本方法首先制备钛酸锂前驱体,再通过乳液聚合在前驱体表面包覆聚合物,最后烧结得到碳包覆钛酸锂材料。本发明通过乳液聚合得到聚合物碳源,碳源包覆在钛酸锂表面均匀致密,包覆效果优于一般机械混合方法。乳液聚合过程在包覆聚合物的同时防止钛酸锂晶体的团聚,得到的产品颗粒小,尺寸均匀。本发明采制备的碳包覆钛酸锂在高倍率充放电时具有良好的循环性能。

标签:
加工技术
四川 - 成都 来源:中冶有色网 2023-03-18
嵌锂MOF/石墨烯复合修饰的功能隔膜及制备方法

本发明提供的一种嵌锂MOF/石墨烯复合修饰的功能隔膜及制备方法,属于锂硫电池隔膜领域,包括依次设置的隔膜、由嵌锂MOF组成的致密修饰层和石墨烯导电修饰层;嵌锂MOF为锂离子嵌入MOF内部的颗粒,通过将MOF与LiTFSI在无水乙醇中搅拌12h,经离心清洗、烘干后得到;嵌锂MOF与PVDF分散至溶剂中,抽滤至隔膜上得到致密修饰层。高比表面积的MOF可有效吸附LiPSs,致密的MOF修饰层也进一步抑制穿梭效应,提高电池的容量和循环稳定性;利用MOF内部微孔,通过嵌锂处理构建锂离子传输通道,显著提高致密修饰层的锂离子通过性,提升电池的倍率性能;高导电性的石墨烯导电修饰层可提高LiPSs利用率。

标签:
加工技术
四川 - 成都 来源:中冶有色网 2023-03-18
耐高电压型低温锂离子电解液

一种耐高电压型低温锂离子电解液,属于电化学储能技术领域。所述锂离子电解液包括主溶剂、稀释剂、成膜添加剂和锂盐,其中,主溶剂占电解液总质量的20~40%,稀释剂占电解液总质量的40~65%,成膜添加剂占电解液总质量的5~15%,锂盐占电解液总质量的8~15%。本发明锂离子电解液,主溶剂和稀释剂对锂离子溶剂化结构的作用,让锂离子具有小的去溶剂化能,应用于锂离子电池中,可以使锂离子电池表现出优异的低温放电性能和低温循环性能。

标签:
加工技术
四川 - 成都 来源:中冶有色网 2023-03-18
表面改性的金属锂负极材料及其制备方法

本发明公开了一种表面改性的金属锂负极材料,其制备方法包括以下步骤:(1)将碘酸类物质溶于无水的惰性有机溶剂中,使碘酸类物质的质量浓度为0.1%‑0.4%;(2)将金属锂置于无水无氧充满氩气的手套箱中,然后对金属锂表面进行抛光,直至其表面露出金属光泽;(3)将抛光后的金属锂在步骤(1)所得溶液中浸泡5‑60min。该方法制备的金属锂负极材料可改变金属锂表面的状态,在锂电池中能够有效提高电池的库伦效率和放电容量,从而降低锂二次电池的极化,延长锂二次电池的寿命。

标签:
加工技术
四川 - 成都 来源:中冶有色网 2023-03-18
连续沉淀电池级碳酸锂的装置

本实用新型提供了一种连续沉淀电池级碳酸锂的装置,包括沉锂釜和陈化釜;进液管路,与所述沉锂釜连通,以输送富锂溶液和碳酸钠溶液;溢流管路,连通所述沉锂釜和所述陈化釜;料浆流出管路,设置于所述沉锂釜和所述陈化釜底部,以流出碳酸锂料浆;清液流回管路,一端连接所述陈化釜,另一端连接至进液管路;或一端连接所述料浆流出管路,另一端连接至进液管路。采用反应完成的母液清液来进行富锂溶液的稀释,通过自动控制调整稀释比例,取代了传统采用水稀释溶液带来的回收锂低的问题;降低反应过饱和,生成的碳酸锂颗粒大而均匀、粒度可控,杂质夹带少,易洗涤烘干,产品质量达到电池级碳酸锂水平。

标签:
加工技术
四川 - 成都 来源:中冶有色网 2023-03-18
多功能锂电池充放电管理系统

本实用新型公开了一种多功能锂电池充放电管理系统,包括充电模块、检测模块、控制模块、网络传输模块,充电模块后接检测模块,对充放电锂电池的电流值和电压值进行检测,检测模块后接控制模块,控制模块将数据处理,然后传送给网络传输模块,通过网络把锂电池的状态传输给用户,所述检测模块包括MOS开关管,电流检测电路和电压检测电路。本实用新型提供的锂电池充放电管理系统,根据放电数据实现锂电池健康状况的判定,减少因电池问题引起的电路故障;还通过网络实时监控放电过程;电池膨胀装置提醒用户更换膨胀变形的电池,以免发生安全事故。

标签:
加工技术
四川 - 成都 来源:中冶有色网 2023-03-18
锂电池稳定供电的微型泵

本实用新型公开了一种锂电池稳定供电的微型泵,主要解决现有技术中存在的现有锂电池微型泵供电电压不匹配问题、锂电池放电压降特性导致的泵流量变化、锂电池过放电保护的问题。该一种锂电池稳定供电的微型泵包括泵头和驱动其的电机;可充电的锂电池;锂电池直流供电端与电机的电源端连接;锂电池和电机之间连接有升压稳压电路;升压稳压电路和锂电池的连接点连接有电压采样电路;电压采样电路的输出端连接有微控制器;微控制器的控制端与电机的信号输入端连接。通过上述方案,本实用新型达到了提供匹配电压,能控制泵流的稳定及保护锂电池的目的,具有很高的实用价值和推广价值。

标签:
加工技术
四川 - 成都 来源:中冶有色网 2023-03-18
适合聚变装置的活塞式锂弹丸成型器

本申请属于聚变技术领域,具体涉及一种适合聚变装置的活塞式锂弹丸成型器,包括:锂挤压器、电缸和气动切割发射器;所述锂挤压器设置有进料口,所述锂挤压器一端与所述电缸连接,另一端与所述气动切割发射器连接,用于在所述电缸的作用下,将从所述进料口填入的锂原料挤压成预设尺寸的锂丝从另一端输出;所述气动切割发射器,用于将所述锂丝切割成锂弹丸并以一定速度注入到等离子体中实现等离子体在线原位器壁处理。成型器整体结构简单,能连续制造毫米量级的锂丝并能按照要求连续注入不同尺寸的毫米量级锂弹丸到放电等离子体中,从而实现等离子体在线原位器壁处理。

标签:
加工技术
四川 - 成都 来源:中冶有色网 2023-03-18
氢氧化锂的净化分离及膜浓缩的方法和系统

本发明属于硫酸锂生产氢氧化锂技术领域,具体涉及一种氢氧化锂的净化分离及膜浓缩的方法和系统。方法包括以下步骤:1)将硫酸钠与氢氧化锂的混合溶液通过纳滤器进行硫酸钠的净化分离,得到氢氧化锂溶液;2)将得到的氢氧化锂溶液进行膜法浓缩,得到氢氧化锂浓溶液。系统包括依次串联的反应釜、纳滤器及碟管式反渗透装置,其中,纳滤器包括一级纳滤单元或者依次串联的多级纳滤单元,各纳滤单元设置碟片式纳滤膜。总体上,本发明所提供的氢氧化锂的净化分离及膜浓缩方法,可以直接将硫酸钠与氢氧化锂进行分离,过程中能耗低,易控制,且通过膜的氢氧化锂溶液纯度高,无需再通过添加化学药品,除杂处理流程短,工序少,处理难度较低。

标签:
加工技术
四川 - 成都 来源:中冶有色网 2023-03-18
锂电池的正极及电解液混合回收方法

本发明公开一种锂电池的正极及电解液混合回收方法,将电池的正极材料与电解液按照质量比例1:1在热水中混溶,之后在密闭容器中低温加热搅拌过滤掉氟化锂沉淀,滤液注入下一级饱和碳酸钠溶液获得非锂金属碳酸盐沉淀,之后通过热处理后粉碎筛分分离非锂金属。本发明通过电解液中的六氟磷酸锂水解产生氢氟酸溶解正极材料,有效克服了目前对锂离子电池正极材料和电池电解液进行回收时,需要分开处理,并且在处理过程中加入额外酸溶解处理,对生态环境造和人员安全健康带来隐患的缺陷,实现了正极材料与电解液同时回收,无额外酸加入,降低环境污染,且反应过程密闭操作安全性高,工艺简单,且易实现连续化生产。

标签:
加工技术
四川 - 成都 来源:中冶有色网 2023-03-18
氰基改性氧化硅锂电池负极材料及其制备方法和应用

本发明涉及一种氰基改性氧化硅锂电池负极材料及其制备方法和应用,属于电池技术领域。氰基改性氧化硅锂电池负极材料,它具有如下式所示的结构:。本发明采用了对氧化硅材料表面进行氰基化的修饰,提高了改性材料作为锂离子电池负极材料时的循环放电后的电容量保持性。

标签:
加工技术
四川 - 成都 来源:中冶有色网 2023-03-18
通过磁致效应提高锂电池负极电极倍率性能的方法

本发明提出一种通过磁致效应提高锂电池负极电极倍率性能的方法,采用一维纳米负极材料负载铁磁流体与铁氧体材料,在磁场下形成定向结构,与铜集流体垂直结合,形成三维密集阵列结构的负极电极,本发明克服了传统锂电池负极材料在锂离子脱嵌过程中由于负极的各向异性生长引起的内阻过大,锂离子嵌入困难的问题,通过铁氧体材料和铁磁流体与负极通过范德华力结合,在磁场作用下使负极材料具有取向性的垂直结合在铜集流体表面,形成三维密集阵列,使材料的活性点位暴露更加充分,形成锂离子传输通道,有效提高锂离子在负极材料中的脱嵌和迁移能力,提高了电池的倍率性能,达到了通过控制负极结构而非成分达到提高负极材料电性能的目的。

标签:
加工技术
四川 - 成都 来源:中冶有色网 2023-03-18
具有刚性-弹性界面层的锂金属及其制备方法和应用

本发明提供一种具有刚性‑弹性界面层的锂金属及其制备方法和应用,属于锂金属电池领域。本发明通过在锂金属表面原位电化学沉积二烯丙基二硫醚(DADS)形成无机‑聚合物结构,使得锂金属同时具备刚性‑弹性界面层。其中的聚合物网络提高了界面层的弹性和韧性,形成的无机单元可以提供较高的机械强度来抵抗锂枝晶的破坏。因此,该界面层不仅可以抑制锂枝晶的形成,还使得锂的沉积/剥离行为可以更快速和更稳定的进行。

标签:
加工技术
四川 - 成都 来源:中冶有色网 2023-03-18
分布式能源站溴化锂机组系统多能流测点布置结构

本实用新型公开了一种分布式能源站溴化锂机组系统多能流测点布置结构,溴化锂机组系统包含溴化锂机组、冷水循环泵、热水循环泵;整个溴化锂机组系统对外有3个能流进口及3个能流出口;3个能流进口分别是2路冷却回水和1路热水回水;3个能流出口分别是2路冷却供水以及1路热水供水;分布式能源站溴化锂机组系统多能流测点布置如下:冷水循环泵入口压力测点、溴化锂机组冷水入口温度、压力、出口温度以及流量测点、溴化锂机组热水入口温度、压力、流量和出口温度测点和热水循环泵出口压力测点。本方案系首次提出,并在实际工程中得到成功应用。测点布置合理,有助于提高分布式能源站溴化锂机组系统的运行效率。

标签:
加工技术
四川 - 成都 来源:中冶有色网 2023-03-18
补锂集流体及其制备方法和应用

本发明公开了一种补锂集流体及其制备方法和应用,属于锂电池技术领域。该补锂集流体包括负极集流体,以及在负极集流体上依次设置的锂源层和金属保护层;锂源层的厚度为1~20μm;金属保护层的厚度为50nm~5μm。这种补锂集流体通过在负极集流体上设置厚度可控的锂源层及金属保护层,有效提升了负极的安全性及稳定性,增加了锂电池的循环容量保持率。与现有负极补锂技术相比,本发明提供的补锂集流体及其制备方法,在现有技术之上,提供了一种全新的补锂方式,此方式可实现精确预锂化,同时生产工艺简单,无需大型昂贵设备投入,实现了低成本、高安全性能的补锂集流体的制备。

标签:
加工技术
四川 - 成都 来源:中冶有色网 2023-03-18
微功耗低成本的锂电池组管理系统

一种微功耗低成本的锂电池组管理系统,包括一对输出端和主控器,还包括多个与单个锂电池并联的电池电压检测器,所述电池电压检测器的输出端与主控器连接,所述管理系统还包括串联在锂电池组供电通路上的电流传感器、控制开关,及串联在锂电池组供电通路上并连接在锂电池组负极和一个输出端之间的充电开关和放电开关,所述充电开关和放电开关均为MOS管,衬底分别与各自源极连接,且两个MOS管的源极连接在一起;所述电流传感器的输出端与主控器连接。本实用新型采用单体锂电池保护IC,利用其简单可靠的单体保护特性,替代传统的中压锂电池管理系统中价格很高的采样,传感器件;通过合适的保护IC串联成模块,避免将单体IC高压击穿。

标签:
加工技术
四川 - 成都 来源:中冶有色网 2023-03-18
有机化合物包覆抑制锂枝晶生长的方法

本发明公开了一种有机化合物包覆抑制锂枝晶生长的方法。该方法的具体过程为:将有机化合物涂抹在金属锂表面作为保护层,并直接用于电池负极。本发明中的有机化合物一方面富含路易斯酸性官能团可与电解液中阴离子相互作用,减缓阴离子的移动速率,缓解负极表面的空间电荷影响从而抑制枝晶生长;另一方面,富含亲锂元素可调节锂离子分布,减少局部锂离子浓度过高的现象,抑制枝晶的生长。因此,将包覆后的金属锂用于锂电池中能够有效提高电池的库伦效率和放电容量,降低锂电池的极化,延长锂二次电池的寿命。

标签:
加工技术
四川 - 成都 来源:中冶有色网 2023-03-18
基于微波和压力场联合溶浸锂辉石的方法

本发明公开了一种基于微波和压力场联合溶浸锂辉石的方法,属于化工冶金中锂辉石提取锂盐生产技术领域。包括步骤为:1)磨矿,2)外场辐照晶型转化,3)加压浸出,4)分离提纯。本技术方案通过采用锂辉石微波辐照,拓宽晶型转化温度范围;然后对辐照后的锂辉石直接硫酸浸出工艺,并在加温加压的条件下,将锂等有价金属溶浸为硫酸锂,再进入分离提纯及溶液回收,得到终产物即锂盐,进而拓宽了复杂锂辉石原料的应用范围;本技术方案具有流程短,节能减排,衔接现行工艺佳等优点。 1

标签:
加工技术
四川 - 成都 来源:中冶有色网 2023-03-18
金属锂负极材料及其制备方法和应用

本发明公开了一种金属锂负极材料及其制备方法和应用,属于锂电池材料领域。本发明通过将金属氟化物热压于金属锂上,利用金属氟化物与金属锂发生的置换反应,在金属锂表面形成均匀稳定的且具备优良电子电导、离子电导的保护层,能够阻止金属锂与电解液发生副反应,同时其表面高的离子迁移率及电子电导有利于锂离子的均匀沉积,有效抑制锂枝晶生成,延长电池寿命。同时,本发明的制备方法简单,操作简便,对设备要求低。

标签:
加工技术
四川 - 成都 来源:中冶有色网 2023-03-18
锂钴氧化物正极材料的合成方法

本发明提供一种合成锂钴氧化物(LiCoO2)的新方法, 该锂钴氧化物广泛用作锂离子二次电池正极材料。本发明的方法简称为类溶胶——浸渍法(LSIM)。该方法首先将作为反应物的起始物Co3+、Co2+的氢氧化物或Co3O4和LiOH·H2O或Li2Co3加入到碳原子数低于13的有机溶剂(醇类、酮类)、水或其混合物中, 使反应物在搅拌浸渍使用下相互扩散, 达到分子级混合, 并呈类溶胶状, 在80-110℃下较时间内蒸发干燥形成锂钴氧的均匀混合物, 将此混合物于600-1000℃温度下煅烧处理6-20小时, 得到电化学性能优异的LiCoO2正极材料, 其首次放电比容量达160Ah/g, 循环性能稳定。

标签:
加工技术
四川 - 成都 来源:中冶有色网 2023-03-18
金属锂的制备方法
金属锂的制备方法 1113     
 0

本发明属于金属锂的制备方法, 以Li2CO3、Al2O3和铝粉为原料, 在600~850℃, 50~10巴下进行4~8小时的合成反应, 然后在900~1175℃, 10~2巴下进行8~12小时的还原反应制取金属锂, Li2CO3和Al2O3的克分子比为1~5∶1, 铝粉为理论量过量40~70%。本发明提高了制取金属锂的生产能力, 降低了能耗, 减少和缩短了工艺流程, 减少劳动力, 操作方便, 安全生产, 与氯化物电解制备金属锂相比, 本发明的产品质量好, 无环境污染。

标签:
加工技术
四川 - 成都 来源:中冶有色网 2023-03-18
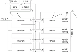
锂电池在线式充电装置
锂电池在线式充电装置 1051     
 0

本实用新型公开了一种锂电池在线式充电装置,采用串联整流电源组中的各整流电源对串联锂电池组中的各锂电池分别进行充电,保证了每个锂电池都能实现独立的充电管理,确保每个锂电池都能充满电,实现了各锂电池电量的均衡。同时,所述串联锂电池组和整流电源组的正极均连接正输出端,所述串联锂电池组和整流电源组的负极均连接负输出端,充电时无需断开锂电池组中各锂电池的串联连接关系,确保了锂电池组在充电时保持备电状态,能够满足通信领域对在线式备用电的高要求。

标签:
加工技术
四川 - 成都 来源:中冶有色网 2023-03-18
锂电池处理装置
锂电池处理装置 898     
 0

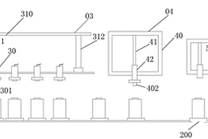
本申请提供了一种锂电池处理装置。该处理装置包括:多个锂电池;传送设备,包括传送带和多个依次排列的底座,其中,各底座设置在传送带上;码放设备,用于将锂电池码放在底座上,其中,锂电池与底座一一对应;充放电设备,与传送设备在第一方向上具有第一预定间隔,第一方向为锂电池的轴向方向,充放电设备可沿第一方向移动,充放电设备包括多个充放电结构,充放电结构与锂电池一一对应,充放电结构用于对锂电池进行充放电。本方案减少了锂电池充放电过程中的人工操作,简化了锂电池充放电过程,加快了锂电池充放电速度,且由于保证了锂电池与充放电结构之间的良好接触,保证了较高的良品率。

标签:
加工技术
四川 - 成都 来源:中冶有色网 2023-03-18
偏钛酸型锂吸附剂及其制备方法

本发明涉及从卤水中分离提取锂的吸附材料,具体涉及一种偏钛酸型锂吸附剂及其制备方法。该偏钛酸型锂吸附剂HxLi2‑xMyTi1‑yO3是由M掺入到Li2TiO3的晶格中形成前驱体Li2MyTi1‑yO3,再经酸洗脱锂得到的,其中M为Ce、Sn、Nb、Zr、Mo、Ta、W、Mn、Hf的一种或几种的混合,x取值范围0.0~2.0,y取值范围0.0~0.3。通过将钛源、锂源和M盐混合均匀,干燥,压饼,煅烧,冷却,酸洗,得到偏钛酸型锂吸附剂。以本发明方法制备的偏钛酸型锂吸附剂对镁锂比大于100的卤水进行吸附提锂,其锂吸附率大于80%,镁脱除率大于99%;解吸液酸度高,锂富集倍数约1.5~6倍,钛溶损率低,极具工业应用前景。

标签:
加工技术
四川 - 成都 来源:中冶有色网 2023-03-18
阶梯使用动力锂电池鉴别系统

本实用新型公开了一种阶梯使用动力锂电池鉴别系统,用于鉴别待测试锂电池的性能便于梯次利用,包括依次连接的锂电池隔膜裂解测试装置、锂电池剩余电量检测装置、锂电池内阻测试装置、锂电池荷电保持率测量装置和锂电池电解液密度测量装置。本实用新型通过对锂电池隔膜裂解等是否判断是否能被阶梯利用、剩余电量评估剩余寿命,内阻测定评估是否老化氧化,荷电保持率评估锂电池的使用性能,电解液的密度来评估后续使用时间;通过评估后实现梯次利用,不仅可以让动力蓄电池性能得到充分的发挥,有利于节能减排,还可以缓解大量动力蓄电池进入回收阶段给回收工作带来的压力。

标签:
加工技术
四川 - 成都 来源:中冶有色网 2023-03-18
高介电常数锂铌钛系低温烧结陶瓷及其制备方法

本发明公开了一种高介电常数锂铌钛系低温烧结微波介质陶瓷材料及其制备方法。该材料由富锂锂铌钛系材料及占主晶相重量百分比为1~10%的锂硼硅玻璃降烧剂组成,通过固相反应,即可得到本发明材料。富锂锂铌钛系系材料的组成为Li1.0+xNb0.6Ti0.5O3-yLBS,其中:LBS为锂硼硅玻璃降烧剂,0≤x≤0.2(摩尔比),0≤y≤0.1(重量比)。LBS的制造原料含有:碳酸锂(Li2CO3)、二氧化硅(SiO2)和三氧化二硼(B2O3)。本发明制备的低温烧结LTCC微波介质陶瓷在850~900℃烧结良好,高等介电常数(εr为65~70),品质因数Qf适中,谐振频率温度系数小,可用于低温共烧陶瓷系统(LTCC)、多层介质谐振器、微波天线、滤波器等微波器件的制造,在工业上有着极大的应用价值。

标签:
加工技术
四川 - 成都 来源:中冶有色网 2023-03-18
一体化固态磷酸铁锂电池的制备方法

本发明公开了一种一体化固态磷酸铁锂电池的制备方法,涉及锂电池制备技术领域,包括含磷烯亲和层的负极极片制备步骤、含电解质薄膜的正极极片制备步骤和一体化固态磷酸铁锂电池制备步骤,通过在负极极片上增加磷烯亲和层,改善了固态电池负极极片与固体电解质之间的界面阻抗,增加了锂离子在电解质中的迁移能力,从而得到循环性能改善的负极极片;另外,直接将聚合物固体电解质在正极极片上成膜,让正极极片与固体电解质一体化后,既降低了固体电解质与正极极片界面阻抗,又缩短了锂离子传递的路径,进而提高电池的循环能力,具有重大的生产实践意义。

标签:
加工技术
四川 - 成都 来源:中冶有色网 2023-03-18
上一页 118 119 120 121 122 ... 133 下一页
共133页    到第

中冶有色为您提供最新的四川成都有色金属加工技术理论与应用信息,涵盖发明专利、权利要求、说明书、技术领域、背景技术、实用新型内容及具体实施方式等有色技术内容。打造最具专业性的有色金属技术理论与应用平台!

全国热门有色金属设备推荐
展开更多 +
全国热门有色金属技术推荐
展开更多 +

 

江西省隆恩特环保设备有限公司
宣传

报名参会
更多+

报告下载

有色专家
更多+

北方民族大学
院长/教授
矿冶科技集团
副所长/研究员
赣州江钨钨合金有限公司
工程师
西安建筑科技大学
教授
南京理工大学、中国科学院
院士
赤泥综合利用研究报告2025
推广

热门技术
更多+

推荐企业
更多+

福建省金龙稀土股份有限公司
宣传

发布

在线客服

公众号

电话

顶部
咨询电话:
010-88793500-807