青岛垚鑫智能科技有限公司
宣传

位置:北方有色 >

有色技术频道 >

> 固/危废处置技术

分类:
全部
矿山技术
冶金技术
材料制备及加工技术
环境保护技术
分析检测技术
 
全部
废水处理技术
大气治理技术
固/危废处置技术
土壤修复技术
地区:
全部
北京
天津
上海
重庆
河北
山西
辽宁
吉林
黑龙江
江苏
浙江
安徽
福建
江西
山东
河南
湖北
湖南
广东
海南
四川
贵州
云南
陕西
甘肃
青海
内蒙
广西
西藏
宁夏
新疆
其他
其他
展开
 
全部
济南
青岛
淄博
枣庄
东营
烟台
潍坊
济宁
泰安
威海
日照
滨州
德州
聊城
临沂
菏泽

山东济南有色金属固/危废处置技术理论与应用

免费发布技术信息>>
一种基于炉内喷钙的危废焚烧烟气脱硫方法及装置

本发明涉及一种基于炉内喷钙的危废焚烧烟气脱硫方法及装置,其中方法包括:炉内喷钙:将粉状石灰石作为吸收剂,直接喷入危废焚烧回转窑内,在回转窑内与烟气中的酸性气体发生发应,实现初步脱硫;后续脱硫:干法脱硫,脱除烟气中剩余的酸性气体,保证烟气中的酸性气体达标排放。装置包括:危废焚烧回转窑、石灰石粉上料装置、给粉机、石灰石仓、送风机、喷枪、布袋除尘器和风粉混合器。本发明的基于炉内喷钙的危废焚烧烟气脱硫方法及装置能够保证烟气中的酸性气体达标排放,同时可以避免设置湿法脱酸措施,解决了脱酸废水难以处理等问题。

标签:
危废
山东 - 济南 来源:北方有色网 2023-03-19
一种降低尘危害的含盐废液焚烧设备及工艺

本发明公开了一种降低尘危害的含盐废液焚烧设备及工艺,属于含盐废液处理领域,其结构包括焚烧炉、燃烧器、鼓风机和废液雾化喷嘴,焚烧炉的下部设置有出口烟道,废液雾化喷嘴设置在蒸发室的上部,蒸发室的进口端设置有循环烟道,蒸发室的出口端通过管路与循环风机的进口端相连,循环风机的出口端通过管路与除尘器的进口端相连,除尘器的出口端通过管路与焚烧炉相连。本发明具有含盐废液蒸发在焚烧炉外进行,增加了废液雾化喷嘴和焚烧炉的使用寿命,使含盐废液中可燃有害物质在焚烧炉内停留时间更长,可燃有害物质的分解更加充分,能有效去除含盐废液中形成的固体颗粒物,减少了二噁英的生产量,缓解了盐对焚烧装置的危害等特点。

标签:
危废
山东 - 济南 来源:北方有色网 2023-03-19
一种用于危险废弃物的破碎焚烧装置

本实用新型公开了一种用于危险废弃物的破碎焚烧装置,包括破碎箱、传导箱、燃烧室,破碎箱一侧设有传导箱,传导箱一侧设有燃烧室;本实用新型通过将危险废弃物进行两次挤压破碎,进而完成对废气物的破碎,进而可大大提高破碎的效率,无需再通过增加工序进一步处理,同时在完成对危险废弃物充分处理后也能够降低破碎处理成本,在破碎完成后直接传送至燃烧室当中进行焚烧,进而无需再通过人工进行转运,可大大降低时间的消耗,也从根源排出了人工工作中的风险。

标签:
危废
山东 - 济南 来源:北方有色网 2023-03-19
一种危险废物焚烧炉渣的熔融处理工艺

一种危险废物焚烧炉渣的熔融处理工艺,是将焚烧炉窑内的高温炉渣通过焚烧炉窑出口设置的转向阀分别向各个熔融窑交替输入高温炉渣,通过熔融窑的辅料入口向熔融窑内输入调节辅料,使各个熔融窑交替调节熔融炉渣的组成,改变其酸度值,实时分析熔融炉内的熔融炉渣组成,使酸度值调节至1.0‑1.4的矿渣棉标准、大于1.6的岩棉标准或玻璃棉标准;调整合格酸度值后的各个熔融窑内的液态熔岩经离心喷丝形成风冷玻璃态炉渣纤维;熔融窑内炉渣中的重金属,经加热,高温下还原重金属至金属态,排出后得到合金资源。本工艺主要利用危废焚烧窑产生的高温炉渣显热,能耗低,处理效率高,避免形成危废名录HW18中772‑003‑18项有关危废特征。

标签:
危废
山东 - 济南 来源:北方有色网 2023-03-19
小型标准化模块集成式危废暂存房

小型标准化模块集成式危废暂存房,包括箱体、漏液收集池、废气处理模块、功能模块、标识模块、附属模块和综合管理模块,箱体的顶板、壁板、地板及隔断采用板材围建成各自独立的密闭单元箱,单元箱的壁板或门上设置进气栅、观察窗、台秤、水箱、消防设施箱、安全防护箱、警戒设施箱、危险废物标识、危废信息公示牌和危废综合管理主机,主机内安装危废综合管理软件,箱体地板上部设置漏液收集池,箱体的顶板上设置照明灯、有机气体报警装置、火灾报警装置和废气处理装置。小型产危废企业不必费力自建要求多且高的危废贮存设施,采用本发明即可符合危废贮存要求,同时满足工厂端危废管理的要求。

标签:
危废
山东 - 济南 来源:北方有色网 2023-03-19
一种移动式处理危废的等离子裂解并玻璃化设备

本发明要解决的问题是提供一种移动式处理危废的等离子裂解并玻璃化设备,能够机动灵活的对钻屑、油泥、医废等危废进行焚烧裂解以及玻璃化处理。其包括可移动的集装箱体,所述集装箱体内设有等离子焚烧裂解炉和等离子玻璃化炉,所述等离子焚烧裂解炉的出料口连通所述等离子玻璃化炉的进料口。

标签:
危废
山东 - 济南 来源:北方有色网 2023-03-19
一种用于危废物料的多级混合反应器

本实用新型公开了一种用于危废物料的多级混合反应器,包括底座,所述底座的顶部两侧分别固定安装有第一支撑板和第二支撑板,所述第一支撑板的一侧顶部转动连接有搅拌座,所述搅拌座上设有搅拌腔室,所述搅拌腔室的一侧内壁上转动连接有出气管,所述第二支撑板的一侧顶部固定安装有推动座,且推动座的底部滑动连接有推杆,所述推杆的底端固定安装有连接板,所述底座的顶部一侧固定安装有第二驱动电机。本实用新型本实用新型操作简单,通过启动第一驱动电机和第二驱动电机,就可以在对危废物料本体进行混合时,可以将产生的废气抽送至收集球内,从而可以防止废气泄漏,不会造成环境污染。

标签:
危废
山东 - 济南 来源:北方有色网 2023-03-19
一种固体危废裂解箱进出料转运装置

本实用新型涉及一种固体危废裂解箱进出料转运装置,该装置包括设置在转运轨道上的转运小车,转运小车上设置有水平旋转平台,所述水平旋转平台上设置有导轨,导轨上设置有固体危废裂解箱转运平台,所述平台上端两侧设置有对接导轨,所述对接导轨上设置有行走车架,所述的行走车架两侧通过变距万向轴连接有行走轮,所述的行走轮设置在对接导轨上;采用这种结构的装置,转运小车可以在转运导轨上运动,与装有固体危废裂解箱的运输车对接,从而将固体危废裂解箱从运输车上转运下来,并通过水平旋转平台旋转后,经过行走车架将其送入间断式裂解器内,实现间断式裂解物料的自动化进出料,提高了效率,节省了大量成本。

标签:
危废
山东 - 济南 来源:北方有色网 2023-03-19
一种固体危险废物的贮存装置

本实用新型公开了一种固体危险废物的贮存装置,属于贮存装置技术领域。一种固体危险废物的贮存装置,还包括:呈圆形放置底板;连接在所述放置底板上转动丝杆;其中,所述转动丝杆设置有多组且圆周等间距设置;滑动连接在所述放置底板上的上固定环;转动连接在所述上固定环上的上旋转座,所述旋转座与转动丝杆之间螺纹相连;其中,所述上固定环与放置底板之间用于夹紧贮存桶;本实用新型通过设置的放置底板及转动丝杆、上固定环能够对贮存桶进行固定,且将贮存桶间隔开,放置在运输过程中贮存桶受冲击损伤,有效的提高了对贮存桶内的固体危险废物的保护效果。

标签:
危废
山东 - 济南 来源:北方有色网 2023-03-19
一种危废焚烧过程的二次燃烧与脱酸脱硝一体装置

一种危废焚烧过程的二次燃烧与脱酸脱硝一体装置,包括二燃室,二燃室的进口连接有一次废气烟道,一次废气烟道进口处设置有辅助燃烧喷嘴;二燃室的出口通过烟气收缩段连接脱酸脱硝反应器,脱酸脱硝反应器包括烟气混合段、烟气扩张段和烟气反应段,烟气混合段处设置有SCNR喷嘴和脱酸剂喷嘴。危废焚烧后产生的一次燃烧废气经辅助燃烧喷嘴助燃后进入二燃室,然后烟气依次进入脱硝脱酸反应器的各段,通过SCNR喷嘴向和脱酸剂喷嘴向烟气混合段喷脱硝剂和脱酸剂,实现脱硝和脱酸。该装置将二燃室与高温烟气的选择性非催化还原氮氧化物脱除和高温脱酸融合,高效完成危废焚烧的高温烟气二次燃烧、脱硝和脱酸,进一步降低了主要污染物的排放量。

标签:
危废
山东 - 济南 来源:北方有色网 2023-03-19
基于二次燃烧室富氧送风的绿色高效危险废物回转窑焚烧处理系统

本发明公开了基于二次燃烧室富氧送风的绿色高效危险废物回转窑焚烧处理系统,包括回转窑和二燃室,所述回转窑窑尾与二燃室的下部密封连接;固态废物送入回转窑中焚烧,液态废物喷入回转窑和二燃室中焚烧,所述二燃室通过管道连接有二次风机和富氧制备设备,二次风机抽取的空气与富氧制备设备制备的富氧气体混合后送入二燃室中;本发明提高二燃室内燃烧环境的氧气含量、有效利用预热的技术手段,在保证二噁英等有害物质完全分解的条件下,有利于在余热利用系统中把烟气中氮氧化物去除,避免或显著降低了焚烧处理过程中二次环境污染物质的产生和排放,实现了危险废物最大减量化的高效绿色处理。

标签:
危废
山东 - 济南 来源:北方有色网 2023-03-19
一种危废品智能监测系统

本发明涉及一种危废品智能监测系统,包括GPS模块、数据采集模块、数据处理模块、报警指示模块、远程操控平台;GPS模块将位置信息发送至数据处理模块,数据采集模块将采集的危废品信息发送至数据处理模块;数据处理模块将接收到信息进行处理分析后传送至远程操控平台及对应的报警指示模块。本发明针对“工业三废”废水、废渣、废气的产生‑—存储—运输—处理实现全流程监管,有效规范危废管理台帐,全面监控危废转移环节,切实落实危废规范化管理要求,助力环保部门及时、真实、准确、动态掌握危废信息,提高危废信息化、智能化、科学化管理水平。

标签:
危废
山东 - 济南 来源:北方有色网 2023-03-19
一种危废全过程管理平台

本发明提出一种危废全过程管理平台,包括控制系统、二维码管理系统、入库系统、出库系统、数据库。本发明提出的危废全过程管理平台,通过控制系统、二维码管理系统、入库系统、出库系统、数据库的有机组合,解决了现阶段的发电厂危废物品处理模式下产生了危废物品管理困难的问题,实现了发电厂危废物品管理危废物品管理流程的数字化监控,同时提升了发电厂危险废物管理的安全性。

标签:
危废
山东 - 济南 来源:北方有色网 2023-03-19
一种危险废气集中处理设备

本实用新型涉及危险废气集中处理设备术领域,且公开了一种危险废气集中处理设备,包括废气集中处理机身、废气集中处理管道和防漏气报警装置,所述废气集中处理机身的左面与废气集中处理管道的右端固定连接在一起,所述废弃集中处理管道的上表面固定有矩形箱,所述矩形箱的上表面开设有圆形通孔,所述圆形通孔的内部设置有电灯,所述矩形箱左表面下端开设有矩形通槽,所述矩形通槽的槽口固定有转杆连接,所述转杆的中间部位固定有矩形铁片,所述转杆与矩形铁片通过转轴活动连接,所述矩形贴片的左端在矩形通槽的外面,所述矩形铁片的右端下表面设置有圆形磁铁。

标签:
危废
山东 - 济南 来源:北方有色网 2023-03-19
一种无害化危险废物焚烧处理系统

一种无害化危险废物焚烧处理系统,包括危废焚烧炉、第一熔融炉、第二熔融炉和离心喷丝机;危废焚烧炉的出口设置有转向阀,第一熔融炉和第二熔融炉的进料口均与转向阀连接;第一熔融炉的进料口还与第一辅料筒连接,第二熔融炉的进料口还与第二辅料筒连接;第一熔融炉和第二熔融炉的出口均与离心喷丝机连接。将危险废物在焚烧炉内焚烧产生的高温炉渣交替进入两个熔融炉,通过向熔融炉中加入调节辅料调节进入熔融炉内高温炉渣的酸度值,熔融窑内的液态熔岩经离心喷丝机以离心喷丝方式形成风冷玻璃态炉渣纤维。该系统利用离心风冷代替水淬处理,最终获得急冷玻璃态炉渣纤维,避免形成危废特征,实现无害化处理,并可回收金属。

标签:
危废
山东 - 济南 来源:北方有色网 2023-03-19
一种危险废液的物化处理系统

一种危险废液的物化处理系统,包括一次反应釜、二次反应釜、计量罐、配制釜、加药罐、压滤机、滤液罐、缓冲罐和真空泵;一次反应釜和二次反应釜均与加药罐连接;配制釜、计量罐和一次反应釜依次连接;真空泵、缓冲罐与一次反应釜依次连接;一次反应釜和二次反应釜的出口均通过一次泵与压滤机连接,压滤机与滤液罐连接;滤液罐通过二次泵一方面与二次反应釜连接,一方面与后续处理装置连接。本发明不仅很好达到危险废液的处理要求,而且设备较少,整个处理过程不会对环境造成影响,封闭式运行,避免了对环境的二次污染和人员的伤害,操作过程简单方便,降低了运行成本,适合多种液体危险废物物化前处理和回收。

标签:
危废
山东 - 济南 来源:北方有色网 2023-03-19
一种危化废酸的资源化再利用方法

本发明提供一种危化废酸的资源化再利用方法,包括步骤:向危化废酸中加入碱的水溶液调pH至5‑8,然后经过滤,得到TiO2和滤液;TiO2经水洗、干燥得到精制TiO2;所得滤液经第三效蒸发器、第二效蒸发器、第一效蒸发器,得到浓缩液3;浓缩液3经高温喷雾干燥得到盐产品;上述过程产生的冷凝液经臭氧处理、保安过滤、反渗透处理后,得到清水。本发明资源化再利用方法针对特定的危化废酸,能够有效的分离出危化废酸中的TiO2以及处理过程中所产生的盐类物质,从而实现危化废酸的资源化再利用;同时使所得到的清水中盐含量痕量,CODcr降至100mg/L及以下,色度降至10及以下,主要成分含量为水,可实现达标排放。

标签:
危废
山东 - 济南 来源:北方有色网 2023-03-19
一种工业危废蒸发处理装置

本实用新型提供一种工业危废蒸发处理装置,包括回转混合室,其特征在于,所述回转混合室的一侧连接有污废进口,所述回转混合室的另一侧通过管道与燃烧室相连接,所述燃烧室一侧的下端通过管道与粉碎机相连接,所述粉碎机一侧的下端通过结晶回流管与污废进口相连接,所述粉碎机的另一侧连接有排出管。本实用新型粉碎机、气体换热管与余热转换室的设置,能够使工业危废进行充分燃烧净化,减少危废结晶块的形成,使空气进行充分热交换,有效的进行资源利用,同时还能避免高温气体对管道内壁造成气蚀,提高工业危废蒸发处理装置的使用寿命和净化效率。

标签:
危废
山东 - 济南 来源:北方有色网 2023-03-19
一种燃煤电厂危险废物存储装置

本实用新型公开了一种燃煤电厂危险废物存储装置,包括大门、观察窗口、废油贮存区、废脱硝催化剂贮存区、其他危废贮存区、废铅酸蓄电池贮存区、废油区废液导排收集渠、废催化剂区废液导排收集渠、其他废液导排收集渠、废电池区废液导排收集渠、伸缩防火隔离墙、通风及气体净化装置、图像识别装置和烟感报警装置。其中废油贮存区、废脱硝催化剂贮存区、其他危废贮存区、废铅酸蓄电池贮存区通过废液导排收集渠进行分类隔离;图像识别装置和烟感报警装置用于数据信息的整合比对分析,同时控制伸缩防火隔离墙实现自动防火隔离。本发明实现了燃煤电厂危险废物存储装置的基本应急处置,从而保障了燃煤电厂危险废物的存储安全。

标签:
危废
山东 - 济南 来源:北方有色网 2023-03-19
一种固体危废裂解装置
一种固体危废裂解装置 1124     
 0

本发明属于废弃物裂解技术领域,具体涉及一种固体危废裂解装置,该装置为间断式裂解装备,包括外筒体和可转动的内筒体,内筒体内部设置有至少一个裂解物料放置区,该放置区由在内筒体内壁上圆周设置的若干组导板和设置在两端导板顶部的挡板组成,每组导板均由交替连接的立板和筛板组成,且立板和筛板之间的角度大于90°,内筒体底部设置有反应介质;采用这种结构的固体危废裂解装置,可以将固体危废放置在可转动的带孔桶状箱体内,将箱体至于裂解物料放置区的挡板之间,封闭裂解装置后即可加温开始裂解,内筒体转动带动箱体在内筒体底部自转,箱体内的物料受热融化后落入下方的反应介质上,完成对固体危废裂解。

标签:
危废
山东 - 济南 来源:北方有色网 2023-03-19
一种危化废酸的处理方法

本发明提供一种危化废酸的处理方法,包括步骤:向危化废酸中加入碱调pH至5‑7,然后经絮凝过滤,加入FeSO4和双氧水进行芬顿氧化处理,得处理液;处理液经减压蒸馏或真空喷雾干燥,然后经换热器回收热量得冷凝液;所得冷凝液经臭氧处理或微电解处理、活性炭处理、保安过滤、反渗透处理后,达标排放。本发明处理方法能够实现危化废酸的达标排放外,还能通过进一步处理得到产品盐,对危化废酸进行了综合利用,变废为宝。经本发明方法处理后,废酸水质可达到:CODcr降至100mg/L及以下,色度降至1及以下,盐含量痕量,其主要成分含量为水,能够有效实现达标排放。

标签:
危废
山东 - 济南 来源:北方有色网 2023-03-19
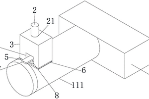
一种旋风筒内置式危废焚烧处置装置

一种旋风筒内置式危废焚烧处置装置,属于危废处理装置领域,包括炉体和内置的圆柱形旋风筒,旋风筒顶部安装有喷燃器,喷燃器上连通有燃气管、危废进管和一次风管;旋风筒上部侧壁上通过中心对称的二次风窗安装有与旋风筒侧壁相切的二次风管,旋风筒下部左右均开有高温烟窗,旋风筒底部安装有渣栏,渣栏下部连通有盐出管;炉体内左右顶部均安装有旋转分离器,旋转分离器上部出口连通烟气出管,下部出口的底部安装有灰斗,灰斗底部连通盐灰排出管。本危废焚烧处置装置,节省占地空间,节省制造成本,使危废液渣燃烧反应充分彻底,旋转分离器能分离出燃烧后烟气中的粉尘,环保性更好,能实现燃烧余热的高效利用,实用性好,通用性强。

标签:
危废
山东 - 济南 来源:北方有色网 2023-03-19
一种危废焚烧烟气循环与急冷的复杂前馈控制方法

一种危废焚烧烟气循环与急冷的复杂前馈控制方法,具体控制过程是:(1)测量辅助锅炉烟气出口处烟气的流量体积Q、温度T、烟气静压P和烟气含氧量,测量循环烟气回流温度T1、急冷后的烟气温度T2、高温烟气循环流量Q1和急冷水流量m水;(2)高温循环风机的压头,控制烟气静压P在±100Pa范围内波动;控制含氧量的体积百分比为4?12%;(3)PLC控制器依据测量的急冷后的烟气温度T2以及设定的急冷后的烟气温度,控制水量控制器提供急冷用水量。该方法确定了烟气流动体系统中的风压状态、风机压头和系统风阻等工作参数,有效控制了危废焚烧系统中循环烟气气流控制、烟气分流及烟气急冷,满足系统稳定运行的需要,且实现了节能。

标签:
危废
山东 - 济南 来源:北方有色网 2023-03-19
一种固体危废裂解工艺及成套设备

本发明属于废弃物裂解技术领域,具体涉及一种固体危废裂解工艺及成套设备,该设备包括固体危废专用裂解箱和间断式裂解装备,所述间断式裂解装备包括外筒体和可转动的内筒体,内筒体内部设置有至少一个裂解物料放置区,该放置区由在内筒体内壁上圆周设置的若干组导板和设置在两端导板顶部的挡板组成,每组导板均由交替连接的立板和筛板组成,内筒体底部设置有反应介质;采用这种结构的固体危废裂解成套设备,可以将固体危废放置在固体危废专用裂解箱内,将箱体至于裂解物料放置区的挡板之间,封闭裂解装置后即可加温开始裂解,内筒体转动带动箱体在内筒体底部自转,箱体内的物料受热融化后落入下方的反应介质上,完成对固体危废裂解。

标签:
危废
山东 - 济南 来源:北方有色网 2023-03-19
一种危险废物智能化精准配料的方法

一种危险废物智能化精准配料的方法,包括以下步骤:包括以下步骤:(1)进行分类及贮存;(2)将信息以及数量录入信息管理系统,形成二维码标签;(3)对无人仓库货架上的每个储存位置进行编码,录入信息管理系统;(4)将优化的各类危险废物的配伍信息转化为配伍单;(5)无人仓库接收到配伍单后,根据配伍单所列的每类危险废物及顺序,将每类危险废物按顺序提取并输送至废物预处理单元;(6)废物预处理单元根据配伍单,对配伍单所列的各类危险废物进行破碎、混合及均质;(7)转入废物处理处置单元进行处理。该方法过程简单,智能化程度提高,安全可靠,同时提升危险废物预处理的混配均匀性,实现精准配料。

标签:
危废
山东 - 济南 来源:北方有色网 2023-03-19
各种危险废物制造陶粒和陶瓷颗粒的方法和生产线

“用各种危险废物制造陶粒的方法和生产线”涉及危险废物彻底治理、永久安全,陶粒生产,特别涉及用各种危险废物制造陶粒的方法和生产线。是将国家危险废物目录所列的全部各种危险废物以任意种类、任意比例组成的危险废物的混合物湿法粉碎成为泥浆与干法粉碎的粘土、添加剂按一定比例充分搅拌混合,通过真空搅拌挤制机挤制成型为高强度素坯颗粒,经过干燥、预热、烧胀、烧结、冷却成为陶粒,采用已经被危险废物污染的粘土,危险废物、粘土、添加剂的混合物中(SiO2+Al2O3+Fe2O3)/(CaO+MgO)>2,同时SiO2/MgO>4。

标签:
危废
山东 - 济南 来源:北方有色网 2023-03-19
一种固体危废间歇式裂解器连续装卸料装置

本发明涉及一种固体危废间歇式裂解器连续装卸料装置,该装置包括与固体危废间歇式裂解器连接的密封车间,所述车间内设置有轨道,轨道上按顺序设置有用于装载固体危废裂解箱的运输车、转运小车和开盖小车;所述的转运小车上设置有可旋转的带有行走车架的固体危废裂解箱转运平台;所述开盖小车上设置有可移动开盖平台,开盖平台上设置有接驳装置;固体危废间歇式裂解器上设置有专用的密封盖,上述接驳装置与密封盖适配实现对密封盖的快速开启和闭合;上述装置实现了全自动化运行,避免了裂解器开启和关闭时对环境的二次污染,可以适用于固体危废间歇式裂解器,填补了本领域的空白。

标签:
危废
山东 - 济南 来源:北方有色网 2023-03-19
一种危废焚烧炉碱洗废水蒸发设备

本实用新型公开了一种危废焚烧炉碱洗废水蒸发设备,蒸汽腔设置在设备本体内部,顶盖设置在设备本体上端,顶盖上端面设有进水管,电机下端设有电机轴,电机轴下端设有搅拌架,搅拌架侧面设有连轴,连轴外端设有连杆,连杆外端设有搅拌块,底杆设置在搅拌架下端,底杆下端设有底块,出水口设置在设备本体下端面中心处,进汽管设置在蒸汽腔左侧上端,排汽管设置在蒸汽腔右端上端,出汽管设置在顶盖上端,出汽管与连接管一端通过法兰相连接,连接管另一端与冷凝装置相连接,冷凝装置下端设有储水室,排水口设置在储水室下端面,冷凝管设置在冷凝装置内部,冷凝管两端分别设有冷却水进口和冷却水出口。

标签:
危废
山东 - 济南 来源:北方有色网 2023-03-19
一种危险废弃物中有机废水催化氧化用分选筒

本实用新型提供一种危险废弃物中有机废水催化氧化用分选筒,包括支撑架、电机、电动伸缩杆、螺杆、方形连接杆、电动机、支撑杆、电动推杆以及收集罐,所述支撑架内部顶端固定有电机,所述电机下端设置有方形连接杆,所述方形连接杆安装在螺杆上,所述支撑架下端固定有电动伸缩杆,该设计可进行自动搅拌,所述电动机装配在支撑杆外端,所述支撑杆下端设置有电动推杆,所述电动推杆装配在收集罐内部底端,该设计提高了收集效果,本实用新型使用方便,便于操作,提高了分选效果,可防止溅出。

标签:
危废
山东 - 济南 来源:北方有色网 2023-03-19
一种危废固废预处理装置

本发明公开了一种危废固废预处理装置,包括收集口、进料传送带、电机Ⅰ、支撑护板、电机Ⅱ、阻挡杆、支撑架Ⅰ、支撑架Ⅱ、支撑架Ⅲ、支撑架Ⅳ、支撑架Ⅴ、主传送带、拨齿、存储箱Ⅰ、存储箱Ⅱ、存储箱Ⅲ、酸液箱、碱液箱、存储箱Ⅳ、固定机构、吸盖管、拔盖机构、旋盖机构、PH检测仪、抓取机构、机架,收集口固定安装在支撑护板上,支撑护板上设有进料传送带,进料传送带一端连接电机Ⅰ,支撑护板一侧固定安装在机架上。本发明通过设置可调节分流装置,能够适应不同规格试剂瓶,并且在分流装置两侧设置分隔板,能够有效为试剂瓶排序处理,同时对两组试剂瓶进行处理,并且通过设置多组开盖机构,能用针对不同大小,不同种类的试剂瓶进行处理。

标签:
危废
山东 - 济南 来源:北方有色网 2023-03-19
上一页 9 10 11 12 13 ... 56 下一页
共56页    到第

北方有色为您提供最新的山东济南有色金属固/危废处置技术理论与应用信息,涵盖发明专利、权利要求、说明书、技术领域、背景技术、实用新型内容及具体实施方式等有色技术内容。打造最具专业性的有色金属技术理论与应用平台!

全国热门有色金属设备推荐
展开更多 +
全国热门有色金属技术推荐
展开更多 +

 

江西省隆恩特环保设备有限公司
宣传

报名参会
更多+

报告下载

有色专家
更多+

广东省科学院资源利用与稀土开发研究所
教授
湖南有色金属研究院
教授级高工/原总工程师
中冶沈勘秦皇岛工程技术有限公司
原矿山院院长/教授级高工
北京科技大学
副院长/教授
西北有色金属研究院、中国工程院
院士
赤泥综合利用研究报告2025
推广

热门技术
更多+

推荐企业
更多+

福建省金龙稀土股份有限公司
宣传

发布

在线客服

公众号

电话

顶部
咨询电话:
010-88793500-807