青岛垚鑫智能科技有限公司
宣传

位置:中冶有色 >

有色技术频道 >

> 复合材料技术

分类:
全部
矿山技术
冶金技术
材料制备及加工技术
环境保护技术
分析检测技术
 
全部
功能材料技术
复合材料技术
新能源材料技术
合金材料技术
加工技术
地区:
全部
北京
天津
上海
重庆
河北
山西
辽宁
吉林
黑龙江
江苏
浙江
安徽
福建
江西
山东
河南
湖北
湖南
广东
海南
四川
贵州
云南
陕西
甘肃
青海
内蒙
广西
西藏
宁夏
新疆
其他
其他
展开
 
全部
武汉
黄石
十堰
宜昌
襄阳
鄂州
荆门
孝感
荆州
黄冈
咸宁
随州
恩施土家族苗族自治州
仙桃
潜江
天门

湖北武汉有色金属复合材料技术理论与应用

免费发布技术信息>>
淀粉/疏水性高分子复合材料的相容剂

亲水性淀粉和疏水性高分子是不相容的,两者的复合材料的力学性能随淀粉含量的增加而迅速降低,最终导致复合材料在应用中受到很大的限制。所以,有效地解决淀粉和疏水性高分子之间的相容性问题是淀粉/疏水性高分子复合材料领域的一个技术关键点。本发明公开了一种淀粉/疏水性高分子复合材料的相容剂。该相容剂是一种两亲性淀粉。这种两亲性淀粉是由淀粉、水和聚氨酯预聚体在挤出机或密炼机中固相反应而成。本发明实验证明该相容剂可提高复合材料的相容性并改善材料的力学性能,从而有效地解决了淀粉/疏水性高分子复合材料相容性问题。该相容剂可以混配到淀粉/疏水性高分子复合材料中制备高性能和低成本的塑料粒料。

标签:
复合材料
湖北 - 武汉 来源:中冶有色网 2023-03-18
复合材料壳板和钢构架的连接结构及其连接方法

本发明公开了一种复合材料壳板和钢构架的连接结构,包括钢构架、连接板条、螺母、螺栓、复合材料芯层、复合材料上面板、复合材料下面板和固定板,钢构架与连接板条固定连接,连接板条的底面上固定有螺母,连接板顶面上安装有固定板,固定板为铺设的多层玻璃纤维布通过灌注树脂硬化成型,螺栓穿过固定板后旋入螺母,复合材料上面板和复合材料下面板的端部均与固定板连接,固定板、复合材料上面板和复合材料下面板的玻璃纤维布在螺栓安装后通过一次灌注树脂后硬化形成整体。本连接结构可实现复合材料壳板与钢构架的牢固连接,保证结构在长期使用环境中具有足够强度和刚度,有效抑制了结构振动。

标签:
复合材料
湖北 - 武汉 来源:中冶有色网 2023-03-18
S型异质结的Bismuthene/CsPbBr3量子点复合材料及其制备方法和应用

本发明涉及一种S型异质结的Bismuthene/CsPbBr3量子点复合材料及其制备方法和应用。采用PbBr2溶于十八烯中,分别加入油酸和油胺,得到前驱体溶液,再将铋烯分散液倒入前驱体溶液中,升温后快速加入乙酸铯发生反应后,冷却至室温,然后分别用正己烷和叔丁醇离心清洗,得到Bismuthene/CsPbBr3量子点复合材料。通过原位生长法制备Bismuthene/CsPbBr3量子点复合材料,零维CsPbBr3量子点与二维铋烯紧密结合,形成S型异质结结构,能够有效抑制光生电子—空穴对的复合,保持催化剂的强还原能力,从而达到提高光催化转换CO2能力的目的。通过CO2光催化还原性能测试表明其能够有效提高CO2的转换能力。Bismuthene/CsPbBr3量子点复合材料的制备方法简单、成本低廉,复合材料具有优异的紫外—可见光及可见光照射下的CO2光催化转换能力。

标签:
复合材料
湖北 - 武汉 来源:中冶有色网 2023-03-18
高介电低损耗的石墨烯/聚甲基丙烯酸甲酯复合材料及其制备方法

本发明多功能聚合物复合材料领域,具体涉及一种高介电低损耗的石墨烯/聚甲基丙烯酸甲酯复合材料及其制备方法。首先采用改进的Hummers法制备氧化石墨烯,再通过细乳液聚合制备苯乙烯‑丙烯酸丁酯乳液,将氧化石墨烯分散液与其乳液用水合肼还原,得到石墨烯/苯乙烯‑丙烯酸丁酯复合材料,最后将其与聚甲基丙烯酸甲酯热压后制得石墨烯/聚甲基丙烯酸甲酯介电复合材料。本发明所述介电复合材料制备简单;仅加入微量的石墨烯,就能显著提高其介电常数,且有较低的介电损耗,其值在频率10000Hz处,低至0.049。

标签:
复合材料
湖北 - 武汉 来源:中冶有色网 2023-03-18
高黑度蓝相聚丙烯复合材料及其制备方法

本发明公开了一种高黑度蓝相聚丙烯复合材料及其制备方法。所述高黑度蓝相聚丙烯复合材料包括以下重量份的组分:聚丙烯60~90份、增韧剂1~15份、矿物填充剂1~15份、成核剂0.05~1.0份和复配着色剂0.5~3.5份,所述复配着色剂包括黑种和蓝色母粒。本发明通过调整各组分的搭配以及挤出工艺,在保持聚丙烯复合材料良好的力学性能的基础上,提高了聚丙烯复合材料的黑度和蓝相,有效解决了增韧剂和成核剂的添加影响聚丙烯复合材料的着色效果的问题。

标签:
复合材料
湖北 - 武汉 来源:中冶有色网 2023-03-18
三维氮掺杂石墨烯复合材料及其制备方法和应用

本发明公开了一种三维氮掺杂石墨烯复合材料及其制备方法和在电化学生物传感中的应用。本发明借助三维氮掺杂石墨烯高比表面积、良好的生物相容性、高导电率的特性,构造三维氮掺杂石墨烯复合材料,首先以泡沫材料为基底,在含惰性气体、氢气及碳源与氮源条件下,利用化学气相沉积方法(CVD法),得到含基底的三维氮掺杂石墨烯;然后对三维氮掺杂石墨烯进行刻蚀、清洗处理得到三维氮掺杂石墨烯复合材料。将三维氮掺杂石墨烯与酶/非酶材料进行复合,得到相应的三维氮掺杂石墨烯复合材料;将这些三维氮掺杂石墨烯复合材料制成电极,对葡萄糖、多巴胺、扑热息痛等多种分子的检测,具有电流相应灵敏度高、稳定性好、应用范围广的特点。

标签:
复合材料
湖北 - 武汉 来源:中冶有色网 2023-03-18
阻燃PA6/PBT复合材料及其制备方法

本发明涉及一种阻燃PA6/PBT复合材料及其制备方法,该复合材料原料组成如下:PA6 50‑60%、PBT 12‑20%、相容剂5‑10%、阻燃剂20‑25%、成炭剂2‑5%、阻燃协效剂1‑3%。其制备方法为:将原料PA6、PBT、相容剂、阻燃剂、成炭剂、阻燃协效剂按比例称取后放入高混机中混合3‑5分钟,然后将混合均匀的原料放入双螺杆挤出机挤出成型得到阻燃PA6/PBT复合材料。本发明选用MPP和三嗪类大分子成炭剂IFR‑TCA以及4A分子筛对PA6/PBT复合材料进行改性,使得所制备的PA6/PBT复合材料具有优良的阻燃效果和抗冲击性能。

标签:
复合材料
湖北 - 武汉 来源:中冶有色网 2023-03-18
牙根管填充用磷酸钙镁复合材料及其制备方法

本发明提供一种牙根管充填用磷酸钙镁复合材料,所述复合材料由固相组分和液相组分组成。所述固相组分由磷酸钙盐、氧化镁、可溶性磷酸氢盐与碘仿的混合物,所述液相组分由糖、磷酸氢盐与柠檬酸的水溶液。本发明还提供一种制备上述复合材料的方法。在上述复合材料中,液相组分中的糖的凝胶作用及与固相组分中的无机离子的螯合作用可改善复合材料的可注射性和抗溃散性,水化反应所产生的磷酸镁具有较强的粘合力,可促进根充材料与根管壁的粘结强度,避免产生渗漏,碘仿既可使X线阻光度增强又能消炎提高根管治疗的疗效。

标签:
复合材料
湖北 - 武汉 来源:中冶有色网 2023-03-18
一维多孔核壳结构氮掺杂碳包覆一氧化锰复合材料及制备方法

本发明涉及一维多孔核壳结构氮掺杂碳包覆一氧化锰复合材料及其制备方法。该复合材料中掺杂有氮,为一维多孔碳包覆一氧化锰核壳结构,一氧化锰呈纳米棒状结构,一氧化锰纳米棒的外层包覆有无定形碳层。本发明采用原位聚合物包覆法辅以煅烧得到氮掺杂碳包覆一氧化锰多孔复合材料,该复合材料制备方法简单新颖、可调节性强;同时,氮掺杂碳也能够存储锂离子,这种巧妙的设计使复合材料比容量超过一氧化锰的理论比容量;另外,该复合材料解决了纯一氧化锰材料导电性差、体积应变大所带来的容量低、衰减快的问题,使得复合材料具有优异的电化学性能、循环寿命和结构稳定性。

标签:
复合材料
湖北 - 武汉 来源:中冶有色网 2023-03-18
兼具阻燃性与导热性的复合材料及其制备方法

本发明公开了一种兼具阻燃性与导热性的复合材料及其制备方法,其中,该复合材料包括阻燃型石墨烯、导热填料、以及环氧树脂基材,是由阻燃型石墨烯与导热填料协同增强导热性能和阻燃性能的环氧树脂基复合材料;其中,阻燃型石墨烯占该复合材料的0.5~5wt%,导热填料占该复合材料的10~70wt%;阻燃型石墨烯为还原氧化石墨烯、有机阻燃剂改性的还原氧化石墨烯中的至少一种。本发明通过对聚合物基导热复合材料内关键的添加剂的结构、组成及添加量、添加工艺等进行改进,与现有技术相比能够有效解决添加有阻燃剂的聚合物基导热复合材料其力学性能、热性能及加工流动性差的问题。

标签:
复合材料
湖北 - 武汉 来源:中冶有色网 2023-03-18
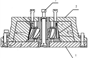
复合材料推进器模压模具及其产品

本发明公开了一种复合材料推进器模压模具,包括盖板及设于所述盖板上的外模,所述模具还包括大端盖、小端盖、骨架模及单元模,所述大端盖、小端盖结构相匹配,均包括多层圆柱体结构,所述骨架模包括前骨架芯模、骨架斜块及后骨架芯模,所述单元模包括前芯模、芯模斜块及后芯模。本发明还公开了一种复合材料推进器。本发明的复合材料推进器的模压模具,其通过多组骨架模组合后形成的模腔进行预浸料模压成型获得推进器的胚模,并利用多组单元模组合后形成的模腔在胚模表面继续铺贴预浸料,再次模压成型制造得到复合材料推进器,既能保证复合材料推进器的结构强度,又能保证其型面精度,同时解决了复合材料推进器制造精度不高及结构强度不足等问题。

标签:
复合材料
湖北 - 武汉 来源:中冶有色网 2023-03-18
从薄膜复合材料中分离出薄膜的方法

本发明具体涉及一种从薄膜复合材料中分离出薄膜的方法。其技术方案是:先将薄膜复合材料的一个平面用密封胶密封,再将另一平面用砂纸打磨至露出基体平面,得到待分离的薄膜复合材料;然后在室温条件下,将待分离的薄膜复合材料浸入腐蚀液中进行腐蚀,每隔20~30分钟用酒精冲洗,继续进行腐蚀,重复此操作,直至基体被腐蚀液完全腐蚀溶解露出整个薄膜为止;再取出薄膜,清洗,即从薄膜复合材料中分离出薄膜。其中:薄膜复合材料的基体材料为不锈钢薄板,表面薄膜为高温氧化生成的氧化膜;密封胶是耐酸性的环氧树脂AB胶;腐蚀液是浓度为30~90%的盐酸溶液。本发明具有能缩短分离薄膜时间、分离过程简单、便于观测、易于操作和成本低的特点。

标签:
复合材料
湖北 - 武汉 来源:中冶有色网 2023-03-18
纳米碳管/环氧树脂复合材料及其制备方法

本发明涉及一种纳米碳管/环氧树脂复合材料及其制备方法。采用的技术方案是:以纳米碳管、酚醛型环氧树脂和#593固化剂为原料,添加0.01~10.0wt%纳米碳管,其余为环氧树脂和固化剂。纳米碳管是采用CVD法制备而成的,直径为10~50nm,长度为1~500μm,纯度为85~95%。环氧树脂为酚醛型环氧树脂,分子量为900~1100。制备的复合材料为块体材料。本发明将纳米碳管均匀分散在环氧树脂基体中,达到增强增韧环氧树脂基体材料的目的。获得了力学性能优异、兼具防静电、导电、电磁屏蔽、微波吸收功能的复合材料。而且材料制备工艺简单、成本低廉、易于实现。

标签:
复合材料
湖北 - 武汉 来源:中冶有色网 2023-03-18
可部分降解的宫内节育器用复合材料

本发明公开了一种可部分降解的宫内节育器用复合材料,包含有铜粒子、低密度聚乙烯和可降解生物材料,可降解生物材料的重量百分比为宫内节育器复合材料总重量的0.5-30%(优选值为5.0-20%),该可降解生物材料为聚乳酸、聚乙交酯和聚乙丙交酯三者中的任一种。这种宫内节育器用复合材料所制备的复合材料IUD,在其中铜粒子含量保持不变的情况下,既可降低置入初期的Cu2+释放速率,又可提高置入后期的Cu2+释放速率,进而减轻该复合材料所制备的复合材料IUD在置入初期所引起的疼痛和出血等副反应并能有效延长该复合材料IUD的使用寿命。?

标签:
复合材料
湖北 - 武汉 来源:中冶有色网 2023-03-18
原位合成ZrN增强铜基复合材料及其制备方法和应用

本发明提供了一种原位合成ZrN增强铜基复合材料的制备方法,首先将锆粉在氮气气氛下进行球磨,得到ZrN前驱体;然后将ZrN前驱体和纯铜粉进行湿法球磨,得到混合物;将得到的混合物依次进行干燥、冷压成型、烧结和煅压处理,得到原位合成ZrN增强铜基复合材料。本发明还提供了上述制备方法得到的原位合成ZrN增强铜基复合材料。本发明还提供了由上述制备方法制备得到的原位合成ZrN增强铜基复合材料作为点焊电极材料的应用。本发明提供的方法有效提高了ZrN增强铜基复合材料的硬度和耐磨性能。实施例的结果表明,本发明所述方法制备得到的ZrN铜基复合材料的硬度均高于180HV,电极寿命可达2650点。

标签:
复合材料
湖北 - 武汉 来源:中冶有色网 2023-03-18
无卤阻燃聚丙烯复合材料及其制备方法

本发明公开了一种无卤阻燃聚丙烯复合材料及其制备方法,包括如下组分:聚丙烯28份‑58份;改性的碱式碳酸镁40份‑70份;聚乙二醇1份‑5份。本发明通过将特定含量的改性的碱式碳酸镁以及特定含量的聚乙二醇添加到聚丙烯基体树脂中,改性的碱式碳酸镁作为无卤阻燃剂,生产成本低,且安全环保,而聚乙二醇在复合材料中既可作为分散剂使得改性的碱式碳酸镁在聚丙烯基体树脂中分散更均匀,又可以作为润滑剂改善复合材料的流动性能,还能提高复合材料的韧性,从而使得制备得到的无卤阻燃聚丙烯复合材料力学性能、流动性能、阻燃性能均较优异;且本发明的无卤阻燃聚丙烯复合材料的工艺简单,操作方便,适于大规模量产。

标签:
复合材料
湖北 - 武汉 来源:中冶有色网 2023-03-18
聚苯胺修饰的球形碳硫复合材料及其制备方法

本发明涉及一种聚苯胺修饰的球形碳硫复合材料及其制备方法,所述复合材料包括硫碳纳米球和聚苯胺,硫碳纳米球由碳球和均匀分布在碳球中的硫组成,一部分聚苯胺修饰在硫碳纳米球表面,还有一部分进入硫碳纳米球内部与内部的硫交联。其制备方法为:1)制备活化胶体碳球;2)制备碳硫纳米球:将活化胶体碳球加入含Na2S2O3的溶液中,混合均匀后于20~90℃反应,所得产物洗涤离心处理并在氮气或氩气气氛下于100~300℃处理即得到;3)制备复合材料:将碳硫纳米球分散于盐酸溶液中,再加入苯胺于-5~20℃反应,最后于250℃处理1h即得到。本发明所制备的电池表现出优越的循环性能和倍率性能。

标签:
复合材料
湖北 - 武汉 来源:中冶有色网 2023-03-18
铁氧体纳米颗粒嵌入反铁磁氧化物母体的复合材料及制备方法

一种铁氧体纳米颗粒嵌入反铁磁氧化物母体的复合材料及其制备方法,其制备方法包括:A.配置金属离子混合溶液;B.将碳酸氢氨水溶液加入到上述金属离子混合溶液中,形成沉淀;C.将沉淀过滤和洗涤后,干燥直至得到干燥的粉体;D.将粉体空气中高温烧结,从而形成铁氧体纳米颗粒嵌入反铁磁氧化物母体的复合材料。本方法制备出的铁氧体纳米颗粒嵌入反铁磁氧化物母体的复合材料具有磁交换偏置效应。

标签:
复合材料
湖北 - 武汉 来源:中冶有色网 2023-03-18
含金属颗粒的树脂基复合材料的制备方法

本发明涉及到金属颗粒填充的树脂基复合材料的制备方法。一种含金属颗粒的树脂基复合材料的制备方法,其特征在于它包括如下步骤:1)将干燥的金属粉末和表面改性剂以及溶剂进行混合,并在80~150℃、惰性气体保护下加热回流,形成悬浮液;2)对悬浮液进行分级获得含单一粒径颗粒的悬浮液,抽滤含单一粒径颗粒的悬乳液,获得单一粒径的改性金属粉末;3)将步骤2)的改性金属粉末加入树脂基体中,加入触变剂和固化剂,利用真空搅拌器和超声波震荡装置同时进行搅拌和震荡;4)混合后,倒入模具中浇注成型,经过固化工艺后获得含金属颗粒的树脂基复合材料。该方法具有金属颗粒分散效果好、可防止金属颗粒的二次团聚现象的特点。

标签:
复合材料
湖北 - 武汉 来源:中冶有色网 2023-03-18
内生多孔钛增强镁基非晶复合材料及其制备方法

本发明属于非晶合金复合材料技术领域,具体公开了一种内生多孔钛增强镁基非晶复合材料及其制备方法,该复合材料的组成表达式为(Mg0.595Cu0.229Gd0.11Ag0.066)100‑xTix,其中5≤x≤15,所述表达式中的比例为原子比;所述复合材料中的基体为镁基非晶合金,所述镁基非晶合金包括Mg、Cu、Gd和Ag元素;所述复合材料中的增强相为内生多孔Ti颗粒,所述多孔Ti颗粒均匀分散在所述基体中,且所述基体充分填充所述多孔Ti颗粒的孔隙,所述多孔Ti颗粒的孔隙尺寸为亚微米级或纳米级。本发明中复合材料的第二相尺寸可达到亚微米级,接近镁基非晶合金塑性加工区域尺寸,能够发挥更好的强韧化效果。

标签:
复合材料
湖北 - 武汉 来源:中冶有色网 2023-03-18
重构多组分复合材料的离散元建模方法及应用

本发明属于复合材料重构相关技术领域,其公开了一种重构多组分复合材料的离散元建模方法及应用。该方法包括:获取待重构多组分复合材料的颗粒形貌以及内部晶体结构,针对不同的晶体形貌生成对应的晶体模板;基于所述颗粒的形貌重构颗粒的表面网格,并生成包围所述表面网格的球体;在球体内生成晶体模板;获取每一晶体模板的顶点信息并存储与对应数组中;在球体内重新填充多个球单元,判断该球单元是否在晶体模板内,若在则删除,否则保留;以颗粒的形貌为目标进行压缩得到重构的颗粒,依此方式重构组成多组分复合材料的所有颗粒,然后将获得的所有颗粒自然堆积即获得重构的多组分复合材料。本申请能够真实模拟出多组分复合材料的微观结构。

标签:
复合材料
湖北 - 武汉 来源:中冶有色网 2023-03-18
用蓝晶石合成堇青石-莫来石复合材料的方法

本发明涉及一种用蓝晶石合成堇青石-莫来石复合材料的方法。其技术方案是:将60~80wt%的蓝晶石和20~40wt%的滑石装入球磨罐中,球磨3~5h,过180目筛,得到混合料;将混合料和蒸馏水按质量比为1︰(0.03~0.04)混合均匀,睏料48~72h,机压成型;然后在100~120℃条件下干燥12~24h,在1220~1370℃条件下保温2-6h,随炉冷却,即得堇青石-莫来石复合材料。本发明具有成本低、烧成温度低和转化率高的特点,所合成的堇青石-莫来石复合材料杂质相少、体积密度较大和耐压强度高。

标签:
复合材料
湖北 - 武汉 来源:中冶有色网 2023-03-18
聚乙烯基咔唑/石墨烯复合材料及其合成方法和用途

本发明涉及聚乙烯基咔唑/石墨烯复合材料及其合成方法和用途,包括由下述反应得到的产物:先从天然石墨氧化得到氧化石墨,再将可引发可逆加成-断裂链转移聚合基团接枝到氧化石墨表面,再利用引发基团引发N-乙烯基咔唑在氧化石墨表面上的聚合反应,最后采用不同的还原剂还原得到聚乙烯基咔唑/石墨烯复合材料。本发明的显著特点是:表面引发可逆加成-断裂链转移聚合的条件简单,容易操作,可以将聚乙烯基咔唑通过共价键牢固的结合在石墨烯表面,还可实现高分子分子量及分子量分布的可控合成,在一定程度上有效改善了两种材料的相容性;复合材料的载流子传输性能得到提高,在光电信息材料领域有较好的应用前景和经济效益。

标签:
复合材料
湖北 - 武汉 来源:中冶有色网 2023-03-18
基于光纤光栅传感的复合材料胶接接头的损伤监测方法

本发明提出基于光纤光栅传感的复合材料胶接接头的损伤监测方法,将光纤光栅传感器埋入复合材料胶接接头内,胶接接头损伤过程中光纤光栅传感器的反射光谱会发生变化,本发明利用光谱仪测出复合材料胶接接头处的反射光谱,然后利用遗传算法将测得的反射光谱进行重构,得到复合材料胶接接头处的应变分布,最后与有限元分析得到的复合材料胶接接头被粘物的应变分布变化与胶层损伤演化的映射关系模型进行对比,进而判断复合材料胶接接头是否出现损伤。本发明可实现复合材料胶接区非均匀应变的测量,增加了复合材料胶接接头部位损伤监测的精确性。

标签:
复合材料
湖北 - 武汉 来源:中冶有色网 2023-03-18
一类类流体无机纳米粒子与聚合物的复合材料及制备

本发明提供公开了一类类流体无机纳米粒子与 聚合物的复合材料及制备方法。该复合材料由体积份比的m份 类流体纳米粒子和100-m份热塑性聚合物,在熔化温度±20 ℃一次成型混合而 成,其中0<m≤10,所述的聚合物包括聚氯乙烯、聚乙烯、 聚丙烯、聚苯乙烯、尼龙和聚酯,所述的无机纳米粒子包括纳 米碳酸钙、纳米二氧化硅和纳米二氧化钛。这类复合材料由于 类流体无机纳米粒子在没有溶剂存在下,表现出类液体行为, 与聚合物复合,类流体无机纳米粒子对聚合物同时具有增韧、 增强和增塑作用,显著地提高了聚合物的抗冲击强度和拉伸强 度,这类复合材料特别适用于制备透明片材和薄膜。

标签:
复合材料
湖北 - 武汉 来源:中冶有色网 2023-03-18
具有多层次梯度结构的功能梯度铝基复合材料及其制备方法

本发明公开了一种具有多层次梯度结构的功能梯度铝基复合材料,包括变形铝合金层和铝基复合材料层,所述铝基复合材料层以析出强化类铝合金为基体,以碳化硼为增强相,所述铝基复合材料层有多层,每层铝基复合材料层中碳化硼的含量不同,且碳化硼的含量梯度增加,每层碳化硼的含量低于对应铝基复合材料层质量的20%。本发明还包括一种具有多层次梯度结构的功能梯度铝基复合材料的制备方法。本发明采用电场辅助烧结技术,利用直流脉冲电流的加压烧结方法,可实现低温快速烧结,获得细小、均匀的组织;烧结体致密度较高,力学性能较好。

标签:
复合材料
湖北 - 武汉 来源:中冶有色网 2023-03-18
纤维增强复合材料层合板结构边缘与金属件的连接结构

本实用新型公开了一种纤维增强复合材料层合板结构边缘与金属件的连接结构,金属件位于纤维增强复合材料层合板结构边缘处,在金属件的连接面上开设有燕尾式U型槽,金属件的连接面与纤维增强复合材料层合板下铺层之间采用胶接连接,纤维增强复合材料层合板下铺层填入金属件的燕尾式U型槽中,与其内壁胶接成型,纤维增强复合材料层合板下铺层伸入燕尾式U型槽内的间隙处用填充材料填实,外表面被打磨平整,纤维增强复合材料层合板的其余铺层依次铺设在下铺层之上。本实用新型可以保证复合材料层合板边缘与钢结构之间的连接强度和完整性,和连接处的紧密连接要求,适用于所有纤维增强复合材料层合板结构边缘与金属件的端部水密坚固连接。

标签:
复合材料
湖北 - 武汉 来源:中冶有色网 2023-03-18
基于1‑3型水泥基压电复合材料的剪应力传感器及制备方法

本发明公开了一种基于1‑3型水泥基压电复合材料的剪应力传感器及制备方法,该剪应力传感器包括1‑3型水泥基压电复合材料元件,以及1‑3型水泥基压电复合材料元件外依次包覆的封装层、屏蔽层;1‑3型水泥基压电复合材料元件的正极和负极均通过导线引出至屏蔽层外与屏蔽线相连,屏蔽线连接屏蔽层。该元件包括水泥基压电复合材料主体和电极,其中,水泥基压电复合材料主体由压电陶瓷柱构成的压电陶瓷柱阵列和充填于压电陶瓷柱间的水泥基材构成;压电陶瓷柱阵列是通过对极化后的压电陶瓷块切割获得,切割方向与压电陶瓷块极化方向垂直。本发明传感器灵敏度高、频带响应宽、抗干扰效果好,且与混凝土结构相容性好,可用于混凝土结构健康监测。

标签:
复合材料
湖北 - 武汉 来源:中冶有色网 2023-03-18
碳纳米管增强铝基复合材料的熔炼工艺

本发明提供一种碳纳米管增强铝基复合材料的熔炼工艺,将熔炼助剂、碳纳米管、铝/铝合金粉末在行星球磨机中进行球磨混合分散,得到混合粉末;将混合粉末放入模具中冷压,获得碳纳米管‑铝/铝合金预制块;通过钟罩将碳纳米管‑铝/铝合金预制块压入铝熔液中,在搅拌下进行熔炼,静置后浇铸成型,所述熔炼助剂为硼铝酸钾(KBF4)、钛氟铝酸钾(K2TiF6)、氟铝酸钾(K3AlF6)或氟铝酸钠(Na3AlF6)中的任意一种。本发明的碳纳米管增强铝基复合材料熔炼工艺,采用熔炼工艺制备碳纳米管增强铝基复合材料,实现了熔炼过程中碳纳米管的高效分散,且可沿用传统金属冶炼设备,具有工艺简单、投资少、产品强度高等特点,适用于工业化批量生产。

标签:
复合材料
湖北 - 武汉 来源:中冶有色网 2023-03-18
聚苯胺-Fe3O4纳米复合材料及其制备方法

一种聚苯胺-Fe3O4纳米复合材料及其制备方法, 涉及有机-无机纳米复合材料。本发明提供了一种导电铁磁性有机聚合物-无机纳米复合材料及其制备技术。其方法是将聚苯胺粒子含Fe2+和Fe3+的混合铁盐溶液中浸泡一定时间后, 边搅拌边滴入碱溶液至适当的pH值, 然后搅拌一定时间制备出聚苯胺-FGe3O4纳米复合粒子。该纳米复合粒子, 如果与介电油混合可组成电磁流变液; 如果进一步经有机酸掺杂, 则能制备出巨磁电阻纳米复合膜。

标签:
复合材料
湖北 - 武汉 来源:中冶有色网 2023-03-18
上一页 88 89 90 91 92 ... 100 下一页
共100页    到第

中冶有色为您提供最新的湖北武汉有色金属复合材料技术理论与应用信息,涵盖发明专利、权利要求、说明书、技术领域、背景技术、实用新型内容及具体实施方式等有色技术内容。打造最具专业性的有色金属技术理论与应用平台!

全国热门有色金属设备推荐
展开更多 +
全国热门有色金属技术推荐
展开更多 +

 

江西省隆恩特环保设备有限公司
宣传

报名参会
更多+

报告下载

有色专家
更多+

太原理工大学
院长/教授
江西理工大学
副校长/教授
中国矿业大学(北京)
院长/教授
北京科技大学
副院长/教授
郑州大学
副校长
赤泥综合利用研究报告2025
推广

热门技术
更多+

推荐企业
更多+

福建省金龙稀土股份有限公司
宣传

发布

在线客服

公众号

电话

顶部
咨询电话:
010-88793500-807