青岛垚鑫智能科技有限公司
宣传

位置:中冶有色 >

有色技术频道 >

> 复合材料技术

分类:
全部
矿山技术
冶金技术
材料制备及加工技术
环境保护技术
分析检测技术
 
全部
功能材料技术
复合材料技术
新能源材料技术
合金材料技术
加工技术
地区:
全部
北京
天津
上海
重庆
河北
山西
辽宁
吉林
黑龙江
江苏
浙江
安徽
福建
江西
山东
河南
湖北
湖南
广东
海南
四川
贵州
云南
陕西
甘肃
青海
内蒙
广西
西藏
宁夏
新疆
其他
其他
展开
 
全部
南京
无锡
徐州
常州
苏州
南通
连云港
淮安
盐城
扬州
镇江
泰州
宿迁

江苏苏州有色金属复合材料技术理论与应用

免费发布技术信息>>
增强塑料渡排浮管
增强塑料渡排浮管 1199     
 0

增强塑料渡排浮管是一种以树脂为基体,以玻璃纤维为增强材料的复合材料制品,用这种浮管组合成的渡排,可以代替杉木渡排,广泛应用于木材水上储存、运输作业,本实用新型是以塑代木的一项具体实践应用。本实用新型的技术方案,主要以泡沫塑料筒体作内芯、环氧玻璃纤维布作隔离层,预应力钢筋和玻璃纤维束作纵向龙筋,以聚酯树脂玻纤布层为主体,外敷防水胶衣层制作而成。

标签:
复合材料
江苏 - 苏州 来源:中冶有色网 2023-03-18
无卤阻燃热塑性聚氨酯电缆护套

本实用新型公开了一种无卤阻燃热塑性聚氨酯电缆护套,包括导体,其特征在于:导体外设置有电缆护套。进一步地说:所述电缆护套是由无卤阻燃热塑性聚氨酯材料制成的。所述导体平行纵放。本实用新型阻燃效果极佳,且柔韧性、弹性和耐寒性均有了很大的提高,能够适应高温和低温,适用范围宽。本实用新型的无卤阻燃热塑性聚氨酯由磷系阻燃剂加无机阻燃粉与TPU树脂共混挤出成的复合材料,生产工艺简单,且无污染。

标签:
复合材料
江苏 - 苏州 来源:中冶有色网 2023-03-18
彩膜复合装置
彩膜复合装置 796     
 0

本实用新型涉及复合材料生产设备技术领域,具体的说是一种彩膜复合装置,包含支撑架、复合辊、新增复合辊,所述支撑架为对称设计安装,在支撑架中间安装有复合辊,在复合辊的前部还安装有新增复合辊,通过采用增加复合辊设计,在原来复合辊进行工作的同时可以将新增复合辊进行同步运行,可以完成新产品的同步复合,或者可以同步进行第二次复合,大大提高了工作效率,降低了企业生产成本,有非常好的效果。

标签:
复合材料
江苏 - 苏州 来源:中冶有色网 2023-03-18
应急药戒
应急药戒 882     
 0

本实用新型为应急药戒,属于一种医疗辅助用品。是由无毒塑料、玻璃、有机玻璃、金属等单一或复合材料制成的戒指形贮药装置。其戒面部可为多种形状的微形药盒,盒盖可为全封、横插等式,能迅速开启。盒面有红“+”字标志。戒体为实心形或空心形,其空心形者,可辅助贮放“片”剂以外的药品。戒面与戒体结合可为沟通、连结、横插等式。贮药后密封。

标签:
复合材料
江苏 - 苏州 来源:中冶有色网 2023-03-18
具有耐蚀耐压功能的储罐

本实用新型涉及一种储罐,具体为一种具有耐蚀耐压功能的储罐。该储罐由内向外依次包括PP内胆、热敷在PP内胆外表面的机织布、以及缠绕在机织布外表面的FRP。本实用新型的制作方法是在用PP制作的板材表面上热敷一层机织物,形成具有一层机织物的PP板,用这种板材先制成厚度不大的圆筒,再和表面也热敷有机织物的两个封头用塑料焊接设备分别焊接在筒节两端,成为一个厚度不大的储罐。再将其放在FRP设备缠绕机上,在其外表面上缠绕浸有树脂的纤维束或纤维布,达到要求的厚度,即成为具有耐腐蚀性能好的PP内层,又有耐压强度高的FRP外层的复合材料储罐。该储罐具有良好的耐蚀耐压性能,是储存各种化工介质尤其是盐酸的理想设备。

标签:
复合材料
江苏 - 苏州 来源:中冶有色网 2023-03-18
能够更换齿牙的齿轮
能够更换齿牙的齿轮 1157     
 0

本实用新型公开了一种能够更换齿牙的齿轮,涉及五金技术领域,旨在解决较大齿轮的齿牙磨损后不易更换的问题,其技术方案要点是:包括外环和转动连接在其内部的内环,外环上开设有若干个开口朝向其中心轴线设置的通槽一,内环上开设有开口朝向其中心轴线设置的通槽二,通槽二与通槽一连通,若干个通槽一内可拆卸连接有从通槽二内穿入的齿牙,齿牙的底面与内环的外周壁相抵,外环与内环之间的摩擦力与通槽一内齿牙的数量成正比。本实用新型能够对较大齿轮的齿牙进行更换的同时利用金属基陶瓷复合材料制成的外环让齿轮本体更加耐用。

标签:
复合材料
江苏 - 苏州 来源:中冶有色网 2023-03-18
耐高压球囊及球囊扩张导管

本实用新型提供了一种耐高压球囊及球囊扩张导管,目的是解决现有球囊扩张手术中需要多次更换球囊扩张导管从而增加手上风险的技术问题。该耐高压球囊,由多层复合材料成型,包括:由聚己二酰己二胺(PA66)形成的表层;由聚十二内酰胺(PA12)形成的中间层和由嵌段聚醚酰胺(Pebax7233)形成的内层。球囊扩张导管,包括导管座和外管,所述外管一端固定于所述导管座的内部,所述外管另一端插入耐高压球囊内腔,所述外管内腔内设有内管,所述内管与所述导管座固定连接。该球囊能够按照预期的压力达到预期的扩张直径,球囊扩张导管上能同时预扩和扩张,有效降低了医生的手术时间,降低手术风险,同时球囊可以多次扩张使用,有效降低成本。

标签:
复合材料
江苏 - 苏州 来源:中冶有色网 2023-03-18
高强度的生物降解复合膜

本实用新型涉及复合材料技术领域,具体为一种高强度的生物降解复合膜,包括第一防水层,所述第一防水层的下方固定连接有抗拉伸层,所述抗拉伸层的内部设置有抗拉伸条带,所述抗拉伸层的下方固定连接有气密层,所述气密层的下方固定连接有耐热层,所述耐热层的下方固定连接有第二防水层。本实用新型的优点在于:可以对液体如水、气体如二氧化碳、氧气等均实现较好的隔离效果,对产品进行良好的保护,防止产品受潮或氧化,通过设置由无机纳米粒子制成的抗拉伸层以及抗拉伸层内由环氧树脂制成的抗拉伸条带,在不影响膜体透光性的情况下可以直接防止膜体发生大面积形变,避免了水体渗透的同时提高了膜体内部的抗压性和抗拉伸性。

标签:
复合材料
江苏 - 苏州 来源:中冶有色网 2023-03-18
用于电子产品防锈纸纸塑湿热分离装置

本实用新型公开了一种用于电子产品防锈纸纸塑湿热分离装置,具体涉及纸塑复合材料分离技术领域,包括水浴分离筒,所述水浴分离筒内壁底部通过螺栓固定安装有电加热管,所述水浴分离筒内壁转动套有对称分布的两个导向辊,两个所述导向辊外壁之间接触有防锈纸体;本实用新型分离后的碎纸液经过滤网架的过滤后排入到收集箱内进行暂时存储,振动电机运行后会对滤网架进行振动,从而防止碎纸屑堵住滤网架的滤孔,起到防堵塞的作用,一边振动一边过滤还可提高滤网架对碎纸液的过滤效果,水泵还将收集箱内的高温水再次导入水浴分离筒内,充分利用循环热水,有效降低电耗,同时循环用水量小,提高了装置的实用性。

标签:
复合材料
江苏 - 苏州 来源:中冶有色网 2023-03-18
高性能应答器数据传输电缆

本实用新型创造提供了一种高性能应答器数据传输电缆,包括缆芯及由内至外依次包覆在缆芯外侧的缆芯包带层、隔热层、铝护套、内衬层、铠装层以及外护套;所述缆芯由2根或4根绝缘单线绞合而成,所述绝缘单线包括内导体,在内导体外侧由内至外依次包覆有内绝缘层、外导体及外绝缘层;所述外导体采用粉末冶金加工成型的镍银复合材料制成。本电缆具有绝缘电阻高、电容小、阻抗低、衰减小等性能,外导体既作为传输导线,又具有屏蔽作用,可提高电缆的屏蔽性能,传输性能极佳。采用发泡纳米二氧化硅绝缘作为绝缘单线的外绝缘层,提高了电缆的绝缘电阻,减小电缆工作电容,使电缆具有优越的耐辐射、抗腐蚀、抗磨等性能。

标签:
复合材料
江苏 - 苏州 来源:中冶有色网 2023-03-18
纤维条导向装置
纤维条导向装置 1145     
 0

本实用新型涉及复合材料板制造领域,具体涉及一种纤维条导向装置,包括输送台、与所述输送台的末端相连并沿垂直方向设置的固定板、以及与所述固定板可拆卸的固定相连的导向台,所述导向台上间隔设有若干安装孔,每个所述安装孔中一一对应的设有导向管,所述导向管的上端固定设于所述安装孔内,采用以上技术方案后,纤维条从输送台穿过导向台上的导向管向外均匀引出,可以有效避免纤维条之间的缠绕打结,从而被均匀的切割。

标签:
复合材料
江苏 - 苏州 来源:中冶有色网 2023-03-18
路灯
路灯 983     
 0

本实用新型涉及一种路灯,包括灯杆、灯座、灯泡、灯罩、反光镜;所述灯座设置在灯杆上,所述灯泡设置在灯座上;所述灯罩罩住灯泡,所述反光镜设置在灯罩内用于反射灯泡向上发射的灯光;所述反光镜与水平面成45°设置;所述反光镜使用的材料为高分子复合材料即超纤维膜;本实用新型的路灯在灯罩内设置反光镜,所述反光镜与水平面成45°设置,可充分的把灯泡向上发射的光线反射回地面,可以提高光线的利用效率,可节约能源。

标签:
复合材料
江苏 - 苏州 来源:中冶有色网 2023-03-18
耐腐蚀铜箔及铜箔胶带

本实用新型公开了一种耐腐蚀铜箔,包括铜层,在所述铜层相对的两侧均依次叠设有镀锌层、镀铬层和BTA层,12μm≤铜箔的厚度≤75μm;所述铜箔纯度≥99.8%。还公开了一种具有上述耐腐蚀铜箔的铜箔胶带。该铜箔导电性好,具有较强的耐腐蚀能力,可防止被纳米晶复合材料腐蚀。

标签:
复合材料
江苏 - 苏州 来源:中冶有色网 2023-03-18
油浸式变压器中用的固定装置

本实用新型公开了一种油浸式变压器中用的固定装置,一种油浸式变压器中用的固定装置,包括装置本体,所述装置本体由设置在装置本体一侧的上铁轭及设置在上铁轭侧面的连接柱构成,所述连接柱一侧设置有凹舱,所述凹舱一侧安装有连接座,连接座一侧通过连接索连接有伸缩杆,凹舱内侧面顶部与底部设置有滚轮组,该种油浸式变压器中用的固定装置,设有上铁轭滑槽,便于该固定装置与不同型号的油浸式变压器进行连接固定,提高了装置本体的实用性,复合材料承重板能够分担压力并对腐蚀有一定抗性,延长了使用寿命,对称放置的水平仪可以实现变压器平衡状态的监控以保证固定装置正常工作,提高了装置本体的实用性,在未来具有广泛的使用前景。

标签:
复合材料
江苏 - 苏州 来源:中冶有色网 2023-03-18
特种功能纤维布料用高速交叉式铺网机

一种特种功能纤维布料用高速交叉式铺网机,属于新型纤维及复合材料制备技术领域,包括铺网机台、铺网机架、铺网导向辊一、铺网导向辊二和铺网导向辊驱动装置,所述铺网导向辊一和铺网导向辊二位于铺网机台工作台面的正上方;其中,所述铺网导向辊驱动装置包括驱动组件、传动组件一、传动组件二和驱动铺网小车。本实用新型所述的特种功能纤维布料用高速交叉式铺网机,结构设计合理,此铺网机采用电机驱动转轴,从而带动传动单元中传动链条进行稳定的传动,传动链条带动导向块沿水平方向的往复移动,从而带动铺网小车往复移动,铺网小车进而带动铺网导向辊一和铺网导向辊二往复移动进行铺网,此结构工作稳定可靠,工作效率高,具有良好的应用价值。

标签:
复合材料
江苏 - 苏州 来源:中冶有色网 2023-03-18
消光耐高温离型膜
消光耐高温离型膜 916     
 0

本实用新型公开了一种消光耐高温离型膜,属于复合材料产品领域,包括三层:第一消光离型层、支撑层和第二消光离型层。所述的消光离型层为聚甲基戊烯类物质;所述消光离型层表面上设置有消光粒子;所述支撑层为耐高温物质;所述支撑层包含微观的结晶结构。有益之处在于:本实用新型的电子材料用消光耐高温离型膜为三层结构,消光离型层具有良好的离型和消光效果,支撑层具有良好的耐温性,在离型膜撕膜过程中不容易将膜撕破,能够使层压出来板材表面具有超低的消光效果,满足高档电子制品表面要求。

标签:
复合材料
江苏 - 苏州 来源:中冶有色网 2023-03-18
多材料混合喷头
多材料混合喷头 1113     
 0

本实用新型属于3D打印技术领域,公开了一种多材料混合喷头。包括:混合室,内部具有供材料混合的空腔,包括多个供料口和一个出料口;搅拌器,其包括相连接的驱动电机和搅拌叶轮,所述搅拌叶轮位于所述空腔内;快拧连接件,安装于所述供料口上,用以与供料装置连接;挤出头,安装于所述出料口上,用于安装喷嘴。该喷头可实现多材料高效均匀的混合,可控性强;能实现复合材料、功能梯度材料、变密度非均质材料的多材料、多尺度3D打印。

标签:
复合材料
江苏 - 苏州 来源:中冶有色网 2023-03-18
新型高效抗菌隔热复合垫

本实用新型涉及到复合材料技术领域,尤其涉及一种新型高效抗菌隔热复合垫。该新型高效抗菌隔热复合垫的聚乙烯隔热框架内设有上下两层填料填充腔,上下两层填料填充腔交错分布在聚乙烯隔热框架内,填料填充腔内为隔热纤维填料,这样通过隔热纤维填料的交错分布,极大的提高了垫的隔热效果,各层之间通过隔热丙烯酸胶粘剂粘贴固定进一步提高了隔热效果,最外侧的镀锌铝板层提高了垫的强度,同时镀锌铝板还具有抗菌的效果。

标签:
复合材料
江苏 - 苏州 来源:中冶有色网 2023-03-18
树脂添加装置
树脂添加装置 1028     
 0

本实用新型涉及复合材料板制造领域,具体涉及一种树脂添加装置,包括原料供应装置、与所述原料供应装置相连的配料桶、一端伸入所述配料桶中并用以对所述配料桶中的物料进行搅拌的搅拌装置、与所述搅拌装置的另一端相连的驱动装置、以及用以将混合均匀的物料传送至工作台表面的物料输送装置,所述树脂添加装置还包括设于所述配料桶下方用以调节所述配料桶高度的调节装置,所述调节装置包括固定座、设于所述固定座上的纵向立柱、调节螺柱、以及一端与所述立柱可转动相连另一端与所述调节螺柱螺纹连接的连接件,采用以上技术方案后,能将树脂添加过程中的加料、混料和送料等各工序连成一体,有效提高生产效率,且可使物料的搅拌更加均匀。

标签:
复合材料
江苏 - 苏州 来源:中冶有色网 2023-03-18
综合测温系统光缆
综合测温系统光缆 780     
 0

本实用新型公开了一种综合测温系统光缆,包括外护套、凯夫拉层、丝网复合管、光纤油膏、温感光纤;所述外护套为添加导热剂和阻燃剂的聚烯烃热塑性复合材料,所述丝网复合管是不锈钢丝与PBT的一体式复合管,不锈钢丝增加了导热性能,进而提高温感光纤的感温灵敏度;所述外护套与丝网复合管之间设有凯夫拉层,用于保持环境温度状态和增加抗拉强度;所述丝网复合管内填充的高导热率的光纤油膏和温感光纤;本新型采用小线径、高导热率外护套和光纤油膏,内置丝网复合管和温感光纤制造综合测温系统光缆,其温度响应速度快、抗拉强度高、热传导速度快,结构简单、使用寿命长。

标签:
复合材料
江苏 - 苏州 来源:中冶有色网 2023-03-18
具有局部焊接结构的电池模组极耳

本实用新型提供了一种具有局部焊接结构的电池模组极耳,其包括铝排,铝排上开设有第一焊接孔,铜排固定连接于铝排上,铜排上开设有第二焊接孔,第二焊接孔的位置对应第一焊接孔的位置,铝排和铜排通过焊接载体进行连接,焊接载体为多层结构,焊接载体包括至少一铝层和至少一铜层,铝层焊接于第一焊接孔内,铜层焊接于第二焊接孔内。设计本实用新型使用铜铝复合材料将铜排和铝排焊接在一起,避开了铜和铝直接焊接的难点,降低焊接成本。

标签:
复合材料
江苏 - 苏州 来源:中冶有色网 2023-03-18
纱架
纱架 759     
 0

本实用新型涉及复合材料板制造领域,具体涉及一种纱架,包括机架,所述机架包括设于两端的立柱以及设于立柱顶部的横梁,所述两立柱之间架设有位于横梁下方的支撑框架,所述支撑框架至少包含两根与横梁长度延伸方向一致并分布于横梁两侧横架,所述横架与横梁之间通过复数根支撑杆相连,所述支撑杆沿横梁长度延伸方向排布,所述每相邻两支撑杆之间可转动的设置若干纱团,所述两横架之间设有与横架长度延伸方向相垂直的导纱板,所述导纱板上排布有通纱孔,所述纱团的纱线通过导纱板上的通纱孔向外导出,采用以上技术方案后,该纱架结构简单,且兼具导纱功能,纱团更换方便,占用空间小,能有效防止纱线输送过程中的缠绕打结。

标签:
复合材料
江苏 - 苏州 来源:中冶有色网 2023-03-18
新型高压大功率冲击无感电阻

本实用新型公开了一种新型高压大功率冲击无感电阻,由单片电阻1、静触头支架、静触头支架2、静触头3、复合材料绝缘子4、支撑基架5、气动闸刀6、动触头7、编织电阻片8、绝缘支撑杆9、联动装置10、金属连接片11、绝缘丝12、镍铬丝13、绝缘杆14组成,可通过气动闸刀6控制单片电阻1的并联。编织电阻片8与动触头7相连接,编织电阻片8与动触头7固定在绝缘支撑杆9上,通过联动装置10与气动闸刀6相连接。编织电阻片8由镍铬丝13等间距编织在绝缘丝12上。该电阻具有功率大、耐高压的特点,成本低且易于实现。

标签:
复合材料
江苏 - 苏州 来源:中冶有色网 2023-03-18
光伏车棚支架
光伏车棚支架 1219     
 0

本实用新型涉及一种用于光伏车棚光伏板固定安装的新型结构,具体涉及一种光伏车棚支架,属于新能源建筑物技术领域。该光伏车棚支架包括彩钢板、彩钢板夹紧块、矩形非金属檩条和光伏板曲柄压紧扣,其中矩形非金属檩条可以是矩形竹质复合材料檩条,其是以3‑4年散生的慈竹通过重组竹加工工艺制得的新型材质结构,取代了传统的铝合金型材。通过本实用新型,光伏板的固定方式由原来的螺栓固定改变为压紧扣的连接方式,其主要特点与传统的光伏车棚从材质到连接固定方式等方面相比有了根本性的改变。

标签:
复合材料
江苏 - 苏州 来源:中冶有色网 2023-03-18
铜包铝管的生产装置
铜包铝管的生产装置 854     
 0

本实用新型涉及复合材料生产技术领域,特别涉及一种铜包铝管的生产装置,包括输线机构、包覆机构、拉拔机构和收线机构,所述拉拔机构设置有若干个拉拔模具,所述包覆机构和拉拔机构之间设置有浇铸机构,所述浇铸机构由浇铸机体、浇铸模具和模具加热器组成,浇铸模具和模具加热器设置有浇铸道,浇铸道一端与浇铸模具内腔相连相通,浇铸道另一端连接有进料管,进料管的另一端与溶炉的出料口相连接。在使用本实用新型时,通过浇铸方式将铜管的缝隙粘合在一起,既牢固又美观,避免了以往采用焊接造成假焊的现象,同时不受外表面洁净度影响缝隙的粘合质量。本实用新型具有结构简单,设置合理,制作成本低等优点。

标签:
复合材料
江苏 - 苏州 来源:中冶有色网 2023-03-18
碳/碳热处理料架
碳/碳热处理料架 718     
 0

本实用新型公开了一种碳/碳热处理料架,它包括复数个沿水平方向设置的用于放置工件的置料台、沿竖直方向支撑于各置料台之间的支撑杆、位于所述的置料台底部的底座,所述的置料台、支撑杆以及底座的材料均为碳/碳复合材料,具有很强的抗冷热冲击的性能,所述的各置料台上还均匀开设有复数个通风孔,所述的通风孔的尺寸小于工件的尺寸,上述的多个通风孔使得各层置料台之间的温度差异得到消除,保证了产品性能的均一。本实用新型解决了现有技术中的问题,提供了一种使用寿命较长、产品性能较好的碳/碳热处理料架。

标签:
复合材料
江苏 - 苏州 来源:中冶有色网 2023-03-18
具有除尘结构蚕丝水刺布的梳理机

一种具有除尘结构蚕丝水刺布的梳理机,属于新型纤维及复合材料制备技术领域,包括水刺布送料装置、水刺布导料板、水刺布梳理机台、梳理机箱、除尘装置、水刺布梳理出料装置和水刺布梳理装置;其中,所述除尘装置包括除尘箱本体、水箱、水泵、回水管、滤尘网、喷水管、吸尘口和吸尘管道,所述喷水管设置在除尘箱本体内壁的上端部上,并且喷水管上设有一组喷水孔。本实用新型所述的具有除尘结构蚕丝水刺布的梳理机,通过设有的除尘装置,便于使梳理机工作过程中产生的纤维碎屑吸入吸尘装置中,能够防止纤维碎屑飘散到空气中,造成环境污染,除尘效果好,有效保证了人身安全,并且此梳理机工作效率高,降低了工人的劳动强度。

标签:
复合材料
江苏 - 苏州 来源:中冶有色网 2023-03-18
厚度自动检测装置
厚度自动检测装置 1131     
 0

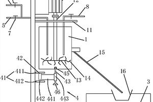
本实用新型涉及一种厚度自动检测装置,主要解决现有技术中手动测量产品厚度的误差大、产品检测不及时导致不良品增加和漏检以及产品出现厚度问题时不能有效追溯和分析的技术问题,提供一种新的自动检测厚度的装置。通过采用包括基座1、导辊2、基准辊3、基材4、电机5、数据传输线6和主机7的技术方案,较好的解决了该技术问题,可用于汽车复合材料的工业生产中。

标签:
复合材料
江苏 - 苏州 来源:中冶有色网 2023-03-18
保温节能多功能复合幕墙型材

本实用新型公开了一种保温节能多功能复合幕墙型材,外部构件包括幕墙固定板、幕墙盖板、盖板复合层、密封胶条;内部构件包括金属内衬、主材复合层、耐候共挤层、橡胶垫、金属型材、铝合金卡件;所述内部构件通过螺栓组件与镀锌角铁固定,所述镀锌角铁与建筑外墙体固定连接,并支撑整体幕墙结构;盖板复合层与盖板耐候层通过共挤出一体式加工成型;主材复合层与耐候共挤层通过共挤出一体式加工成型;本新型采用高分子复合材料外包幕墙结构件方式,赋予幕墙木质感;可以提高幕墙整体的防盐雾性能、保温性能、防火性能和整体力学性能,降低了幕墙因外力发生形变的可能。

标签:
复合材料
江苏 - 苏州 来源:中冶有色网 2023-03-18
侧围内板及汽车
侧围内板及汽车 915     
 0

本实用新型提供了一种侧围内板及汽车,包括:连接在侧围外板与车架之间的侧围内板本体;所述侧围内板本体上部分别设置有侧围外板安装结构和充电装置安装结构,所述侧围内板本体下部设置有轮罩安装结构。本实用新型中,通过将侧围内板本体设置在侧围外板与车架之间实现了车身与车架的连接,解决了现有技术中由于车架与侧围外板等造型件距离较远而不便连接的问题;进一步,通过在侧围内板本体上设置侧围外板安装结构、充电装置安装结构和轮罩安装结构,为侧围外板、充电装置和轮罩提供了安装点,安装方便快捷且零件数量少,便于后期的BOM管控;此外,整个侧围内板选用LFT复合材料,强度与车架一致,在实现轻量化的同时降低了制作成本。

标签:
复合材料
江苏 - 苏州 来源:中冶有色网 2023-03-18
上一页 7 8 9 10 11 ... 171 下一页
共171页    到第

中冶有色为您提供最新的江苏苏州有色金属复合材料技术理论与应用信息,涵盖发明专利、权利要求、说明书、技术领域、背景技术、实用新型内容及具体实施方式等有色技术内容。打造最具专业性的有色金属技术理论与应用平台!

全国热门有色金属设备推荐
展开更多 +
全国热门有色金属技术推荐
展开更多 +

 

江西省隆恩特环保设备有限公司
宣传

报名参会
更多+

报告下载

有色专家
更多+

昆明理工大学
副校长
中南大学
中国工程院 院士
武汉科技大学
校学术委员会主任 / 教授
中南大学
教授、博士生导师
长沙有色冶金设计研究院有限公司
正高级工程师/中国铝业首席工程师/全国有色金属行业设计大师/国家注册采矿工程师
赤泥综合利用研究报告2025
推广

热门技术
更多+

推荐企业
更多+

福建省金龙稀土股份有限公司
宣传

发布

在线客服

公众号

电话

顶部
咨询电话:
010-88793500-807