青岛垚鑫智能科技有限公司
宣传

位置:中冶有色 >

有色技术频道 >

分类:
全部
矿山技术
冶金技术
材料制备及加工技术
环境保护技术
分析检测技术
 
全部
废水处理技术
大气治理技术
固/危废处置技术
土壤修复技术
地区:
全部
北京
天津
上海
重庆
河北
山西
辽宁
吉林
黑龙江
江苏
浙江
安徽
福建
江西
山东
河南
湖北
湖南
广东
海南
四川
贵州
云南
陕西
甘肃
青海
内蒙
广西
西藏
宁夏
新疆
其他
其他
展开
 
全部
济南
青岛
淄博
枣庄
东营
烟台
潍坊
济宁
泰安
威海
日照
滨州
德州
聊城
临沂
菏泽

山东青岛有色金属环境保护技术理论与应用

免费发布技术信息>>
废水净化颗粒筛选装置

本实用新型涉及一种废水净化颗粒筛选装置,属于环保过滤处理装置技术领域。本实用新型包括装有废水净化颗粒的入料仓和位于入料仓下方的筛选仓,入料仓两侧均安装有振打机构,入料仓内的废水净化颗粒经由入料仓一侧的下落通道落至筛选仓内;筛选仓包括筛选控制器、驱动电机和两个相对旋转的滚轴,筛选控制器通过驱动电机驱动滚轴转动;两个滚轴分别为滚轴Ⅰ和滚轴Ⅱ,滚轴Ⅰ和滚轴Ⅱ之间的缝隙是上宽下窄;废水净化颗粒中的粗颗粒经由滚轴Ⅰ和滚轴Ⅱ上部宽缝隙处落入下方的粗颗粒收纳仓;细颗粒收纳仓下方开设有出口,细颗粒收纳仓内的细颗粒落入出口下方的筛网内;筛选后的废水净化颗粒一致性和均匀性较好,污水处理效率高。

标签:
废水处理
山东 - 青岛 来源:中冶有色网 2023-03-19
高难废水的处理方法
高难废水的处理方法 1032     
 0

本发明的目的是提供一种新型煤焦油废水的处理方法,采用了纯物化的方法,克服现有技术的不足,处理难达标的结果,主要采用包含初级絮凝沉淀、催化氧化和二次沉淀的组合工艺,降低煤焦油废水中的COD及氨氮、氰化物、苯酚值,使出水水质达到国家一级排放标准。本发明采用纯物化的方法,适用范围更广;过在初级絮凝沉淀池,大大减少了有机废水的悬浮物和色度;通过催化氧化两级串联反应除去水中大部分有机和无机污染物、苯酚、芳香烃类及氰化物;采用光催化剂与微臭氧结合的催化氧化反应,避免了催化氧化过程中大量气泡的产生,同时采用臭氧活性炭填料更利于反应的进行和苯酚的去除,且臭氧使用量较少,对环境影响较少。

标签:
废水处理
山东 - 青岛 来源:中冶有色网 2023-03-19
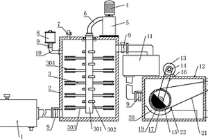
新型微电解Fenton流化床农药废水处理装置

本实用新型公开了一种新型微电解Fenton流化床农药废水处理装置,涉及环保设备领域,包括塔体、塔封、进水管、多孔板、亚铁离子分子筛、溢流板、出水管、曝气盘、进气管和清污阀,所述塔封上设置有排气窗,所述塔体内水平设置多级多孔板,所述多孔板下方设置有滤沫棉,所述亚铁离子分子筛填充于自上而下第二级多孔板上方,所述清污阀相对设置在塔体的侧面且清污阀设置于亚铁离子分子筛两侧,所述曝气盘设置于塔体内的底部,所述进气管自塔体底部接入曝气盘。本新型农药废水处理装置通过多级流化床使废水与催化剂、过氧化氢充分接触,产生的絮凝物被滤沫棉多次过滤,减弱催化剂被絮凝物的包覆掩盖,长效保持催化剂的催化性能。

标签:
废水处理
山东 - 青岛 来源:中冶有色网 2023-03-19
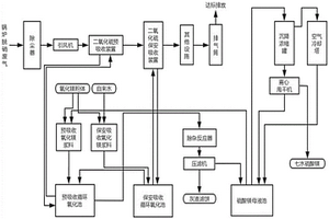
含硫废气多级联合脱硫废水临界饱和法超低耗结晶回收硫酸镁的方法

本发明公开了一种含硫废气多级联合脱硫废水临界饱和法超低耗结晶回收硫酸镁的方法,并实现硫酸镁结晶回用、废水零排放的方法。本发明依靠含硫废气余热,使脱硫吸收液中的硫酸镁在基本上无其他热源供给的情况下,可自然蒸发接近临界饱和浓度;再采用空气冷却塔、离心脱水分离等低成本方式即可实现硫酸镁的结晶回收,在确保脱硫达标排放前提下,使用极少热能即可实现脱硫废水零排放。该方法第一级为二氧化硫预吸收,硫酸镁浓度允许接近饱和,可减少后续硫酸镁结晶过程中的热能消耗;本发明通过设置两级或多级错流的方式,解决了目前广泛采取的一级湿法氧化镁脱硫中存在的低硫酸镁浓度脱硫效果好,但蒸发结晶成本高两者之间的矛盾。

标签:
废水处理
山东 - 青岛 来源:中冶有色网 2023-03-19
电镀废水的处理方法
电镀废水的处理方法 926     
 0

本发明公开了一种电镀废水的处理方法,具体包括以下步骤:(1)混合吸附;(2)电化学溶解;(3)超滤分离;(4)分离铜渣;(5)酸化解络;(6)萃取分离镍。本发明提供的电镀废水的处理方法,得到的铁、钴、铜、镍的收率高,成本低,工艺流程短,向废液中添加导电活性碳颗粒,可提高电流效率,降低成本;再进行电化学溶解,添加的磷酸盐可将液体中的铁元素分离出来,环保性效果好,向离子络合物废液中添加碱,有利于快速高效将废液中的铜元素分离,处理过程无废水排放,萃取分离得到硫酸镍溶液,萃余液为含钴溶液,得到的铜、镍、钴金属纯度很高,产品附加值高,铁回收率≥90%,铜回收率≥80%,镍回收率≥75%,实现节能减排。

标签:
废水处理
山东 - 青岛 来源:中冶有色网 2023-03-19
处理含铅废水的复合材料

一种处理含铅废水的复合材料,其由以下重量份数的原料制成:二氯化铁8-22份,硫酸铁7-12份,硬脂酰胺4-8份,苯甲酸甲酯15-20份,呋喃树脂20-30份,羟乙基纤维素2-4份,海泡石6-12份,硝酸4-8份,甲基丙烯酸叔丁酯14-23份,纳米级颗粒无机材料5-8份,云母粉10-16份,石墨粉2-5份,硅烷偶联剂10-18份,浓盐酸4-8份,硅藻土(200-300目)17-24份,纳米级氧化锌5-10份,稀盐酸3-5份,没食子酸4-7份。本发明的有益效果是:本发明的处理含铅废水的复合材料,可吸附难降解有机污染物,吸附能力强,具有很好的污染物去除和废水净化的效果,不会造成二次污染。

标签:
废水处理
山东 - 青岛 来源:中冶有色网 2023-03-19
模块化组合式处理高难度有机废水的方法及系统

本发明公开了一种模块化组合式处理高难度的有机废水的系统和方法,处理系统包括:初沉池,调节池,强化絮凝池,沉淀分离池,二次絮凝沉淀池,缓冲水池,pH调节池,一级蜂巢式微电解池,絮凝沉淀池,二级蜂巢式微电解池,中间水池,热交换器,微波催化氧化装置,二次催化氧化罐,再氧化过滤管。处理方法利用多级蜂巢式铁碳微电解模块、强化絮凝模块和微波电催化氧化模块相结合的技术方案,本发明具有适用性高,处理效果好,单元模块化的特点,可根据废水的情况自由组合级联,以适应不同的废水处理效果要求及废水水量的要求,运行费用较低,污泥量少,没有二次污染,是一种环境友好行的高难废水处理方法。

标签:
废水处理
山东 - 青岛 来源:中冶有色网 2023-03-19
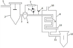
对白炭黑废水进行蒸发结晶的装置

本实用新型涉及白炭黑技术领域,公开了一种对白炭黑废水进行蒸发结晶的装置。该系统包括炭黑尾气管道、混匀塔、增压泵、控制系统、换热塔、低高温蒸汽管道、白炭黑废水蒸发塔等,首先将多路炭黑尾气混匀,随后进入换热塔与低温蒸汽进行热交换,得到高温蒸汽,高温蒸汽作为热源对废水进行蒸发结晶,可以合理控制尾气流量,可以保证废水结晶所需热源的供应稳定;利用低温蒸汽与炭黑高温尾气间接换热,取热过程没有污染,热效率高;采用设备成本低,技术成熟;可以根据所需高温蒸汽的温度合理选择混匀尾气和低温蒸汽参数,发挥资源的最大效力,改善结晶效果。

标签:
废水处理
山东 - 青岛 来源:中冶有色网 2023-03-19
含酚废水和生物质炭联合制备生物质水煤浆的生产系统

本实用新型提出一种含酚废水和生物质炭联合制备生物质水煤浆的生产系统,属于水煤浆燃料技术领域,其实现了利用生物质炭、煤和含酚废水作为制浆原料生产生物质水煤浆。该生产系统,包括依次连接的磨机、均质搅拌桶、调浆缓冲槽、滤浆器、稳定搅拌桶、强化泵、熟化桶和成品浆储罐,还包括分散剂配液桶、稳定剂配液桶、含酚废水池,以及连接于磨机入口端的煤粉供料装置和生物质炭粉供料装置;含酚废水池与分散剂配液桶、稳定剂配液桶和磨机入口端之间分别连接有第一含酚废水输送管、第二含酚废水输送管和第三含酚废水输送管,分散剂配液桶与磨机的入口端之间连接有第一分散剂稀释液输送管,稳定剂配液桶与稳定搅拌桶之间连接有稳定剂稀释液输送管。

标签:
废水处理
山东 - 青岛 来源:中冶有色网 2023-03-19
应用于半导体扩散片生产的酸碱废水处理系统

本实用新型属于半导体领域,具体涉及一种应用于半导体扩散片生产的酸碱废水处理系统,包括依次连接的集水池、PH调节池、一次中和反应池和沉淀池,其中,沉淀池中的上层清液依次抽至盘式过滤器、软化床、袋式过滤器、超滤水箱和回用收集池,沉淀池底部污泥依次抽至污泥浓缩池和污泥压滤机。本实用新型所具有的有益效果是:(1)回收水质可直接回用作生产洗涤用水、厂区绿化、消防补充用水等;(2)整个处理过程流程短、占地小、能耗低,易于实现自动化控制,系统运行可靠,运行费用较低,真正实现污水、废水资源化,增加可利用的水资源,有利于实现废水无害化,防治水污染。

标签:
废水处理
山东 - 青岛 来源:中冶有色网 2023-03-19
以潮间带沉积物为接种体系的高盐废水好氧颗粒污泥的启动方法及装置

本发明涉及一种以潮间带沉积物为接种体系的高盐废水好氧颗粒污泥的启动方法及装置。包括对潮间带沉积物的预处理,颗粒污泥颗粒化的快速形成及对高盐废水的高效处理。通过接种潮间带沉积物形成的耐盐好氧颗粒污泥解决了普通活性污泥处理高盐废水时生物量流失严重、沉降性差等问题,富集了大量耐盐微生物及硝化细菌,促进了微生物功能菌群的结构优化,提高了系统的整体耐盐水平。通过接种潮间带沉积物,可以在盐度1‑4%条件下实现好氧颗粒污泥系统的迅速启动,并实现对高盐废水的高效处理。

标签:
废水处理
山东 - 青岛 来源:中冶有色网 2023-03-19
以潮间带沉积物为接种体系的高盐废水纯膜MBBR启动方法

本发明涉及一种以潮间带沉积物为接种体系的高盐废水纯膜MBBR启动方法,包括:向高盐废水纯膜MBBR反应器内进行潮间带沉积物的接种步骤、填料挂膜步骤和生物膜的驯化步骤。采用本发明方法,通过接种潮间带沉积物,可以加速微生物在生物填料内部附着并成膜,缩短MBBR工艺的挂膜周期,促进生物膜菌群结构优化,提高系统整体耐盐水平,拓宽MBBR工艺在高盐废水中的应用范畴。本发明接种潮间带沉积物,可直接在盐度1‑4%条件下实现MBBR系统的快速启动,并维持系统的高效稳定运行,可有效的避免传统活性污泥在接种过程中,生物量流失严重,出水水质波动大等问题。

标签:
废水处理
山东 - 青岛 来源:中冶有色网 2023-03-19
处理油田废水的方法及其专用设备

本发明公开了一种处理油田废水的方法及其专用设备,属于环保技术领域,其目的是为了解决近年来国内外开发的活性炭生物流化床反应器载体价格昂贵、处理成本较高的问题。内容包括:(1)采用经活化的半焦作为三相内循环生物流化床反应器的载体,载体粒径为0.5-1.5mm,载体填充率为5%-8%;(2)载体的挂膜采用接种-闷曝-连续进水的方式完成;(3)连续运行阶段水力停留时间为2-6小时,废水由反应器底部一侧进入,在曝气作用下迅速与生物载体混合,在内循环过程中通过生长在载体表面的生物膜以及形成的部分悬浮态污泥来达到降解废水中污染物的目的。本方法所采用载体价格低廉,对油田废水具有良好的处理效果。

标签:
废水处理
山东 - 青岛 来源:中冶有色网 2023-03-19
印染废水深度处理回用装置

本实用新型公开了一种印染废水深度处理回用装置,具体包括膜格栅、膜生物反应器系统(MBR系统)、保安过滤器、反渗透系统、混凝沉淀池和生物活性炭滤池,膜格栅通过管道与MBR系统连通,MBR系统与反渗透系统连通的管道上设置保安过滤器,反渗透系统浓水出水口与混凝沉淀池进水口连通,混凝沉淀池出水口与生物活性炭滤池进水口连通,生物炭活性滤池出水口连接在MBR系统和保安过滤器之间的管道上。其整个印染废水深度处理回用装置出水水质好、废水利用率高、实现零排放,同时装置易于实现智能化控制、操作简单、运营成本低、经济效益好等,是一种高效简易,经济实用,具有创新性和可靠性的印染废水深度处理回用系统。

标签:
废水处理
山东 - 青岛 来源:中冶有色网 2023-03-19
水产加工废水处理设备的加药装置

本实用新型公开了一种水产加工废水处理设备的加药装置,包括箱体,所述箱体的上端固定连接有第一壳体,所述第一壳体的内部设置有用于对箱体内的废水进行搅拌的搅拌机构,所述箱体的一端侧壁上固定连接有第二壳体,所述第二壳体的内底部固定连接有固定管,所述固定管的内部设置有用于对药品进行泵出的泵出结构,所述第一壳体内设置有用于对泵出机构进行传动的传动机构。本实用新型结构合理,通过设置搅拌机构,实现搅拌叶片对箱体内的废水进行搅拌,使药物与废水充分的混合,避免出现混合不均匀的现象,影响废水处理效果,通过设置泵出机构以及传动机构,实现对固定管内的药物泵出,避免人工加药,洒到工作人员身上,造成危险。

标签:
废水处理
山东 - 青岛 来源:中冶有色网 2023-03-19
对切削液废水进行预处理的组合物及其应用

本发明属于切削液废水处理的技术领域,涉及对切削液废水进行预处理的组合物及其应用。本发明提供了一种对切削液废水进行预处理的组合物,包括A组分、B组分和C组分中任意两种的两两组合,所述A组分为聚合氯化铝、硫酸铝、硝酸铝和氯化铝中至少一种,B组分为硫酸铁、硫化铁、聚合氯化铁、聚合硫酸铁和聚丙烯酰胺中至少一种,C组分为无机强酸。本发明的组合物可以实现对切削液废水的一步破乳、沉淀、油水分离,能够大大降低废水的COD,达到好氧处理的程度,无需厌氧预处理。本发明利用组合物的应用为化学法,缩短处理时间,简化过程,降低成本,只需添加药剂即可,效果稳定,占地面积小,人工需求较少。

标签:
废水处理
山东 - 青岛 来源:中冶有色网 2023-03-19
基于絮凝剂的废水快速处理装置

本实用新型属于废水处理设备技术领域,提供了一种基于絮凝剂的废水快速处理装置,包括依次连通的反冲洗过滤器、搅拌罐、缓冲池和磁分离箱,以及与搅拌罐连通的絮凝剂储罐;搅拌罐内转动安装有搅拌辊,搅拌辊的辊轴内部中空,且辊轴进气口与供气装置连通,辊轴外周设有若干排气管,排气管包括弯嘴管和直嘴管,弯嘴管的弯向与正/逆时针方向一致,直嘴管的端部设有毛刷;磁分离箱内转动安装有驱动装置驱动的磁选滚筒,磁选滚筒内设有与磁分离箱固定安装的磁性体,磁分离箱内设有与磁选滚筒相适配的净水水槽,磁分离箱外转动安装有利用输送皮带与磁选滚筒传动连接的转筒。本实用新型提高了废水净化处理的质量跟效率,实现了废水的快速净化处理。

标签:
废水处理
山东 - 青岛 来源:中冶有色网 2023-03-19
光催化偶合微生物处理含异型生物质废水的方法

本发明公开一种光催化偶合微生物处理含异型生物质废水的方法。将GO、nFe3O4和nZnO按照质量比为1:20:30制备复合光催化剂;制备106cfu/mL经制浆中段废水驯化的菌液;在含异型生物废水中,按照COD:N:P(质量比)=200:5:1添加硫酸铵和硫酸二氢钾,加入0.5‑1.0g/L复合光催化剂,15‑30mL/L步菌液,pH为6‑7;可见光全波长范围,耦合体系在磁力搅拌器搅拌下反应8‑12h,反应结束后,经磁回收装置回收复合光催化剂,重复利用;耦合体系将光催化和微生物处理在一个反应器实现,减少占地面积和投资运行费用,对异型生物质的处理效果高于单独光催化和微生物体系之和,具有协同作用。

标签:
废水处理
山东 - 青岛 来源:中冶有色网 2023-03-19
三维电极废水处理反应器

本发明公开一种三维电极废水处理反应器。该三维电极废水处理反应器包括电解槽、阳极、阴极、粒子电极、直流电源、曝气装置;电解槽下部设有进液口,上部设有出液口;阳极和阴极排布于电解槽中;阳极与阴极分别与直流电源的正极和负极连接;粒子电极填充在阳极与阴极之间;曝气装置通过微孔曝气管向电解槽中通入空气。本发明采用圆柱形电解槽,相较于矩形电解槽,反应器内部传质效果更好,反应更加均匀。采用以棒状阳极为中心、筒状阴极环绕棒状阳极的形式排布电极,增大了阴极的比表面积,充分利用阳极的催化面积,提高了H2O2、·OH等活性物质的产率,从而提高了废水处理效果。粒子电极用塑料网包裹,减小了短路电流,提高了电流效率,降低了能耗。

标签:
废水处理
山东 - 青岛 来源:中冶有色网 2023-03-19
高浓度液晶废水一体化处理方法

本发明属于化工生产废水处理技术领域,涉及一种高浓度液晶废水一体化处理方法,先将高浓度液晶废水进行调整后出水进入Fenton反应器进行反应,再将反应后的溶液调节pH值到7后静止取上清液进入SBR反应器曝气反应,经自然沉降后将上清液排放到TiO2/活性炭光催化反应器中,接通紫外光源,启动光催化反应,Fenton反应器产生的铁泥及SBR反应器产生的少量污泥进入微波消解炉中干燥消解,实现浓度液晶废水一体化处理;其工艺简单新颖,操作方便,成本低,能耗少,运行安全稳定,COD去除效率高,铁泥资源化处理效果好。

标签:
废水处理
山东 - 青岛 来源:中冶有色网 2023-03-19
海带漂烫加工废水中碘空气吹出提取新方法

一种从海带漂烫加工废水中提取碘的新方法,属于环保、化工的技术领域,将氧化好的料液通过循环密闭空气吹出法,将氧化后产生的分子碘吹出,提取过程维持料液温度40-90℃,吹出空气和液体的体积比例不低于30:1。本发明方法主要针对海带漂烫加工废水水质不佳、温度过高等传统提碘工艺无法克服的特点,应用循环密闭空气吹出法实现了废水中碘的有效提取,减少了由于空气交换带来的原料热量损失,而且避免了由于排出空气中碘未吸收完全而造成的损失,提升了提取效率和碘回收率,实现了废水中宝贵资源的有效利用,完全杜绝了生产过程的有害气体排放污染问题。

标签:
废水处理
山东 - 青岛 来源:中冶有色网 2023-03-19
克拉夫新鞘氨醇杆菌在制备用于去除石油废水中COD的微生物菌剂中的应用

本发明提供了克拉夫新鞘氨醇杆菌在制备用于去除石油废水中COD的微生物菌剂中的应用。所述克拉夫新鞘氨醇杆菌为保藏编号为CGMCC No.20365的克拉夫新鞘氨醇杆菌GBW‑HB1906,该菌具有耐广盐性,可以在15‑35‰的盐浓度下正常生长,并具有于耐受和分解烷烃类物质、降解石油废水COD的能力。使用克拉夫新鞘氨醇杆菌GBW‑HB1906制备而成的微生物菌剂,性质稳定,使用简单,能够有效去除石油废水中的COD,快速高效地解决石油废水处理问题,具有广阔的应用前景。

标签:
废水处理
山东 - 青岛 来源:中冶有色网 2023-03-19
对环氧氯丙烷生产过程中产生的环化废水处理方法

本发明属于高盐高有机物废水处理技术领域,涉及对环氧氯丙烷生产过程中产生的环化废水处理方法。本发明的处理方法包括(1)预处理、(2)催化氧化、(3)电渗析、(4)后处理。本发明采用“双氧水‑催化剂”结合的方式,其特点为减少双氧水的用量,通过与催化剂的接触,加速了有机物降解的速度,减少反应时间,缩短了环化废水在反应池的停留时间,减少反应池的占地面积及设备投资。本发明采用电渗析分离盐分和有机物,同时浓缩盐水,减轻了多效蒸发的负荷,减少了蒸汽用量。在生化处理中,由于盐分的减少,增加了菌种的活性,大大提高了生化反应的效率;而电渗析浓缩提高了盐的浓度,降低了处理的水量,降低了污水处理难度。

标签:
废水处理
山东 - 青岛 来源:中冶有色网 2023-03-19
重金属废水快速净化处理系统

本实用新型属于废水处理技术领域,提供了一种重金属废水快速净化处理系统,包括依次连通设置的反冲洗过滤器、絮凝搅拌罐、缓冲池和磁分离箱,絮凝搅拌罐外设有与其内部空腔连通的絮凝剂储罐,絮凝搅拌罐内转动安装有搅拌辊,搅拌辊的辊轴内部中空,且辊轴进气口与供气装置连通,辊轴外周设有若干排气管,排气管包括弯向与正/逆时针方向一致的弯嘴管以及端部设有毛刷的直嘴管,磁分离箱内转动安装有驱动装置驱动的磁选滚筒,磁选滚筒内设有与磁分离箱固定安装的磁性体,磁分离箱的箱体上还固定安装有两端分别与磁选滚筒和皮带输送机相连的导污板。本实用新型提高了废水净化处理的质量跟效率,实现了废水的快速净化处理。

标签:
废水处理
山东 - 青岛 来源:中冶有色网 2023-03-19
高效生物基废水净化过滤材料、制备方法及应用

本发明公开了高效生物基废水净化过滤材料的制备方法,该方法使用城市生活固体垃圾为原料经过一步反应制备。本发明还公开了一种高效生物基废水净化过滤材料,该材料由上述方法制备得到。本发明反应过程中不需要加热,不需要加压,也不需要使用溶剂,制备过程的费用很低,并且制备过程是一个非常有效的灭菌过程。原料和生产过程的费用都低,这种生物基废水净化过滤材料的生产成本很低。使用该高效生物基废水净化过滤材料时,废水通过一次,就能过滤去除大量的废水中的重金属、各种有机污染物、有毒元素、各种悬浮颗粒物、臭味物质、水中营养元素磷和氮,又能够有效处理黑臭水河。

标签:
废水处理
山东 - 青岛 来源:中冶有色网 2023-03-19
高盐低温废水处理用强化剂及方法

本发明属于污水处理技术领域,涉及一种高盐低温废水用强化剂及方法,所述高盐低温废水处理用强化剂由甘露醇、四氢嘧啶、海藻糖、氨基酸、钾盐、肌醇甲酯、果聚糖、二甲基亚砜、甲醇和乙酰胺混合均匀制成,进行废水处理时,先向高盐低温废水中加入强化剂,再向序批式反应器或者连续式厌氧膜生物反应器中投加厌氧氨氧化菌和反硝化菌,然后将高盐低温废水引入序批式反应器或者连续式厌氧膜生物反应器中进行处理,其整体工艺过程简单,操作控制灵活,可以实现废水的同步脱氮除碳,节省能源和材料,生产成本低,经济效益好,便于推广应用。

标签:
废水处理
山东 - 青岛 来源:中冶有色网 2023-03-19
便于打捞杂物的废水处理池

本实用新型公开了一种便于打捞杂物的废水处理池,包括处理池主体,所述处理池主体内部两端侧壁的竖直方向上均对称设置有T型滑槽,所述T型滑槽之间设有打捞框,所述打捞框的边角处呈矩形分布有与T型滑槽对应的T型滑块,所述打捞框两端内壁之间等距离分布有与第一加强杆相互垂直的第二加强杆,本实用新型一种便于打捞杂物的废水处理池,通过在处理池主体内部开设T型滑槽,并在T型滑槽之间设置打捞框,打捞框通过外侧边角的T型滑块与T型滑槽配合相连,步进电机的正反转向控制缆绳的收缩与展开,从而控制打捞框的升降,废水未进入处理池时将打捞框放至池底,待废水注满后向上提起打捞框并取出框内垃圾杂物,使用效果好。

标签:
废水处理
山东 - 青岛 来源:中冶有色网 2023-03-19
腐蚀箔生产中的酸性废水的资源化利用方法

本发明涉及一种腐蚀箔生产中的酸性废水的资源化利用方法,属于水处理技术领域。本发明能够有效地将腐蚀箔生产中的两种酸性废水进行资源化利用,分别能够制备出水处理药剂,通过对含有硫酸根离子、氯离子和铝离子的废水浓缩结晶、加入氢氧化铝后,可以制备得到硫酸铝絮凝剂;通过对含有氯离子和铝离子的废水浓缩后,其中加入氯酸钙,可以制备出聚合氯化铝水剂;并继续将沉淀氯化钙与硫酸母液进行反应,获得硫酸钙产品。该过程可以有效地将废水中的产物充分资源化利用。

标签:
废水处理
山东 - 青岛 来源:中冶有色网 2023-03-19
用于变性淀粉生产废水处理的组合工艺

本发明属于水处理技术领域,尤其涉及一种用于处理变性淀粉废水的组合工艺。利用该工艺将pH调节后的变性淀粉废水进行预处理,然后经过微电解装置和载有EM菌的接触氧化池后,使变性淀粉废水中的有机物质进一步降解,然后通过超滤膜组件进行处理,降低了变性淀粉产生的废水中的CODCr,使其达到排放标准或回收利用。该工艺将催化微电解-好氧生化-超滤工艺组合起来对变性淀粉废水进行处理,使其比传统处理方法处理效果好,且简单易行。

标签:
废水处理
山东 - 青岛 来源:中冶有色网 2023-03-19
两级新型介质阻挡放电等离子体废水处理装置

本发明公开了一种两级新型介质阻挡放电等离子体废水处理装置,包括装置支架和安装于装置支架上的反应器;所述反应器采用相互垂直的二级放电电极结构。本发明通过两级新型介质阻挡放电等离子体废水处理装置可以连续处理废水,不需要较长的停留时间,污染物去除效果好。在进行废水处理时,不需要添加反应试剂,处理过程简单,容易实现控制。

标签:
废水处理
山东 - 青岛 来源:中冶有色网 2023-03-19
上一页 77 78 79 80 81 ... 93 下一页
共93页    到第

中冶有色为您提供最新的山东青岛有色金属环境保护技术理论与应用信息,涵盖发明专利、权利要求、说明书、技术领域、背景技术、实用新型内容及具体实施方式等有色技术内容。打造最具专业性的有色金属技术理论与应用平台!

全国热门有色金属设备推荐
展开更多 +
全国热门有色金属技术推荐
展开更多 +

 

江西省隆恩特环保设备有限公司
宣传

报名参会
更多+

报告下载

有色专家
更多+

郑州大学
校长/党委书记
矿冶科技集团
副所长/研究员
有研资源环境技术研究院(北京)有限公司
副总经理/教授级高工
重庆大学
副院长/教授
中铝郑州有色金属研究院有限公司
正高级工程师/总经理
赤泥综合利用研究报告2025
推广

热门技术
更多+

推荐企业
更多+

福建省金龙稀土股份有限公司
宣传

发布

在线客服

公众号

电话

顶部
咨询电话:
010-88793500-807