青岛垚鑫智能科技有限公司
宣传

位置:中冶有色 >

有色技术频道 >

> 复合材料技术

分类:
全部
矿山技术
冶金技术
材料制备及加工技术
环境保护技术
分析检测技术
 
全部
功能材料技术
复合材料技术
新能源材料技术
合金材料技术
加工技术
地区:
全部
北京
天津
上海
重庆
河北
山西
辽宁
吉林
黑龙江
江苏
浙江
安徽
福建
江西
山东
河南
湖北
湖南
广东
海南
四川
贵州
云南
陕西
甘肃
青海
内蒙
广西
西藏
宁夏
新疆
其他
其他
展开
 
全部
济南
青岛
淄博
枣庄
东营
烟台
潍坊
济宁
泰安
威海
日照
滨州
德州
聊城
临沂
菏泽

山东青岛有色金属复合材料技术理论与应用

免费发布技术信息>>
配位聚合物与碳纳米管复合材料、制备方法及在气体吸附方面的应用

配位聚合物与碳纳米管复合材料、制备方法及在气体吸附方面的应用,属于多孔材料技术领域,该复合材料是在JUC-32(Y)配位聚合物的合成中加入了羧基修饰的多壁碳纳米管MWCNTs制备得到,JUC-32(Y)配位聚合物沿着MWCNTs异核生长,且JUC-32(Y)配位聚合物包覆在MWCNTs表面,其中MWCNTs和JUC-32(Y)的质量比为1:200~1000。本发明所述的复合材料可广泛用于气体(CO2和CH4)的吸附。其吸附效率、单位比表面积的吸附量相对于纯JUC-32(Y)材料有了明显的提高,用于衡量材料与吸附气体作用力大小的吸附焓也有了提升。

标签:
复合材料
山东 - 青岛 来源:中冶有色网 2023-03-18
无卤阻燃聚乳酸增韧改性复合材料及其制备方法

本发明公开一种无卤阻燃聚乳酸增韧改性复合材料,主要由以下的组分组成:聚乳酸50.0-80wt%,生物可降解塑料5.0-20.0wt%,磷系阻燃剂10.0-20.0wt%,反应型增容剂0.5-20.0wt%,抗氧剂0.2-1.0wt%。本发明采用不同比例的次磷/膦酸盐作为阻燃剂阻燃聚乳酸,并采用生物基弹性体对聚乳酸进行增韧,并加入反应性聚合物作为反应性增容剂,通过熔融反应共混制备无卤阻燃生物可降解聚乳酸增韧改性复合材料,不仅表现为优异的阻燃性能,还具有优异的断裂伸长率和韧性。本发明中的生物可降解无卤阻燃聚乳酸增韧改性复合材料,高效低毒,是一种环保型生生物降解阻燃塑料。阻燃性能和机械性能优异,可用于包装、薄膜、纺织、汽车等领域。

标签:
复合材料
山东 - 青岛 来源:中冶有色网 2023-03-18
嵌入式共固化缝合阻尼薄膜复合材料及其制作工艺

本申请公开了一种嵌入式共固化缝合阻尼复合材料的制作工艺,包括以下步骤:按下层贫胶预浸料、小部分硫化的阻尼薄膜或者带阻尼薄膜的贫胶预浸料和上层贫胶预浸料的铺层顺序铺设,形成预成型体;使用纤维纱线按照设计要求将该预成型体缝合起来,形成缝合预成型体;然后,对缝合预成型体导入树脂,形成树脂缝合预成型体;再对树脂缝合预成型结构所在体系进行扫频激震处理;最后,按照共固化工艺参数将扫频激震后的树脂缝合预成型体共固化,即得到嵌入式共固化缝合阻尼薄膜复合材料。该申请的最大创新在于利用低温硫化阻尼材料组分、贫胶预浸料、扫频震动实现了真空导入法制作嵌入式共固化缝合阻尼复合材料,提高了结构整体力学性能。

标签:
复合材料
山东 - 青岛 来源:中冶有色网 2023-03-18
复合材料胶接修补结构的剩余疲劳寿命的预测方法

本发明提供了一种复合材料胶接修补结构的剩余疲劳寿命的预测方法,步骤为:1)确定未修复结构的材料常数;2)对修复结构进行建模;模型建立后,进行实体装配、划分网格、创建约束;3)求解应力强度因子幅值与裂纹长度之间的关系式;4)根据金属材料的断裂韧性,基于软件输出的应力强度因子确定修复结构的最终失效裂纹长度;5)把材料常数值、最终失效裂纹长度、应力强度因子变化幅值和裂纹长度的关系式代入Paris公式,积分求得修复结构的剩余疲劳寿命。本发明简化了计算步骤,显著提高了复合材料胶接修复结构的剩余疲劳寿命预测效率,降低计算成本,促进复合材料胶接修复技术的发展。

标签:
复合材料
山东 - 青岛 来源:中冶有色网 2023-03-18
高抗冲聚丙烯/聚丁烯复合材料及其制备方法和用途

本发明涉及一种高抗冲聚丙烯/聚丁烯复合材料及其制备方法和用途,属于高分子材料领域。该复合材料的基体树脂由99~50%wt%聚丙烯树脂和1~50wt%聚丁烯树脂组成,并添加无机填料、抗氧剂、光稳定剂、耐刮擦助剂、色母料和成核剂。采用双螺杆挤出机挤出共混法制备。所制备的高抗冲聚丙烯/聚丁烯复合材料具有突出的抗冲击性和良好的刚性及加工性能,适用于车用塑料、托盘、电线电缆、电器外壳使用。

标签:
复合材料
山东 - 青岛 来源:中冶有色网 2023-03-18
漂珠/AZ91D镁合金复合材料的制备方法

本发明属于新型金属基复合材料制备技术领域,涉及一种漂珠/AZ91D镁合金复合材料的制备方法,先筛选漂珠,再用氢氧化钠溶液清洗漂珠后用蒸馏水清洗并烘干预热得到预热后的漂珠;然后将坩埚放在电阻炉中,将AZ91D镁合金加入坩埚进行熔化,并通入SF6+CO2保护气,镁合金熔化后,加入Mg-Y中间合金得到镁合金熔体,使Y的质量分数为0.2%-1.2%;将镁合金熔体降温后加入预热后的漂珠,搅拌2-5min后升温至715-725℃,继续搅拌1min后,扒渣并进行浇注,即制备得到漂珠/AZ91D镁合金复合材料;其制备工艺简单,原料价格低廉,对设备和试验条件要求不高,操作简单,实用性强,能耗低,环境友好,易于工业化生产。

标签:
复合材料
山东 - 青岛 来源:中冶有色网 2023-03-18
用于脱除燃煤烟气中单质汞的活性炭/沸石型体复合材料及其制备方法

本发明公开了一种以煤矸石为原料,制备用于脱除燃煤烟气中单质汞的活性炭/沸石型体复合材料,属于吸附剂制备领域。该制备方法包括:选用煤矸石为原料,加入沥青、白炭黑混合成型、烘干、炭化、活化、加压浸渍等工序,该加压浸渍是将活化后的样品和一定浓度的偏矾酸铵溶液和草酸溶液的混合液混合,放入密闭高压反应釜中,加压浸渍,自然冷却至室温。本发明选用煤矸石为原料,不仅使煤矸石得到了回收利用,解决了煤矸石造成的环境污染问题;采用加压浸渍法制备型体复合材料,该方法简化了工序,而且加压浸渍化学活化可以明显增大活性炭的比表面积和孔容,制备得到具有高比表面积、高吸附效果的活性炭/沸石型体复合材料。

标签:
复合材料
山东 - 青岛 来源:中冶有色网 2023-03-18
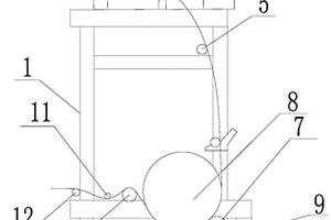
用于轻型酚醛发泡复合材料的材料贴合机构

本实用新型公开了一种用于轻型酚醛发泡复合材料的材料贴合机构,该机架上部设置有导入布置纤维材料的纤维导入辊,纤维导入辊一侧上设置有调节辊,调节辊一侧的机架设置有纠偏结构,纠偏结构下方的机架上设置有第一过渡辊;机架底部设置有用于导入基材的基材导入棍,基材导入辊上方设置有橡胶辊;机架下部设置有冷水辊,冷水辊与橡胶辊的对应辊面形成挤压间隙。使纤维材料经纤维导入辊、调节辊、纠偏结构与第一过渡辊后包绕在冷水辊对应处并进入挤压间隙,基材经基材导入辊、橡胶辊进入挤压间隙,在挤压间隙处使基材与纤维材料相粘合形成复合材料,为后续工艺提供质量稳定的复合材料,本实用新型具有结构简答、制造成本低、运行稳定等特点。

标签:
复合材料
山东 - 青岛 来源:中冶有色网 2023-03-18
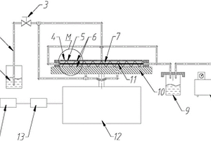
复合材料注胶装置
复合材料注胶装置 832     
 0

本实用新型公开了一种复合材料注胶装置,包括注胶机箱,注胶机箱对称的两侧端面上分别设置有材料进口和材料出口,注胶机箱的进口端面处安装有引导机箱,引导机箱中安装有等距设置的除尘辊;注胶机箱内依次并排设置有定位引导机构、注胶机构、压实机构和风机,定位引导机构靠近材料进口,风机靠近材料出口,注胶机构与压实机构之间设置有胶液平覆机构,压实机构与风机之间设置有隔板;本方案对材料板片进行预先清理,避免因灰尘造成粘接不牢,省去单独的清理工序,提高注胶效率;避免复合材料板片发生位置偏移而导致无法在复合材料板片上均匀喷胶涂覆,使复合材料板片能够更好的成型,并使胶液快速凝固,提高作业效率的同时,保证材料成型质量。

标签:
复合材料
山东 - 青岛 来源:中冶有色网 2023-03-18
基于液体3,4-聚异戊二烯的高性能橡胶复合材料及其制备方法

一种基于液体3,4‑聚异戊二烯的高性能橡胶复合材料及其制备方法,属于液体橡胶技术领域。该基于液体3,4‑聚异戊二烯的高性能橡胶复合材料,包括的橡胶原料成分为:不饱和橡胶和液体3,4‑聚异戊二烯,按质量比,不饱和橡胶:液体3,4‑聚异戊二烯=100:(2‑30)。以橡胶原料100份,还包括填料40~70份,加工助剂2~30份,活性剂3~8份,硫化助剂3~10份。制备的基于L3,4‑IR的高性能橡胶复合材料,混炼胶门尼粘度低,且其硫化胶具备优异动态力学性能,可适应于制备高性能绿色轮胎,且能够改善材料耐热性能。此外,通过对材料成分的调整,还能够进一步优化制品磨耗性能。

标签:
复合材料
山东 - 青岛 来源:中冶有色网 2023-03-18
增强聚丙烯复合材料及其制备方法

本发明属于聚丙烯领域,针对现有增强聚丙烯复合材料存在的加工性能、韧性和强度不能满足汽车材料薄壁化需求的问题,本发明提供一种增强聚丙烯复合材料及其制备方法:按重量份计,该复合材料的原料组成如下:接枝母料A 40‑70份、催化母料B 2‑4份、高抗冲聚丙烯0‑10份、增韧剂10‑30份、线性低密度聚乙烯0‑10份、滑石粉15‑25份、成核剂0.1‑0.5份以及其他助剂3‑5份。采用两步法硅烷交联工艺,制备的材料兼具优异韧性和高刚增强特性,能够满足现代汽车零部件薄壁化发展需求;注塑过程中接枝与交联反应分开且无水分干扰,在挤出注塑过程中能够实现长流程快速成型的要求。

标签:
复合材料
山东 - 青岛 来源:中冶有色网 2023-03-18
高性能木塑复合材料及其制备方法

本发明涉及一种高性能木塑复合材料及其制备方法,木塑复合材料由以下组分按照重量份数制备而成:植物纤维50‑70份,聚烯烃10‑30份,沙林树脂1‑10份,POK 1‑10份,偶联剂1‑5份,增韧剂1‑5份。与传统木质材料相比,本发明制备的高性能木塑复合材料优势在于:具有优异的加工性能、优异的气体阻隔性能、抗冲击性能、抗水解性能,耐磨耐刮擦耐腐蚀且不易虫蛀,能重复使用和回收再利用,是一种极其环保的材料,可以适用于建筑、包装、运输、汽车工业、办公家具、体育设备等各种实体木材或塑料制品应用领域。

标签:
复合材料
山东 - 青岛 来源:中冶有色网 2023-03-18
橡胶复合材料及其制备工艺和应用

本发明涉及一种橡胶复合材料及其制备工艺和应用,制备工艺的具体步骤为:(1)把丁苯橡胶、防老剂、硬脂酸、氧化锌,等离子体改性白炭黑以及硅烷偶联剂(Si69)依次加入到容器中混合均匀,停放5‑20h后再加入硫黄和促进剂混炼,得到混合材料;(2)将所得到的混合材料进行硫化成型,得到橡胶复合材料。本发明在高抗湿滑、低滚动阻力绿色轮胎用高性能橡胶复合材料开发领域具有潜在的应用价值。

标签:
复合材料
山东 - 青岛 来源:中冶有色网 2023-03-18
柔性可修复导电有机硅复合材料及其制备方法与应变传感器应用

本发明涉及一种柔性可修复导电有机硅复合材料及其制备方法与应变传感器应用,属于柔性复合材料领域。本发明利用含儿茶酚残基的单体衍生物B通过Schiff碱反应改性含氨基聚硅氧烷衍生物A和氨基改性的多壁碳纳米管D分别得到含亚胺键和儿茶酚残基的聚硅氧烷衍生物C和含亚胺键和儿茶酚残基的改性多壁碳纳米管E,将含亚胺键和儿茶酚残基的聚硅氧烷衍生物C和含亚胺键和儿茶酚残基的改性多壁碳纳米管E进行复合,并且加入氯化锌,搅拌并超声后获得基于氢键、金属配位键和亚胺键的有机硅复合材料,其具有高效的室温自愈能力、出色的力学性能、优秀的导电能力和敏感的传感能力。可应用于柔性传感、电子皮肤、可穿戴电子产品和软体机器人中的应用。

标签:
复合材料
山东 - 青岛 来源:中冶有色网 2023-03-18
木质复合材料
木质复合材料 967     
 0

本发明涉及一种木质复合材料,该木质复合材料有200‑550kg/m3的密度和4000‑12000MPa的刚度,所述刚度是根据标准EN789的4点弯曲实验测得的。所述木质复合材料包含长纤维和粘合剂,长纤维的瘦长系数大于30,而粘合剂有泡沫结构。

标签:
复合材料
山东 - 青岛 来源:中冶有色网 2023-03-18
改性PP复合材料的制备方法

本发明属于塑料改性技术领域,特别是涉及一种改性PP复合材料的制备方法;其由均聚PP、共聚PP、滑石粉、耐寒剂、抗氧剂、润滑剂和偶联剂组成,其中均聚PP和共聚PP占原料总量的重量百分比为50%-90%,且两者的重量比例为0.5-1:1;其制备方法包括共混、挤出和造粒;本发明提供的复合材料在低温条件下仍能保持良好的韧性,满足PP复合材料在较低温度下的使用要求。

标签:
复合材料
山东 - 青岛 来源:中冶有色网 2023-03-18
具有良好的阻燃效果的尼龙复合材料

一种具有良好的阻燃效果的尼龙复合材料,其由以下重量份数的原料制成:耐高温尼龙40-55份,酚醛树脂2-4份,季戊四醇1-3份,双乙撑硬脂酸酰胺1.2-2.6份,硅烷偶联剂2-5份,碳化硅陶瓷粉8-14份,羧甲基纤维素1-3份,尿素2-4份,环三硅氮烷3-5份,表面活性剂4-7份,阻燃剂25-36份,抗氧剂1-2份,丙烯酸树脂7-10份,钛酸酯偶联剂1.5-2.3份。本发明的有益效果是:本发明的具有良好的阻燃效果的尼龙复合材料,具有优异的阻燃性能,复合材料的强度得到提高,大大提高了其力学性能,材料的性质稳定,耐热、耐候性能优良。

标签:
复合材料
山东 - 青岛 来源:中冶有色网 2023-03-18
graphene-OPBI复合材料的制备方法

本发明涉及一种graphene-OPBI复合材料的制备方法,步骤如下:(1)制备石墨烯溶液;(2)在100ml三口瓶中将甲烷磺酸/石墨烯溶液与纯甲烷磺酸溶液混合,得到总体积为30ml的溶液,使石墨烯的含量达到0.6wt%,加入5g五氧化二磷,搅拌溶解;随后在体系中加入5mmol 3, 3’-二氨基联苯以及5mmol 4, 4’-二苯甲酸醚,升温至140°C,在氮气氛围下搅拌反应4分钟;随后将产物沉析至冰水中,用5%的碳酸氢钠溶液洗涤24小时后,再用去离子水洗涤24小时,烘干后得到石墨烯-聚醚型苯并咪唑复合材料;(3)将0.5g石墨烯-聚醚型苯并咪唑复合材料加入到10ml二甲亚砜中,搅拌溶解,随后浇铸于光滑的玻璃板上,经干燥-洗涤-干燥,所得膜厚度为0.02-0.04mm。复合膜的物理性能大大提高。

标签:
复合材料
山东 - 青岛 来源:中冶有色网 2023-03-18
废塑料与植物纤维复合材料

一种废塑料与植物纤维复合材料,它是以大量植物纤维特别是木屑为材料,以废热塑性塑料为粘结剂,经过一定工艺复合而成集塑料、木材之优点于一体的复合材料,这种复合材料不仅能代替木材,塑料制作家具、门窗、工艺品以及包装、装潢、隔音、防潮和防蛀等材料,而且成本低、经济效益好。是一个较为理想的、一举多得、变客为利、变废为宝的经济技术开发项目和环保措施。

标签:
复合材料
山东 - 青岛 来源:中冶有色网 2023-03-18
阻燃导电性聚丙烯复合材料

本发明公开了一种阻燃导电性聚丙烯复合材料,其特征在于,原料各组分按照重量分组成如下:聚丙烯45-55份、聚乳酸树脂15-20份、溴化环氧树脂4-6份、N-六羟甲基氨基环三磷腈阻燃剂2-4份、抗氧剂0.4-0.6份、六次亚甲基四胺3-5份、氧化镁1.2-1.5份、导电剂2-3份、脱模剂0.8-1.2份、玻璃纤维6-8份。本发明的阻燃剂采用N-六羟甲基氨基环三膦腈,其制作方法简单,用量少,得到的复合材料具有遇火碳化面积小、无残焰、不阴燃等优点,热变形温度250℃,阻燃性达到V-0等级(UL-94-V-01.6mm),采用具有高催化性能的导电炭黑,具有优异的电性能,抗氧化剂使复合材料具有抗氧化的优点,应用前景广阔。

标签:
复合材料
山东 - 青岛 来源:中冶有色网 2023-03-18
抗静电增强级PC/PET复合材料及其制备方法

本发明公开了一种抗静电增强级PC/PET复合材料及其制备方法。本发明的抗静电增强级PC/PET复合材料,其组分按质量百分数配比为:PC40%~60%、PET15%~30%、增强剂10%~15%、抗静电剂1%~3%、增塑剂0.5%~2%、相容剂1%~3%、抗氧剂0.1%~0.5%、润滑剂0.5%~1%。本发明的有益效果是,与现有技术相比,本发明制得的抗静电增强级PC/PET复合材料,具有优良力学性能和机械性能,而且具有抗静电效果好,成本低,可广泛适用于汽车、电子电器、建筑材料、机械零件、运动器械、仪器仪表等领域。

标签:
复合材料
山东 - 青岛 来源:中冶有色网 2023-03-18
基于纳米复合材料传感器的制备方法及应用

本发明公开了一种基于纳米复合材料传感器的制备方法及应用,先用GO‑Fe3O4和EDOT配制成沉积液,通过电化学的方法,制备出GO‑Fe3O4/PEDOT纳米复合材料,修饰玻碳电极为工作电极,在催化剂的作用下将氨基化DNA固定在GO‑Fe3O4/PEDOT纳米复合材料上,制备出可以检测microRNA的生物传感器,建立了CC法和I‑T法两种检测模式,其具有较好的选择性和较高的灵敏度,可以适应当前血清中microRNA表达水平检测精度的要求,为开发快速在线检测血清中microRNA表达水平的检测装置提供了重要支持。

标签:
复合材料
山东 - 青岛 来源:中冶有色网 2023-03-18
镍钴铁硫多元金属氧(硫)化物纳米核壳状复合材料及其制备方法

本发明公开了一种镍钴铁硫多元金属氧(硫)化物纳米核壳状复合材料及其制备方法。首先利用水热反应,在碳纤维布上生长NiCo2O4前驱体。然后将制备好的前驱体进行水浴反应,制得NiCo2‑xFexO4纳米管状材料。最后,将制备好的NiCo2‑xFexO4纳米管状材料再次进行水热反应,最终制得NiCo2‑xFexO4/Ni2CoS4复合材料。本发明所制备的复合材料为纳米级核壳结构,NiCo2‑xFexO4管为核,管外均匀包覆着的Ni2CoS4薄片为壳。该复合材料独特的结构不仅增大材料的比表面积,提高其循环稳定性,而且管状结构和硫元素的高氧化态,加快了电极反应动力学,提高了其超电容性能。本发明的制备方法操作简单,成本低廉,在能量存储、催化剂等领域具有广阔的应用前景。

标签:
复合材料
山东 - 青岛 来源:中冶有色网 2023-03-18
高效去除微藻赤潮的改性粘土复合材料及其制备方法

本发明属于海水藻类污染的处理方法,具体的说是一种高效去除微藻赤潮的改性粘土复合材料及其制备方法及利用复合材料去除超微型藻赤潮的方法。改性粘土复合材料是采用硫酸盐为聚合桥连剂合成的无机高分子絮凝剂改性粘土。在施用时,可以直接利用海水为分散剂,预混成成一定浓度悬浊液后喷洒到超微型藻赤潮水体表面,即可以实现快速消除赤潮的效果。该新型改性粘土复合材料不仅对超微型藻具备高效去除能力,同时对于常见的微型藻赤潮也有较好去除效果。

标签:
复合材料
山东 - 青岛 来源:中冶有色网 2023-03-18
吸收电磁波的镍-碳复合材料及其制备方法

本发明涉及一种吸收电磁波的镍‑碳复合材料及其制备方法。该镍‑碳复合材料制备方法包括制备溶液A、制备溶液B、制备金属有机框架材料与制备镍‑碳复合材料等步骤。本发明电磁波吸收材料能够很好地吸收电磁波,最大反射损耗可以达到‑40dB,对应地吸收带宽为2GHz。本发明制备方法成本低,易于实现工业化生产,因此具有良好的推广应用前景。

标签:
复合材料
山东 - 青岛 来源:中冶有色网 2023-03-18
环保动力节能器用复合材料

本发明涉及一种环保动力节能器用复合材料。该复合材料是以玻璃圆珠作为基材,添加石墨烯、负离子粉、远红外粉和电气石粉制备而成,其中,其中,石墨烯占基材玻璃圆珠重量的10%,负离子粉占基材玻璃圆珠重量的70%,远红外粉占基材玻璃圆珠重量的10%,电气石粉占基材玻璃圆珠重量的10%。将该节油器用复合材料应用到汽车、船舶节油减排装置中,能够达到节油减排、清积碳、提高动力和清洁油路、降低污染的技术效果,提升了成品油的油品,并最终达到了节能器节油的目的。

标签:
复合材料
山东 - 青岛 来源:中冶有色网 2023-03-18
氧化铝陶瓷复合材料
氧化铝陶瓷复合材料 886     
 0

本发明提供一种氧化铝陶瓷复合材料。其技术方案是:氧化铝70-85%,二氧化硅50%,氧化钙20%,氧化镁15%,余为杂质。其特征是:按重量百分比氧化铝70-85%,二氧化硅50%,氧化钙20%,氧化镁15%,将上述原料混合;在1200-1500℃,压力为20-28MPa下热压成型,恒温时间为15-20分钟即可。本发明优点该复合材料制备工艺简单,原材料成本低,生产投资少,是一种低成本的氧化铝陶瓷复合材料。

标签:
复合材料
山东 - 青岛 来源:中冶有色网 2023-03-18
高抗冲抗静电加强PC/PET复合材料及其制备方法

本发明公开了一种高抗冲抗静电加强PC/PET复合材料及其制备方法。本发明的高抗冲抗静电加强PC/PET复合材料,其组分按质量百分数配比为:PC40%~60%、PET10%~30%、玻璃纤维5%~15%、抗静电剂1%~3%、增强填充剂5%~10%、增韧相容剂2%~5%、抗氧剂0.1%~0.5%、润滑剂0.1%~1.5%。本发明的有益效果是,本发明采用首先制备PET抗静电母粒、再用于改性PC所制得的高抗冲抗静电加强PC/PET复合材料,在兼具有PC、PET各自优异性能的同时,具有优良的抗静电性能,同时添加玻璃纤维与增强填充剂可以起到很好的协同增强、增韧作用,从而大大提高了拉伸强度、弯曲强度、抗冲强度、刚度的力学性能,而且降低了成本。

标签:
复合材料
山东 - 青岛 来源:中冶有色网 2023-03-18
阻燃尼龙复合材料
阻燃尼龙复合材料 1043     
 0

一种阻燃尼龙复合材料,其由以下重量份数的原料制成:聚酰胺20-35份,亚磷酸三苯酯2-4份,辛二酸1-3份,玻璃纤维1.5-2.6份,煅烧高岭土4-8份,阻燃剂4-8份,改性有机硅树脂12-22份,过氧化甲乙酮0.8-1.4份,纳米氢氧化镁6-11份,硫化剂1.2-2份,蒙脱土2-7份,玻璃纤维12-16份,润滑剂2-4份,支化剂2.5-3.5份,硬脂酸1-2份,竹纤维6-9份。本发明的有益效果是:本发明的阻燃尼龙复合材料,具备极佳的阻燃性能,复合材料的力学性能得到提高,耐高温耐腐蚀抗氧化性能优良,而且制备方法简单。

标签:
复合材料
山东 - 青岛 来源:中冶有色网 2023-03-18
玻纤增强增韧耐候PC复合材料及其制备方法

本发明公开了一种玻纤增强增韧耐候PC复合材料及其制备方法。本发明的玻纤增强增韧耐候PC复合材料,其组分按质量百分数配比为:PC树脂60%~80%、玻璃纤维5%~25%、增韧剂5%~15%、耐水解剂0.5%~2%、光稳定剂0.5%~2%、抗氧剂0.1%~0.5%、润滑剂0.1%~1%、色母0~1%。本发明的有益效果是,与现有技术相比,本发明制得的PC复合材料较纯PC相比,大大提高了冲击强度、光泽性、导电导热性、断裂伸长率等,而且还具有良好的流动性,可很好地弥补了纯PC对缺口敏感、耐疲劳强度低等缺陷,可广泛应用于机械、电子电器、医疗器材、光学照明等领域。

标签:
复合材料
山东 - 青岛 来源:中冶有色网 2023-03-18
上一页 70 71 72 73 74 ... 90 下一页
共90页    到第

中冶有色为您提供最新的山东青岛有色金属复合材料技术理论与应用信息,涵盖发明专利、权利要求、说明书、技术领域、背景技术、实用新型内容及具体实施方式等有色技术内容。打造最具专业性的有色金属技术理论与应用平台!

全国热门有色金属设备推荐
展开更多 +
全国热门有色金属技术推荐
展开更多 +

 

江西省隆恩特环保设备有限公司
宣传

报名参会
更多+

报告下载

有色专家
更多+

太原理工大学
院长/教授
中国瑞林工程技术有限公司
中国工程院院士
西安建筑科技大学
院长/教授
长沙有色冶金设计研究院有限公司
党委书记、董事长
中南大学
粉末冶金国家重点实验室 主任
赤泥综合利用研究报告2025
推广

热门技术
更多+

推荐企业
更多+

福建省金龙稀土股份有限公司
宣传

发布

在线客服

公众号

电话

顶部
咨询电话:
010-88793500-807