青岛垚鑫智能科技有限公司
宣传

位置:中冶有色 >

有色技术频道 >

> 固/危废处置技术

分类:
全部
矿山技术
冶金技术
材料制备及加工技术
环境保护技术
分析检测技术
 
全部
废水处理技术
大气治理技术
固/危废处置技术
土壤修复技术
地区:
全部
北京
天津
上海
重庆
河北
山西
辽宁
吉林
黑龙江
江苏
浙江
安徽
福建
江西
山东
河南
湖北
湖南
广东
海南
四川
贵州
云南
陕西
甘肃
青海
内蒙
广西
西藏
宁夏
新疆
其他
其他
展开
 
全部
天津

天津天津有色金属固/危废处置技术理论与应用

免费发布技术信息>>
处理废塑料的工艺方法

处理废塑料的工艺方法涉及一种对废弃塑料进行处理以获得有用溶剂或固体蜡的工艺方法,包括热熔、裂解和分馏三道工序,即首先将废塑料热熔为低分子流体物,然后将去杂后的低分子流体物裂解并将裂解物分馏得到溶剂或固体蜡。本发明工艺简单,成本低,处理废塑料所获得的产品用途广,因而具有很好的经济效益和社会效益,可广泛有于处理聚乙烯、聚丙烯、聚氯乙烯、聚四氯乙烯、聚苯乙烯等废塑料。

标签:
固废
天津 - 天津 来源:中冶有色网 2023-03-19
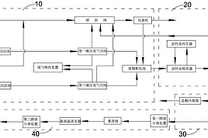
工业化废酸综合处理系统

本实用新型提供了一种工业化废酸综合处理系统,包括按照工艺步骤依次设置的废酸预处理单元、深度处理单元、盐酸回收单元和无机盐回收单元,其中废酸预处理单元包括并列设置的盐酸类废酸预处理单元和硫酸类废酸预处理单元,通过独立去除废酸中的重金属元素和不溶物固体杂质,避免盐酸类废酸和硫酸类废酸混合后发生大量离子交换,导致预处理过程中大量盐酸挥发损失的技术问题,并通过配伍池将预处理后的盐酸类废酸和硫酸类废酸配伍,再经盐酸回收单元和无机盐回收单元将配伍液中的有效成分转化为硫酸盐和盐酸,所得盐酸的质量浓度>20%,可直接用于工业生产,硫酸盐可直接用于复合农肥,实现了硫酸类废酸和盐酸类废酸的零排放和资源化利用。

标签:
固废
天津 - 天津 来源:中冶有色网 2023-03-19
废弃物预处理系统
废弃物预处理系统 1202     
 0

本实用新型涉及废弃物预处理系统,该废弃物处理系统包括进料设备、破碎机、溜槽、搅拌机、喂料器、固体泵、高压管道、喷枪和焚烧炉,所述进料设备与所述破碎机的进料斗连接,所述破碎机的出料斗通过溜槽与所述搅拌机连接,所述搅拌机的底部连接喂料器,所述喂料器连接固体泵,所述固体泵经过高压管道连接喷枪,所述喷枪的出口处连接焚烧炉,该系统处理过程密闭,避免人员接触,提高操作安全性,同时通过固液均匀配伍处理,有效地提高了焚烧装置的操作弹性和处理能力,对于废弃物预处理有着十分重要的现实意义。

标签:
固废
天津 - 天津 来源:中冶有色网 2023-03-19
高级氧化处理高COD乳化制剂废水的方法

本发明公开了一种高级氧化处理高COD乳化制剂废水的方法,首先,用回收盐酸调节乳化制剂废水的pH为3,加入七水硫酸亚铁固体,并使七水硫酸亚铁固体溶解,加入双氧水混合均匀后,静置氧化2‑12小时破乳,并进行油水分离;然后,用氢氧化钙固体调节水相的pH至8‑9,加入阴离子聚丙烯酰胺进行絮凝,静置1‑2小时后去除沉淀;上清液排入中水罐内,直接回用至制剂生产工段,进行循环利用。实现对高COD乳化制剂废水进行低成本处理,废水COD下降95%以上,减少了危险废弃物的产生量,且由于对处理后出水进行了中水回用,并进行资源化、无害化、价值最大化,是一种环境友好型高COD乳化制剂废水的处理方法。

标签:
固废
天津 - 天津 来源:中冶有色网 2023-03-19
环保工程用废弃油脂回收处理设备

本发明公开了环保领域的一种环保工程用废弃油脂回收处理设备,其主要包括包括箱体,所述箱体顶端设置有食物残渣入料口,底端设置有液体收集盒和固体收集盒,箱体内中部设置转运机构,所述转运机构包括转动安装在箱体上的转动轴,所述转动轴周向间隔安装有连杆,连杆上均安装有过滤机构,所述过滤机构包括安装有滤网的过滤盒,过滤盒内安装有用于在转运时挤压食物残渣的挤压机构和用于在转运时清理残留在过滤盒内固体的清理机构。本发明能够在过滤盒对食物残渣进行转运时自动对食物残渣进行挤压以便使固液分离充分,并在转运后自动对过滤盒进行清理使食物残渣中固体能够完全落入固体收集盒中,避免影响后续固液分离,提高对废弃油脂的回收率。

标签:
固废
天津 - 天津 来源:中冶有色网 2023-03-19
控制高盐废水中氯化钠与硫酸钠截留率的处理方法

本发明公开了一种控制高盐废水中氯化钠与硫酸钠截留率的处理方法,通过前期对含盐废水的成分分析并进行预处理,最终确定的步骤是酸碱调节和活性炭吸附,废水经预处理后进入纳滤、反渗透组件,得到浓水和淡水,浓水返回到原水箱继续循环,淡水流入淡水箱,实验过程中记录压力、浓水流速、淡水流速、淡水电导率和废水温度,浓水和淡水出口溶液的含盐量,利用纳滤膜特性将二价盐和有机物从一价盐中分离出来,除去废水中含有的大量有机物质,然后进行蒸发浓缩和结晶步骤,分别得到杂质较少的氯化钠固体和硫酸钠固体;本发明充分有效地运用膜法分离技术,具有流程合理,可资源回收,经济高效,运行稳定,实现废水的资源化利用等优点。

标签:
固废
天津 - 天津 来源:中冶有色网 2023-03-19
燃煤锅炉烟气脱硫废水处理工艺

本发明公开了一种燃煤锅炉烟气脱硫废水处理工艺:包括:将脱硫废水经水力旋流器处理后得到的溢流水和底流过滤压榨滤液混合收集于废水缓冲罐后引入絮凝反应器中,完成加药和絮凝反应过程;絮凝反应后的废水进入澄清浓缩池沉降一定时间,上清液作为脱硫工艺水或排入厂区公用排水系统;澄清浓缩池底污泥脱水处理,脱出液引入废水缓冲罐或返回至澄清浓缩池进水管道,脱水固渣与旋流器底流脱水固渣集中处理。经该工艺处理后的出水水质满足DL/T997—2006标准要求。该工艺只需添加一种固体粉末处理药剂,不需要进行药剂溶解配制,出水不需要调整酸碱度,工艺流程简单,设备投资少,控制系统简单,极大提高脱硫废水处理系统运行稳定性。

标签:
固废
天津 - 天津 来源:中冶有色网 2023-03-19
医疗废物收集装置
医疗废物收集装置 861     
 0

本实用新型提供了一种医疗废物收集装置,包括箱体和控制器;所述箱体的顶部开设有第一投料口和第二投料口,所述第一投料口的下方设置有两块位于同一水平面的密封板,所述密封板的外侧均连接有用于控制其水平往复运动的第一气缸,其活塞杆与密封板的外侧连接;所述箱体的内部设置有固体废料桶和液体废料桶;所述箱体的外部设置有第一传感器和第二传感器。本实用新型所述的收集装置将固体医疗废物和液体医疗废物分开收集,无需人工分拣,在固体医疗废物的投入口设置有密封板,液体医疗废物的投入口设置有盖体,有效地避免了医疗废物中有毒和有害物质挥发,以及异味的散发。

标签:
固废
天津 - 天津 来源:中冶有色网 2023-03-19
用于工业废水的生化调节装置

本实用新型涉及废水处理技术领域,且公开了一种用于工业废水的生化调节装置,包括箱体以及与箱体相连通的进水管和出水管,所述箱体的内侧设置有第一隔离腔、第二隔离腔和第三隔离腔,所述箱体的内部转动连接有转轴。该用于工业废水的生化调节装置,通过在固定架的内侧设置吸附层可对废水中含有的固体颗粒进行吸附,避免固体颗粒过多堆积导致管道堵塞,通过在箱体的内部设置第一隔离腔、第二隔离腔和第三隔离腔能够使装置对位于箱体内部的废水进行隔离,使得装置可以通过六个搅拌机构对位于第一隔离腔、第二隔离腔和第三隔离腔内部的废水分别进行搅拌,降低挡板所受到的阻力,提高装置对废水的搅拌效果。

标签:
固废
天津 - 天津 来源:中冶有色网 2023-03-19
废液回收利用装置
废液回收利用装置 1159     
 0

本实用新型提供一种废液回收利用装置,包括废液分离池、罐车、废沙回收站、搅拌站和水站,所述搅拌站与所述水站连接,所述搅拌站与罐车连接,所述罐车与所述废液分离池连接,所述废液分离池与所述水站连接,所述废液分离池与所述废沙回收站连接,将液体进行循环利用。本实用新型的有益效果是由于采用上述技术方案,这个系统将废水与废料进行分离,通过多级分离,将废液的固体与液体分开,液体进入液体回收处,固体沉淀在各级分离池内,结构简单,操作更加方便;具有维修方便,加工成本低、生产效率高等优点。

标签:
固废
天津 - 天津 来源:中冶有色网 2023-03-19
工业废弃物再生资源分离回收装置

本实用新型公开了一种工业废弃物再生资源分离回收装置,包括底板、固液分离组件、烘干组件和分拣组件,所述固液分离组件、烘干组件和分拣组件均固定安装在底板顶部,所述固液分离组件固定安装在底板顶部一端,所述固液分离组件包括分离箱、过滤板、进料管安装装置和出料挡板,所述分离箱与底板顶部固定连接,所述分离箱内开设有第一空腔,此工业废弃物再生资源分离回收装置,通过固液分离组件,对固液共存的工业废弃物进行固液分离,然后通过烘干组件,将固体废弃物烘干,方便于回收利用,最后通过分拣组件,能够直接对分离之后的固体废弃物进行分类分拣,减少了人工作业量,提高了资源回收的效率。

标签:
固废
天津 - 天津 来源:中冶有色网 2023-03-19
汽车配件生产车间废气净化处理装置

本实用新型公开了一种汽车配件生产车间废气净化处理装置,包括筒体,筒体下端内安装有底座,底座上设有滚轴丝杆,筒体上端设有伺服电机,伺服电机输出端上连接有一级锥齿轮,一级锥齿轮上啮合连接有二级锥齿轮,滚轴丝杆与二级锥齿轮螺纹连接,滚轴丝杆上螺纹连接有滚轴螺母,且滚轴螺母上焊接有圆盘。本实用新型通过在筒体内对收集的车间废气进行集中化学与物理方式的统一处理,从而减少废气中的一氧化碳含量,从而降低一氧化碳的吸收对人体健康的影响,且利用活性炭颗粒加速对固体粉尘的吸附,从而降低固体粉尘的活动性,实现对废气中有害物质的双重处理,利用筒体内产生的负压加速气体流动,从而实现废气处理效率的提升。

标签:
固废
天津 - 天津 来源:中冶有色网 2023-03-19
硫代硫酸铵废水处理方法

本发明属于废水处理领域,具体涉及一种硫代硫酸铵废水处理方法,包括下述步骤:将硫代硫酸铵废水通过MVR蒸发得到高TOC硫代硫酸铵母液;将母液与氧化剂进行氧化;将氧化后废水过滤后分析固体残渣组成;固体残渣硫磺含量高于95%,可以作为硫磺直接投入生产工序回用;将氧化后过滤后的废水通过大孔径树脂吸附;将大孔径树脂吸附后的母液并入原水进入MVR蒸发系统,得到工业盐以及生产回用水。该处理工艺,整个工艺处理过程完整,所有废物得到有效处理,处理费用低,工艺风险低,是一种有效处理硫代硫酸铵废水的处理方案。

标签:
固废
天津 - 天津 来源:中冶有色网 2023-03-19
含铁废硫酸溶液的资源回收利用方法

本发明公开了一种含铁废硫酸溶液的资源回收利用方法,包括以下步骤:将含铁废硫酸溶液加入预处理反应釜中,在预处理反应釜中投加铁粉和重金属捕捉剂进行混合搅拌反应,过滤,得到反应液;将反应液提升至结晶反应釜中,降温的同时将工业硫酸按一定比例加入结晶反应釜中混合搅拌,反应结晶,过滤,得到两种产品:高纯度硫酸亚铁晶体(固体)和稀硫酸溶液。本发明的有益效果是:从含铁硫酸溶液中获得两种产品:高纯度硫酸亚铁晶体(固体)和稀硫酸溶液,其工艺操作简单、生产安全环保、硫酸利用率高、无废液排放、经济效益好。获得的硫酸亚铁,保存和运输方便、重金属含量极低、附加值高,用于制铁盐、氧化铁颜料、媒染剂、净水剂、防腐消毒剂等。

标签:
固废
天津 - 天津 来源:中冶有色网 2023-03-19
利用废催化剂生产污水絮凝剂的方法

本发明提供一种利用废催化剂生产污水絮凝剂的方法,包括如下步骤:1)前处理:将废催化剂粉碎至40~60目颗粒,经600~800℃焙烧活化6-12h,待用;2)聚合反应:将强酸及水加入反应釜中,开启搅拌升温,温度达到预定值时,向反应釜投加一定比例的废催化剂和铝矾土,反应3小时;3)调整反应:将反应釜中反应物从卸料口卸至调整反应池中,加入一定比例的铝酸钙粉和水继续反应2-2.5小时;4)后处理:将调整反应后的溶液冷却至40度进行压滤,得到液体产品。本发明利用废催化剂生产污水絮凝剂,彻底解决了广大石化公司固体废物的处理难题,在节约了固体废物处理费用的同时,创造了新的利润增长点,同时,彻底解决了固体废物对环境的污染问题。

标签:
固废
天津 - 天津 来源:中冶有色网 2023-03-19
降解废水中苯胺的方法
降解废水中苯胺的方法 1153     
 0

本发明涉及一种降解废水中苯胺的方法,称取固体NaHCO3溶于蒸馏水中,配制浓度为0.05M‑0.4M的NaHCO3水溶液,pH=7‑9.5,得溶液a;称取固体MnCl2·4H2O溶于蒸馏水中,配制5mM‑35mM的MnCl2水溶液,pH=7‑9.5,得溶液b;将含有苯胺的工业废水稀释,取浓度范围在0.4mM‑2mM的含苯胺废水,pH=7‑9.5,得溶液c;按体积比为(0.5‑2):(0.5‑2):1:0.05的比例,将溶液a、b、c和30%过氧化氢溶液混合,在25‑35℃反应。本发明的方法可以有效的氧化降解苯胺废水,对于废水中的苯胺物质可以完全去除,远高于现有的苯胺废水去除效率。

标签:
固废
天津 - 天津 来源:中冶有色网 2023-03-19
从含氯化铵的废液中回收氯化铵的方法

一种从含氯化铵的废液中回收氯化铵的方法,采用多效、热泵、真空蒸发工艺,选用降膜蒸发器,其工艺流程是:二效顺流流程,三效或四效混流流程,蒸发后的液体打入结晶槽内冷却结晶出固体氯化铵。冷却用水循环使用。该方法解决了废液对环境的污染,不产生二次污染,节约能源,降低成本,生产效率高。适合于从各种含氯化铵的废液中回收氯化铵的场合。

标签:
固废
天津 - 天津 来源:中冶有色网 2023-03-19
含钼废水处理工艺
含钼废水处理工艺 958     
 0

本发明提供一种含钼废水处理工艺,包括如下步骤:含钼废水流入到格栅渠、集水池、配水池、旋流除砂器,其中分离出来的固体送入砂水分离器脱水收集,分离出来的液体进入混凝反应器中;絮凝完毕后,接着进入磁分离设备;磁分离设备所分离出的絮凝物进入磁分离磁鼓,分离出固体污泥和可再生利用的磁粉,磁粉进入混凝设备再利用,固体污泥进行污泥处理。相对于现有技术,本发明所述的含钼废水处理工艺具有以下优势:处理时间短,速度快,处理水量大,总反映时间不到5min;出水水质好,性能稳定;污泥含水率低;运行费用低,采用微磁絮凝技术,磁种循环利用;日常维护方便,设备无堵塞,无需反洗,自动化程度高。

标签:
固废
天津 - 天津 来源:中冶有色网 2023-03-19
罐车清洗废液的分离池

本发明提供一种罐车清洗废液的分离池,包括废液倾倒轨道、废液倾倒处、分离处、液体回收处和分离口,所述分离处为若干个呈阶梯面的分离池,所述分离池之间通过分离口连接,所述废液倾倒处与底面最高的分离池通过分离口连接且底面比其高,所述液体回收处与底面最低的分离池通过分离口连接且底面比其低,所述废液倾倒处与废液倾倒轨道连接,方便罐车倾倒。本发明的有益效果是由于采用上述技术方案,通过多级分离,将废液的固体与液体分开,液体进入液体回收处,固体沉淀在各级分离池内,结构简单,操作更加方便;具有维修方便,加工成本低、生产效率高等优点。

标签:
固废
天津 - 天津 来源:中冶有色网 2023-03-19
利用微生物燃料电池处理有机废气的方法

本发明属于废气物化处理技术领域,公开了一种利用微生物燃料电池处理有机废气的方法,准备双室微生物燃料电池,该电池的阳极室设置进气管道和出气管道;将阳极室内填充一部分生物质炭颗粒;将阳极室充满污水和磷酸盐缓冲液的混合液,培养若干天后将液体排出;将阴极室和阳极室分别充满磷酸盐缓冲液,通过进气管道向阳极室通氮气以将空气排尽;通过进气管道通入有机废气并在室温条件下连续通气,检测进气管道的进气口和出气管道的出气口处气体成分和浓度。本发明在将固体废弃物进行二次利用同时,将化学能直接和间接的转化为电能,不但有利于解决高浓度有机废气以及固体废弃物造成的污染问题,同时产生的电能可以作为能源二次利用。

标签:
固废
天津 - 天津 来源:中冶有色网 2023-03-19
废脱烯烃催化剂原位再生的方法

本发明公开了一种废脱烯烃催化剂原位再生的方法,涉及到固体废弃物再利用及催化剂再生领域。本发明方法包括:将废弃分子筛催化剂通过焙烧除去其中的有机物;按照一定的配比要求,将废固体催化剂、硅源、导向剂等物料放入到反应釜中进行晶化,晶化温度控制在90℃~130℃,晶化时间为10小时~30小时,反应结束后产物经过过滤、洗涤、干燥,得到再生的分子筛催化剂。本发明方法不破坏原有成型催化剂的结构,工艺流程简单、生产成本低;另一方面,再生产物结晶度及比表面积提高幅度大,收率高,为废弃固体催化剂再利用提供了一条可行的工业化路线。

标签:
固废
天津 - 天津 来源:中冶有色网 2023-03-19
利用对羟基苯海因生产废渣制备海因甲醛树脂的方法

本发明涉及利用对羟基苯海因生产固体废渣制备海因甲醛树脂的方法,将对羟基苯海因生产固体废渣回流溶解在乙醇溶剂中,在pH为2‑3条件下加入甲醛水溶液,反应生成含有3‑5个苯环的线性酚醛聚合物分子;然后用三乙醇胺水溶液调整pH为8.5‑10,再加入甲醛水溶液,使线性酚醛聚合物中海因分子与甲醛反应引入羟甲基,以提高海因甲醛聚合物的水溶性。反应完成后真空蒸馏回收乙醇溶剂,进一步浓缩为固体物含量为40%‑50%的海因甲醛树脂。本发明采用价廉易得的甲醛作为交联剂制备海因甲醛树脂,降低了海因树脂的生产成本,提高了产品水溶性和应用性能,实现废物的综合利用。

标签:
固废
天津 - 天津 来源:中冶有色网 2023-03-19
氧化铝生产用去除含盐废水的装置

本实用新型提供氧化铝生产用去除含盐废水的装置,包括废液池、格栅池、pH调节池、超滤池、蒸汽池、冷凝器和固体回收装置,废液池的出液口与格栅池通过废水输送管相连,格栅池的出液口与pH调节池的入液口相连,pH调节池的出液口与超滤池的入液口相连,超滤池的出液口与蒸汽池相连,蒸汽池的出液口与冷凝器相连,蒸汽池通过蒸汽输送管与冷凝器相连,蒸汽池分别与固体回收装置相连。本实用新型的有益效果是:本实用新型对含盐废水的除盐效果较好,可以将含盐废水中的盐分清除干净。

标签:
固废
天津 - 天津 来源:中冶有色网 2023-03-19
废水过滤排放装置
废水过滤排放装置 1006     
 0

本实用新型公开了一种废水过滤排放装置,包括过滤箱,所述过滤箱的内壁从上到下依次设置有固定板、反渗透膜管、消毒管以及活性炭层,所述过滤箱右侧的顶部通过转轴固定连接有盖板,所述过滤箱左侧的顶部设置有搭扣,所述盖板的表面开设有进水口,所述进水口的顶部连通有进水管,所述固定板的顶部开设有卡槽,卡槽的内部卡接有固体收集箱,固体收集箱的内壁从上到下依次设置有拉环、除味盒、缓冲过滤板以及过滤网,缓冲过滤板的表面开设有过滤口,固体收集箱的底部开设有出水口。该废水过滤排放装置,废水通过进水管和进水口进入固体收集箱内,缓冲过滤板与过滤网配合对废水中杂质进行过滤,防止了废水中的杂质对管道进行堵塞。

标签:
固废
天津 - 天津 来源:中冶有色网 2023-03-19
废显像管碎玻璃清洗剂及其制备方法

本发明涉及一种废显像管碎玻璃清洗剂及其制备方法,由以下重量百分比的液体A剂和固体B剂组成:液体A剂组成:盐酸或硫酸3.3~15%,氧化剂0.7~3%,余量为水;固体B剂组成(以液体A剂为基础量):络合剂3~6%,乙醇酸0.7~3%,氟离子活性成分1.5~6%,表面活性剂0.005~0.01%。制备步骤如下:液体A剂和固体B剂分别按所述比例称量均匀混合;将配制好的液体A剂及固体B剂按比例准确称量,混合后,在常压下搅拌均匀,使其全部溶解。使用时,将清洗液加热至30~60℃,即可以任意比例加入到水中清洗玻璃,pH值为1~2,比重为1.03~1.2。该清洗剂可快速彻底清洗显像管碎玻璃上的涂层,无污染、无异味,低腐蚀、低成本,不燃不爆、安全可靠,使用储运方便。

标签:
固废
天津 - 天津 来源:中冶有色网 2023-03-19
微波等离子体危险废物处理系统

本实用新型公开了一种微波等离子体危险废物处理系统,包括底座,所述底座上设有处理结构;所述处理结构包括:处理箱体、进料控制组件、两个第一电机、两个搅拌棒、三个微波等离子体发生模块、第二电机、螺旋扇叶以及输送冷却组件;本实用新型涉及危险废物处理技术领域,本案采用的处理结构,通过内置的进料控制组件控制固体危险废物的进料,再通过内置的第一电机带动搅拌棒转动,对固体危险废物进行搅动,与微波等离子体发生模块配合对固体危险废物进行焚烧,经过焚烧的固体危险废物通过螺栓扇叶输送至输送冷却组件内,通过输送冷却组件对焚烧完成的残渣进行冷却降温。

标签:
固废
天津 - 天津 来源:中冶有色网 2023-03-19
基于湿式催化氧化法处理液体集装箱清洗废水的方法

本发明属于环保领域一种基于湿式催化氧化法处理液体集装箱清洗废水的方法,其主要技术特点之一是该工艺利用隔油池及过滤预处理、湿式催化氧化法、活性炭吸附再生的集成技术治理化工集装罐清洗废水,实现组合创新。对不断变化的多种类废水适应性强,处理过程不产生污泥,对高浓有机废水或生化法不能降解的化合物的各种清洗有机废水,COD及NH3-N去除率可达到95%以上,不再需要进行后处理,只经一次处理即可达回用标准。当达到一定处理规模时,还可以回收热能,实现节能减排。技术特点之二是制备了固体专项催化剂,解决了非均相过渡金属催化剂的活性组分溶出问题,该催化剂对处理多种化工集装罐清洗废水都具有很好的催化性能且活性高,稳定性好,其以固态存在,可以回收再利用。

标签:
固废
天津 - 天津 来源:中冶有色网 2023-03-19
钻井废弃物固液分离收集装置

本实用新型公开了一种钻井废弃物固液分离收集装置,液体收集与沉淀罐为敞口罐,位于振动筛出口下方,接收振动筛排出的固体与液体钻井废弃物,液相存储罐通过带过滤网的连通管与液体收集与沉淀罐上部连通,液体收集与沉淀罐收集的固相与液相废弃物经过沉淀后,液相经过连通管过滤后流入到液相存储罐存储;螺旋输送器安装在除泥器、除砂器、离心机出口下方,螺旋输送器出口位于固相存储罐上部,固相存储罐为敞口罐,螺旋输送器接收除泥器、除砂器、离心机排出的固体废弃物,通过螺旋输送器螺旋旋转时的推送力将固体废弃物输送入固体存储罐中储存。该装置可有效降低回用泥浆对在用泥浆性能的影响,同时减少钻井废弃物的排放。

标签:
固废
天津 - 天津 来源:中冶有色网 2023-03-19
处置汽车制造及维修业所产生的危废污泥的方法

本发明涉及一种处置汽车制造及维修业所产生的危废污泥的方法,包括如下步骤:将危废污泥倒入污泥池中,然后搅拌并均化堆放;将钻井岩屑进行固液分离,并将分离后的固体倒入岩屑池,再向所述岩屑池中加入粉煤灰并搅拌并均化堆放;将上述产物混合并搅拌,再放入双轴破碎机进行粉碎并造粒,得到陶粒;将所述陶粒烘干后加入回转窑并加热得到陶粒。本发明的处置汽车制造及维修业所产生的危废污泥的方法,针对汽车制造及维修业产生的污泥的化学性质及物理特性,提出了污泥烧制陶粒的理论和工艺流程,处置了污泥中有毒有害物质,利用了其有价值的资源,生产出新的产品陶粒,整个生产过程固体废物零排放,全部资源化,具有很好的环保效应。

标签:
固废
天津 - 天津 来源:中冶有色网 2023-03-19
从含苯甲酸钠废水中回收苯甲酸的方法

本发明提供了一种从含苯甲酸钠废水中回收苯甲酸的方法,步骤包括:在蒸发结晶器中连续加入一定体积过滤后的废水,在一定负压下对废水进行加热,并以一定的搅拌速率蒸发结晶;保温过滤分离氯化钠后的苯甲酸钠浓缩液;同时以一定的加料速率连续加入盐酸溶液,冷却后得到含苯甲酸的晶浆,排出的晶浆经保温过滤、真空干燥处理后得到苯甲酸固体产品。本发明提供的从含苯甲酸钠废水中回收苯甲酸的方法将废水中氯化钠分离并提纯,形成工业盐并得到了苯甲酸固体达到了工程目标,回收率高消除了产品质量批间差异,得到的苯甲酸纯度高,粒度大,流动性好。与熔融结晶工艺相比,本发明还具有操作简便、温度低、污染少、回收率高的优点。

标签:
固废
天津 - 天津 来源:中冶有色网 2023-03-19
上一页 61 62 63 64 65 ... 74 下一页
共74页    到第

中冶有色为您提供最新的天津天津有色金属固/危废处置技术理论与应用信息,涵盖发明专利、权利要求、说明书、技术领域、背景技术、实用新型内容及具体实施方式等有色技术内容。打造最具专业性的有色金属技术理论与应用平台!

全国热门有色金属设备推荐
展开更多 +
全国热门有色金属技术推荐
展开更多 +

 

江西省隆恩特环保设备有限公司
宣传

报名参会
更多+

报告下载

有色专家
更多+

武汉科技大学
校学术委员会主任 / 教授
矿冶科技集团
中国工程院院士
北京科技大学
副院长/教授
重庆理工大学
教授
中南大学、中国工程院
院士
赤泥综合利用研究报告2025
推广

热门技术
更多+

推荐企业
更多+

福建省金龙稀土股份有限公司
宣传

发布

在线客服

公众号

电话

顶部
咨询电话:
010-88793500-807