青岛垚鑫智能科技有限公司
宣传

位置:中冶有色 >

有色技术频道 >

> 固/危废处置技术

分类:
全部
矿山技术
冶金技术
材料制备及加工技术
环境保护技术
分析检测技术
 
全部
废水处理技术
大气治理技术
固/危废处置技术
土壤修复技术
地区:
全部
北京
天津
上海
重庆
河北
山西
辽宁
吉林
黑龙江
江苏
浙江
安徽
福建
江西
山东
河南
湖北
湖南
广东
海南
四川
贵州
云南
陕西
甘肃
青海
内蒙
广西
西藏
宁夏
新疆
其他
其他
展开
 
全部
天津

天津天津有色金属固/危废处置技术理论与应用

免费发布技术信息>>
氧化铁红生产废料清除漏斗处刮清装置

本实用新型公开了氧化铁红生产废料清除漏斗处刮清装置,主要涉及一种清理用具。包括连接座、拉紧座和刮杆;所述连接座顶部与料清除漏斗可拆卸固定,所述连接座底部设有外螺纹;所述拉紧座上设有与外螺纹螺纹连接的第二内螺纹,所述拉紧座内通过连接柱连接有轴承,所述轴承的外圈与连接柱连接,所述轴承的内圈与刮杆底侧圆周面固定;所述刮杆顶部弯折一定角度从而与废料清除漏斗内表面相适配,且所述刮杆上设有海绵刷,海绵刷与废料清除漏斗内表面接触。本实用新型的有益效果在于:它能够自动化高效的对废料清除漏斗处内壁附着的固体杂质废料进行清理。

标签:
固废
天津 - 天津 来源:中冶有色网 2023-03-19
选择性催化还原挥发物评价实验用废气处理装置

本实用新型提供了一种选择性催化还原挥发物评价实验用废气处理装置,包括桶体、桶体上方设置的密封盖、以及密封盖上设置的进气机构,所述桶体内设有导气筒,桶体上对应导气筒的位置设有清理机构;所述导气筒与桶体同轴设置,导气筒与桶体之间存在过滤空腔,所述桶体内对应过滤空腔的位置设有过滤机构,所述桶体下方设有与过滤空腔连通的排气管。本实用新型结构简单,稳定可靠,易于装配和维护,对选择性催化还原挥发物评价实验的废气具有良好的处理效果;通过在桶体内设置导气筒,并将进气管伸入导气筒,导气筒可以改变废气的流动方向,便于废气内的固体废物在导气筒底部沉积,降低了后续过滤机构的处理负担。

标签:
固废
天津 - 天津 来源:中冶有色网 2023-03-19
费托合成废水处理装置
费托合成废水处理装置 1055     
 0

本实用新型提供一种费托合成废水处理装置,涉及废水处理技术领域,包括反应罐和沉淀处理装置,反应罐的表面固定连接有进污水管,沉淀处理装置包括污水沉淀容器,污水沉淀容器与进污水管的下表面固定连接,进污水管的内壁固定连接有挡块,挡块插入污水沉淀容器中并与其内壁固定连接,挡块靠近反应罐的一侧固定连接有过滤网。本实用新型,在处理污水时,污水通过进污水管流入污水沉淀容器,污水中固体杂质受重力作用沉淀,除杂后污水通过过滤网流入反应罐中,打开第一电机,第一电机带动圆盘转动并挤压挡板,挡板受力挤压压缩弹簧使其形变产生弹力,挡板带动连接柱和清洗块位移,清洗块将过滤网表面的固体杂物清理下来。

标签:
固废
天津 - 天津 来源:中冶有色网 2023-03-19
有机废气多功能一体化处理装置

本实用新型公开了一种有机废气多功能一体化处理装置,包括PLC控制系统、灰尘过滤装置、催化燃烧床和两个并联的活性炭吸附床。对有机废气进行吸附操作时,有机废气首先进入灰尘过滤装置去除固体悬浮物,然后进入活性炭吸附床去除有,净化后的废气经吸附排风机抽取,通过吸附高空排放支路达标排放。对活性炭进行脱附再生时,催化燃烧床产生的热气通过脱附风机加压进入活性炭吸附床,对饱和的活性炭进行逆向脱附、再生,脱附后的废气进入催化燃烧床,有机物燃烧生成水和二氧化碳,同时产生的热气用于活性炭脱附。通过PLC控制,可以实现两个吸附床自动切换,吸附、脱附同时进行。本实用新型将吸附和催化燃烧两种技术有机结合,实现了优势互补。

标签:
固废
天津 - 天津 来源:中冶有色网 2023-03-19
废旧线缆破碎实验方法

本发明公开了一种破碎废旧线缆以剥离金属与非金属的方法,属于固体废物的处理与资源化范畴。本发明的破碎废旧线缆以剥离金属与非金属的方法,是将废旧线缆剪切成一定长度的粒子,由于剪切过程中相对变形和相对位移实现废旧效率中金属与非金属的相互剥离,并依据脱出效率的高低选择采用机械碾压揉搓设备处理以提高金属脱出效率。本发明减少了金属资源的损失,确定了保证一定剥离效率的破碎方法,保证线缆中金属与非金属间的充分剥离,而且金属产品质量高,为后续各类资源的分门别类的充分分选提供了良好条件。

标签:
固废
天津 - 天津 来源:中冶有色网 2023-03-19
利用碱渣废水提取五水硫代硫酸钠的方法

本发明提出一种利用碱渣废水提取五水硫代硫酸钠的方法,包括如下操作步骤:过滤:对碱渣废水进行过滤,去除其内的杂质;热交换:过滤后的废水先进行热交换、再冷却结晶;分离:对结晶后的料液先进行清洗、再分离出固体。本发明采用冷析分离技术对碱渣废水进行处理,最终提取到五水硫代硫酸钠,碱渣废水中硫脱除效率可达90%,在废水处理的同时实现资源再利用,而且投资少、运行成本低,值得广泛应用于石化炼化企业的碱渣废水的预处理。

标签:
固废
天津 - 天津 来源:中冶有色网 2023-03-19
废锂离子电池极片的回收方法

本发明专利涉及废旧电池回收领域,具体涉及的是一种废锂离子电池极片的回收方法。本发明公开了一种废锂离子电池极片的回收方法。其过程如下:将废锂离子电池放电、去壳后,将正、负极片分离,将负极极片加入水、醇类配制的混合溶液中,超声后,固液分离得到铜箔和含碳材料;将正极极片加入到水、醇类、碱类配制的混合溶液,超声后,固液分离得到铝箔和含钴、锂元素的固体物质。两种溶液均可循环使用。得到的正极材料可经过加热处理,得到新的正极活性物质,负极碳材料可燃烧处理。本发明可快速处理废锂电池的极片,得到高纯度铝、铜,含钴和锂元素的正极材料,解决了传统分离回收时间长,污染重,材料分离不彻底的问题,具有显著的经济效益。

标签:
固废
天津 - 天津 来源:中冶有色网 2023-03-19
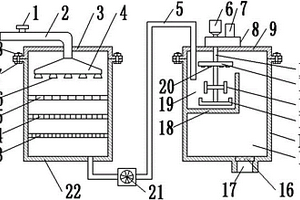
蓄热式废气燃烧设备
蓄热式废气燃烧设备 837     
 0

本实用新型涉及一种蓄热式废气燃烧设备,包括废气过滤器、第一蓄热室、第二蓄热室、第三蓄热室、燃烧室、以及控制系统,燃烧设备主体由三个或三个以上竖直固定设置的蓄热室、与蓄热室顶部连通的燃烧室以及安装于蓄热室顶部的加热器组成,上述每个蓄热室底部分别与进气总管、排气总管、反吹总管相连。本实用新型提供的一种蓄热式废气燃烧设备在废气净化器入口如安装了废气过滤板框,该废气过滤板框能够将气体中液滴以及夹杂的固体小颗粒充分的过滤下来,保证经过电离室的气体不含任何液体或颗粒状粉尘,保证气体的净化度,也保证了净化器的使用期限。

标签:
固废
天津 - 天津 来源:中冶有色网 2023-03-19
新型的石油废水处理装置

本发明提供一种新型的石油废水处理装置,该装置包括外壁和沿水平方向依次设置的进水反应区、清油上浮区和固液分离区,所述外壁呈长方体形,内部用于提供石油废水处理空间;所述进水反应区顶端设有进水口和泵,所述进水反应区内设有空转叶轮,所述空转叶轮通过转轴与所述泵动力连接;所述清油上浮区设于所述进水反应区下游,于所述清油上浮区顶端设有刮渣机,用于将上浮的清油挂掉,于所述清油上浮区上端靠近所述进水反应区一端设有浮渣存储区,用于存储浮渣;所述固液分离区设于所述清油上浮区的下游,于所述固液分离区的底端设有重物沉降区,用于沉降固体废物,于所述固液分离区的上端设有出水区,用于清水流出。

标签:
固废
天津 - 天津 来源:中冶有色网 2023-03-19
农村废水沤肥沉降装置及应用

本发明公开了一种农村废水沤肥沉降装置及应用,包括:罐体、上封盖、减速机、加料口、电机、进料管、固定架、螺杆、支架等部件;使用时,通过进料管将包含人粪尿等废弃物的农村废水排放到罐体内,进行沤肥处理,当罐体内的沤肥需要搅拌时,可驱动电机转动,通过减速机带动拌桨、摊料桨转动,带动罐体内的沤肥转动,加快微生物的分解;当沤肥完毕后,打开出液阀使用出液口排出沤肥上浮液,再转动螺杆上的转动手轮,螺杆整体向外螺旋移动,进而将挡板整体向外拖动,所述出料口上的开口打开,固体的沤肥产物从出料口留下或者滚落,并在出料口处设立收集装置收集;本发明的装置具有密封性好,生物分解率高,沤肥效率高;节省体力,方便快捷的特点。

标签:
固废
天津 - 天津 来源:中冶有色网 2023-03-19
癸二酸生产废水处理方法

本发明公开了一种减压膜蒸馏处理高盐癸二酸生产废水的方法。将废水经过静止沉淀、絮凝沉淀、过滤、调节pH等预处理后,进入多级膜蒸馏系统。经过膜蒸馏系统后废水被高度浓缩,同时得到脱盐水,浓缩液经降温后在结晶器内结晶,经分离后得到固体盐。该方法工艺过程简单、高效经济。

标签:
固废
天津 - 天津 来源:中冶有色网 2023-03-19
用废旧聚偏氟乙烯中空纤维膜制备道路划线漆的方法

本发明公开了一种用废旧聚偏氟乙烯中空纤维膜制备道路划线漆的方法,包括如下步骤:将废旧聚偏氟乙烯中空纤维膜切割成小段;清洗:将步骤(1)获得的小段用清洗剂洗,再用水漂洗;干燥;粉碎;(5)按重量百分比将步骤(4)获得的聚偏氟乙烯粉28~35%,填料38~46%,颜料6~10%,增塑剂14~23%混合均匀,得到道路划线漆;所述填料选自碳酸钙粉、硫酸钡粉、滑石粉、石英砂粉、硅石粉、玻璃粉和玻璃珠。本发明实现废旧聚偏氟乙烯中空纤维膜的回收再利用,解决固体废弃物的污染和再生利用问题;为热熔型道路划线漆提供了一种性能优异、生产成本低的原材料。

标签:
固废
天津 - 天津 来源:中冶有色网 2023-03-19
化工废水过滤沉淀结晶回收利用装置

本实用新型公开了一种化工废水过滤沉淀结晶回收利用装置,包括过滤室和沉淀室;所述过滤室上设置有过滤室上盖;所述过滤室上盖中间设置有进液管;过滤室中设置有过滤板;所述过滤板分为第一过滤板、第二过滤板和第三过滤板;所述沉淀室上设置有沉淀室上盖;所述沉淀室上盖上设置有传动装置;所述传动装置内设置有第一齿轮和第二齿轮;所述旋转轴上设置有药物喷头安装盘、上搅拌棒和下搅拌棒;沉淀室通过隔板分为加药区和沉淀区;本实用新型通过过滤板将废水中的固体废渣过滤干净;通过药物喷头均匀喷出药物,使药物充分与废水混合,后静置沉淀,沉淀效果好,废水中的氨、氮、磷去除率高,对沉淀物进行回收处理后可以作为优良的缓释肥,用途广泛。

标签:
固废
天津 - 天津 来源:中冶有色网 2023-03-19
脱硫废水澄清器刮泥机

本实用新型提供一种脱硫废水澄清器刮泥机,包括澄清器下端设有一旋转轴,所述旋转轴上安装有一蜗杆,所述蜗杆与转轴上的蜗轮啮合,所述转轴上两侧分别设有一输送蛟龙,两所述输送蛟龙分别位于循环液输送筒、废料输送筒内部,所述循环液输送筒一端设有一循环水排放口,所述废料输送筒一侧设有一废料排放口,所述循环水排放口、废料排放口上分别设有一阀门,所述废料输送筒上端经由废料排放管连通所述澄清器底部,本实用新型利用旋转轴的旋转驱动两侧的废料输送筒、循环液输送筒依次工作将澄清器内部的固液实现分离,废液排放同时能够自动清理澄清器内壁上的固体附着物,延长了设备的使用寿命,采用蜗轮蜗杆驱动,结构稳定,工作可靠。

标签:
固废
天津 - 天津 来源:中冶有色网 2023-03-19
废机油生产柴油组分的方法

一种废机油生产柴油组分的方法。其按照下列顺序的步骤进行:将经过脱水后的废机油加入水平旋转式反应釜内;启动电机以使反应釜开始缓慢旋转;在450℃的温度下对反应釜内的废机油进行加热以使其逐渐升温并产生气化;使气态废机油通过内部装填有固体酸催化剂的反应器以进行浅度催化裂解;将经过催化裂解的气态柴油组分通入冷凝器进行热交换使其变成液态而制成柴油组分产品。本发明是利用高温加热使废机油产生气化,然后通过Y分子筛硅酸铝催化剂使其浅度裂解,最后经冷凝而生产出柴油组分产品。该方法十分简单,使用设备少,仅一次反应就可获得目的产物,因而经济实用;特别是本方法的残余物可作为燃料使用,因而不会造成环境污染。

标签:
固废
天津 - 天津 来源:中冶有色网 2023-03-19
利用酸洗废液制备四氧化三铁与氯化钙的方法

本发明公开一种利用酸洗废液制备四氧化三铁与氯化钙的方法,属于工业污染废物回收利用技术领域。所述方法包括以下步骤:S1:设置原料收集池;S2:氢氧化钙溶解作为调节剂;S3:将酸洗废液和调节剂抽至初级制备池调解;S4:通过板框式污泥压滤机进行固液分离;S5:在成品制备池内回收四氧化三铁;S6:氯化钙水溶液回收氯化钙固体;S7:蒸发器蒸汽回用加热。S8:低浓度氯化钙水溶液可用于销售、生产使用。本发明采用植入式生产,利用涂镀企业现有污水处理站,按要求加装指定设备和调节剂进行生产,除去了酸洗废液的转运流程,降低废酸处理成本,此过程中无污染物产生。

标签:
固废
天津 - 天津 来源:中冶有色网 2023-03-19
从含有氟化钠的废渣中回收产品的方法

本发明公开了一种从含有氟化钠的废渣中回收产品的方法,包括以下步骤:(一)含有氟化钠废渣的溶解:其中包括(ⅰ)计算去离子水质量,(ⅱ)溶解、过滤,母液进入处理罐。(二)母液的处理:其中包括(ⅰ)投料、溶解,向处理罐中投入具有与氟化钠相同的钠离子物质,搅拌、使投入的物料固体完全溶解,(ⅱ)静置,停止搅拌后静置,使析出的产品物质形成较大颗粒固体,(ⅲ)过滤、干燥,即得到氟化钠产品。本发明产品回收率高达40%~70%,提高了产品的产率,节省了生产成本,回收的氟化钠产品纯度高达到99.99%。

标签:
固废
天津 - 天津 来源:中冶有色网 2023-03-19
石墨烯废硫酸资源化的方法及系统

本发明提供了一种石墨烯废硫酸资源化的方法和系统,涉及资源环境技术领域。本发明将石墨烯废硫酸与氧化镁进行中和反应,再与氧化剂进行氧化反应,然后经絮凝处理得到沉淀物和滤液;将滤液进行循环浓缩、结晶和分离,直到分离所得分离液中硫酸钾质量浓度≥10%终止,以硫酸钾质量浓度≥10%的分离液作为第一母液,分离所得固体为硫酸镁;将第一母液依次进行共结晶和分离,得到硫酸钾镁共结晶物和第二母液,第二母液返回循环浓缩结晶的步骤。本发明使用氧化镁中和石墨烯废硫酸,得到硫酸镁和硫酸钾镁,实现硫酸和钾离子的回收;采用氧化法回收石墨烯废酸中的锰离子。本发明过程简单,石墨烯废硫酸全元素得到资源化处理,经济和社会效益显著。

标签:
固废
天津 - 天津 来源:中冶有色网 2023-03-19
高浓度农药废水碳源循环厌氧组合MBBR处理方法

本发明公开了一种高浓度农药废水碳源循环厌氧组合MBBR处理方法,该方法包括步骤:1)用硫酸或氢氧化钠调节废水pH至6~9;2)投加磷酸二氢钠、尿素及甲醇;3)用泵泵入厌氧反应器,停留时间24~72hr;4)厌氧反应器出水分流,一部分用泵泵回厌氧反应器进口,泵流量为厌氧进水量的20%~50%,一部分自流入出水贮槽;5)控制出水贮槽出水流量,一部分自流入MBBR生化系统,一部分用泵泵至厌氧反应器进口,泵流量比例为泵流量:厌氧进水量=20:1~5:1;6)出水贮槽内的底泥24~72hr泵入厌氧反应器内;7)通过出水贮槽自流入MBBR系统的废水停留36~72hr后,出水达标外排。本方法不产生固体废弃物,没有二次污染,操作简单、安全可靠,处理效果稳定,实现较低成本处理高浓度农药废水。

标签:
固废
天津 - 天津 来源:中冶有色网 2023-03-19
喷漆室废气净化预处理装置

本实用新型提供一种喷漆室废气净化预处理装置,包括废气出口、除尘漏斗、杂质过滤翅片和连接管路,其中,所述除尘漏斗呈漏斗状,在与连接管路对应处设置有多层旋转扇叶,所述旋转扇叶下方设置有多片交错叠加的预制板,在除尘漏斗的底部设有灰尘收集箱;所述杂质过滤翅片的两端设有连接件,杂质过滤翅片包括多条通过管路和多个插接过滤板。本实用新型具有的优点和积极效果是:本装置可有效去除喷漆室废气中的灰尘、微小固体颗粒等杂质,作为过滤回收VOC和漆雾等废气的高精度净化装置的预处理设备,可以有效提高高精度净化装置的工作效率,降低维护成本,减少堵塞等事故发生,降低生产成本。

标签:
固废
天津 - 天津 来源:中冶有色网 2023-03-19
利用酚类废弃物制备高性能活性炭的方法

本发明涉及一种利用酚类废弃物制备高性能活性炭的方法,先使对羟基苯海因生产固体废渣与甲醛在不同条件下反应,形成热塑性的海因取代酚醛树脂和热固性的海因取代酚醛树脂,再将其混合磨粉,加热固化形成海因取代酚醛树脂基体。将海因取代酚醛树脂基体与化学活化剂混合磨粉,在高温炉加热升温过程中完成树脂的炭化,在降温过程中完成炭化物料的活化,分级浸渍分离化学活化剂后得到高性能活性炭。本发明不仅为低成本生产高性能活性炭开辟了新的原料来源渠道,而且实现了化工制药废物的综合利用。

标签:
固废
天津 - 天津 来源:中冶有色网 2023-03-19
涂装水性色漆废溶剂的回收利用方法

本发明公开一种涂装水性色漆废溶剂的回收利用方法,是将色漆废溶剂加入反应釜(R101),然后反应釜(R101)中加入絮凝剂水溶液,充分搅拌后输送至过滤器(FT101)将絮凝后固体杂质滤除,清液进入清液罐(V101);将清液罐(V101)中清液输依次输送至一级吸附塔(T101)和二级吸附塔(T102)处理后的物料进入母液罐(V102),之后进入膜分离装置(MS101)过滤,过滤后的滤液作为回收溶剂采出,循环溶剂返回母液罐(V102)。本发明可色漆废溶剂中有效成分回收率≥85%,危废减量≥85%,回收溶剂在少量补充原色漆清洗剂后,可再次用于现场机器人换色清洗和其他相关清洗使用。

标签:
固废
天津 - 天津 来源:中冶有色网 2023-03-19
有机废弃物水解反应提取装置及方法

本发明涉及一种有机废弃物水解反应提取装置及方法,将水解反应提取器装满水,通过无压增温机给水体增温,无压增温机温达到60°时将有机废弃物加入到水解反应提取器内,密封30分钟后向水解反应提取器内添加催化剂,反应过程不小于200分钟,自然降温到摄氏40°后水解反应工程完成;反应物进入固液分离机后进行固液分离,分离后的液体流入调节池中,然后进入自动力模块式厌氧发酵装置内进行厌氧发酵,发酵产生的甲烷气可以作为生物燃料供用户使用;分离后的固体物质经烘干房烘干后,作为有机肥基质或压缩生物质燃料使用;废液排入到模块式污水处理系统装置内进行净化处理,达标后流入生态塘供农田浇灌使用。本发明实现了农林废弃物综合利用,节能、环保。

标签:
固废
天津 - 天津 来源:中冶有色网 2023-03-19
光催化氧化废气处理设备

本实用新型提供一种光催化氧化废气处理设备,底座上端面的左侧位置安装有除尘罐,除尘罐的左侧安装有进气管,除尘罐通过连接管与气泵装配在一起,气泵与反应罐连接在一起,第一过滤网位于除尘罐内部的下端位置,第一过滤网的下侧装配有振动电机,通过添加第一过滤网、第二过滤网以及第三过滤网来实现对废弃中固体粉尘的过滤,该设计解决了传统废弃处理设备由于粉尘过多造成管道堵塞的问题,而粉尘传感器的设计则实现对过滤后废气粉尘浓度的检测,配合无线通信模块便于工作人员远距离的对粉尘数据进行检测,而紫外线灯的添加则实现对废气的分解,另外废气中的氧气分解为臭氧,进而起到了氧化的作用,提高了废气处理的效果。

标签:
固废
天津 - 天津 来源:中冶有色网 2023-03-19
高盐危险废弃物高温氧化装置

一种高盐危险废弃物高温氧化装置,由氧化炉体、热风进口、布风板、固体进料器、分布器、分级器、旋风分离器、节能换热器、返料器、布袋除尘、湿法除尘和密封出料器组成。本实用新型的有益效果是:该装置可以在固体废弃物不熔融条件下彻底分解其中有机物,装置通过调节风速、进料粒径、风压和返料来控制物料氧化时间,保证有机物彻底分解;设备高效、流程简单、高温氧化分解有机物可控、热能利用率高、运行成本低、易于实施,是目前处置高盐危废的可靠装置,有着广泛的应用前景,经济和社会效益显著。

标签:
固废
天津 - 天津 来源:中冶有色网 2023-03-19
化工废水过滤装置
化工废水过滤装置 854     
 0

本实用新型公开了一种化工废水过滤装置,包括过滤箱,所述过滤箱为矩形中空结构,且过滤箱内设置有安装板,所述安装板的外壁垂直焊接在过滤箱的内壁上,且安装板设置在过滤箱的上端,所述过滤箱内等距离设置有过滤筒,且过滤筒的一端垂直连接在安装板上,所述过滤筒设置在安装板的底部,且过滤筒上靠近安装板的一端开设有进口,所述进口活动穿过安装板,且安装板上垂直设置有支撑杆,所述支撑杆从进口垂直插入过滤筒内。本实用新型中,通过旋转电机带动支撑杆运行,使废水能在过滤筒内进行过滤,然后底部设置在过滤网,对化工废水中的固体悬浮物等层层过滤、吸附,达到了过滤效率高、效果好、对环境无污染的效果。

标签:
固废
天津 - 天津 来源:中冶有色网 2023-03-19
由含锌钢铁酸洗废液制备纳米铁酸锌的方法

本发明公开了一种由含锌钢铁酸洗废液制备纳米铁酸锌的方法,包括如下步骤:(1)测含锌钢铁酸洗废液中Zn2+和Fe总的物质的量浓度;(2)搅拌下,向含锌钢铁酸洗废液中加入氯化锌水溶液和水得混合液;(3)在搅拌下,加入草酸或草酸盐,有黄色沉淀生成,继续搅拌;(4)过滤,得到的滤液为无色澄清透明的液体,用于循环或排放;滤饼为黄色固体,洗涤,烘干,研磨,煅烧,得到纳米铁酸锌。本发明以黄绿色含锌钢铁酸洗废液为原料制备有多种用途的纳米铁酸锌,解决了含锌钢铁酸洗废液的资源化处理难题,达到了变废为宝的资源化处理,并使处理后的水绿色环保。本方法处理时间短,操作简单,能耗低,操作性强,条件控制相对简单。

标签:
固废
天津 - 天津 来源:中冶有色网 2023-03-19
医药加工用固液自动分离的废料回收装置

本实用新型涉及医药废料回收技术领域,且公开了一种医药加工用固液自动分离的废料回收装置,包括沉淀箱,所述沉淀箱的前端顶部固定安装有进料管,进料管的后端活动安装有滑动杆,滑动杆的下端镶嵌在沉淀箱的左右壁面上,滑动杆的下端固定安装有连接块,连接块的下端活动安装有清洁器,沉淀箱的壁面内部活动安装有过滤网,过滤网的左右两端固定安装有固定卡槽,沉淀箱的后端开设有排卸口,排卸口下端固定安装有排泄板,本实用新型中,通过设置在沉淀器上端的清洁器在过滤网上端来回刮推,将过滤器上的固体杂质推刮到沉淀器后端的固体废料收集箱内,通过这一做法避免了操作者人工清理过滤网上的杂质,从而减少了操作者受感染的风险的效果。

标签:
固废
天津 - 天津 来源:中冶有色网 2023-03-19
废液处理系统
废液处理系统 1167     
 0

本实用新型涉及废液处理系统,包括污水集水池、混凝反应池、组合气浮池和过滤装置,所述污水集水池用于收集车间废液,所述车间废液依次经过污水集水池、混凝反应池、组合气浮池、过滤装置最后进入回用水箱,所述污水集水池中的污水污物通过潜水泵输送到混凝反应池;所述混凝反应池连接有加药系统;所述组合气浮池表面装有气浮刮渣机,所述气浮刮渣机将固体污物排入污泥干化池并将滤出清水排入中间水池;所述污泥干化池滤出的液体进入废液收集池;所述中间水池与过滤装置之间通过提升泵连接。本实用新型采用气浮刮渣机对经加药处理后的废液进行固液分离,降低管路堵塞风险;本实用新型设有过滤和消毒设施,循环利用经处理的中水,节约水资源。

标签:
固废
天津 - 天津 来源:中冶有色网 2023-03-19
餐饮废水处理设备
餐饮废水处理设备 995     
 0

本发明涉及环保设备技术领域,具体涉及一种餐饮废水处理设备。本发明提供的餐饮废水处理设备包括固液分离装置、油水分解装置、污水提升仓和集渣桶,整个设备由固液分离装置、油水分解装置、污水提升仓三个部分构成,油、水、渣三栖分离,各个区域的功能更加明确,可替换性更好,安装维修更加方便;工作时在固液分离仓内通过履带式自动除渣机构自动将餐饮垃圾进行固液分离,同时分离出来的固体垃圾从排渣口经过排渣管排入集渣桶内,固液分离仓内的履带式自动除渣机构能够持续的自动将餐饮垃圾进行固液分离并将排出至集渣桶内,这样固液分离仓内的垃圾就能够自动排出,不必手动排出固体垃圾,使用操作更加方便自动化程度更高。

标签:
固废
天津 - 天津 来源:中冶有色网 2023-03-19
上一页 57 58 59 60 61 ... 74 下一页
共74页    到第

中冶有色为您提供最新的天津天津有色金属固/危废处置技术理论与应用信息,涵盖发明专利、权利要求、说明书、技术领域、背景技术、实用新型内容及具体实施方式等有色技术内容。打造最具专业性的有色金属技术理论与应用平台!

全国热门有色金属设备推荐
展开更多 +
全国热门有色金属技术推荐
展开更多 +

 

江西省隆恩特环保设备有限公司
宣传

报名参会
更多+

报告下载

有色专家
更多+

矿冶科技集团有限公司
中国工程院院士
赣州有色冶金研究所有限公司
副主任/高级工程师
中南大学、中国工程院
院士
南京理工大学、中国科学院
院士
中铝郑州有色金属研究院有限公司
正高级工程师/总经理
赤泥综合利用研究报告2025
推广

热门技术
更多+

推荐企业
更多+

福建省金龙稀土股份有限公司
宣传

发布

在线客服

公众号

电话

顶部
咨询电话:
010-88793500-807