青岛垚鑫智能科技有限公司
宣传

位置:中冶有色 >

有色技术频道 >

> 固/危废处置技术

分类:
全部
矿山技术
冶金技术
材料制备及加工技术
环境保护技术
分析检测技术
 
全部
废水处理技术
大气治理技术
固/危废处置技术
土壤修复技术
地区:
全部
北京
天津
上海
重庆
河北
山西
辽宁
吉林
黑龙江
江苏
浙江
安徽
福建
江西
山东
河南
湖北
湖南
广东
海南
四川
贵州
云南
陕西
甘肃
青海
内蒙
广西
西藏
宁夏
新疆
其他
其他
展开
 
全部
天津

天津天津有色金属固/危废处置技术理论与应用

免费发布技术信息>>
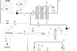
能对工业生产中产生的废液进行充分过滤的设备

本发明公开了一种能对工业生产中产生的废液进行充分过滤的设备,包括机体、第一过滤腔、重金属离子过滤腔和第二过滤腔和蒸馏腔,所述机体左侧上部设置第一过滤腔;所述第一过滤腔下方设置重金属离子过滤腔;所述重金属离子过滤腔下方设置第二过滤腔,所述第二过滤腔下方连接第一连接管;所述机体右侧设置蒸馏腔;所述蒸馏腔上部安装轴流泵机,所述轴流泵机连接第二连接管,所述第二连接管穿过所述蒸馏腔上壁并且延伸至所述蒸馏腔内;所述第二连接管内部安装抽水管道,所述蒸馏腔上部设置蒸发腔;本发明结构简单,能够实现废水中固体杂质、重金属离子和有毒物质多层次的过滤;并且能够通过蒸馏过程收集到干净的水。

标签:
固废
天津 - 天津 来源:中冶有色网 2023-03-19
冻干粉生产用废水处理设备

本实用新型提出一种冻干粉生产用废水处理设备,包括净化箱,所述净化箱内腔中部设置有隔板,所述隔板与净化箱内壁固定连接,所述净化箱顶部固定安装有第一驱动电机,所述第一驱动电机的输出端同轴固定连接有传动轴,所述传动轴位于隔板上方,所述传动轴外表面固定连接有若干搅拌棒,所述搅拌棒与传动轴轴线垂直,且若干搅拌棒沿传动轴外表面周向分布;所述净化箱内腔底部倾斜设置有四边形框架,所述四边形框架与净化箱内壁固定连接,所述四边形框架内固定连接有滤网。本实用新型在使用时,有效提高了废水处理效率和处理效果,便于对废水中固体杂质进行分类处理,减轻了劳动负荷。

标签:
固废
天津 - 天津 来源:中冶有色网 2023-03-19
新型高效重金属废水处理装置

本实用新型提供了一种新型高效重金属废水处理装置,包括反应罐;所述反应罐内设有过滤芯、曝气管和液位计,所述过滤芯的下端封闭,上端与清水管路连通并悬空设于所述反应罐内,所述清水管路从反应罐上端穿出,所述曝气管设于所述反应罐底部,所述液位计包括高位液位计和低位液位计,所述过滤芯的最上端低于所述低位液位计,所述高位液位计和低位液位计均与控制装置相连。本实用新型所述的新型高效重金属废水处理装置,处理装置结构简单、占地面积小,可实现一体化装置,同时可减少化学药剂的使用量,降低固体废弃物的产生量,出水水质好,可完全符合达标排放的要求。

标签:
固废
天津 - 天津 来源:中冶有色网 2023-03-19
用于检测废物燃烧处理的取样装置

本实用新型提供一种用于检测废物燃烧处理的取样装置,包括安装框,蓄电池,吸风机开关,气缸开关,轴接架,移动轮,刹车片,出料槽,插接套,插接杆,固定螺栓,收集框,铲形收集架,挂钩,安装架,可调节收集杆结构和气体收集箱结构和灭火水箱结构,所述的蓄电池嵌入在安装框上部的右侧;所述的吸风机开关镶嵌在安装框前面的右侧。本实用新型的所述的蓄水箱加水孔,自吸泵和雾化喷头的设置,可以对未燃烧完成的废物进行灭火,有利于避免火焰损坏装置;所述的收集箱,收集管,连接管,气缸,拉杆,收缩套筒和倒T型推拉杆的设置,可以将使该装置进行气体和固体同时取样,有利于丰富该装置的取样形式。

标签:
固废
天津 - 天津 来源:中冶有色网 2023-03-19
含油污泥处理用废气处理装置

本实用新型公开了一种含油污泥处理用废气处理装置,包括箱体、进气管、出气管和垫板,所述箱体的左侧连通有进气管,所述箱体的右侧连通有出气管,所述箱体的底端贴合有垫板,所述箱体的内腔底部安装有过滤机构。该含油污泥处理用废气处理装置,通过下料壳、网板、槽板、圆筒、顶杆和弹簧等的配合使用,下料壳中的网板对使用后的水进行过滤,使气体中含有的固体杂质沉淀在网板的上表面,有利于水资源的循环使用,通过螺纹杆、销杆、卡座和螺纹帽等的配合使用,转动螺纹杆与卡座分离方便将垫板从箱体的底端拆卸下来,便于对箱体内部进行清理,有利于网板的更换,通过水泵、竖管、连管、T形管和喷头等的配合使用,增加废气的处理效果。

标签:
固废
天津 - 天津 来源:中冶有色网 2023-03-19
农林废弃物撬装模块式成份分解分离设备

本实用新型涉及一种农林废弃物撬装模块式成份分解分离设备,该设备包括通过管道连接且设置为筒状结构的物料初级破碎装置、物料加热膨化撕裂装置、物料微波破碎装置和物料分离装置,分别通过对多元化农林废弃物粉粹、锤打、超声破碎、筒状螺旋高温高压挤压撕裂、筒状螺旋微波热解工艺,筒状螺旋生物酶解分离的工艺过程,在一个装置内通过多个螺旋挤压输送过程,一次性地实现农林有机质组分的分解分离,最终获得分解后的高浓度液体的碳水化合物和半纤维素,固体的纤维素和木质素,为实现对有机质成份的高效利用做好了准备。

标签:
固废
天津 - 天津 来源:中冶有色网 2023-03-19
含硫废水处理装置
含硫废水处理装置 752     
 0

本实用新型公开了一种含硫废水处理装置,包括门型底架,所述门型底架上设有混合过滤结构,所述混合过滤结构包括伸缩电机A、圆形底板、连接槽、出水管、箱体、出水口、环形连接块、内螺纹、圆形底箱、过滤网孔、转动通孔、伸缩油缸、挤压板、空腔A、空腔B、伸缩电机B、矩形通孔、密封塞、支撑杆、搅拌箱、搅拌电机、投料口、注水口、水泵、静态混合器以及废水箱,所述伸缩电机A设置在所述门型底架上,所述废水箱设置在所述静态混合器上端且相连通,所述搅拌箱与静态混合器相连通。本实用新型通过静态混合将与硫具有化学反应的铁盐进行混合,使硫附着在铁盐上形成固体状态,然后通过高密度挤压过滤,不需要沉淀,所需时间更短。

标签:
固废
天津 - 天津 来源:中冶有色网 2023-03-19
垃圾焚烧废弃物处理系统

本发明提供一种垃圾焚烧废气处理系统,所述垃圾焚烧废气处理系统分为气体模块和液体模块,所述气体模块按连接顺序依次设置有焚烧炉,热交换器,袋式除尘器,烟气净化喷淋塔,风机系统和烟囱,各个部件之间靠管路连接,通过风阀控制开关;所述液体模块为循环模块,由所述烟气净化喷淋塔,一级降解池,二级降解池,三级降解池,回收液管路和储液箱组成,各个部件之间靠管路依次连接;所述回收液管路设有两条额外接口,分别与所述一级降解池和所述二级降解池连接;所述三级降解池末端配接有固体收集器。

标签:
固废
天津 - 天津 来源:中冶有色网 2023-03-19
复合催化剂及用于含苯酚废水氧化聚合制备聚苯酚的用途

本发明公开了一种复合催化剂及用于含苯酚废水氧化聚合制备聚苯酚的用途,复合催化剂制备为:取Cu(NO3)2、Na2SiO3、FeCl2、MnSO4和Na2CO3加无水乙醇,得到混合溶液一;将NaOH水溶液和混合溶液一混合得混合液二;向混合液二中加入柠檬酸钠水溶液,搅拌均匀,在2min内,将反应温度提升至300‑500℃,煅烧12‑18小时,自然冷却至室温,倒掉上清液,将剩余固体用蒸馏水洗涤离心,冷冻干燥,研磨成粉末。本发明的复合催化剂可以选择性的氧化废水中的苯酚,反复利用。原料廉价易得,环保。生成了聚苯酚,可用于后续制备涂料、粘合剂、保温材料等,既处理了污水,也能实现了资源的再利用。

标签:
固废
天津 - 天津 来源:中冶有色网 2023-03-19
吸附废水中亚甲基兰的活性炭的制备方法

本发明涉及一种用于吸附染料废水中亚甲基兰的活性炭的制备方法。具体涉及一种以玉米秸秆为原料,在一定条件下进行活化处理,制备一种高效吸附废水中亚甲基兰的活性炭的方法。本发明包括具体步骤如下:首先将玉米秸秆烘干、粉碎,粉碎后的秸秆与活化试剂按一定质量比充分混合,在一定条件下活化处理后,固体过滤、洗涤、干燥得到活性炭。制备的活性炭具有高效吸附亚甲基兰的性能。本方法工艺简单,吸附效果较好。

标签:
固废
天津 - 天津 来源:中冶有色网 2023-03-19
电镀废水回收利用装置

本实用新型公开了一种电镀废水回收利用装置,包括主体和内壁圈板,所述主体的底部内部安置有液压缸,所述液压伸缩杆的上端与密封胶盘的底面之间焊接,所述主体的底部左右两侧均贯穿有出水管,所述内壁圈板的内侧竖向插入有液压控制杆,所述液压控制杆的上端安置有液压油缸,所述液压控制杆的下方靠近主体内侧的一面安置有匀杆,所述主体的上方左侧内部安置有电机,所述螺杆的上方设置有架杆。该电镀废水回收利用装置支持采用静电吸附的形式对废水中经过化学反应所生成的金属絮状或固体沉淀物进行吸附,且吸附面广大,还设置有可以活动的吸附结构,方便对水体中的金属粒子进行充分吸附,提高水体在排放时的清洁度。

标签:
固废
天津 - 天津 来源:中冶有色网 2023-03-19
废旧润滑油的清洁高值化回收再利用方法与装置

本发明公开了一种废旧润滑油的组合再利用方法与装置,包括以下步骤:(1)将废油自然沉降一段时间,然后通过抽滤除去其中的固体杂质;(2)将步骤(1)收集的油液导入减压蒸馏塔,保持精馏塔在真空度条件下进行蒸馏;(3)取精馏塔塔顶馏分进行轻度加氢精制,使再生润滑油品质接近甚至超过标准润滑油基础油的品质;(4)将精馏塔中釜残液,通过微波热裂解的方式,将重质油分解为液体轻质油品及可燃气体产物。本发明的优点在于:生产工艺简单,微波热解能耗低、无有害气体排放、无污染、环保;再生润滑油性能较高,裂解所得液体轻质油品及可燃气体产物使用价值高,实现了废旧润滑油完全清洁高值化回收再利用。

标签:
固废
天津 - 天津 来源:中冶有色网 2023-03-19
含胶废润滑油的再生方法

本发明创造针对以往处理方法存在的问题,公开一种含胶废润滑油的再生方法,将废润滑油加热到一定温度加入吸附剂,搅拌,使该吸附剂充分吸附并聚合废润滑油中的胶质成分,使胶完全形成固体状态;充分吸附结合后,沉淀,使含胶颗粒、炭黑、杂质等尽量向下聚集,分离沉淀后上层为含有极少量胶颗粒和炭黑的润滑油,下层为重橡胶成分;抽取经分离沉淀后的上层润滑油,进行二级净油精处理,通过比重分离系统,进行精分解,然后加入分子筛,在反应釜中充分混合后再分离可得到精净化的润滑油。通过该方法处理后的润滑油还原到无胶和杂质的可用水平,使企业放心的回用,真正的提高了产品附加值。

标签:
固废
天津 - 天津 来源:中冶有色网 2023-03-19
吸附废水中罗丹明B的多孔碳的制备方法

本发明涉及一种用于吸附染料废水中罗丹明B的多孔碳的制备方法。具体涉及一种以玉米秸秆为原料,在一定条件下进行活化处理,制备一种高效吸附废水中罗丹明B的多孔碳材料的方法。本发明包括具体步骤如下:首先将玉米秸秆烘干、粉碎,粉碎后的秸秆与活化试剂按一定质量比充分混合,在一定条件下活化处理后,固体过滤、洗涤、干燥得到多孔碳材料。制备的多孔碳材料具有高效吸附罗丹明B的性能。本方法工艺简单,吸附效果好,具有一定应用价值。

标签:
固废
天津 - 天津 来源:中冶有色网 2023-03-19
便于污水利用的废水处理设备

本实用新型涉及污水处理的技术领域,特别是涉及一种便于污水利用的废水处理设备,其将人工清理筛网上的固体废物变为机械清理,节省了人力和时间,提高了操作便捷性,从而增加了实用性;包括调节池本体、进水管组件、排水管、筛板和筛网,调节池本体的内部设置有调节腔,调节腔的顶端设置有调节口,进水管组件安装在调节池本体的顶端左侧中部区域;还包括两组支撑板、支撑轴、转动环、动力链轮、链条、减速链轮、往复丝杆、限位轴、动力板和清理板,两组支撑板的底端分别与调节池本体的顶端前侧和后侧的左部区域连接,支撑轴的前端与前侧支撑板的后端上部区域轴承连接,后侧支撑板的前端上部区域贯穿设置有穿透孔。

标签:
固废
天津 - 天津 来源:中冶有色网 2023-03-19
含锂废盐煅烧回收方法

本发明涉及一种含锂废盐煅烧回收方法,生产工艺流程主要为:将干废盐高温煅烧、脱硫并除去有机物,经水溶浸、过滤,制得碳酸锂产品,向滤液中加入盐酸溶液,蒸发结晶得到氯化钠产品,氯化钠饱和母液沉积,过滤、洗涤,生产碳酸锂产品。该工艺方案和操作均较为简单,设备投资小,生产成本低,回收率高,产品质量好,实现了作为固体危废处置的含锂废盐有效综合利用,并可产生很好的经济社会效益,具有广阔的应用价值。

标签:
固废
天津 - 天津 来源:中冶有色网 2023-03-19
废弃物无害化处理系统及处理方法

本发明提供了一种废弃物无害化处理系统及处理方法,包括储液部件,用于储存液体;蒸汽发生部件,与储液部件连通使液体进入蒸汽发生部件,蒸汽发生部件用于对其内的液体加压加热以产生高温高压蒸汽;降解部件,蒸汽发生部件与降解部件连通,蒸汽发生部件产生的蒸汽进入降解部件;其中,降解部件为密闭结构,包括反应罐,反应罐上分别连通液化部和取出部,以使反应罐发生降解反应后产生的蒸汽和固体分别从液化部和取出部取出。本发明所述的一种废弃物无害化处理系统及处理方法,处理流程简单,对产生的有害垃圾能够实现无害化降解,将有害的物质降解为无害的低分子,广泛的安全处理各类废弃物。

标签:
固废
天津 - 天津 来源:中冶有色网 2023-03-19
利用废弃油制造脂肪酸失水山梨醇酯聚氧乙烯醚

本发明是利用废弃油制造脂肪酸失水山梨醇酯聚氧乙烯醚。本发明是废弃油制造脂肪酸失水山梨醇酯后,对废弃油脂肪酸失水山梨醇酯通入环氧乙烷,加入催化剂氢氧化锂、温度控制在100-160℃、时间控制在2小时,制造出废弃油脂肪酸失水山梨醇酯聚氧乙烯醚。本发明所用设备为不锈钢(或搪瓷)材质的反应釜,此反应釜具有密闭、加压、减压、加热、降温和有环氧乙烷通入等装置。本发明外观浅棕色蜡状固体、溶于水、非常低毒、对人体皮肤和粘膜刺激性很低、酸价(mgKOH/g)≤8、皂化值(mgKOH/g)75~95、水分≤1.0%、pH值6-8。本发明是现代环境保护可再生利用的新材料,具有很好的社会效益和经济效益。

标签:
固废
天津 - 天津 来源:中冶有色网 2023-03-19
化学镀镍浓液废水综合利用方法

本发明公开了一种化学镀镍浓液废水综合利用方法,通过电解装置将废水中大部分的镍电沉积在阴极板上,实现了对镍的回收利用,通过石灰石、氯化钙等化合物的加入,且提高溶液的PH,从而去除了95%以上的含磷和有机络合物;通过氧化物的加入,进一步去除柠檬酸根和酒石酸根离子;最后通过对废水进行加热、蒸发并浓缩(或者用空气吹出法,将水吹干),并最终形成固体盐的形式,使蒸发的水汽凝结成蒸馏水加以利用,达到零废水排放的目的。

标签:
固废
天津 - 天津 来源:中冶有色网 2023-03-19
造纸废水深度处理系统

一种造纸废水深度处理系统,包括吸水井、细隔栅、曝气池;曝气池分两路分别连接二沉池和一体化处理设备,二沉池后设有安全池,一体化处理设备前还设有中间池和管道混合器,后设有消毒设备,消毒设备连接清水池;一体化处理设备将混合池、絮凝反应池、斜管沉淀池、过滤池和反冲洗系统集合一体,实现处理工艺的集成化。本实用新型的技术效果是:通过投加絮凝剂混合、反应、沉淀、过滤过程,可去除大部分悬浮固体,使出水满足回用于生产车间的水质要求,避免大规模改造原有的废水管道,就可以达到标准排放量。

标签:
固废
天津 - 天津 来源:中冶有色网 2023-03-19
采用电絮凝法的工业废水处理设备

本实用新型公开了一种采用电絮凝法的工业废水处理设备,涉及废水处理技术领域。包括电絮凝处理装置和净化装置,所述电絮凝处理装置的出水端与净化装置的进水端固定连接,所述净化装置包括水渠,所述水渠的的内侧设置有降速转板、过滤网和净化盒。该采用电絮凝法的工业废水处理设备,通过设置过滤网和清理机构,利用电机通过转轴促使滑套带动清理刷进行往复式升降运动,使得清理刷可对过滤网进行持续清扫,从而将残留在过滤网上的固体杂质进行剔除,降低了杂质附着在过滤网上的情况,保证了过滤网的洁净度,使得过滤网的过滤效果得到了有效保障。

标签:
固废
天津 - 天津 来源:中冶有色网 2023-03-19
电镀加工废气吸附装置

本实用新型属于废气处理技术领域,尤其是一种电镀加工废气吸附装置,针对了吸附处理罐中的过滤筒长时间使用易堆积大量灰尘和杂质,需要反复拆卸下来进行清理,清理不便的问题,现提出如下方案,其包括吸附处理罐外壳,吸附处理罐外壳和过滤筒之间设置有与输气管b远离气泵的一端相连通的清通机构,支撑架上转动连接有驱动机构;本实用新型中清通机构内的具有一定气压的气体喷入到过滤筒表面上对过滤筒进行快速清通,同时清通机构内的气体通过输气管a喷出到驱动机构上驱动连接板带动毛刷板转动,毛刷板上软质毛刷的部分贴合过滤筒的侧面进行转动,从而对过滤筒的表面进行进一步的清理,充分去除过滤筒表面上的固体杂质,无需拆卸,使用方便。

标签:
固废
天津 - 天津 来源:中冶有色网 2023-03-19
混合废水中回收BT的装置

本发明属于废水处理领域,具体涉及一种混合废水中回收BT的装置,包括顺序连通的降温沉降池、过滤塔、MVR蒸发器、以及吸附塔;所述的过滤塔的过滤液进入MVR蒸发器,过滤物形成固体残渣;MVR蒸发器的凝水进入吸附塔进行吸附后成为合格用水排出,吸收塔内设置有吸附树脂;饱和后所述的吸附树脂使用有机溶剂进行反洗,反洗后的有机溶剂蒸发后得到BT;所述的吸附树脂为XDA‑200G。本申请的技术方案工艺流程简单,设备投资少,易于操作,安全性高。结合有机物树脂吸附工艺,解决了凝水中COD高存有大量BT回用过程中影响产品质量的问题,还可以把回收BT作为合成MBT的原材料使用,降低了产品成本,同时也解决环保问题。

标签:
固废
天津 - 天津 来源:中冶有色网 2023-03-19
变压器生产的废料收集装置

本实用新型公开了一种变压器生产的废料收集装置,属于废料收集技术领域,包括支撑底板,所述支撑底板上安装有两个收料箱,两个收料箱的相对侧壁上均开设有进料开口,两个收料箱之间设有倒Y形的落料管,落料管底端的两个端口分别与两个进料开口连接,落料管内转动连接有落料变向件,收料箱的侧壁上安装有压缩组件,收料箱靠近底部的侧壁上开设有出料开口,出料开口处通过合页铰接有挡盖,挡盖上卡合连接有两个卡块,卡块远离收料箱的侧壁上固接有拨块;能进行持续收料工作,保证加工设备的持续运行,提高加工效率,可提高收料箱的空间利用率,避免清理次数频繁的问题,可分别取出固体废料和液体废料,便于进行后续的回收处理工作。

标签:
固废
天津 - 天津 来源:中冶有色网 2023-03-19
便于收集废水用沉淀池
便于收集废水用沉淀池 1015     
 0

本实用新型公开了一种便于收集废水用沉淀池,包括处理池,所述处理池底端呈斜面结构,所述处理池内部底端右侧固定设置有导管。本实用新型在处理池内部中上端通过固定块安装有固定环,且安装在固定环内部之间的安装环下端之间安装有滤板,且安装在滤板底端中部之间的安装框底端两侧均安装有活动挡板,当进行处理作业时把废水收集到处理池内部,等废水的液位到达相对位置时通过拉绳体往上拉动固定环、安装环和滤板往上移动,当滤板往上移动时就会通过开设在滤板外部和活动挡板外部的滤孔对废水内部的漂浮固体异物进行直接过滤分离,再把滤板移动到处理池外部并通过插销打开两侧的活动挡板把滤板上端的异物倾倒掉接可。

标签:
固废
天津 - 天津 来源:中冶有色网 2023-03-19
含重金属、毒性有机物的液体危险废物的处理方法

本发明提供一种含重金属、毒性有机物的液体危险废物的处理方法,至少包括以下步骤:1液体危险废物的预混:将含重金属、毒性有机液体废物按照一定比例进行混合,混合后热值达到4‑7MJ/Kg;2超临界水氧化:将步骤1得到的混合液打入超临界水氧化装置中进行超临界水氧化反应;3结晶:将步骤2得到的液体与药剂同时打入具载体流化床结晶反应器内,在载体上形成重金属盐结晶,进行结晶反应;4过滤:出水进入过滤装置,过滤出的固体进行固化处理,液体回用。本发明采用超临界水氧化装置将液体危废中的有机物完全氧化去除,重金属去除率高达99%;经过滤后,晶体固化处理,产水直接回用于系统中,大大减少了需固化处理部分的质量,从而减小了对环境的影响。

标签:
固废
天津 - 天津 来源:中冶有色网 2023-03-19
含铀及洗涤剂的洗消废液近零排放处理装置

本实用新型公开了一种含铀及洗涤剂的洗消废液近零排放处理装置,装置包括絮凝沉淀系统、预过滤系统、铀吸附系统、高效纳滤分离系统。本实用新型废水处理装置采用“絮凝沉淀过滤+预过滤去除絮凝物等杂质+铀吸附+高效纳滤分离浓缩”的工艺路线,可处理含铀及洗涤剂的洗消废液,实现洗消废液的近零排放,整套处理装置处理效率高,出水水质达标,浓缩倍数高,固体废弃物产生量极低,运行稳定可靠。

标签:
固废
天津 - 天津 来源:中冶有色网 2023-03-19
高有机含盐废液脱盐装置

本实用新型提供了一种高有机含盐废液脱盐装置,属于脱盐设备技术领域,包括混合设备和分离设备。混合设备包括罐体和转动设于罐体内的转动轴,转动轴的中部搅拌部;转动轴的上端设有连通内腔的用于注入醇类试剂的试剂进口,第一搅拌部和第二搅拌部上开设有多个喷孔;分离设备包括旋流室和分离室,旋流室的顶部开设有第一溢流口,旋流室沿切向开设有第二进料口;分离室的顶部设有第二溢流口,底部设有物料排出口,分离室的上方设有溢流室,溢流室底部开设有液体排出口。本实用新型提供的一种高有机含盐废液脱盐装置,混合均匀性好,防止废液出现固体局部团结沉降的情况;分离精度高、效果好,且不易对设备造成损坏,降低了设备的维护和检修的成本。

标签:
固废
天津 - 天津 来源:中冶有色网 2023-03-19
转轮式酸碱性恶臭废气净化装置

本实用新型公开了转轮式酸碱性恶臭废气净化装置,属于废气处理净化设备技术领域,包括箱体,所述箱体左侧内壁插接有进气管A,所述进气管A的一端衔接有阀门A,且另一端固定连接有阀门B,所述阀门A和阀门B中间位置安装有过滤盒,所述过滤盒上表面开设有过滤槽,所述过滤槽外表面通过螺栓与过滤板可拆卸连接,所述箱体上表面一侧固定连接有碱液罐。本实用新型通过过滤板可以将废气中含有的固体颗粒物去除,再通过喷淋器A和喷淋器B可以分别用碱液和酸液对废气进行喷淋处理,且处理过程中旋转叶片会将酸液和碱液的工作区域分开,通过吹风机以及空气检测器可以实现对废气的二次精确净化,装置净化效率高且速度快,适合被广泛推广和使用。

标签:
固废
天津 - 天津 来源:中冶有色网 2023-03-19
模块式畜禽养殖废水无害化资源化处理系统

本实用新型公开了一种模块式畜禽养殖废水无害化资源化处理系统,由废弃物收集装置收集计量后,经真空抽滤自动出水一体化装置进行固液分离,其中的恶臭气体经真空泵进入尾气除臭装置净化后排放。分离出来的固体废物经过固液分离器的内置绞龙输送设备出料后,进入干式发酵设备进行干式发酵,产生的沼气经收集净化后作为照明燃料;产生的沼渣作为有机肥料利用。固液分离后的液体随同干式发酵产生的液体一起进入升流式厌氧发酵器,厌氧发酵产生的沼气与干式发酵时产生的沼气汇合,净化后作为照明能源;厌氧发酵产生的沼液进入水平潜流人工湿地和垂直流人工湿地进行处理,最后经二氧化氯消毒系统进行处理后,转化为中水作为畜禽圈舍冲洗水循环利用。该系统解决了畜禽养殖废水处理的一大问题,在保护环境的同时,实现废物的资源化利用。

标签:
固废
天津 - 天津 来源:中冶有色网 2023-03-19
上一页 55 56 57 58 59 ... 74 下一页
共74页    到第

中冶有色为您提供最新的天津天津有色金属固/危废处置技术理论与应用信息,涵盖发明专利、权利要求、说明书、技术领域、背景技术、实用新型内容及具体实施方式等有色技术内容。打造最具专业性的有色金属技术理论与应用平台!

全国热门有色金属设备推荐
展开更多 +
全国热门有色金属技术推荐
展开更多 +

 

江西省隆恩特环保设备有限公司
宣传

报名参会
更多+

报告下载

有色专家
更多+

南昌航空大学
副院长/教授
南方科技大学
外籍院士
江西铜业集团有限公司
党委书记、董事长
中冶沈勘秦皇岛工程技术有限公司
原矿山院院长/教授级高工
中南大学
院长/教授
赤泥综合利用研究报告2025
推广

热门技术
更多+

推荐企业
更多+

福建省金龙稀土股份有限公司
宣传

发布

在线客服

公众号

电话

顶部
咨询电话:
010-88793500-807