青岛垚鑫智能科技有限公司
宣传

位置:中冶有色 >

有色技术频道 >

分类:
全部
矿山技术
冶金技术
材料制备及加工技术
环境保护技术
分析检测技术
 
全部
废水处理技术
大气治理技术
固/危废处置技术
土壤修复技术
地区:
全部
北京
天津
上海
重庆
河北
山西
辽宁
吉林
黑龙江
江苏
浙江
安徽
福建
江西
山东
河南
湖北
湖南
广东
海南
四川
贵州
云南
陕西
甘肃
青海
内蒙
广西
西藏
宁夏
新疆
其他
其他
展开
 
全部
南京
无锡
徐州
常州
苏州
南通
连云港
淮安
盐城
扬州
镇江
泰州
宿迁

江苏南通有色金属环境保护技术理论与应用

免费发布技术信息>>
高浓度印染退浆废水处理方法

本发明公开了一种高浓度印染退浆废水处理方法,其创新点在于:将退浆废水经UASB厌氧池出水,依次进入混凝沉淀池、曝气活性污泥反应池和水解酸化池,在水解酸化池中同时发生反硝化、硫氧化、污泥吸附增殖和污泥浓缩,回收好氧池中的硝态氧,使UASB厌氧池出水中的悬浮颗粒得到吸附澄清出水排入接触氧化池,最后经过沉淀后达标排放。本发明在处理高浓度废水时,相比好氧生物处理技术具有较高的能效比,可将废水中一些难降解有机物进行较彻底的降解,在降低水质浓度的同时改善废水中污染物的可生化降解性能,提高处理效率和出水水质标准。

标签:
废水处理
江苏 - 南通 来源:中冶有色网 2023-03-19
环境保护用印染废水回收装置

本发明公开的一种环境保护用印染废水回收装置,涉及印染技术领域,包括支撑机构,以及与支撑机构连接的电解机构、循环机构、推送机构,电解机构包括固定安装在水箱上的电解筒,阳极电解棒滑动设置在电解圆盘和电解筒之间的环形导轨中,电解圆盘上固定安装有阴极电解棒,对废水进行电解,循环机构对不合格废水循环,推送机构包括转动安装在推送滑杆上的第一齿轮、第二齿轮、第三齿轮、第四齿轮,第四齿轮与第五齿轮相互啮合,实现杂质清理,本发明通过循环机构和推送机构的联动设置解决了现有技术中无法对电解过程实时检测循环电解,电解不充分的问题,避免了废水中看不见的有害物质流出,污染环境。

标签:
废水处理
江苏 - 南通 来源:中冶有色网 2023-03-19
糠醛废水作为脱硝碳源使用的装置

本实用新型提供一种糠醛废水作为脱硝碳源使用的装置,按糠醛流动路径,依次具有过滤装置、脱粘装置、混合反应装置,混合反应装置具有糠醛废水入口和含氮废水入口,混合反应装置上配置有降温装置和菌类补给装置。本实用新型能够同时处理两种废水,将各自含有的有害物质转化为基本无害甚至有用的资源,具有较好的环境效益和经济效益。

标签:
废水处理
江苏 - 南通 来源:中冶有色网 2023-03-19
抗生素生产废水的处理工艺

本案涉及一种抗生素生产废水的处理工艺,1)预处理:抗生素废水经预处理去掉废水中残留菌丝和/或氨氮;2)超滤:经预处理后的进行超滤处理;3)纳滤:超滤产水输送至纳滤处理,超滤产水中的硫酸钠被纳滤截留;4)脱硫:将收集的所述纳滤浓缩液进行脱硫处理,所述脱硫处理是向所述纳滤浓缩液中投加氧化钙和/或氢氧化钙,调节废水pH至7.5‑8;5)结晶:向脱硫步骤中的废水中加入硫酸钙晶体,静置沉降;6)电催化:将经过静置沉降的废水输送至电催化工艺中进行电催化工艺;7)水解酸化:所述电催化工艺出水输送至水解酸化工艺,出水控制pH值在6.3以下;8)生化:水解酸化工艺出水进入生化处理。

标签:
废水处理
江苏 - 南通 来源:中冶有色网 2023-03-19
敌百虫废水的预处理方法

本发明提供了一种敌百虫废水的预处理方法,通过对敌百虫废水进行下列顺序的工艺处理:加碱调节pH值到1.5~4,微电解反应器中反应0.5小时~4小时,加氧化剂氧化,再加碱调节pH值到9~11,加混凝剂去除沉淀物,再送生化处理系统处理,最后即可送污水处理厂。本方法预处理后,敌百虫废水中的特征污染物去除率达到99%以上,TP去除率达到95%以上,COD去除率达到30%以上,解决了敌百虫生产后敌百虫废水难以处理的问题。

标签:
废水处理
江苏 - 南通 来源:中冶有色网 2023-03-19
机械加工中产生的废水的处理方法

本发明涉及一种机械加工中产生的废水的处理方法,包括如下步骤:取废水,过滤,依次经过沉淀池处理,絮凝池处理,曝气池处理,砂滤单元处理,最后再经碳滤单元处理即可。本发明的方法科学地设置各处理步骤及先后顺序,显著提升了处理效果。本发明的处理方法对于机械加工中产生的废水的处理具有显著的效果,能够实现高效平稳的持续处理,使得废水经处理后能够满足国家标准的相关要求。

标签:
废水处理
江苏 - 南通 来源:中冶有色网 2023-03-19
纺织精炼废水的过滤装置

本实用新型提供一种纺织精炼废水的过滤装置,具体涉及纺织污水处理领域,包括过滤釜和沉淀池,所述过滤釜上部设有废水进口,所述过滤釜下部设有第一废水出口,所述过滤釜的内腔下部设有第一过滤网,所述过滤釜上部还设有抽水管道,所述抽水管道接有抽水泵,所述抽水泵的出水口与所述沉淀池连接。本实用新型可提高去除废水杂质的效率,从而提高废水处理的效率。

标签:
废水处理
江苏 - 南通 来源:中冶有色网 2023-03-19
废水三效浓缩处理系统

本实用新型涉及一种废水三效浓缩处理系统,包括废水三效浓缩蒸发系统、压滤系统和水环抽真空系统;所述废水三效浓缩蒸发系统包括废水预热器、一效加热器、一效内置分离器的蒸发器、二效加热器、二效内置分离器的蒸发器、三效加热器和三效内置分离器的蒸发器;所述压滤系统包括依次串联在管道H上压液泵、管式压滤机和流量计;所述水环抽真空系统包括喷射冷凝泵、液封槽和酸性冷却器。本实用新型的优点在于:本实用新型将一效浓缩蒸发改为三效浓缩蒸发,同时将分离器与蒸发器结合形成内置分离器的蒸发器,进而提高浓缩蒸发处理效果和气体杂质去除效果;并通过设置水环抽真空系统及在线压滤系统,能够合理利用资源,且能够减轻系统负压。

标签:
废水处理
江苏 - 南通 来源:中冶有色网 2023-03-19
处理含金属络合氨废水蒸氨塔

本实用新型公开一种处理含金属络合氨废水蒸氨塔,包括塔釜、塔身和加热装置,塔釜和塔身连通,加热装置对塔釜进行加热,其中,塔身设有气液分离装置,塔身顶部设有气体出口,气体出口与外部吸收装置连通,塔釜设有废水入口、循环废水入口、若干沉淀剂入口、废水出口,沉淀剂入口设有喷雾装置,废水出口与过滤器入水端相互连通,过滤器出水端与循环废水入口通过管路连通。该蒸氨塔能同时进行沉淀和蒸氨,减少处理时间,提高了效率,做到金属和氨水的双回收。

标签:
废水处理
江苏 - 南通 来源:中冶有色网 2023-03-19
用于电镀废水吸附处理的吸附剂

本发明公开了一种用于电镀废水吸附处理的吸附剂,其特征在于,包括以下质量份的组分:硅藻土粉20‑30份、麦饭石粉15‑20份、脂肪酶液25‑30份、腐殖酸钠5‑8份、纳米四氧化三铁15‑18份、羧甲基淀粉钠15‑18份、聚合氯化铝5‑8份、无水氯化镁5‑9份、氧化镁6‑9份、2,4-二氯苯氧乙酸异丁酯5‑10份、蜡状芽孢杆菌菌剂5‑12份。本发明的用于电镀废水吸附处理的吸附剂,这种吸附剂对电镀废水中重金属的吸附能力强,对电镀废水中重金属吸附力达到90%;而且增加了菌剂,有效对电镀废水中的细菌进行处理,处理后的污水达到排放要求。

标签:
废水处理
江苏 - 南通 来源:中冶有色网 2023-03-19
重金属废水的连续化处理方法

本发明涉及一种重金属废水的连续化处理方法,所述处理方法采用专用处理池进行处理,该处理方法并通过在线自动化控制,将重金属废水以1~5m/L的流速从进水口送入专用处理池,并向专用处理池中加入专用处理池2/3的改性氯铝酸钙颗粒,当重金属废水中重金属浓度<0.5mg/L,PH值为7~8时,以1~5m/L的流速自动从出水口出水,出水的同时并以同样的流速从进水口进水,实现金属废水的连续化处理。本发明的优点在于:改重金属废水处理剂为改性氯铝酸钙颗粒进行处理,处理后水质可作为冲洗水循环利用,实现近零排放,且处理后的改性氯铝酸钙颗粒无需压滤,直接风化,作为粗矿直接使用;此外,进水和出水可以同时进行,实现金属废水的连续化处理。

标签:
废水处理
江苏 - 南通 来源:中冶有色网 2023-03-19
零价铁还原耦合微生物燃料电池降解偶氮染料废水的方法

本发明公开一种零价铁还原耦合微生物燃料电池阴极降解偶氮染料废水的方法,属于污水处理技术领域。首先采用零价铁对偶氮染料废水进行还原预处理,零价铁具有较强的还原性能与偶氮染料发生还原反应,使得偶氮染料的发色基团氮氮双键发生断裂,提高废水的可氧化性,降低后续处理难度。然后利用微生物燃料电池阴极发生的芬顿反应生成的过氧化氢(H2O2)和羟基自由基(·OH)降解经还原预处理后的偶氮染料废水,可以有效提高有机污染物去除率,改善降解效果。

标签:
废水处理
江苏 - 南通 来源:中冶有色网 2023-03-19
煤化工废水破乳除油预处理工艺

本发明提供了一种煤化工废水破乳除油预处理工艺,采用反相破乳剂,对经过隔油等预处理、送脱酸蒸氨塔的煤化工废水进行破乳,除去其中的油类杂质。本发明采用反相破乳剂对含油煤化工废水进行破乳,通过少量破乳剂的作用,可除去含油煤化工废水中的大部分油类,从而有效降低油类在脱酸蒸氨塔及相应换热器内的结垢,保证塔和换热器的正常、平稳运行。

标签:
废水处理
江苏 - 南通 来源:中冶有色网 2023-03-19
造纸废水的零排放处理方法及装置

本发明提供了一种造纸废水零排放处理的工艺及装置,本发明的工艺当中,首先对造纸废水进行栅格以及絮凝处理,再通过水解酸化/UASB/MBR的集成方法进行生化处理,对生化处理后的尾水采用超滤、纳滤、三维膜生物电极、反渗透组成的零排放处理单元进行深度处理。整个工艺当中,各处理单元中的废水和固废都进行相应的深度处理,整个系统运行平稳,实现了低成本零排放处理造纸废水的目的。

标签:
废水处理
江苏 - 南通 来源:中冶有色网 2023-03-19
移动式重金属废水处理装置

本实用新型公开了一种移动式重金属废水处理装置,包括移动组件、提升组件、支撑组件、转运组件和一体化废水处理组件;所述的移动组件上设置有提升组件;所述的支撑组件设置于所述的提升组件上,通过提升组件控制支撑组件升降;所述的支撑组件上设置有转运组件;所述的一体化废水处理组件设置于支撑组件上,通过转运组件转移。本实用新型便于转移至废水处理地点,而且能够对重金属离子进行富集回收,实现资源二次利用。

标签:
废水处理
江苏 - 南通 来源:中冶有色网 2023-03-19
对氯苯甲醛废水处理装置

本实用新型公开了一种对氯苯甲醛废水处理装置,包括废水槽、电源和储水罐,所述废水槽的左侧设置有进水口,所述电源的前端表面连接有导线,所述导线的顶端安装有电极,且电极的上方设置有第一气管,所述第一气管的上方连接有过滤室,所述过滤室的内部设置有活性炭层,且活性炭层的上方安装有挡板,所述过滤室的上方连接有第二气管,且第二气管的上方固定有法兰盘,所述法兰盘的上方安置有气路单向阀,且气路单向阀的上方设置有燃烧室,所述储水罐的上方连接有水管,且储水罐位于过滤室的后方。该对氯苯甲醛废水处理装置密封性好,便于进行拆装,对过滤组件的更换简易,过滤完成的水的质量较高,且结构简易,使用便利。

标签:
废水处理
江苏 - 南通 来源:中冶有色网 2023-03-19
含铅废水的UF膜深度处理方法

本发明提出的是一种含铅废水的UF膜深度处理方法,具体包括如下步骤:1)含铅废水的收集和均质;2)化学沉淀处理;3)常规填料过滤处理;4)UF膜深度过滤处理;5)污泥处理。本发明通过化学沉淀处理结合UF膜处理技术,从物理和化学角度同时对含铅废水进行全面深度处理,采用循环错流方式运行,UF膜组件系统稳定性高,出水水质优,且易于清洗恢复,延长系统整体的使用寿命;节省大量药剂费,运行能耗较低,系统自动程度高,可实现无人值守。

标签:
废水处理
江苏 - 南通 来源:中冶有色网 2023-03-19
醚化含酚废水处理方法

本发明公开了一种醚化含酚废水处理方法,是基于三氯生生产线上以2,4-二氯苯酚和2,5-二氯硝苯为原料进行的醚化反应所产生的高浓度含酚废水,通过复配出高效的络合萃取剂-PN,有效地降低了所述醚化含酚废水的挥发酚和化学需氧量,同时萃取到所述络合萃取剂-PN中的酚类物质经过反萃取后,可以返回生产线循环利用,达到降低生产成本、综合利用资源的目的。

标签:
废水处理
江苏 - 南通 来源:中冶有色网 2023-03-19
处理螺内酯中间体生产废水的方法

本发明公开了一种处理螺内酯中间体生产废水的方法,其特征在于,包括了四个步骤:1)中和反应;2)通过减压、冷却、加溶剂、冷却、压滤和洗涤分离出滤液、固体和洗涤液;3)固体真空干燥得到溴化钠;4)滤液和洗涤液合并回收溶剂直接套用,残液蒸出二甲亚砜。本发明采用HBr水溶液对螺内酯中间体产生的废水进行中和反应,再通过减压、冷却、加溶剂、冷却、压滤和洗涤分离出滤液、固体和洗涤液,利用压力回收溶剂,使溶剂能够变废为宝,降低了废水处理的难度和时间,提高了废水处理的效率,同时避免了污染环境,减轻了环保处理的压力。

标签:
废水处理
江苏 - 南通 来源:中冶有色网 2023-03-19
低温浓缩高盐废水的方法

本发明公开了一种低温浓缩高盐废水的方法,其创新点在于:包括进料、一效蒸发、二效换热、二效蒸发和分离步骤,尤其是在一效蒸发步骤中采用蒸汽机械再压缩蒸发器中进行低温蒸发浓缩,浓缩效果好。本发明的这种低温浓缩高盐废水的方法,降低高盐废水的蒸发温度,节能环保,蒸发1吨水的能耗大约是传统蒸发器的1/8到1/7,完全摆脱了对蒸汽锅炉的依赖,MVR开始消耗蒸汽之后主要是消耗电能,节约能源,降低成本,自动化程度高,全自动工作流程,无需人工监控。

标签:
废水处理
江苏 - 南通 来源:中冶有色网 2023-03-19
针对不同深度的废水监测装置

本实用新型公开了一种针对不同深度的废水监测装置,包括监测箱,所述监测箱底面对称设有进水孔,所述监测箱内壁顶端固接固定隔板,所述固定隔板上设有通孔,所述通孔内固接密封圈外圈,所述固定隔板顶面固接取样装置一端,所述密封圈内圈接触取样装置,所述取样装置另一端穿过通孔转动连接监测箱内底面,所述监测箱内壁底端设有滑动槽,所述滑动槽内卡接取样装置;所述监测箱顶面对称固接支撑杆一端,所述支撑杆另一端固接固定板底面,所述固定板底面设有圆形槽。该设备可以控制监测箱内的在废水的不同深度进行取样,方便监测人员对不同的废水样品进行检验分析,更好地了解情况以解决废水的问题,提高工作效率。

标签:
废水处理
江苏 - 南通 来源:中冶有色网 2023-03-19
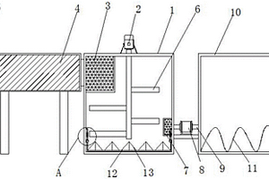
用于印染废水处理回收再利用装置

本实用新型公开了一种用于印染废水处理回收再利用装置,包括第一处理池和沉淀板本体,所述第一处理池的左侧设置有过热水箱,且过热水箱的内部开设有进水管安装孔,所述进水管安装孔的内部设置有进水管本体,且进水管本体的右侧设置有进水口滤网,所述沉淀板本体的左右两侧均设置有沉淀板撑杆,且沉淀板撑杆的上方设置有连接套环,所述连接套环的内部设置有固定挂钩,且固定挂钩的上方设置有绳索。该用于印染废水处理回收再利用装置设置有过热水箱能够在内部加入凉水,排出的废水经进水管安装孔时,能够对排出的废水中的部分热量进行吸收,进而便于废水更快速的冷却,提升废水的冷却的速率,进而提升废水处理的工作效率。

标签:
废水处理
江苏 - 南通 来源:中冶有色网 2023-03-19
低成本深度去除高盐废水中硫酸根的方法及系统

本发明属于环境保护与水资源合理利用技术领域,涉及硫酸根的去除和经济成本分析,更具体而言,涉及一种低成本深度去除高盐废水中硫酸根的方法及系统,包括依次连接的混合池、预沉池、除硫池、沉淀池、中和池和纳滤装置。将化学沉淀与管式微滤装置连用,该技术占地面积小,技术操作简单,自动化程度高,可深度、高效地去除高盐废水中的硫酸根,避免零排放系统中膜浓缩和蒸发结晶单元形成永久性硫酸钙垢,大大减少了后面设备的结垢情况,延长膜的使用寿命,增强膜的处理效率,提高回收率;为高盐废水零排放工艺提出新的预处理路线,对硫酸根和硬度离子同步去除效果显著,同时可以有效的降低药剂的成本;硫酸根深度处理工艺无污染排放物。

标签:
废水处理
江苏 - 南通 来源:中冶有色网 2023-03-19
用于处理丙烯腈生产废水的新型丙烯汽提塔

本实用新型公开了一种用于处理丙烯腈生产废水的新型丙烯汽提塔,涉及丙烯汽提塔技术领域,包括汽提塔主体,所述汽提塔主体包括有底座,所述底座的上侧设置有废水处理装置,所述废水处理装置包括有废水处理装置套壳,所述废水处理装置的内部设置有拆卸式过滤机构,所述废水处理装置的外侧设置有防回流液化装置。本实用新型通过采用拆卸式过滤机构内部结构之间的配合,废水加热汽化的水汽通过下通孔进入开孔过滤箱内部,受到活性炭板的过滤处理后,从上通孔排出,通过卡槽座对活性炭板进行卡接固定,打开启闭式防护箱,可以便捷地将活性炭板从开孔过滤箱内部抽出,进行更换。

标签:
废水处理
江苏 - 南通 来源:中冶有色网 2023-03-19
火花发电等离子体协同多级膜技术的废水回用系统

本实用新型公开了一种火花发电等离子体协同多级膜技术的废水回用系统。1)采用闸流管开关电源和针板式火花放电等离子体发生器为基础,采用火花放电产生等离子体对超滤膜、反渗透膜进行改性;2)在推流式反应器中通过活性炭吸附和微滤膜对废水进行预处理;3)通过控制有机负荷的投加量控制待处理废水的电导率,保证在火花放电模式下进行废水处理;4)采用火花放电等离子体技术在曝包含臭氧的氧气条件下脉冲放电产生等离子体与活性炭、紫外辐射协同处理废水;5)利用超滤/反渗透双膜技术协同等离子技术处理废水。本实用新型对各类印染废水的浊度去除率在99%以上,电导去除率在99%以上,COD去除率在97%以上,BOD去除率在96%以上且将膜污染程度降到最低。

标签:
废水处理
江苏 - 南通 来源:中冶有色网 2023-03-19
生活废水座便器自动处理系统

座便器后下部二侧100mm高为废水进口,进入水处理系统;二格剂箱安装在循环沉淀栅格上方,一格絮凝剂,另一格消毒剂;浮子装在投剂器一端,废水进入浮子升高,带动投剂器内旋瓷片变换角度,输出微量絮凝剂和消毒剂于废水内;废水推动搅拌轮中和,瞬间清浊上下分层并灭菌;下层的污水,通过排泥器,进入大三通,排泥管,排污总管直通化粪池,应用化粪池与座便器上下落差所产生的吸引力,把沉淀污泥直排化粪池,作为疏通排污管的后续水;上层清水再经过滤器过滤,储存座便器箱底备用;无需机电动力,使人类日常生活中所产生的废水由座便器来实现处理,达到中水安全回用的高效节水,杜绝相应生活废水而造成的环境污染源。

标签:
废水处理
江苏 - 南通 来源:中冶有色网 2023-03-19
废水检测用分层取样装置

本发明公开了一种废水检测用分层取样装置,属于废水检测取样领域,通过控制器控制磁吸瓣配合磁性密封盖产生安培力,使得密封盖向磁吸瓣内部运动,再配合反馈限位瓣断开电路使得磁性密封盖停止运动,利用密封盖内侧壁的密封垫与预留孔的配合,让该取样装置在不同的废水取样层打开对应的取样腔进行取样,并密封其他未进行取样操作的取样腔,又通过密封垫内部的磁板三与密封板配合进一步对取样腔的取水通道进行密封,实现了一次取样工作完成多次取样任务,减少了工作人员的劳动量,工作人员可以远离废水池提高了操作安全性,多次分层连续取样提高了废水检测的准确性,取水通道双层密封防止了废水泄露废染环境。

标签:
废水处理
江苏 - 南通 来源:中冶有色网 2023-03-19
电镀含铬废水的处理方法

本发明涉及一种电镀含铬废水的处理方法,电镀铬工艺包括除油、粗化、两道还原、钯活化、解胶、镀化学镍、预镀铜、镀铜、酸活化、镀半亮镍、镀亮镍、镍封、镀铬、还原和烘干工序,其中前一道工序之后均通过水洗进入下一道工序,粗化工序中,粗化液中铬酸浓度至下限时,向粗化液中补加含铬废水回收工序得到的浓缩液,直至粗化液浓度满足原浓度要求;粗化液中硫酸根至上限时,向粗化液中补加碳酸钡调整硫酸根满足原浓度要求。本发明的优点在于:本发明能够降低废水中铬离子含量、含铬废水排放量及废水处理成本。

标签:
废水处理
江苏 - 南通 来源:中冶有色网 2023-03-19
资源化处理城市废水的系统

本发明涉及一种资源化处理城市废水的系统。所述系统包括前处理单元,生物反应器,藻类收获单元,所述城市废水进入前处理单元后,再进入生物反应器,最后进入藻类收获单元后,出水排放,其特征在于:所述前处理单元包括格栅、调节中和池、水解酸化单元和厌氧发酵单元;所述格栅间隙数n个数为:n=Qmax(sinα)1/2/(dhv);式中:n——格栅间隙数,个;Qmax——最大设计流量,m3/h;格栅安装倾角,?;d——格栅栅条间隙,mm;h——栅前水深,m;v——过栅流速。本发明的有益效果在于:本发明能有效利用微藻收获高附加值的产品,大大增加了废水处理的经济效益和社会效益,可以为资源化综合处理废水提供了切实可行的方法及系统。

标签:
废水处理
江苏 - 南通 来源:中冶有色网 2023-03-19
微电解耦合光芬顿氧化处理制药废水的方法及系统

本发明提供了一种微电解耦合光芬顿氧化处理制药废水的方法及系统,本发明利用铁碳微电解工艺原位产生的Fe2+/Fe3+,通过引入紫外光并控制双氧水的投加来强化氧化过程,达到废水中有机污染物去除和脱色的目的,后续通过调节废水pH利用Fe2+/Fe3+的絮凝沉淀作用,进一步提高水处理效果。本发明系统将预处理,曝气,铁碳微电解,光芬顿及絮凝沉淀工艺整合到一个反应器内,不仅提高了Fe2+/Fe3+及双氧水的利用率,降低了处理成本,且对水质波动抗冲击性强,处理效果稳定,使得制药废水经处理后达标排放。

标签:
废水处理
江苏 - 南通 来源:中冶有色网 2023-03-19
上一页 55 56 57 58 59 ... 68 下一页
共68页    到第

中冶有色为您提供最新的江苏南通有色金属环境保护技术理论与应用信息,涵盖发明专利、权利要求、说明书、技术领域、背景技术、实用新型内容及具体实施方式等有色技术内容。打造最具专业性的有色金属技术理论与应用平台!

全国热门有色金属设备推荐
展开更多 +
全国热门有色金属技术推荐
展开更多 +

 

江西省隆恩特环保设备有限公司
宣传

报名参会
更多+

报告下载

有色专家
更多+

江西理工大学
副校长
武汉科技大学
校学术委员会主任 / 教授
武汉理工大学
外籍院士/教授
有研资源环境技术研究院(北京)有限公司
副总经理/教授级高工
中国有色金属工业协会
教授级高级工程师
赤泥综合利用研究报告2025
推广

热门技术
更多+

推荐企业
更多+

福建省金龙稀土股份有限公司
宣传

发布

在线客服

公众号

电话

顶部
咨询电话:
010-88793500-807