青岛垚鑫智能科技有限公司
宣传

位置:中冶有色 >

有色技术频道 >

> 复合材料技术

分类:
全部
矿山技术
冶金技术
材料制备及加工技术
环境保护技术
分析检测技术
 
全部
功能材料技术
复合材料技术
新能源材料技术
合金材料技术
加工技术
地区:
全部
北京
天津
上海
重庆
河北
山西
辽宁
吉林
黑龙江
江苏
浙江
安徽
福建
江西
山东
河南
湖北
湖南
广东
海南
四川
贵州
云南
陕西
甘肃
青海
内蒙
广西
西藏
宁夏
新疆
其他
其他
展开
 
全部
南京
无锡
徐州
常州
苏州
南通
连云港
淮安
盐城
扬州
镇江
泰州
宿迁

江苏有色金属复合材料技术理论与应用

免费发布技术信息>>
抗静电的玻纤增强AS组合物及其制备方法

本发明提供一种抗静电的玻纤增强AS组合物及其制备方法,包括按重量百分比计的以下组分:AS树脂59-88%;玻璃纤维:10-30%;相容剂:0.8-10%;偶联剂:0.1-1%;抗静电剂:10-15%;助剂0.1-3%;所述相容剂为聚甲基丙烯酸甲酯;所述偶联剂为硅烷偶联剂。本发明的基体为AS树脂,具有性能优异、成本低廉、制备工艺简单等优点;使用PMMA作为相容剂不仅限于增强玻璃纤维与AS树脂之间的结合力,而且适用于增强具有相似性质的纤维与树脂复合材料体系。

标签:
复合材料
江苏 - 无锡 来源:中冶有色网 2023-03-18
制备功能材料的方法
制备功能材料的方法 752     
 0

本发明公开了一种制备功能材料的方法,将希夫碱与Anderson型多酸Na3[AlMo6O24H6]NH4·10H2O以体积比为1 : 1的比例加入到锥形瓶中进行反应,反应生成大量棕色沉淀;第二步,将生成的沉淀在常温下用电磁力搅拌器搅拌12小时,然后进行沉淀过滤,并以水、甲醇、DMF与二氯甲烷为体积比为1 : 1的比例沉淀冲洗;将滤液用电磁力搅拌器常温下搅拌12小时,并进行过滤,然后将滤液密封保存,密封2-3天后得到大尺寸块状晶。本发明弥补了目前大量常规条件下有机无机复合单晶材料反应条件苛刻、晶体尺寸小的缺点,开辟了反应温和、易控、节能及少污染的新和成路线,此外复合材料进一步提高了传统多酸前躯体的光催化效率,对于有机污染物的无害化处理有很好的应用前景。

标签:
复合材料
江苏 - 无锡 来源:中冶有色网 2023-03-18
片状石墨烯单/多负载贵金属纳米粒子的制备方法

本发明涉及一种片状石墨烯单/多负载贵金属纳米粒子的制备方法,在分散有80~140mg氧化石墨烯的水溶液中加入0.5~2mmol液相贵金属源,快速搅拌使其混合均匀;再加入与贵金属质量比为5~15:1的还原剂,液相贵金属源体积与反应溶液总体积比为5毫升/100毫升~30毫升/100毫升;然后将悬浮液转移到合适容器中进行超声波恒温水浴;水浴结束后,将沉淀产物进行洗涤干燥处理,得到片状石墨烯单/多负载贵金属纳米粒子。该制备方法工艺和流程简单,参数可调范围宽,可重复性强,成本低,可以制备多种负载有不同金属纳米粒子的片状石墨烯复合材料。

标签:
复合材料
江苏 - 无锡 来源:中冶有色网 2023-03-18
蔗渣复合土壤改良剂的制备方法

本发明公开了一种蔗渣复合土壤改良剂的制备方法,本发明以甘蔗制糖的主要副产物蔗渣为原料,通过接枝共聚法与淀粉、高岭土结合,制备具有对重金属高吸附能力的土壤修复剂。蔗渣中含有大量的纤维素,利用蔗渣制备土壤修复剂不仅具有经济价值,也具有显著的环保意义。本发明利用制糖工业主要副产品蔗渣及天然产物淀粉、高岭土为原料,工艺路线合理,产品性能可靠,制备所得复合材料具有对重金属高吸附性的土壤修复能力,此法具有能提高糖厂副产物的综合利用、无二次环境污染等优点。利用该法制备所得土壤修复剂可有效吸收土壤中的重金属元素,对镉吸附率达到45%以上;铜吸附率达到52%以上。

标签:
复合材料
江苏 - 无锡 来源:中冶有色网 2023-03-18
粉体烧结装置
粉体烧结装置 749     
 0

本发明涉及一种粉体烧结装置,其包括:支撑单元、驱动单元、烧结单元以及反应单元。所述驱动单元设置于所述支撑单元;所述反应单元设置于所述烧结单元的内部并可以由该烧结单元加热,且该反应单元固定在所述驱动单元,在该驱动单元的驱动下可以旋转。另外,本发明还提供一种利用上述粉体烧结装置制备复合材料的方法。

标签:
复合材料
江苏 - 无锡 来源:中冶有色网 2023-03-18
用于阴离子聚合尼龙6反应加工的天然纤维的改性方法

本发明公开了一种用于阴离子聚合尼龙6反应加工的天然纤维的改性方法,具体过程是将天然纤维置于特定溶液中进行初步的改性,去除其表面附着的可能对阴离子聚合过程产生不利影响的杂质。为了进一步改善反应加工过程,将初步改性的天然纤维再置于特定的偶联剂溶液中进行改性,使天然纤维表面包覆一定的偶联剂分子层,偶联剂分子层不仅能够起到屏蔽一些活性基团的作用,还可以使纤维与聚合物基体之间产生一定的界面相互作用。经过改性的天然纤维可以与阴离子聚合尼龙6顺利的进行反应加工,从而制得一种新型的天然纤维复合材料,使天然纤维在高分子材料领域得到更广泛的应用;同时还可以提高了天然纤维的利用水平,并刺激了我国天然纤维产业的发展。

标签:
复合材料
江苏 - 无锡 来源:中冶有色网 2023-03-18
导电粒子/硅橡胶压敏材料及其制备方法与应用

本发明涉及纳米复合材料技术领域,为解决现有硅橡胶压敏材料存在正压力系数效应弱、加工工艺单一无法工业化、强度变化范围有限等问题,本发明提出了一种导电粒子/硅橡胶压敏材料,有以下组分制成,各组分的质量份为:硅烷偶联剂修饰的碳纳米管1~8份或者硅烷偶联剂修饰的纳米碳纤维4~20份,甲基乙烯基硅橡胶100份,第二相非导电粒子0.5~3份,本发明添加第二相非导电粒子后,导电硅橡胶的压敏强度显著提高,且可以通过改变第二相非导电粒子的用量调节材料的压敏强度;同时还赋予材料其他功能特性。

标签:
复合材料
江苏 - 无锡 来源:中冶有色网 2023-03-18
微纳结构磷酸银基复合可见光催化材料及其制备方法

本发明涉及光催化技术领域,特指一种微纳结构磷酸银基复合可见光催化材料及其制备方法。步骤如下:将氧化石墨烯溶于水中,超声处理得到氧化石墨烯分散液;将硝酸银和氧化锌超声分散于去离子水中得到混合溶液,在搅拌的条件下逐滴将其加入氧化石墨烯分散液中,得到混合前驱体;将配置好的磷酸盐溶液缓慢滴加到上述氧化石墨烯、硝酸银和氧化锌的混合前驱体中继续搅拌,所得产物抽滤后用无水乙醇和去离子水反复洗涤多次后真空干燥得到所述复合材料。本发明的优点在于制备工艺简单、所需原料充足和产物性能优越,在可见光激发下作用下对有机染料罗丹明B表现出较强的降解活性。

标签:
复合材料
江苏 - 无锡 来源:中冶有色网 2023-03-18
超薄保护壳套的成型工艺及专用加工装置

本发明公开了一种超薄保护壳套的成型工艺及专用加工装置,包括以下步骤:1)制备壳套材料和模具;2)预备真空吸附治具安装到工作台上的吸附装置中;3)启动真空吸附装置和工作台上的雕铣电主轴,制得超薄保护壳套的半成品板料;4)将超薄保护壳套的半成品板料进行表面处理工艺;5)热压机使用该模具将该超薄保护壳套的成品板料压制成型,制得超薄保护壳套。所述专用加工装置的工作台上设有真空吸附装置和雕铣电主轴。本发明工艺使超薄保护壳套的成型效率高,能用于单一种塑料或多种复合材料进行超薄保护壳套的成型加工,无需更换模具和设备;专用加工装置的加工精度和良品率高,工艺简便,利于实现高效率自动化生产,有益于节省人工成本。

标签:
复合材料
江苏 - 无锡 来源:中冶有色网 2023-03-18
一类钠离子电池正极材料的制备方法及应用

本发明公开了一类普鲁士蓝类配合物材料的制备方法及其作为钠离子电池正极材料的应用。本发明所提供的普鲁士蓝类配合物复合材料制备方法至少包括:过渡金属盐、酸与还原剂均匀分散于水中得到反应溶液,将所述溶液在保护气氛下加热一段时间后即得所述普鲁士蓝类配合物材料。该方法制备简单,易于调控,实用化程度高。该方法可得到的具有高钠源的普鲁士蓝类配合物。作为钠离子电池正极时大大提高了电池的比容量和能量密度,具有很高的应用前景。

标签:
复合材料
江苏 - 无锡 来源:中冶有色网 2023-03-18
环保耐寒增韧高温尼龙材料及其制作工艺

本发明涉及一种有机高分子复合材料,更具体地说,是涉及一种环保耐寒增韧高温尼龙材料及其制作工艺,是由以下成分按重量比组成,高温尼龙49.5-90%,耐寒剂:3-35%;耐冲击改性剂:3-35%,抗氧化剂:0.3-1.5%;热稳定剂:0.3-3.5%;其他助剂:0.3-5.5%,本发明的一种环保耐寒增韧高温尼龙材料,能够耐受零下四十度低温,悬臂梁缺口冲击强度比普通高温尼龙高出近十倍左右,并且生产采购方便,大大的提高了竞争力。

标签:
复合材料
江苏 - 无锡 来源:中冶有色网 2023-03-18
ABS复合塑料、其制备方法和应用

本发明适用于工程塑料领域,提供了一种ABS复合塑料、其制备方法和应用。该ABS复合塑料包括ABS、SAN、增韧剂、分散剂及抗氧剂。本发明ABS复合塑料,通过SAN和增韧剂对ABS树脂进行改性,使ABS树脂的收缩率下降,实现了该ABS复合塑料的收缩率的明显改善。本发明实施例ABS复合塑料制备方法,通过用SAN和增韧剂对ABS树脂进行改性,实现ABS复合材料的收缩率得以改善,本发明实施例ABS复合塑料制备方法,操作简单,成本低廉,对设备要求低,生产效益高,非常适于工业化生产。

标签:
复合材料
江苏 - 无锡 来源:中冶有色网 2023-03-18
氧化石墨烯喷墨记录材料及其制备方法

一种氧化石墨烯喷墨记录材料及其制备方法,本发明涉及石墨烯复合材料及其制备方法。本发明是要解决现有的膨胀型吸墨层喷墨记录材料的吸墨速率慢、空隙型吸墨层喷墨记录材料的易产生折叠裂纹的技术问题。本发明的氧化石墨烯喷墨记录材料是由基底和涂覆在基底上的氧化石墨烯/聚丙烯酸共聚物构成。制备方法:一、石墨氧化;二、氧化石墨烯纯化;三、氧化石墨烯功能化;四、将双键氧化石墨烯、丙烯酸、水和引发剂并加入到反应器中,在惰性气体保护下反应,得到氧化石墨烯/聚丙烯酸共聚物,再将氧化石墨烯/聚丙烯酸共聚物涂覆在基底上,得到氧化石墨烯喷墨记录材料。本发明的氧化石墨烯喷墨记录材料可用于喷墨打印领域。

标签:
复合材料
江苏 - 无锡 来源:中冶有色网 2023-03-18
EVA复合发泡材料及其制备方法

本发明提供了一种EVA复合发泡材料,包括以下质量分数的成分:热塑性弹性体:50%-95%,乙烯-醋酸乙烯共聚物:0%-45%,聚乙烯:0%-30%,填充剂:0%-20%,表面活性剂:0.5%-2%,交联剂:0.5%-2%,发泡剂:1%-4%,其它助剂:1%-5%。本发明提供的EVA复合发泡材料是结合橡胶与塑胶特性研发出的功能性复合材料,具备橡胶质感、弹性、曲折防皱的优点,并还持有优越的低压缩歪和高反弹功能,可提升消费者穿着时的舒适性及延长产品使用期限,符合国家相关物理性能标准。

标签:
复合材料
江苏 - 无锡 来源:中冶有色网 2023-03-18
磷系混合阻燃剂及其制备方法

本发明公开了一种磷系混合阻燃剂及其制备方法,阻燃剂包括下列成分的原料:2-羟乙基苯基次磷酸100份,石墨烯聚膦腈纳米复合材料30-50份,蒙脱土10-15份,甲基硅醇钠10-20份,环己醇六磷酸酯50-80份。本发明磷系混合阻燃剂以磷系2-羟乙基苯基次磷酸为主要成分,加入其它成分进行复配,得到混合阻燃剂,该阻燃剂中各成分互相配合,协同作用,克服了单一磷系化合物易于产生融滴落物、抗水性差的缺点,制备简单,热稳定性好,抗水性好,阻燃效果好。

标签:
复合材料
江苏 - 无锡 来源:中冶有色网 2023-03-18
锥形弹簧
锥形弹簧 990     
 0

本发明涉及一种锥形弹簧,属于弹簧技术领域。一种锥形弹簧,该弹簧的弹性系数从弹簧的一端至弹簧的另一端递减或递增。当弹簧为单一材料时弹簧横的截面积递增或递减。当弹簧为复合材料时弹簧的阶段性材料的不同也可以使弹性系数递增或递减。本发明的弹簧可以广泛应用于车辆保险杠、弹簧床、弹簧夹子、缓冲坐垫、机器、仪表以及体育器材中;本发明的弹簧的弹性平缓,符合人体工程学,可避免对人体和物体造成的直接的伤害。

标签:
复合材料
江苏 - 无锡 来源:中冶有色网 2023-03-18
阻燃材料的制备方法
阻燃材料的制备方法 1106     
 0

本发明涉及一种阻燃材料的制备方法,包括如下步骤:步骤一、取46重量份的聚酰胺,通过破碎机制成直径小于5mm的聚酰胺颗粒;步骤二、将聚酰胺颗粒与50重量份的云母混合均匀后,加入4重量份的氢氧化铝;步骤三、将混和物加热至部分熔融后,冷却即制得聚酰胺复合阻燃材料。本发明通过在聚酰胺中加入云母,能有效提高聚酰胺的阻燃性能,另外加入的氢氧化铝,既不影响复合材料的阻燃效果,又能够提高阻燃效果。具有方法简单,阻燃效果好等优点。

标签:
复合材料
江苏 - 无锡 来源:中冶有色网 2023-03-18
表面改性自修复型微胶囊的制备方法

本发明公开了一种表面改性自修复型微胶囊的制备方法,首先合成聚脲甲醛包覆环氧树脂的自修复型微胶囊,然后采用氟烷偶联剂对微胶囊进行表面改性处理。本发明制备的表面改性自修复型微胶囊,显著改善了自修复型微胶囊对复合材料力学性能的影响,因此本发明提供了更好的用于自修复型微胶囊表面改性的方法;由于表面含有氟基团的存在,同时还可降低涂膜表面能,提高疏水和防污性能。

标签:
复合材料
江苏 - 无锡 来源:中冶有色网 2023-03-18
利用静电纺丝工艺制备定向排列微/纳米纤维的方法

本发明公开了一种利用静电纺丝工艺制备定向排列微/纳米纤维的方法,具体是利用高于某一临界浓度的纺丝溶液,借助于微量注射泵控制溶液流量,并通过调节接收距离、电压和空气温湿度,使球状液滴尖端形成倾斜并高速旋转的射流,由于射流的鞭动不稳定性较小,最终使得具有较小鞭动不稳定性的射流会在高速旋转的过程中容易被拉直而形成定向排列纤维集合体。本发明的方法不仅所需设备简单、操作便利,而且得到的微/纳米纤维的定向排列程度较高,可用于制作微电子器件以及作为微/纳米复合材料的定向增强。

标签:
复合材料
江苏 - 无锡 来源:中冶有色网 2023-03-18
含钇的锂离子二次电池负极材料钛酸锂的制备方法

本发明提供一种改善锂离子电池负极材料钛酸锂的电导率、充放电性能和循环性能的制备方法。本发明是以Li的可溶性化合物和Ti的可溶性合物为锂源和钛源,添加络合剂,通过溶胶凝胶法掺杂钇离子,控制烧结气氛,分别制备出含钇的钛酸锂纳米晶和钛酸锂/C复合材料,该钛酸锂复合负极材料显示出优异的倍率性能。该方法不仅可以制备出分散性良好的纳米晶,而且可以制备出均匀分散在颗粒周围或表面的热解碳,显著改善了产物的电导率。此法制备的含钇的钛酸锂负极材料显示出优异的倍率性能,适合于动力电池使用。

标签:
复合材料
江苏 - 无锡 来源:中冶有色网 2023-03-18
锂离子电池正极材料除杂及复合氧化物的方法

一种锂离子电池正极材料除杂及复合氧化物的方法,用于正极材料制备中的后处理,其具体步骤如下:1)选取Na、K杂质含量超过500ppm的锂离子电池正极材料;2)用总离子浓度小于50ppm的水除去正极材料中的Na、K杂质;3)浸入含改性材料水溶液中在正极材料表面沉积改性材料:4)在氧气气氛中煅烧制备复合正极材料。步骤3)、4)可直接应用于杂质含量低于500ppm的正极材料。本发明锂离子电池正极材料除杂及复合氧化物的方法,集除杂、复合氧化物于一体,是一种改善锂离子二次电池正极材料性能的简单、有效的方法;所得正极复合材料,循环性能良好,尤其是电压平台稳定。

标签:
复合材料
江苏 - 无锡 来源:中冶有色网 2023-03-18
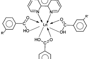
无机-有机核壳式稀土高分子材料及其制备方法

本发明涉及无机-有机核壳式稀土高分子材料 及其制备方法。其中核壳式有机稀土配合物为单一取代基的苯 甲酸化合物(L)和1,10-邻菲啰啉为配体合成的三元有机稀土 配合物的结构LnM1 (M2 R′ ) 3R,如右所示, 其制备方法包括:(1)有机稀土配合物的制备,(2)有机稀土配合 物分散乳液的制备,(3)核壳式有机稀土配合物/PMMA有机稀 土高分子光能转换剂的制备。本发明的稀土高分子复合材料, 具有高的光转换效率和较强的荧光发光性质、较长的荧光寿命 以及配合物的高透明度等优良特性,可作为新的光学材料应用 于农业、生物、电工电子等各种领域的光电功能材料,而且制 备工艺简单。

标签:
复合材料
江苏 - 无锡 来源:中冶有色网 2023-03-18
废旧PVC电缆外皮/木粉复合板材的配方及生产方法

本发明废旧PVC电缆外皮/木粉复合板材的配方及生产工艺。将废旧PVC电缆外皮颗粒、纯PVC粉末、金属皂类稳定剂、氯化聚乙烯、甲基丙烯酸多元酯和润滑剂加入高混机中混合;将硅烷偶联剂进行水解处理,然后将硅烷偶联剂和木粉混合,放入高混机中混合,将上述两组原料放入高混机中混合,将混合好的原料加入双螺杆挤出机中进行混炼挤出,将粉碎的木塑材料于模具中压制成型,即可得到复合板材。木塑复合材料制品因兼有木材和塑料的优点,因而被广泛应用于很多领域,如家具、建筑、工业、车辆船舶、包装运输等国民生产的各个方面。

标签:
复合材料
江苏 - 无锡 来源:中冶有色网 2023-03-18
户外通信机柜
户外通信机柜 783     
 0

本发明公开了一种户外通信机柜,包括:顶板、底板和侧板,侧板由外层、内层和中间层构成,外层是由高分子复合材料制成,内层是由防火材料制成,中间层是由保温材料制成的保温层。该一种户外通信机柜具有良好的保温效果,能在户外恶劣的自然环境条件下使用,为通信设备的可靠运行提供了保障。

标签:
复合材料
江苏 - 无锡 来源:中冶有色网 2023-03-18
方镁石氮化硅复合耐火制品及制备方法

一种方镁石氮化硅复合耐火制品及制备方法,属于无机非金属材料科学工程技术领域。制品的成分为MgO含量45-85%,Si3N4含量5-45%,Fe含量1-10%。其工艺为:按比例配料;将配料混合物在搅拌机中混合均匀后,机压成型为坏体。将压制成形的坯体经自然干燥后置于热处理炉或窑,在100~300℃下烘烤2~24小时,获得制品。优点在于,使制备的方镁石氮化硅复合材料制品具有较高的性能,该制品不用高温烧成,且该制品在使用时具有“自阻碍氧化”的性能,向洁净钢冶炼提供了一种优良的精炼钢包渣线用耐火材料。

标签:
复合材料
江苏 - 无锡 来源:中冶有色网 2023-03-18
双层包覆香精微胶囊及其制备方法

本发明公开了一种双层包覆香精微胶囊及其制备方法,所述的香精微胶囊以油溶性液体香精为囊芯,以明胶改性氨基树脂复合材料为第一层囊壁,以丙烯酸酯聚合物为第二层囊壁,所述的第一层囊壁和第二层囊壁之间通过明胶与丙烯酸酯接枝共聚形成接枝过渡区,其制备方法包括预聚物合成、乳化分散、微胶囊连续双层包覆以及后处理步骤。本发明的香精微胶囊与单层包覆的微胶囊相比,其缓释性能、耐热性能、囊材力学性能得到了极大地改善,可用于大多数高分子材料热挤塑加工的微胶囊化香精产品。

标签:
复合材料
江苏 - 无锡 来源:中冶有色网 2023-03-18
水相中均匀分散纳米二氧化锰的制备方法

本发明公开了一种水相中均匀分散纳米二氧化锰的制备方法,将表面活性剂与反应原料一起反应,通过精确控制表面活性剂浓度,改性时间与搅拌速度,反应结束后,经水洗、真空干燥、研磨即得水相中均匀分散的纳米二氧化锰粉体。制备的纳米二氧化锰粉体在水溶液中的分散性得到有效的改善,与未用表面活性剂改性的粉体相比其平均粒径大为降低。用本发明制备的粉体,主要用作导电聚合物/纳米二氧化锰电极复合材料,或者其单独作为电极材料使用。

标签:
复合材料
江苏 - 无锡 来源:中冶有色网 2023-03-18
新的催化油浆反应分离方法

一种新的催化油浆反应分离方法,包括树脂的合成工艺(原料、反应温度、反应时间、催化剂、交联剂)及树脂的精制工艺、固化条件,所得到的树脂经过液固萃取、离心分离、真空干燥、研磨四个过程,本工艺得到的树脂具有高耐热性能,其10%的失重温度为480℃,最终炭化收率50%,而且具有良好的自润滑性能,以及和其他材料具有优良的结合性可作为碳/碳、碳/塑复合材料基体、无油自润滑零部件和摩擦材料黏结剂可广泛应用于航空航天、军工、机械、汽车等领域。

标签:
复合材料
江苏 - 无锡 来源:中冶有色网 2023-03-18
用硅质材料粉制造的隔热防火材料及制造方法

本发明涉及用硅质材料粉制造的隔热防火材料及制造方法。用硅质材料粉制造的隔热防火材料的组分及重量百分比为:硅质材料粉10~85%、碱性触媒剂8~86%、发泡剂4~7%,用硅质材料制造隔热防火材料的方法是:将硅质材料粉与碱性触媒剂部分地进行化学反应,硅质材料粉与其化学生成物相复合的办法制成中间体,再在一定的温度、压力、时间下进行膨化,制成硅-硅/气复合材料。本发明具有无机类材质的特性,且能耗低、制造方法简单、易于产业化大批量生产。

标签:
复合材料
江苏 - 无锡 来源:中冶有色网 2023-03-18
复合自润滑耐磨材料
复合自润滑耐磨材料 687     
 0

本发明系固体自润滑耐磨材料的制造方法及其 制品。其制品是以金属网作骨架,以聚四氟乙烯、六 氟丙烯、石墨和硅酸盐组成的混合料为填充料的复 合材料。其制造方法是先将混合料制成面团状,并在 轧机上轧成薄膜,再通过轧机,将薄膜复合在金属网 上,经预热处理后,最终轧制和塑化处理成成品。该 方法可连续生产,效率高,成品尺寸规格范围大,尺 寸精度高,摩擦系数小。主要适用于-50~ +250℃温度范围内工作的轴与轴套间相对运转的 自润滑衬套等。

标签:
复合材料
江苏 - 无锡 来源:中冶有色网 2023-03-18
上一页 518 519 520 521 522 ... 1207 下一页
共1207页    到第

中冶有色为您提供最新的江苏有色金属复合材料技术理论与应用信息,涵盖发明专利、权利要求、说明书、技术领域、背景技术、实用新型内容及具体实施方式等有色技术内容。打造最具专业性的有色金属技术理论与应用平台!

全国热门有色金属设备推荐
展开更多 +
全国热门有色金属技术推荐
展开更多 +

 

江西省隆恩特环保设备有限公司
宣传

报名参会
更多+

报告下载

有色专家
更多+

赣州江钨钨合金有限公司
副总经理
西安建筑科技大学
教授
云南锡业集团(控股)有限责任公司
副总经理
中南大学、中国工程院
院士
西北有色金属研究院、中国工程院
院士
赤泥综合利用研究报告2025
推广

热门技术
更多+

推荐企业
更多+

福建省金龙稀土股份有限公司
宣传

发布

在线客服

公众号

电话

顶部
咨询电话:
010-88793500-807