青岛垚鑫智能科技有限公司
宣传

位置:中冶有色 >

有色技术频道 >

> 复合材料技术

分类:
全部
矿山技术
冶金技术
材料制备及加工技术
环境保护技术
分析检测技术
 
全部
功能材料技术
复合材料技术
新能源材料技术
合金材料技术
加工技术
地区:
全部
北京
天津
上海
重庆
河北
山西
辽宁
吉林
黑龙江
江苏
浙江
安徽
福建
江西
山东
河南
湖北
湖南
广东
海南
四川
贵州
云南
陕西
甘肃
青海
内蒙
广西
西藏
宁夏
新疆
其他
其他
展开
 
全部
南京
无锡
徐州
常州
苏州
南通
连云港
淮安
盐城
扬州
镇江
泰州
宿迁

江苏有色金属复合材料技术理论与应用

免费发布技术信息>>
新型车体门框一体化结构及成型方法

一种新型车体门框一体化结构,其特征在于:在门框区域,车体的内、外蒙皮包裹着门框,形成车体门框一体化结构,车体除包裹着门框区域之外的断面为内、外蒙皮中间填充蜂窝芯材的三明治结构,车体内、外蒙皮采用碳纤维预浸料材料连续铺层而成,内、外蒙皮的接触区域采用连续的碳纤维预浸料铺层过渡或者碳纤维预浸料铺层搭接,本发明门框结构与车体结构完全融于一体,保证了车体结构的连续性与整体性,提高结构的整体强度、刚度。采用高温加压固化成型工艺,成型过程中结构变形量小,提高了门框结构的安装使用精度,提高了车门结构的安全运行品质。采用碳纤维复合材料以及泡沫、蜂窝芯材加工制作而成,有效得降低了车体结构重量,实现了车体结构轻量化的设计目标。

标签:
复合材料
江苏 - 无锡 来源:中冶有色网 2023-03-18
污水深度除磷系统及采用该系统的处理方法

本发明涉及一种污水深度除磷方法及其装置。该装置具体采用纳米复合材料及上向流滤池的物理吸附法对污水中的磷进行深度去除,该装置由快速混合器及上向流滤池组成。方法步骤为:(1)将纳米复合吸附剂投加至快速混合器与污水进行充分混合;(2)混合液流入上向流滤池进行过滤,上向流滤池采用底部进水、上部出水的过滤形式,混合液在滤料间发生絮凝、网捕以及沉淀反应,含磷絮体被截留在滤料表面;(3)当滤池过滤水头损失达到一定数值后停止进水进行反冲洗,将附着在滤料上的含磷絮体剥离并随反洗废水排出滤池。本发明处理效率高,停留时间短,经处理后出水中总磷在0.2mg/l以下。

标签:
复合材料
江苏 - 无锡 来源:中冶有色网 2023-03-18
印染废水用污水处理剂及其制备方法和用途

本发明公开了一种印染废水用污水处理剂,由以下按照重量份的原料制成:硫酸铝8‑11份、氯化铁10‑13份、萤石3‑6份、海泡石粉11‑15份、氢氧化钙2‑5份、活性硅酸钙1‑3份、丙撑基双(十八烷基二甲基)铵‑膨润土15‑19份、乙二醇二乙醚二胺四乙酸1‑2份、壳聚糖‑石墨烯复合材料2‑5份、聚合氯化铝铁24‑27份、聚丙烯酰胺18‑22份。本发明还公开了所述印染废水用污水处理剂的制备方法。本发明制备的污水处理剂能够有效去除印染废水中的污染物,处理效果好,处理成本低,无毒性,不会造成二次污染。

标签:
复合材料
江苏 - 无锡 来源:中冶有色网 2023-03-18
太阳能电池用电极浆料及其制备方法

本发明属于光电池电极材料,公开了一种太阳能电池用电极浆料。按照重量分数计,所述浆料原料组成为:片状锌粉40‑60份、球状铜粉5‑10份、银包铝合金粉10‑20份、磷酸铁锂/碳纳米纤维复合材料1‑5份,有机粘结剂10‑15份,玻璃粉1‑8份、表面活性剂1‑5份及触变剂0.5‑2份。本发明还公开了所述电极浆料的制备方法。本发明所得的电极浆料不含铅,完全符合环保要求,应用于太阳能电池的生产,能在太阳能电池表面形成附着力强、电池光电转换效率高,同时本发明工艺简单,成本低,因而具有广阔的应用前景。

标签:
复合材料
江苏 - 无锡 来源:中冶有色网 2023-03-18
湿度传感材料的制备方法

本发明一种湿度传感材料的制备方法,使用乙酸钡、乙醇、乙酸、去离子水、钛酸丁酯、聚乙烯吡咯烷酮、聚乙烯醇与溴化锂混合溶液,制备基于溴化锂/聚乙烯醇/钛酸钡的湿度传感材料。该湿度传感材料为复合材料,湿度响应范围变宽,从相对湿度10%到98%;陶瓷基湿响应材料加入,提高了原来纯粹氯化锂系列湿响应的响应时间;导电纤维长丝取代原有的金属丝,使得湿度传感材料的引脚部分柔性化,更容易将该类传感器织入面料中,做到服装中去。

标签:
复合材料
江苏 - 无锡 来源:中冶有色网 2023-03-18
建筑抗震演示台
建筑抗震演示台 1086     
 0

本发明公开了一种建筑抗震演示台,包含一支撑体,所述支撑体上设有一振动台,所述振动台的表面设有若干手搭建筑模型,所述振动台与一变频器相连接,所述变频器用于调节振动台的振动频率,所述变频器与一主控操作系统相连接,所述主控操作系统用于演示台的整体控制,所述的手搭建筑模型不少于3个,分别为砖混结构、砖混+圈梁结构、圈梁+构造柱结构,所述的振动台由高分子复合材料制成。本发明的建筑抗震演示台通过观众亲手搭建房屋的基本结构模型,观察振动台模拟地震的情况下采用不同结构的房屋模型在振动台上的抗震表现,让参观者了解农居抗震的意义和基本方法,提高大众的抗震减灾意识。

标签:
复合材料
江苏 - 无锡 来源:中冶有色网 2023-03-18
骨棒结构的钙钛矿薄膜材料的制备及其应用

一种骨棒结构的钙钛矿薄膜材料的制备及其应用,属于有机无机复合材料和光电材料技术领域。主要步骤为在钙钛矿前驱液中加入六亚甲基四胺(HMT),采用旋涂法制备钙钛矿薄膜,有效的调控钙钛矿的形貌。这种HMT调控制备的钙钛矿晶体堆积成骨棒结构,且薄膜表面致密,制成钙钛矿太阳能电池,具有较高的光电转换效率。本发明所提供的材料制备方法成本低廉,稳定性好,制备工艺简单,可控性和重复性强,适用于工业化生产。

标签:
复合材料
江苏 - 无锡 来源:中冶有色网 2023-03-18
含吡啶侧基双酚及其合成方法

一种含吡啶侧基双酚及其合成方法,涉及一种化合物及其合成方法,有机溶剂中,碱性催化剂存在下反应,双酚类化合物与异烟酰氯或烟酰氯生成酚酯化合物;然后酚酯化合物在有机溶剂中,酸性催化剂的存在下反应,酚酯化合物重排成含吡啶侧基双酚;本发明可以构建含吡啶侧基双酚单体,该类单体可用于高性能芳基聚合物的合成,这类聚合物可作为有机膜材料,在新能源、环境领域的有重要应用前景,也可作为高性能复合材料的基体等其他需要高性能聚合物材料的方面,有十分广阔应用前景。

标签:
复合材料
江苏 - 无锡 来源:中冶有色网 2023-03-18
磁性厌氧颗粒污泥-壳聚糖吸附剂的制备及应用

本发明涉及一种磁性厌氧颗粒污泥?壳聚糖吸附剂的制备及应用,本发明将壳聚糖溶解在水和冰醋酸的混合溶液中,加入Fe3O4搅拌一段时间后再加入厌氧颗粒污泥继续搅拌,产物用石油醚、乙醇和去离子水依次洗涤,直到pH为中性,得到的黑色固体在40~60℃下真空干燥,最后制得磁性厌氧颗粒污泥?壳聚糖吸附剂。本发明首次将厌氧颗粒污泥、Fe3O4和壳聚糖复合制备了纳米复合材料磁性厌氧颗粒污泥?壳聚糖吸附剂,方法操作简单,成本低廉,吸附容量高,吸附剂在外加磁场的作用下容易进行固液分离,可重复利用,能有效处理重金属废水,吸附过程不造成二次污染。

标签:
复合材料
江苏 - 无锡 来源:中冶有色网 2023-03-18
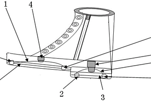
铝面板蜂窝夹层结构高密度蜂窝块脱粘的修理方法

本发明属于复合材料修理技术,涉及一种适用于一种铝面板蜂窝夹层结构高密度蜂窝块脱粘的修理方法。一种铝面板蜂窝夹层结构高密度蜂窝块脱粘修理时,采用去除高密度蜂窝块脱粘区高密度蜂窝块及铝面板、重新安装镶嵌件、使用EA9396胶在镶嵌件和铝面板表面粘接金属补片的方法,修理方法简单,易于操作,消除了传统修理方法易出现的脱粘问题。本发明提供的修理方法可在18?23℃常温条件下修理,有效的降低了修理难度,提高修理质量稳定性,防止了胶膜不完全固化现象发生,易于操作,避免了修理过程中易出现的脱粘、分层缺陷。

标签:
复合材料
江苏 - 无锡 来源:中冶有色网 2023-03-18
钛酸锂包覆锂离子电池镍钴锰正极材料的制备方法

本发明涉及电池材料技术领域,特别涉及一种钛酸锂包覆锂离子电池镍钴锰正极材料的制备方法。本发明对已有的锂离子电池正极材料的制备工艺进行改进,首先采用溶胶凝胶法合成了钛酸锂纳米材料,之后采用溶液法将其浸渍在镍钴锰三元材料上,从而得到安全性高、循环稳定性良好且首次库仑效率高的复合材料。本发明简单易行,生产效率高,减少了生产工序,降低了烧结温度和烧结时间,节省了生产成本,适宜规模化生产。

标签:
复合材料
江苏 - 无锡 来源:中冶有色网 2023-03-18
氧化铝基陶瓷纤维的纺丝机及纺丝方法

本发明公开了一种氧化铝基陶瓷纤维的纺丝机及纺丝方法,属于陶瓷纤维制备技术领域。包括恒温干燥通道及设置在恒温干燥通道外部的电机,在恒温干燥通道内部设有与电机相连的卷丝辊,在卷丝辊上方设有喷丝头;在恒温干燥通道顶部外还设有储液罐和阻尼器,储液罐和阻尼器之间设有齿轮泵,阻尼器与喷丝头相连。该纺丝机结构设计合理,操作十分简单,保证了陶瓷纤维的机械化纺丝,为陶瓷纤维的工业化生产奠定了基础。经本发明方法制得的氧化铝基陶瓷纤维可用于航空航天、汽车、文体用品等领域,作为复合材料中的增强体。

标签:
复合材料
江苏 - 无锡 来源:中冶有色网 2023-03-18
碳纤维节能锅及其制作方法

本发明公开了一种碳纤维节能锅,包括加热组件和碳纤维内胆,所述碳纤维内胆的外表面具有经过等离子处理形成的微孔,所述加热组件以辐射方式向所述碳纤维内胆的外表面传递热量。在此还公开了一种碳纤维节能锅的制作方法,包括制作碳纤维内胆并对所述碳纤维内胆的外表面进行等离子处理以形成微孔。本发明能够在碳纤维内胆表面形成吸收外部辐射热能的有利界面,有利于促进热量的充分利用和均匀分布,充分发挥碳纤维的增强效应,并有效提高复合材料的力学性能及耐高温性能。同时,经过处理后的碳纤维内胆外表面上布满微孔,获得对有机气体微粒、细小杂质的超强吸附能力,从而对有害化学物质和气体能起到很好的吸收净化作用。

标签:
复合材料
江苏 - 无锡 来源:中冶有色网 2023-03-18
劳保手套及其制作工艺

本发明公开了一种劳保手套,该劳保手套手掌面从里向外依次包括基层、第一涂层、手掌功能层和第二涂层;手背面从里向外依次包括基层、第一涂层和第二涂层。在第一涂层和第二涂层间设置有手背功能层,同时可以设置手套罗口。第一涂层和第二涂层的材料为天然橡胶、合成橡胶或塑料;手掌功能层可以是抗冲击层或减震层;手掌面第二涂层设置有防滑点或防滑带,手背面第二涂层设置有装饰条和装饰块。该劳保手套通过采用抗冲击复合材料增强减震作用,能够大大提高该手套的抗冲击效果,还拥有良好的回弹复原性能,显著保护手部及手臂的肌肉,缓解冲击,是适合工厂、矿山和采伐等一线工人使用的一种劳保手套。

标签:
复合材料
江苏 - 无锡 来源:中冶有色网 2023-03-18
纳米憎水憎油服装面料

本发明公开一种纳米憎水憎油服装面料,所述纳米憎水憎油服装面料是由经纱和纬纱编织而成面料主体,所述经纱是由甲壳素纤维和形状记忆纤维而成,所述纬纱是由纳米复合材料和醋酯纤维丝混纺而成。本发明提供一种纳米憎水憎油服装面料,具有透气性好、耐洗刷、无毒害和使用安全性,保暖性强的优点。

标签:
复合材料
江苏 - 无锡 来源:中冶有色网 2023-03-18
无栅AlGaN/GaN场效应晶体管传感器及其制备方法

本发明提出了一种无栅AlGaN/GaN场效应晶体管传感器,在AlGaN/GaN异质结基片上蒸镀有电极,还包括钝化层,所述钝化层覆盖整个源端电极、源端电极PAD与漏端电极、漏端电极PAD,在覆盖源端电极PAD与漏端电极PAD的钝化层上刻蚀出窗口,深度至PAD显露;还包括离子印迹聚合物层,所述离子印迹聚合物层位于AlGaN层上,含有印迹孔穴。还公开了无栅AlGaN/GaN场效应晶体管传感器的制备方法。本发明制备的导电高聚物纳米复合材料具有单一离子识别的性能,可以提高器件的选择性吸附、抗干扰能力;还具有快速响应的特点,可以实现高精度的定量检测;通过NaCl溶液冲洗可以方便快捷的重复使用,具有使用方便、成本低、可用于水质的在线监测等特点。

标签:
复合材料
江苏 - 无锡 来源:中冶有色网 2023-03-18
发动机轴的制作方法
发动机轴的制作方法 876     
 0

一种发动机轴的制作方法,包括以下步骤:选取杨氏模量为2的碳素钢,对碳素钢进行锻打和冶炼,达到屈服强度为1-2。加热100-200摄氏度以后,迅速放入冰水当中冷却。取出以后火烧10-20分钟,然后自然冷却。冷却以后放入熔炉当中进行熔化,熔化的同时加入10-26%的微晶纤维素、10-26%的环氧乙烷和2-6%干冰。10-30分钟,倒出金属液体,冷却。把材料拉伸,墩粗。放到车床的卡具上,进刀量1-3mm/min,同时顶尖同步旋转,车制出发动机轴。本发动机轴采用在金属里面加入复合材料,可以保持金属本身的强度并且增大器韧性,让发动机轴刚柔并济,达到更好的机械性能。

标签:
复合材料
江苏 - 无锡 来源:中冶有色网 2023-03-18
实现微米或纳米级多孔材料功能化的处理方法

本发明为一种实现微米或纳米级多孔材料功能化的处理方法,包括采用具有微米或纳米级多孔结构的片材、多孔微米或纳米级颗粒及多孔纳米复合材料作为基材、制备功能化溶液或悬浮液,及采用制备的功能化溶液或悬浮液修饰基材,使基材实现功能化,其特征在于:所述的处理方法是采用浸泡法将基材浸泡于功能化溶液或悬浮液中,或采用涂布法将功能化溶液或悬浮液直接涂布在基材表面,使功能化溶液或悬浮液渗入基材的孔隙中,然后通过物理吸附、化学反应或高分子聚合反应,使基材表面形成一层厚度为5~200nm的薄膜层,从而使制得的功能化微米或纳米级多孔材料成品具有不同的功能和特性。

标签:
复合材料
江苏 - 无锡 来源:中冶有色网 2023-03-18
具有自清洁功能的超疏水超亲油油水分离网膜及其制备方法

本发明公开了一种具有自清洁功能的超疏水超亲油油水分离网膜,是以织物网为载体在其表面涂覆一层复合固化膜制得,其中复合固化膜是将环氧树脂、稀释剂、纳米二氧化钛粉末与固化剂按质量比1:10~50:1~10:0.1~1的比例混合制得。本发明公开的超疏水超亲油油水分离网膜使聚合物/无机复合材料表面同时具有超疏水和超亲油性质,赋予网膜以理想的油水分离效能,且在阳光紫外线作用下可实现自清洁功能。本发明公开的分离网膜的制备方法简单、原料易得且成本低,极适于规模化生产,制得的分离网膜自清洁性可有效保持网膜的使用性能,提高了使用寿命,具有广泛的应用领域和社会效益及经济价值。

标签:
复合材料
江苏 - 无锡 来源:中冶有色网 2023-03-18
运动助力鞋
运动助力鞋 1015     
 0

本发明是有关于一种运动助力鞋,包括滑动固定块、板式弹簧、连接套及滑道,所述的助力鞋鞋底的鞋跟位置和鞋前掌位置均安装有板式弹簧,板式弹簧下方四个角的位置分别安装有滑动固定块,板式弹簧上方设有连接套,滑动固定块与板式弹簧之间通过球形螺栓连接,助力鞋鞋底内与板式弹簧相对应的位置还设有滑道,滑动固定块安装在滑道内,所述的板式弹簧、连接套和滑动固定块均由复合材料制成。本发明的助力鞋轻便、耐磨,经久耐用,其主要作用是为了弹起自如地抬起人体重量,减轻散步或长跑消耗体力,起到非常有效的助力作用。

标签:
复合材料
江苏 - 无锡 来源:中冶有色网 2023-03-18
碳纤维的表面改性方法
碳纤维的表面改性方法 1087     
 0

本发明涉及一种碳纤维的表面改性方法,采用热固性树脂作为碳纤维的表面接枝材料,将碳纤维通过酸化表面处理,再接枝热固性树脂,可以形成高性能的复合材料,本发明成本低,操作简单,适用性强。本发明的优点在于,碳纤维表面改性所用设备投资费用低,发明成本低、操作简单、适用性强、处理效果好、纤维性能损失小,质量可靠。大量缩短改性时间,降低化学品用量和产品成本,减少环境污染,适用于工业化生产。

标签:
复合材料
江苏 - 无锡 来源:中冶有色网 2023-03-18
电磁边界复合板及其应用和射灯天线

本发明公开一种电磁边界复合板及其应用和射灯天线,所述天线反射板包括由上至下依次设置的上电磁边界层、芯层和下电磁边界层;芯层为非金属层,上电磁边界层和下电磁边界层为金属层。本发明电磁边界复合板,使用新型多层结构复合材料代替铝合金材料制作射灯天线反射板,不仅能满足天线反射要求,还大大降低了反射板的成本。另外,还降低了射灯天线反射板的重量,降低了运输成本,并提高了产品的抗风性能。

标签:
复合材料
江苏 - 无锡 来源:中冶有色网 2023-03-18
g-C3N4与聚合物PDPB复合光催化剂的制备及其应用

本发明制备了一种g?C3N4与聚合物聚1, 4?二苯基丁二炔(PDPB)复合的光催化剂并应用于染料罗丹明B的降解。本发明的主要特征是将g?C3N4与PDPB在溶剂中混合搅拌,通过蒸干溶剂使g?C3N4与PDPB复合在一起。本发明采用的制备方法简便易操作,成本低,产率高,对环境污染少,同时本发明所制备的催化剂光生电子和空穴可有效分离,光催化活性有显著的提高。通过可见光下降解罗丹明B,证明这种CN?PDPB复合材料具有比纯氮化碳和纯PDPB更高的可见光催化活性。

标签:
复合材料
江苏 - 无锡 来源:中冶有色网 2023-03-18
新型消音轮收线机
新型消音轮收线机 954     
 0

本发明公开了一种新型消音轮收线机,其特征在于,包括机箱,机箱内顶部设置显示器,显示器旁设置开关按钮,在显示器下设置变速杆,变速杆下设置总开关,在机箱旁设置工作台,工作台顶部设有挡板,挡板下设置过渡轴,过渡轴下设置主轴,主轴下设置电机,在工作台下设置轮子,在轮子上设置消音三角带。本发明的有益效果是:本发明设计合理,结构简单。该新型消音轮收线机在工作时,将达到预期效果,大多收线机材质要达到使用要求,而此发明从材料上达到了要求,采用加强复合材料,使其加固提高使用安全性提高使用寿命和工作效率。

标签:
复合材料
江苏 - 无锡 来源:中冶有色网 2023-03-18
钴酸镍纳米材料及其复合电极材料的制备方法

本发明提供一种钴酸镍纳米材料及其复合电极材料的制备方法,包括以下步骤:将钴盐和镍盐溶解于醋酸和乙醇的混合溶液中,形成钴酸镍前驱体溶液;向钴酸镍前驱体溶液中加入高分子聚合物,形成第一混合液;将第一混合液注入喷射装置,在高压静电场中,利用高压静电纺丝技术,将第一混合液由喷射装置喷射至接收装置,在接收装置上形成钴酸镍纳米材料前驱体。本发明通过静电纺丝法可大面积制备钴酸镍纳米材料,该材料具有高的比表面积;将其与传统的二氧化锰材料复合,不仅可以提高单一材料性能,而且还可以改善二氧化锰导电性差的问题。电化学测试结果表明,该复合材料在3A/g的电流密度下,其比电容高达706.7F/g。

标签:
复合材料
江苏 - 无锡 来源:中冶有色网 2023-03-18
纳米硅合金基复合负极材料及其制备方法

本发明公开了一种纳米硅合金基复合负极材料,具有三壳层结构,核层为纳米碳材料包覆的纳米硅合金,三壳层为三壳层结构是以纳米Fe3O4微球为牺牲模板制备的导电聚合物薄膜层。本发明还公开了一种纳米硅合金基复合负极材料的制备方法,首先通过球磨法制备纳米硅合金材料,与纳米碳材料湿法研磨后进行热包覆,形成纳米碳材料包覆的纳米硅合金核层,然后利用牺牲Fe3O4微球模板法在核层表面形成具有三层壳结构的导电聚合物薄膜层,有效的缓冲纳米硅合金材料的体积膨胀。本发明纳米硅合金基复合材料具有比容量高,循环性能和倍率性能优良、振实密度高等优点。本发明提供的负极材料的制备工艺简单,环境友好无污染。

标签:
复合材料
江苏 - 无锡 来源:中冶有色网 2023-03-18
磷酸铁及氮掺杂改性石墨烯磷酸铁锂的制备方法

本发明提供了一种磷酸铁及氮掺杂改性石墨烯磷酸铁锂的制备方法,向铁源溶液中加入浓硫酸,之后加入双氧水进行氧化,氧化后加入磷酸盐溶液得到磷酸铁;将磷酸铁与碳源、锂源、氧化石墨烯球磨使其混合均匀,加入吡咯分散液和氧化剂,原位氧化聚合生成聚吡咯包覆石墨烯磷酸铁锂复合材料。本发明制备的氮掺杂石墨烯改性磷酸铁锂更加细腻,应用在电池集流体上,它能提供极佳的静态导电性能,收集活性物质的微电流,从而可以大幅度降低正极材料的接触电阻,并能提高磷酸铁锂的附着能力,减少粘结剂的使用量,进而使电池的各方面性能显著提升。

标签:
复合材料
江苏 - 无锡 来源:中冶有色网 2023-03-18
不干胶的外层保护涂料
不干胶的外层保护涂料 1027     
 0

一种不干胶的外层保护涂料,涉及复合材料加工生产技术领域,其特征在于:由以下重量份的材料制成,石英粉9份、海泡石粉2份、木质素磺酸2份、三聚磷酸钠1份、淀粉浆糊3份、环氧丙烯酸酯3份、防老剂4份、乙醇3份、甲基丙烯酸0.5份、琥珀酸1.5份、微晶蜡4份、二乙二醇丁醚3份、促进剂DM1份、三聚磷酸钠1份、硅烷偶联剂KH?550?3份、聚乙烯吡咯烷酮7份、助剂8份。本发明方法合理、操作方便、配比合理。

标签:
复合材料
江苏 - 无锡 来源:中冶有色网 2023-03-18
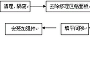
用于工装R角修理的方法

本发明属于复合材料制造领域,涉及一种用于工装R角修理的方法,包括以下步骤:将待返修R区进行清洗并打磨粗糙;用胶粘剂与增强材料混合,形成混合材料;将混合材料粘接在待返修R区;顺着工装将多余的混合材料刮除,得到设计要求的R角,然后固化混合材料,形成R角后补区域。

标签:
复合材料
江苏 - 无锡 来源:中冶有色网 2023-03-18
高导热防老化聚氨酯纳米纤维改性沥青防水卷材及其制备方法

本发明涉及改性沥青防水卷材领域,具体涉及一种高导热防老化聚氨酯纳米纤维改性沥青防水卷材及其制备方法,该防水卷材以玉米淀粉糊化液包覆的聚氨酯纳米纤维改性沥青作为基料,这种复合沥青材料黏性增加,抗温变韧性更佳,原料中掺混的改性价廉高炉矿渣微粉,与高分子基料具有良好的相容性,辅助改进材料的力学性能,掺杂的纳米硫酸钡有效的提高复合材料的导热耐热能力,本发明制备的改性沥青防水卷材在温变稳定性、抗裂化、抗老化等方面的性能均获得提升,其制备方法环保高效,生产成本可控,极具推广应用价值。

标签:
复合材料
江苏 - 无锡 来源:中冶有色网 2023-03-18
上一页 516 517 518 519 520 ... 1207 下一页
共1207页    到第

中冶有色为您提供最新的江苏有色金属复合材料技术理论与应用信息,涵盖发明专利、权利要求、说明书、技术领域、背景技术、实用新型内容及具体实施方式等有色技术内容。打造最具专业性的有色金属技术理论与应用平台!

全国热门有色金属设备推荐
展开更多 +
全国热门有色金属技术推荐
展开更多 +

 

江西省隆恩特环保设备有限公司
宣传

报名参会
更多+

报告下载

有色专家
更多+

南昌航空大学
副院长/教授
中南大学
常务副校长
蒙纳士苏州校区
中国工程院外籍院士/校长
武汉工程大学
教授
江西理工大学
教授
赤泥综合利用研究报告2025
推广

热门技术
更多+

推荐企业
更多+

福建省金龙稀土股份有限公司
宣传

发布

在线客服

公众号

电话

顶部
咨询电话:
010-88793500-807