青岛垚鑫智能科技有限公司
宣传

位置:中冶有色 >

有色技术频道 >

分类:
全部
矿山技术
冶金技术
材料制备及加工技术
环境保护技术
分析检测技术
 
全部
功能材料技术
复合材料技术
新能源材料技术
合金材料技术
加工技术
地区:
全部
北京
天津
上海
重庆
河北
山西
辽宁
吉林
黑龙江
江苏
浙江
安徽
福建
江西
山东
河南
湖北
湖南
广东
海南
四川
贵州
云南
陕西
甘肃
青海
内蒙
广西
西藏
宁夏
新疆
其他
其他
展开
 
全部
南京
无锡
徐州
常州
苏州
南通
连云港
淮安
盐城
扬州
镇江
泰州
宿迁

江苏无锡有色金属材料制备及加工技术理论与应用

免费发布技术信息>>
增强乙烯基树脂用玻璃纤维浸润剂

本发明涉及一种增强乙烯基树脂用玻璃纤维浸润剂,所述浸润剂由二酚基丙烷型环氧树脂乳液、乙烯基改性水溶性乳液、聚酯树脂乳液、润滑剂、硅烷偶联剂、pH调节剂,去离子水组成,各组分的质量用量占浸润剂总质量的百分比表示如下:(1)成膜剂6‑18%;(2)润滑剂0.5‑5%;(3)硅烷偶联剂0.4‑6%;(4)pH调节剂0.2‑2;(5)PEG柔软剂0.2‑1.5%;(6)其余为去离子水。本发明的浸润剂赋予玻璃纤维耐高温,与乙烯基树脂结合效果好,毛羽量低,滑爽性好,制品拉伸、弯曲强度高,弹性模量大,并赋予复合材料突出的力学性能和电性能。

标签:
复合材料
江苏 - 无锡 来源:中冶有色网 2023-03-18
免洗式撕换塑料薄片坐厕圈垫

本发明公开了一种免洗式撕换塑料薄片坐厕圈垫,涉及机械领域,具体说属于一种垫子。本发明的目是提供一种形状与坐厕边沿相吻合的卫生圈垫,为了实现上述目的,本发明主要由若干张薄的形状与坐厕边沿相吻合的卫生圈垫共同构成,其中:所述形状与坐厕边沿相吻合的卫生圈垫的材质可属于纸质、塑料材质、橡胶材质、复合材料;所述形状与坐厕边沿相吻合的卫生圈垫具有不透水的性能;相邻两张所述形状与坐厕边沿相吻合的卫生圈垫二者之间存在弱粘性,每张形状与坐厕边沿相吻合的卫生圈垫的形状与配套坐厕的上沿的形状想匹配;最底部一张形状与坐厕边沿相吻合的卫生圈垫带有粘胶,被粘贴在坐厕的上沿。本发明具有可以有效保持卫生的有益效果。

标签:
复合材料
江苏 - 无锡 来源:中冶有色网 2023-03-18
聚丙烯酰胺/纳米纤维素高强度双网络复合凝胶制备方法

本发明涉及的是一种聚丙烯酰胺/纳米纤维素高强度双网络结构复合凝胶的制备方法,包括以下工艺步骤:(a)从木粉中提取纤维素;(b)将纤维素一次研磨处理制备纳米纤维素;(c)制备聚丙烯酰胺/纳米纤维素复合凝胶;(d)制备聚丙烯酰胺/纳米纤维素双网络结构复合凝胶。优点:1)原料来源广泛;2)纳米纤维素由于具有高比表面积、高长径比以及高结晶度等特性,广泛用于增强复合材料的力学性能;3)双网络结构复合凝胶的抗压强度较高;4)纳米纤维素与聚丙烯酰胺分子链相互贯穿,构建致密的双网络互穿结构。

标签:
复合材料
江苏 - 无锡 来源:中冶有色网 2023-03-18
没食子酸基膨胀型阻燃剂的配方和应用

本发明涉及一种没食子酸基膨胀型阻燃剂的复配配方,是首次将没食子酸运用到膨胀型阻燃剂的制备当中,复配氨基树脂包裹的磷酸盐、改性层状无机物、金属氧化物,通过优化原料配比,获得一种新型膨胀型阻燃剂。将本发明所述的阻燃剂应用到聚乳酸中时,因为采用生物基材料没食子酸为炭源和气源,有利于提高阻燃剂与聚乳酸的相容性,可以有效降低阻燃剂的加入对聚乳酸力学性能的恶化效应,制备综合性能优异的聚乳酸阻燃复合材料。本发明中所涉及的阻燃剂绿色环保、阻燃效果良好、性能稳定、适用范围广;本发明所述的阻燃剂配方所涉及的原料来源广泛、价格低廉、基本无毒,工艺要求简单,适合大规模生产,具有良好的应用前景。

标签:
复合材料
江苏 - 无锡 来源:中冶有色网 2023-03-18
硅橡胶复合模压料的制备方法

本发明涉及硅橡胶复合材料领域,具体涉及一种硅橡胶复合模压料的制备方法。本发明以甲基乙烯基硅橡胶、气相法白炭黑、沉淀法白炭黑、羟基硅油、硅烷偶联剂表面处理型活性氢氧化铝、钛酸酯偶联剂表面处理型氢氧化铝、硬脂酸锌、氧化铁红、氧化铈、双二五硫化剂为原料,制备一种具有可靠的机械强度、优异的电气性能,良好的憎水性、阻燃性和较好的耐户外老化性能的硅橡胶复合模压料。针对热模压硫化成型生产工艺而设计,可应用于电力设备绝缘外套及相关领域产品的生产制造,也可应用于热模压硫化成型的密封产品、阻尼减震产品。

标签:
复合材料
江苏 - 无锡 来源:中冶有色网 2023-03-18
快速低成本Invar钢工装修补方法

一种快速低成本Invar钢工装修补方法属于复合材料成型工装技术领域;一种快速低成本Invar钢工装修补方法,包括以下步骤;1)清除固体杂质,选取200#砂纸将Invar钢工装待修补区域表面粗糙化;2)选取固化物玻璃化转变温度高于Invar钢工装成型复材产品;3)选取碳纤维面密度为193±7g/m2的平纹织物作为预浸料增强体或者短切碳纤维作为环氧修补胶增强体;4)采用带载体高温结构胶膜作为修补预浸料与Invar钢工装间的粘接剂,增加两者间粘接性能的同吋,起到膨胀系数过渡的作用。本发明不但效率高且成本低。

标签:
复合材料
江苏 - 无锡 来源:中冶有色网 2023-03-18
新型消音转子泵
新型消音转子泵 1102     
 0

本发明公开了一种新型消音转子泵,其特征在于,包括泵体(1),在泵体(1)内设置反向转轴(2),在转轴(2)上设置叶片(3),在泵体(1)两侧设置通道(4),在泵体(1)下设置基座(5),在基座(5)上设置消音三角带(6)。本发明的有益效果是:本发明设计合理,结构简单。该新型消音转子泵在工作时,将达到预期效果,大多泵都需要有防爆要求配置,而此发明从材料上达到了要求,采用加强复合材料材料,使其加固提高使用安全性。

标签:
复合材料
江苏 - 无锡 来源:中冶有色网 2023-03-18
纳米吸收剂‑碳化硅纤维多尺度增强体增强树脂基结构吸波材料及其制备方法

本发明涉及纳米吸收剂‑碳化硅纤维多尺度增强体增强树脂基结构吸波材料及其制备方法,先将酸化处理后的碳化硅编织体放入多元胺中进行氨基化处理,得到氨基化碳化硅纤维编织体;将氨基化碳化硅纤维编织体和酸化处理后的纳米吸收剂分散在有机溶剂中,进行化学接枝,得到纳米吸收剂‑碳化硅纤维多尺度增强体;以耐高温树脂为基体,纳米吸收剂‑碳化硅纤维多尺度增强体为吸收体,其中基体占基体和吸收体总质量的30~50%,采用树脂基复合材料成型工艺,制得纳米吸收剂‑碳化硅纤维多尺度增强体增强树脂基结构吸波材料。本发明材料同时兼具良好的力学性能和吸波性能,材料结构完整性好,抗冲击性强,不易分层。

标签:
复合材料
江苏 - 无锡 来源:中冶有色网 2023-03-18
工装精确定位的方法
工装精确定位的方法 659     
 0

本发明公开了一种工装精确定位的方法,包括以下步骤:使用软件在工装数模上找到2个孔,再以2个孔及2个孔的圆心的连线作为X轴,以圆心的上表面为Z轴的建立坐标系;将零件的工装放入坐标内,核对工装数模上的2个孔,使用雷尼绍探头对工装上的2个孔分别找圆心,圆点和数模上建立坐标系位置一致;记录测量出来的值,然后进行计算得出实际工装的偏移值,将偏移值输入到设备的旋转轴中;进行编程验证,使用建好的坐标系去寻找其他孔,使刀具都能刚好进出。本发明采用的技术方案可以有效地解决航空航天领域工装所用定位的孔必须垂直工装地面,以及圆点孔法向与上表面垂直的问题,使得复合材料切钻工装精准定位。

标签:
复合材料
江苏 - 无锡 来源:中冶有色网 2023-03-18
利用锂离子电池负极回收石墨的制备方法

本发明涉及一种利用锂离子电池负极回收石墨的制备方法,主要通过将细碎的负极极片在惰性气氛中进行高温处理,除去粘结剂。之后将高温处理后的负极极片、纳米硅或者锡材料和碳源材料放入球磨机进行球磨处理,之后通过振动筛进行筛分处理,将筛分后的料进一步进行高温碳化处理,从而得到所需的硅碳石墨复合材料,该类材料具有高的克容量和能量密度。该方案能够对锂离子电池生产过程中产生的废弃负极片进行连续回收,流程简洁,仅以物理方式分离,运行成本低。

标签:
复合材料
江苏 - 无锡 来源:中冶有色网 2023-03-18
皮肤组织工程双层膜材料及其制备方法

本发明公开了一种皮肤组织工程双层膜材料及其制备方法,该方法采用生物相容性较好的可降解材料壳聚糖和魔芋葡甘聚糖作为原材料,二者分别制成混合溶液,通过流延法各自成膜,然后采用一定浓度的魔芋葡甘聚糖溶液作为粘接剂将两层膜粘接在一起,从而制备出壳聚糖/魔芋葡甘聚糖双层膜材料。该材料具有制备工艺简单、成本低廉、降解速率可调、生物相容性优良等优势,前期细胞实验和动物实验表明,该双层膜材料可以适用于生物体,是一种促进皮肤修复的,可降解的多功能复合材料。

标签:
复合材料
江苏 - 无锡 来源:中冶有色网 2023-03-18
基于频率选择表面的耐高温雷达与红外兼容隐身材料及其制备方法

本发明公开了一种基于频率选择表面的耐高温雷达与红外兼容隐身材料,由内至外依次包括介质层Ⅰ、电阻层、介质层Ⅱ和频率选择表面层,其中介质层Ⅰ和介质层Ⅱ的材料为氧化物纤维增强氧化物基复合材料,电阻层主要由耐高温电阻涂层组成,频率选择表面层主要由呈周期性图案的耐高温、抗氧化、低红外发射率的金属镀层组成。本发明的制备方法包括:先制备介质层I,再采用丝网印刷工艺,在介质层I上制备电阻层;然后在电阻层上制备介质层Ⅱ;最后采用物理沉积工艺与激光刻蚀工艺在介质层Ⅱ上制备频率选择表面,完成隐身材料的制备。本发明的雷达与红外兼容隐身材料可以耐受至少1000℃以上的高温,具有较好的耐高温性和优异的抗氧化性。

标签:
复合材料
江苏 - 无锡 来源:中冶有色网 2023-03-18
齿科彩色复合树脂高强纤维暂时修复体及其制备方法

本发明涉及一种齿科彩色复合树脂高强纤维暂时修复体。所述暂时修复体是以表面改性及微观形态处理后的聚对苯撑苯并二噁唑(PBO)增强纤维作为增强相,并以纳米改性的增韧树脂作为基质,由所述的PBO增强纤维混入上所述的增韧树脂形成复合材料而制成所述的暂时修复体。本发明改善了现有树脂暂时修复体弯曲强度、弯曲弹性模量、韧性等力学性能不足的问题,将高性能PBO纤维及三维编织结构引入齿科暂时修复体材料中,提高暂时修复体整体力学强度。

标签:
复合材料
江苏 - 无锡 来源:中冶有色网 2023-03-18
落锤冲击试验用板材夹具平台及冲击速度测量方法

本发明公开了一种落锤冲击试验用板材夹具平台及冲击速度测量方法,包括夹具结构、支撑升降结构和激光传感器。夹具结构包括板材夹紧装置、多角度旋转装置和夹具底板;多角度旋转装置包括壁板、壁板螺栓和底板螺栓;每块壁板上均设置有中心孔和两个弧形槽,两个弧形槽关于中心孔对称;当壁板螺栓全部拧松后,夹板能沿弧形槽进行旋转;支撑升降结构包括平台和升降驱动装置,夹具底板能以底板螺栓为中心进行转动,并能沿直条孔滑移;激光传感器设置于位于锤头外周的砝码盘下方。本发明能给复合材料板材试验件提供紧固的夹持,还能实现对试验件的多角度冲击,同时还能对落锤下落及冲击过程中的速度变化进行实时测量。

标签:
复合材料
江苏 - 无锡 来源:中冶有色网 2023-03-18
电力开关柜用抑菌粉末涂料及其制备方法

本发明公开了一种电力开关柜用抑菌粉末涂料,它是由下述重量份的原料组成的:氧化镧0.0.8?0.2、间羟基苯甲酸钠2?4、8?羟基喹啉5?7、聚乙二醇辛基苯基醚10?14、钛酸四丁酯36?40、环己醇20?25、不饱和聚酯树脂100?120、滑石粉10?14。本发明加入钛酸四正丁酯制备的二氧化钛因其光催化活性而具有一定的抗菌性能,进一步提高了复合材料的抑菌性和聚丙烯的相容性,提高了成品的稳定性和防腐性能。

标签:
复合材料
江苏 - 无锡 来源:中冶有色网 2023-03-18
基于microRNA纳米微囊在骨愈合中的应用

本发明公开基于microRNA纳米微囊在骨愈合中的应用,以单体N‑(3‑氨基丙基)甲基丙烯酰胺、单体丙烯酰胺和交联剂乙二醇二甲基丙烯酸酯的共聚物包裹microRNA,形成microRNA纳米微囊,再分别与羧甲基壳聚糖和骨粉进行混合得到复合材料,与现有技术相比,本发明既可提高牙槽骨的成骨质量,又可缩短成骨时间;既保留了牙槽窝的位点,为骨组织的生长提供了空间,又解决了骨粉无骨生成性和骨诱导性的问题,将牙槽骨的愈合时间大大缩短,并提高了牙槽骨的骨质量。

标签:
复合材料
江苏 - 无锡 来源:中冶有色网 2023-03-18
极柱及其制造方法
极柱及其制造方法 851     
 0

一种极柱,其为层状结构,中间层为网格结构,网格结构两侧镀金属层,金属层为镍,网格结构包括编织在一起的经线、纬线,经线为碳纤维,纬线为镍丝,其网孔中填充多个碳纳米管颗粒。一种上述的电极制造方法,首先,将碳纤维、镍丝编织为网格结构;其次,在网格结构内填充碳纳米管颗粒;最后,填充完毕的网格结构的两侧表面镀镍。相对于现有技术,本发明的技术效果为,本发明采用碳纤维和镍丝编织成型,网孔中间填充碳纳米管,碳纳米管具有细、直、纯,高度石墨化、易均匀分散到复合材料中,可形成高导电、高导热、高韧性三维网络的特点,具有高导电、高导热、高韧性等优点。另外,既能做正极,也能做负极。

标签:
复合材料
江苏 - 无锡 来源:中冶有色网 2023-03-18
滚轮外圈聚氨酯环保材料及其制备方法

本发明公开了一种滚轮外圈聚氨酯环保材料,它是由下述重量份的原料组成的:热塑性聚氨酯弹性体100‑110、环氧大豆油4‑7、脂肪醇聚氧乙烯醚0.5‑1、丙烯醇7‑9、甲基三乙氧基硅烷0.6‑1、蒙脱石粉10‑13、三辛酸丁基锡1‑2、双丙酮丙烯酰胺0.7‑1、蓖麻酸钙1.6‑2、1,2‑二甲基咪唑0.7‑1、干酪素1‑2、偏硼酸铵2‑3、烷基醇酰胺0.6‑2、超细二氧化硅气凝胶4‑6。本发明的复合材料不含有毒有害的挥发性物质,安全环保性好,生产过程中无有毒废弃物产生,降低了处理成本。

标签:
复合材料
江苏 - 无锡 来源:中冶有色网 2023-03-18
介孔型中空掺氮碳包铜纳米催化剂的制备方法

本发明属于碳基复合材料制备领域,具体是一种介孔型中空掺氮碳包铜纳米催化剂的制备方法,以聚吡咯为碳源、氮源,硫酸铜为活性组分前驱体,PS微球为模板,在适当的表面活性剂下,经多层顺序包裹后高温炭化,经活化后制得形貌大小可控的介孔型掺氮碳包铜催化剂,在甲醇制备DMC反应中体现了较高的催化活性及较好的稳定性。所制备的催化剂对于避免活性组分的团聚和剥离以及提高反应催化活性具有显著地效果。实验数据精确翔实,成本低,原料易得,产物为黑色粉体,粉体颗粒直径小于400 nm,产物纯度达98.9%,反应中DMC时空收率可达到1251 mg/g∙h,选择性高达99.99%。

标签:
复合材料
江苏 - 无锡 来源:中冶有色网 2023-03-18
绝缘支架
绝缘支架 800     
 0

本发明属于电力系统监测领域,具体属于一种绝缘支架。其为玻璃丝、树脂等复合材料制成。其强度高、绝缘性强、无需清理、整洁美观、线路分明。

标签:
复合材料
江苏 - 无锡 来源:中冶有色网 2023-03-18
复合金属橡胶
复合金属橡胶 960     
 0

本发明涉及一种复合金属橡胶,属于复合材料领域。制备该复合金属橡胶时首先将金属绳穿入金属管内后、再绕制成具有金属绳内芯的弹簧,然后通过排布、压制等工艺制成金属橡胶块。由于其制备不需要用细直径的金属丝为原料先绕制成细长弹簧,再制成金属橡胶块,因此能够降低采购成本、节省制备金属橡胶时间、提高生产效率。该复合金属橡胶在受到振动、冲击时,能够起到缓冲、减振的作用,且能够耐受高低温、高真空、高压、空间辐射、核辐射、日照、臭氧、腐蚀和离子撞击等,还具有长寿命的特点。这一系列优点使得该复合金属橡胶具有实际应用价值。

标签:
复合材料
江苏 - 无锡 来源:中冶有色网 2023-03-18
生物可降解3D打印增韧材料及制备方法

本发明公开了一种生物可降解3D打印增韧材料及制备方法,由下述重量份的组分组成:聚乳酸(PLA):70—80份;EVA:30-20份;增韧剂:6—8份;相容剂:0.4—5.0份;助剂:0.2—2.0份。所述增韧剂为邻苯二甲酸二辛脂(DOP);相容剂包括马来酸酐接枝高分子,由甲基丙烯酸甲酯、丁二烯、苯乙烯共聚物共聚而成的三元共聚物;由苯乙烯、丙烯晴、甲基丙烯酸缩水甘油酯共聚而成的三元共聚物(SAG)其中的一种或两种以上相容剂配合使用。本发明制备的3D打印复合材料无毒环保,综合性能优越,具有广阔的市场前景及应用价值。

标签:
复合材料
江苏 - 无锡 来源:中冶有色网 2023-03-18
视窗可全方位操作的翻盖式防水袋及其制作方法

本发明涉及防水设备领域,具体涉及一种视窗可全方位操作的翻盖式防水袋及其制作方法,其包括塑料的袋体,所述袋体中部具有用于显示手机屏幕的视窗,两侧面具有用于显示手机侧按键的按键窗,所述袋体内层设置一层透明塑料层,所述透明塑料层与所述袋体结合在一起;制作方法包括:模切机将复合材料切成所需形状,将透明片对齐视窗,高周机加热,形成具有视窗的半成品,压合成型,切除余边后得成品。本发明所述视窗可全方位操作的翻盖式防水袋,具有屏幕视窗和按键窗,手机的侧面按键可显示给用户,对侧面按键进行操作,解决了现有的手机袋都不能对侧面按键进行操作的缺陷,方便用户使用;另外,其视窗都为密封结构,防水效果不因视窗的设计而减弱。

标签:
复合材料
江苏 - 无锡 来源:中冶有色网 2023-03-18
竹纤维清洁化生产方法
竹纤维清洁化生产方法 1060     
 0

竹纤维清洁化生产方法,包括如下步骤:将竹片分丝并加捻成绳,得到绳状竹丝;对绳状竹丝采用多重冷热交激及辗轧揉搓的方式细化,得到绳状粗竹纤维(可直接进入烘干设备后,制成用于复合材料的粗竹纤维);绳状粗竹纤维经连续生物脱胶,得到绳状竹纤维;将绳状竹纤维送入清洗设备反复冲洗,轧、烘干后再进行喷淋式给油,得到绳状细竹纤维;最后对绳状细竹纤维进行开松梳理,制成用于纺织材料的竹纤维。本发明提供一种可自动化连续加工、无化学药品、清洁、节能环保的竹纤维清洁化生产方法。

标签:
复合材料
江苏 - 无锡 来源:中冶有色网 2023-03-18
高收缩纤维的制备方法

本发明提供了一种高收缩纤维的制备方法,通过将石墨烯和相容剂与聚酯母粒进行共混预分散,后将分散后的母粒与基础母粒共混后纺丝,通过低温牵伸的方法制成性能较好的高收缩涤纶纤维。本发明通过加石墨烯材料,利用石墨烯片层网状结构与PET大分子链形成类似复合材料的结构,即合金纤维,同时加入聚乙烯接枝马来酸酐或乙烯‑辛烯共聚物接枝马来酸酐等相容剂来降低石墨烯与涤纶大分子链之间的界面张力,提升二者的相容性,来实现改善高收缩涤纶纤维的机械性能的目的。

标签:
复合材料
江苏 - 无锡 来源:中冶有色网 2023-03-18
连续纤维增强热塑性复合树脂筋

本发明提出了一种连续纤维增强热塑性复合树脂筋,是由连续纤维增强热塑性复合材料经过涂覆分切制作成线及通过拉挤二次制作而成,连续纤维增强树脂预浸料的组分制成为连续纤维55~70份,改性树脂30~45份。该产品可设计性强,能够根据实际的需求合理的选择树脂和纤维,以达到最佳的经济效果,连续纤维增强的热塑性树脂筋具有重量轻、比强度、比模量高,耐腐蚀、耐水性、耐磨擦性好;对多种酸、碱呈惰性,抗冲击,致断应变值高;设计灵活性好,可选择适当的纤维种类、纤维含量和纤维取向来满足具体用途的要求,且选用树脂为热塑性树脂,生产过程中,不产生污染气体,可循环利用。

标签:
复合材料
江苏 - 无锡 来源:中冶有色网 2023-03-18
防刮耐磨的汽车前挡风玻璃隔热膜及其制备方法

本发明公开了一种防刮耐磨的汽车前挡风玻璃隔热膜,该隔热膜包括透明薄膜基片、隔热涂层以及防刮耐磨涂层,所述隔热涂层,以重量份计,包括以下组分:聚丙烯酸酯树脂50?80份,纳米氧化钛3?6份,纳米CeO2/La2O3复合材料1?2份,紫外线吸收剂0.5?1份,分散剂0.08?0.5份,流平剂0.5?1份,成膜助剂0.8?1.2份。所述防刮耐磨涂层,以重量份计,包括以下组分:水溶性醇酸树脂40?60份,含氟丙烯酸酯5?15份,醇酯?12?0.6?1份,润湿剂1?3份,固化剂2?3份,有机硅消泡剂1?1.5份。本发明还公开了该隔热膜的制备方法。该隔热膜不仅隔热性能好,且防刮耐磨性能优异,透光性能好。

标签:
复合材料
江苏 - 无锡 来源:中冶有色网 2023-03-18
多能成像方法、装置及其系统

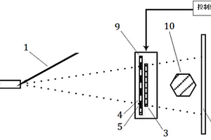
一种多能成像方法、装置及其系统,通过在射线源和被测物体之间设置能够垂直于射线发射方向运动的多重复合材料,使得射线从射线源至被测物体的光路过滤系数依据所述运动实现可调;本发明通过控制,在短时间内改变射线滤过材料和厚度,再配合X射线源的高、低电压的X射线发射,以达到对不同能量或者同种能量的X射线的不同滤过的效果。除此,该发明还可以应用于普通的单电压值得X射线源,将传统的单能成像升级为双能成像、甚至多能成像,通过可调的能量输出实现对物体的三维透射。

标签:
复合材料
江苏 - 无锡 来源:中冶有色网 2023-03-18
高性能工艺玻璃的制作工艺

本发明公开了一种高性能工艺玻璃的制作工艺,包括以下原料及重量份数:其中复合材料包括石英砂10‑20kg、石灰石7.5‑15kg、长石22.5‑45kg、碳酸钠0.75‑1.5kg、硼酸0.75‑1.5kg、衣康酸二烯丙酯2.5‑5kg、白云石1‑2kg。本发明详细揭示了一种加工玻璃的方法,其针对玻璃因加工而在结构上受有损伤、导致成品强度不足的问题,提出了良好的解决办法,其排除了后续使用物理方法或化学方法对玻璃进行强化的工序,有助于成本的控制,更可适用于大面积玻璃的加工处理,无论是在成品的质量控制或是成本的考虑上,本发明都存在相当的优势。

标签:
复合材料
江苏 - 无锡 来源:中冶有色网 2023-03-18
耐高温耐腐蚀TPE复合碳化硅散热材料及其制备方法和应用

本发明提供一种耐高温耐腐蚀TPE复合碳化硅散热材料及其制备方法和应用,所述散热材料的原料包括SEBS、POE、PP、异戊二烯、甲基丙烯酸甲酯、碳化硅、金属纤维、纤维素纤维、填料、基础油和助剂。本发明所述散热材料中复配有异戊二烯、甲基丙烯酸甲酯以及碳化硅,在制备过程中通过嵌段共聚与直接反应,复合于SEBS、POE、PP等组分中,彼此协同作用,提高复合材料的散热性能以及机械性能。所述散热材料具有优异的耐热和散热性能,且表征具有优异的力学与物理和防腐蚀及耐辐射性能、耐老化高弹性和阻燃防火性能,所述材料制备工艺简单,适合产业化、应用领域广泛。

标签:
复合材料
江苏 - 无锡 来源:中冶有色网 2023-03-18
上一页 510 511 512 513 514 ... 786 下一页
共786页    到第

中冶有色为您提供最新的江苏无锡有色金属材料制备及加工技术理论与应用信息,涵盖发明专利、权利要求、说明书、技术领域、背景技术、实用新型内容及具体实施方式等有色技术内容。打造最具专业性的有色金属技术理论与应用平台!

全国热门有色金属设备推荐
展开更多 +
全国热门有色金属技术推荐
展开更多 +

 

江西省隆恩特环保设备有限公司
宣传

报名参会
更多+

报告下载

有色专家
更多+

长春黄金研究院有限公司
总经理
武汉理工大学
副主任/研究员
南昌航空大学
副院长/教授
北京科技大学
主任/教授
江西理工大学
教授
赤泥综合利用研究报告2025
推广

热门技术
更多+

推荐企业
更多+

福建省金龙稀土股份有限公司
宣传

发布

在线客服

公众号

电话

顶部
咨询电话:
010-88793500-807