青岛垚鑫智能科技有限公司
宣传

位置:中冶有色 >

有色技术频道 >

> 复合材料技术

分类:
全部
矿山技术
冶金技术
材料制备及加工技术
环境保护技术
分析检测技术
 
全部
功能材料技术
复合材料技术
新能源材料技术
合金材料技术
加工技术
地区:
全部
北京
天津
上海
重庆
河北
山西
辽宁
吉林
黑龙江
江苏
浙江
安徽
福建
江西
山东
河南
湖北
湖南
广东
海南
四川
贵州
云南
陕西
甘肃
青海
内蒙
广西
西藏
宁夏
新疆
其他
其他
展开
 
全部
南京
无锡
徐州
常州
苏州
南通
连云港
淮安
盐城
扬州
镇江
泰州
宿迁

江苏有色金属复合材料技术理论与应用

免费发布技术信息>>
功能化还原石墨烯的制备方法

本发明涉及纳米复合材料的研究领域,特别涉及氧化石墨烯领域。一种功能化还原石墨烯的制备方法,根据Hummers法将石墨氧化使其转变为氧化石墨烯;将装有氧化石墨烯的石英舟放到退火炉的石英管的一端,通入保护气体,将退火炉升温到500‑1000℃后,将装有氧化石墨烯的石英舟移动到退火炉的石英管的另一端,继续对石英舟加热,温度保持在500‑1000℃,5s‑30min后,氧化石墨烯受热膨胀,还原成为还原石墨烯;将质量比为1:100~5:1的分散剂和还原石墨烯加入到去离子水中,超声处理或者高速搅拌分散,得到功能化的还原石墨烯胶体悬浮液,将胶体悬浮液过滤、洗涤、干燥即可得到功能化的还原石墨烯。

标签:
复合材料
江苏 - 无锡 来源:中冶有色网 2023-03-18
新型改进消音电动冲床
新型改进消音电动冲床 1042     
 0

本发明公开了一种新型改进消音电动冲床,其特征在于,包括底座(1),在底座(1)上设置滑柱(2),在滑柱(2)上设置冲头(3),在滑柱(2)顶部设置固定键(4),在滑柱(2)一侧设置电机(5),另一侧设置转子(6),在转子(6)上设置摇柄(7),在底座(1)上设置降噪三角带(8),本发明的有益效果是:本发明设计合理,结构简单。该新型改进消音电动冲床在工作时,将达到预期效果,大多滑柱都需要有耐高温要求配置,而此发明从材料上达到了要求,滑柱采用加强复合材料,使其加固提高使用安全性。

标签:
复合材料
江苏 - 无锡 来源:中冶有色网 2023-03-18
ZnFe<sub>2</sub>O<sub>4</sub>掺氮碳纳米纤维复合电极材料及其制备方法

本发明公开了一种ZnFe2O4掺氮碳纳米纤维复合电极材料及其制备方法。该复合材料是由掺氮碳纳米纤维和嵌入其中的ZnFe2O4超微纳米颗粒组成,制备方法是一个原位生长过程。具体制备步骤为:首先将铁盐、锌盐和聚丙烯腈按不同比例在二甲基甲酰胺溶液中混合,其次通过静电纺丝技术制备出ZnFe2O4/掺氮碳纳米纤维的前驱体,最后将所得前驱体通过稳定处理、碳化、低温诱导处理获得ZnFe2O4掺氮碳纳米纤维复合电极材料。该方法制备所得ZnFe2O4/掺氮碳纳米纤维复合电极材料用作超级电容器电极材料时,表现出高的比电容、长的循环寿命和良好的倍率性能。本方法具有工艺简单,成本低廉,可控性高等可规模化工业生产的特点。

标签:
复合材料
江苏 - 无锡 来源:中冶有色网 2023-03-18
保健水球的制备方法
保健水球的制备方法 810     
 0

本发明提供一种保健水球的制备方法。该保健水球采用壳聚糖‑胶原蛋白复合材料作为膜基质,加入山茶油、奶粉等保健物质,再与氯化钙、乳酸钙、柠檬酸等溶液混合,通过表面胶化成球原理,在静电作用下聚电解质形成由保健膜封存水的水球,与封存的水一起食用起到保健功效,具有多功能、环保、方便等效果;包裹该水球的膜拉伸强度最高达47.42MPa,断裂伸长率最高达310.84%,水蒸气透过率最低达0.35g.mm/h.m2Kpa,溶解度最低为6%。

标签:
复合材料
江苏 - 无锡 来源:中冶有色网 2023-03-18
微孔包覆水污染处理剂及其制备方法

本申请公开了一种微孔包覆水污染处理剂,它是由下述重量份的原料组成的:正硅酸乙酯100‑140、硫酸铝4‑7、致孔剂2‑3、乙酸异丁酸蔗糖酯0.1‑0.2、三聚磷酸钠1‑2、硅藻土40‑50、硬脂酸钡2‑3。本发明以正硅酸乙酯为前驱体,在水溶液中水解,水解中采用致孔剂处理,可以有效的改善溶胶成品的表面微孔性,在水解形成溶胶时对硅藻土进行包覆改性,从而得到了内外微孔联通的复合材料,其不仅具有很好的水净化效果,而且稳定性高,重复利用率好,且环保性好,无二次污染。

标签:
复合材料
江苏 - 无锡 来源:中冶有色网 2023-03-18
改进高效热压机
改进高效热压机 971     
 0

本发明公开了一种改进高效热压机,其特征在于,包括支架(1),在支架(1)内设置热压板(2),在热压板(2)底部设置升降台(10),在升降台(10)下设置液压缸(3),在液压缸(3)旁设置输油口(4),通过输油管道(5)连接油箱(6),在油箱(6)下设置电机(7),在液压缸(3)下设置基座(8),在支架(1)一侧设置控制电箱(9),在支架(1)上设置照明灯(11),在油箱(6)和输油管道(5)连接处设置密封条(12),本发明的有益效果是:本发明设计合理,结构简单。该改进高效热压机在工作时,大多热压板都需要有耐高温要求配置,而此发明从材料上达到了要求,热压板采用加强复合材料,使其加固提高使用安全性。

标签:
复合材料
江苏 - 无锡 来源:中冶有色网 2023-03-18
固定式绕流扭带装置
固定式绕流扭带装置 715     
 0

本发明公开了一种冷凝器(凝汽器)用固定式绕流扭带装置,主要用于汽轮机系统或其他应用系统中冷凝器(凝汽器)的冷凝管中,改变循环介质在冷凝管内的流态,形成稳定湍流效果,一方面可以提高换热效率,另一方面避免冷凝管管壁因为水质问题造成的结垢形成。该固定式绕流扭带装置可用于发电系统中替换或者改造原系统中的冷凝器,解决目前汽轮机发电系统中的换热能力下降,冷却塔能力不足,提高蒸汽真空度,进而提高发电效率。固定式绕流扭带装置由扰流扭带和其固定安装支架附件组成。根据水质环境,固定式绕流扭带采用高分子复合材料制成,或采用不锈钢、铜或钛等金属材质制成。

标签:
复合材料
江苏 - 无锡 来源:中冶有色网 2023-03-18
基于石墨烯的二氧化氮传感器

本发明涉及一种基于石墨烯的二氧化氮传感器,所述二氧化氮传感器为厚膜型,采用陶瓷基板为衬底,在该陶瓷基板上设有插指电极,插指电极上设有敏感薄膜,所述敏感薄膜为ZnO纳米片和Au/SnO2/RGO复合材料的混合物。

标签:
复合材料
江苏 - 无锡 来源:中冶有色网 2023-03-18
带有金属网层的防臭鞋垫

一种带有金属网层的防臭鞋垫,其特征在于:鞋垫本体为三层复合材料制成,从上到下第一层为莱卡布面,第二层为海波丽材料层,第三层为金属网,三层材料通过粘合剂粘合在一起。

标签:
复合材料
江苏 - 无锡 来源:中冶有色网 2023-03-18
丝素蛋白海藻酸钠复合纤维的制备方法

本发明公开了一种丝素蛋白海藻酸钠复合纤维的制备方法,属于天然高分子复合材料制备技术领域。本发明先将丝素蛋白和水混合后搅拌溶解,经透析后离心分离,得预处理丝素蛋白溶液,在将弹性蛋白酶和预处理丝素蛋白溶液混合后调节pH,恒温搅拌酶解,得酶解液,随后将磷脂和酶解液混合后超声分散,再加入海藻酸钠、植物精油和单糖,恒温搅拌反应,得反应液,再将反应液和卡波姆混合后,恒温搅拌反应,得纺丝液,再经真空脱泡后纺丝,并经水洗、牵伸、卷曲和干燥,得丝素蛋白海藻酸钠复合纤维。本发明所得丝素蛋白海藻酸钠复合纤维具有良好的力学性能。

标签:
复合材料
江苏 - 无锡 来源:中冶有色网 2023-03-18
纤维素纳米晶体诱导壳聚糖手性自组装体制备方法及其应用

本发明提供了纤维素纳米晶体诱导壳聚糖手性自组装体的制备方法,壳聚糖自组装在纤维素纳米晶体外围,壳聚糖与纤维素纳米晶体形成新的结晶体,该制备过程简单无污染。本发明所得的手性纳米复合材料,可实现色氨酸对映体的电化学高效识别和紫外光谱识别。 1

标签:
复合材料
江苏 - 无锡 来源:中冶有色网 2023-03-18
太阳光全波段光催化复合薄膜及其制备方法

本发明涉及一种太阳光全波段光催化复合薄膜及其制备方法,该薄膜为多层纳米TiO2/VS4复合薄膜。本发明方法制得的多层薄膜能够牢固的结合为一个整体并具有大的比表面积,该复合薄膜是多层TiO2/VS4薄膜结构的光催化剂,可以抑制光生电子‑空穴的快速复合,提高光催化效率,同时综合TiO2具有优异的紫外光催化效果和VS4具有优异的可见与近红外光催化效果,使复合材料最大限度的利用从紫外光到近红外光的太阳光全波段进行光催化,对于促进自然太阳光光催化技术应用,缓解能源危机以及加强环境治理具有重要的意义。

标签:
复合材料
江苏 - 无锡 来源:中冶有色网 2023-03-18
自蔓延燃烧制备碳纳米管的方法

本发明涉及一种自蔓延燃烧制备碳纳米管的方法,在基底上充分浸润乙酰丙酮铁等前驱体的溶液,干燥后,基底的一角在接触到火焰时点燃,迅速撤离火源后,前驱体燃烧从一端向另一端蔓延,燃烧结束后生成碳纳米管。该方法制备碳纳米管制备简单,操作方便,不需要额外的设备,对环境的污染小,可实现宏量制备。制备的碳纳米管和基底的复合材料可用于光热转化,超级电容器,锂离子电池,吸波和电磁屏蔽等。

标签:
复合材料
江苏 - 无锡 来源:中冶有色网 2023-03-18
新型可控焊锡机
新型可控焊锡机 843     
 0

本发明公开了一种新型可控焊锡机,其特征在于,包括机架(1),在机架(1)上设置开关(2),在机架(1)底部设置工作台(3),在机架(1)一侧设置电箱(4),在机架(1)顶部设置送锡机构(5),送锡机构(5)旁设置分机(7),在送锡机构(5)下设置发热体(6),在机架(1)下设置轮子(8),在轮子(8)内设置减震孔(9),在轮子(8)旁设置刹车(10),本发明的有益效果是:本发明设计合理,结构简单。该新型可控焊锡机在工作时,将达到预期效果,大多机架都需要有耐高温要求配置,而此发明从材料上达到了要求,机架采用加强复合材料,使其加固提高使用安全性。

标签:
复合材料
江苏 - 无锡 来源:中冶有色网 2023-03-18
新型散热焊锡机
新型散热焊锡机 635     
 0

本发明公开了一种新型散热焊锡机,其特征在于,包括机架(1),在机架(1)上设置开关(2),在机架(1)底部设置工作台(3),在机架(1)一侧设置电箱(4),在机架(1)顶部设置送锡机构(5),送锡机构(5)旁设置分机(7),在送锡机构(5)下设置发热体(6),在电箱(4)上设置散热扇(8),本发明的有益效果是:本发明设计合理,结构简单。该新型散热焊锡机在工作时,将达到预期效果,大多机架都需要有耐高温要求配置,而此发明从材料上达到了要求,机架采用加强复合材料,使其加固提高使用安全性。

标签:
复合材料
江苏 - 无锡 来源:中冶有色网 2023-03-18
绿色环保型石碑拓片保护剂及其制备方法

本发明公开了一种绿色环保型石碑拓片保护剂及其制备方法,该保护剂主要包括以下质量比的原料:DL‑薄荷醇6.1‑12.5:氟素聚合物10‑20.2。本发明采用DL‑薄荷醇为主要原料之一,薄荷醇为植物提取物,其毒理性质已经明晰,基本无毒,且原料易得,价格低廉,在室温下可以升华,具有挥发性。同时本发明选用氟素聚合物日本大金GM‑105D,不仅具有优秀的耐热性、耐药性、耐气候性、耐沾污性及电气特性等,且具有不粘性、自润滑性等特有性质。本发明将DL‑薄荷醇与氟素聚合物复配形成复合材料,提高了产品的强度、渗透性、耐碱性、耐粘污性、耐热性、耐气候性。且可有效减缓薄荷醇的挥发速率,产品挥发性降低,可以自由去除。

标签:
复合材料
江苏 - 无锡 来源:中冶有色网 2023-03-18
MnO/C阳极电催化剂的制备方法及其应用

本发明公开了一种MnO/C阳极电催化剂的制备方法及其应用,选择廉价易得的碳材作为基底,采用简单的浸渍和高温热处理工艺将纯相的MnO负载到碳材表面,将制备的MnO/C复合材料作为电池的阳极,较低的电压下催化氧气氧化染料废水。本发明MnO/C阳极电催化剂不仅大大提高了染料废水的矿化能力,缩短了降解时间,而且循环稳定性良好。

标签:
复合材料
江苏 - 无锡 来源:中冶有色网 2023-03-18
热处理工艺制备碳硅负极材料的方法

本发明属于复合材料制备技术领域,特别是涉及一种热处理工艺制备碳硅负极材料的方法。本发明中碳薄膜和硅薄膜在制备的过程中均采用热处理工艺,热处理的温度为100 oC~400 oC。在集流体上制备了硅薄膜和碳薄膜交替堆叠的结构,且碳薄膜先沉积在集流体上,碳薄膜与集流体直接接触,交替堆叠结构的最顶层为碳薄膜。本发明通过工艺简单的磁控溅射沉积技术在集流体上直接溅射生长活性物质碳硅薄膜,省去了传统电极制备过程中粘结剂的使用,以及辊压、涂覆、烘干等步骤,减少了制作工序和成本,此外,热处理工艺一定程度上可以提高电极的储锂容量,为高能量密度、高循环稳定性锂离子电池负极材料的研发提供了有效途径。

标签:
复合材料
江苏 - 无锡 来源:中冶有色网 2023-03-18
形体铁画及包括其的铁画灯具

一种形体铁画及包括其的铁画灯具,本发明涉及一种铁画及铁画灯具,属于铁画工艺品及照明灯具技术领域;本发明所采用的技术方案是:一种形体铁画,包括铁画,其特征在于:所述形体为:A:脊线沿肋线至轮廓线形成的放样体,或,B:脊线沿肋线至轮廓线形成的放样体的对称体,所述形体材料由复合材料制得;本发明的有益效果是:依据工业设计原理,突破了铁画传统的构造形式,并融合实用功能,扩大了铁画工艺品的应用范围,尤其是在环境艺术设计方面为体现城市文化传统、文化软实力、为铁画艺术繁荣与发展带来新的生机与活力。

标签:
复合材料
江苏 - 无锡 来源:中冶有色网 2023-03-18
高性能TPO防水卷材及其制备方法

本发明提供一种高性能TPO防水卷材,卷材是由改性热塑性聚烯烃材料层、非织布加强层、防火阻燃层、骨架增强层和抗氧化面层复合固结而成的多层层状结构,该卷材厚度为2‑5mm,改性热塑性聚烯烃材料层是由三元乙丙橡胶、聚丙烯、糖胶树胶、甲基丙烯酸丁酯及助剂制备形成的聚烯烃复合材料层。本发明的一种改性热塑性聚烯烃类防水卷材,具有高抗撕裂、抗拉伸能力,抗光氧化性能高、阻燃性能高、防水性能高。

标签:
复合材料
江苏 - 无锡 来源:中冶有色网 2023-03-18
铜掺杂碳量子点/钨酸铋复合光催化剂的制备方法及应用

本发明公开了一种铜掺杂碳量子点/钨酸铋复合光催化剂的制备方法及其在降解头孢噻呋钠中的应用,制备方法包括(1)铜掺杂碳量子点的制备;(2)铜掺杂碳量子点‑钨酸铋复合体系的制备;利用可见光对制备出的复合材料进行光催化性能的测试,通过降解抗生素头孢噻呋钠来证明该材料优越的光催化性能;复合光催化剂具有良好的催化活性和稳定性增强是由铜掺杂碳量子点增强了光催化过程中电子转移,增强了电子受体和电子供体能力,与钨酸铋间形成的异质协同作用的结果;在可见光照射30min后,复合光催化剂光催化降解头孢噻呋钠的降解率比单一铜掺杂碳量子点、单一钨酸铋的降解率显著提高。

标签:
复合材料
江苏 - 无锡 来源:中冶有色网 2023-03-18
微波多频段响应的多重介孔结构吸波体的制备方法

本发明涉及吸波复合材料技术领域,具体涉及一种微波多频段响应的多重介孔结构吸波体的制备方法,该方法首先制备了多壁碳纳米管/二氧化锰复合物,然后利用该复合物制备出多壁碳纳米管/介孔聚苯胺微介孔结构吸波剂,最后将吸波剂涂覆在聚氨酯泡沫载体上,形成吸波体;该吸波体具有多频段相应的性能。

标签:
复合材料
江苏 - 无锡 来源:中冶有色网 2023-03-18
复合片材及冷镦制备工艺

本发明公开了一种复合片材及冷镦制备工艺,包括片材本体,所述片材本体包括第一银层、铜层、第二银层和银合金层,所述第一银层的一侧设置有铜层,所述铜层的一侧设置有第二银层,所述第二银层的一侧设置有银合金层;该发明,冷镦工艺可制备各种材料及复合材料、各种大小及各种形状的片材;且现在可通过机器直接到达为方便使用的四层结构;生产过程中处于一个较洁净污染的环境,因此产品里不存在异物和空洞,使产品的性能相对传统工艺生产的产品性能提高了15%;相对传统工艺,该工艺用机器代替了人工的许多步骤,大大提高了服务质量与效率,极大地降低了生产成本与人工成本;并且冷镦工艺材料的利用率高,几乎无污染,对环境友好绿色。

标签:
复合材料
江苏 - 无锡 来源:中冶有色网 2023-03-18
油田自喷井井筒清蜡装置

本发明涉及一种油田自喷井井筒清蜡装置,属于采油技术领域。包括发球系统、清蜡系统、收球系统;所述发球系统通过人工控制清蜡球的投放数量,将所述清蜡球依靠重力沉至井筒底部,下沉过程中所述清蜡球不断撞击井筒内壁,将附着在井筒内壁上部分蜡块刮下,随着所述清蜡球表层金属复合材料不断溶解,密度低于井筒内原油密度,所述清蜡球开始上浮,在上浮旋转过程中也不断撞击井筒内壁,所述清蜡球与刮下的蜡块随着油流进入收球系统,清蜡作业结束。本发明与现有技术相比的优点是:设备简单,操作简便,单人即可操作;无需外加能量;可对井筒内不同位置进行清蜡;降低生产人员工作量和生产成本;降低清蜡作业风险。

标签:
复合材料
江苏 - 无锡 来源:中冶有色网 2023-03-18
新型改进减震污泥脱水机

本发明公开了一种新型改进减震污泥脱水机,其特征在于,包括底座(1),在底座(1)上设置侧板(2),在侧板(2)一侧设置电机支架(3),在电机支架(3)一侧设置电机(4),在侧板(2)另一侧设置进水桶(5),在进水桶(5)上设置冲洗水管(6),冲洗水管(6)连接存储箱(7),在存储箱(7)下设置进水口(8),在底座(1)设置减震孔(9),发明的有益效果是:本发明设计合理,结构简单。该新型改进减震污泥脱水机在工作时,将达到预期效果,大多电机支架都需要有耐高温要求配置,而此发明从材料上达到了要求,电机支架采用加强复合材料,使其加固提高使用安全性。

标签:
复合材料
江苏 - 无锡 来源:中冶有色网 2023-03-18
车位锁整体防护结构
车位锁整体防护结构 963     
 0

本发明涉及一种车位锁整体防护结构,该结构包括底座、主机仓、摆臂和外盖,底座和主机仓采用一体化成形结构,底座上设置有支撑柱,外盖和/或支撑柱采用具有弹性和韧性的复合材料,底座和主机仓之间设置有连通区域,连通区域的边界设置有一次成形的围栏,围栏为顶部开口结构,当导线通过所述连通区域从底座穿过主机仓后,从连通区域的顶部注入灌封材料,形成密封体结构,该结构大大提高了车位锁整体的密封性能,且可以增加车位锁整体装置的结构强度,提高内部电路的稳定性。

标签:
复合材料
江苏 - 无锡 来源:中冶有色网 2023-03-18
用于含有机物污水处理的油水分离器系统

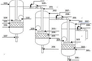
本发明公开了一种用于含有机物污水处理的油水分离器系统,其特征在于油水分离器使用的核心分离介质是经过耐高温和憎水性表面处理的纳米二氧化硅气凝胶复合材料。该油水分离器系统由三个或三个以上油水分离器组成,每个油水分离器由污水进口阀门101、进水管102、罐体103、喷水莲蓬头104、纳米二氧化硅气凝胶吸附材料层105、网状支撑板和环状压板106、有机物排放阀门107、有机物在线检测感应器108、出水三通阀门109和快开法兰板110组成,需处理的污水经过油水分离器Ⅰ之后先后进入油水分离器Ⅱ和油水分离器Ⅲ,直到经过处理的排放水的化学需氧量(COD)≦120 mg/L。该分离器系统可用于工业或城市生活污水处理。

标签:
复合材料
江苏 - 无锡 来源:中冶有色网 2023-03-18
铁酸锌/碳酸银复合可见光催化材料及其制备方法和应用

本发明公开了一种铁酸锌/碳酸银复合可见光催化材料及其制备方法和应用,铁酸锌/碳酸银复合可见光催化材料由纳米铁酸锌负载在微米碳酸银表面构成,其制备方法是将铁源、锌源与有机羧酸和/或有机羧酸盐溶于溶剂,并调节溶液体系pH至碱性后,进行溶剂热反应,得到铁酸锌纳米颗粒;将所述铁酸锌纳米颗粒分散至水中,得到悬浮液;向悬浮液中加入晶型调节剂、银盐溶液和水溶性碳酸盐反应,即得;所得复合材料可以快速吸附水中有机污染物,同时利用表面暴露的活性位点对有机物进行高效降解,具有快速、高效、可磁性分离的特点,且其制备步骤简易、操作方便、原料易得,解决了光催化剂难以回收的问题。

标签:
复合材料
江苏 - 无锡 来源:中冶有色网 2023-03-18
氯化银抗菌溶胶PET薄膜

本发明公开了一种氯化银抗菌溶液PET薄膜,包括以下组分组成:PET薄膜基材和AgCl溶胶,本发明一种PET复合材料的制备方法,包括以下步骤:(1)PET薄膜基材前处理:配置一定的NaOH溶液,然后把PET薄膜基材放入NaOH溶液中,在搅拌的情况下对NaOH溶液进行水浴加热10min,然后用乙醇超声清洗15min,放入恒温干燥箱晾干待用;(2)以一定的速率浸入已配好的AgCl溶胶中,静置片刻,使其达到表面吸附平衡,然后以5cm/min的速度向上缓慢提拉基片,形成湿凝胶;(3)将湿凝胶放入干燥箱中进行干燥,进行一次干燥;(4)在90℃‑150℃的范围内进行二次干燥形成干凝胶,得到均匀致密的薄膜。

标签:
复合材料
江苏 - 无锡 来源:中冶有色网 2023-03-18
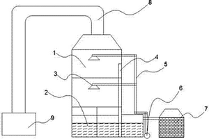
新型改进水洗塔
新型改进水洗塔 800     
 0

本发明公开了一种新型改进水洗塔,其特征在于,包括塔体(1),在塔体(1)底部设置循环水箱(2),在塔体(1)中部设置喷淋头(3),在塔体(1)内壁上设置填料层(4),循环水泵(6)通过管道(5)连接喷淋头(3),在塔体(1)旁设置加药桶(7),在塔体(1)顶部设置输送通道(8),通过输送通道(8)连接再处理器(9),本发明的有益效果是:本发明设计合理,结构简单。该新型改进水洗塔在工作时,将达到预期效果,大多管道都需要有耐高温要求配置,而此发明从材料上达到了要求,管道采用加强复合材料,使其加固提高使用安全性。

标签:
复合材料
江苏 - 无锡 来源:中冶有色网 2023-03-18
上一页 508 509 510 511 512 ... 1207 下一页
共1207页    到第

中冶有色为您提供最新的江苏有色金属复合材料技术理论与应用信息,涵盖发明专利、权利要求、说明书、技术领域、背景技术、实用新型内容及具体实施方式等有色技术内容。打造最具专业性的有色金属技术理论与应用平台!

全国热门有色金属设备推荐
展开更多 +
全国热门有色金属技术推荐
展开更多 +

 

江西省隆恩特环保设备有限公司
宣传

报名参会
更多+

报告下载

有色专家
更多+

江西理工大学
副校长/教授
中南大学
院长/教授
重庆大学
副院长/教授
长沙矿冶院检测技术有限责任公司
总经理
红河学院
研究员
赤泥综合利用研究报告2025
推广

热门技术
更多+

推荐企业
更多+

福建省金龙稀土股份有限公司
宣传

发布

在线客服

公众号

电话

顶部
咨询电话:
010-88793500-807