青岛垚鑫智能科技有限公司
宣传

位置:中冶有色 >

有色技术频道 >

分类:
全部
矿山技术
冶金技术
材料制备及加工技术
环境保护技术
分析检测技术
 
全部
功能材料技术
复合材料技术
新能源材料技术
合金材料技术
加工技术
地区:
全部
北京
天津
上海
重庆
河北
山西
辽宁
吉林
黑龙江
江苏
浙江
安徽
福建
江西
山东
河南
湖北
湖南
广东
海南
四川
贵州
云南
陕西
甘肃
青海
内蒙
广西
西藏
宁夏
新疆
其他
其他
展开
 
全部
南京
无锡
徐州
常州
苏州
南通
连云港
淮安
盐城
扬州
镇江
泰州
宿迁

江苏无锡有色金属材料制备及加工技术理论与应用

免费发布技术信息>>
环氧树脂降解方法、环氧树脂降解的溶剂体系及回收方法

本申请公开了一种环氧树脂降解的溶剂体系:包括质量比为30%‑70%的DMF和质量比为30%‑70%的EG。一种环氧树脂降解方法:将环氧树脂基复合材料加入溶剂体系中,并加热至130℃‑150℃,至环氧树脂基体完全降解,取出碳纤维布,清洗烘干再利用,获得低聚物及溶剂的混合物。一种环氧树脂降解的溶剂体系回收方法:将降解的低聚物及溶剂的混合物进行减压蒸馏,经减压蒸馏得到回收混合溶剂和低聚物,回收混合溶剂用于下一次降解环氧树脂的利用,低聚物用作添加原料制备新的环氧树脂。本申请能够对环氧树脂材料进行降解利用,从而降低废旧环氧树脂的处理成本和对环境的影响,实现可持续发展目标,且降解时间短、降解温度低,对环境保护和资源节约具有重要意义。

标签:
复合材料
江苏 - 无锡 来源:中冶有色网 2023-03-18
改性金刚石复合功能材料及制备方法

本发明的一种改性金刚石复合功能材料及制备方法属于金刚石复合材料的制备技术领域。所述的改性金刚石复合功能材料由金刚石微粉组成,所述的金刚石微粉表面紧密包覆了一层能够改善金刚石微粉表面反应活性的纳米非晶SiO2薄膜;将硅烷偶联剂在醇水溶液中水解后,加入金刚石微粉和纳米硅粉,反应0.5~24小时,室温下静置蒸发后得到改性金刚石复合功能材料。本发明成功在金刚石表面包覆了一层具有高活性氧基团的非晶纳米氧化硅薄膜,薄膜中的活性氧基团可以与树脂中的‑OH基团间形成良好的交联反应,由此,可有效提高树脂结合剂对金刚石的把持力,对制备长寿命、高性能的树脂类金刚石磨具具有重要的工程意义。

标签:
复合材料
江苏 - 无锡 来源:中冶有色网 2023-03-18
高性能氢燃料电池用气体扩散层及其制备方法

本发明公开了一种高性能氢燃料电池用气体扩散层,包含多孔支撑层、第一微孔层和第二微孔层,采用下述方法制备:S1.多孔支撑层疏水处理;S2.制备第一微孔层‑多孔支撑层复合材料;S3.制备气体扩散层。本发明制备得到的气体扩散层通过在多孔支撑层与微孔层之间构建一微孔层转移膜,一方面构建毛细管压力梯度结构,促进气体扩散层内部有效排水,并保证一定的透气性。另一方面,优化设计微孔层涂布配方,提高气体扩散层的疏水耐久性和导电性,提升氢燃料电池的输出性能。本发明制备得到的气体扩散层具有良好的导电性,且改善了气体扩散层内部气体和水再分配能力,可降低燃料电池膜电极发生“水淹”的风险,有利于燃料电池高效稳定运行。

标签:
复合材料
江苏 - 无锡 来源:中冶有色网 2023-03-18
显控台支臂及其成型方法

本发明提供了一种显控台支臂及其成型方法。该显控台支臂具有异型闭腔,该方法包括:将由碳纤维预浸料碳纤维复合材料制得的第一膜和第二膜分别铺设至模具的上模和下模的内壁;向已铺设第二膜的下模中铺设风管,然后与已铺贴第一膜的上模进行合模;合模后,向风管中通入高压气体,使第一膜和第二膜分别与上模和下模贴合在一起;通入高压气体后,对第一膜和第二膜进行加热固化,使第一膜和第二膜成型且结合在一起;以及去除上模和下模;其中,风管的外壳形状与显控台支臂的形状相同。本发明提供的显控台支臂的成型方法能够缩短工序流程,提高成型效率。而且可以控制胶接开裂的风险,增加产品稳定性。

标签:
复合材料
江苏 - 无锡 来源:中冶有色网 2023-03-18
用于放射性碘气体、气溶胶去除的Bi@纤蛇纹石气凝胶的制备及应用

本发明公开了一种用于放射性碘气体、气溶胶去除的Bi@纤蛇纹石气凝胶的制备及应用,包括:将五水合硝酸铋、水合肼、纳米纤蛇纹石、乙二醇混合放入反应釜中反应,冷却后抽滤,用无水乙醇洗涤多次后真空干燥;将真空干燥后的样品加入水中,然后加入双(2‑乙己基)磺基丁二酸钠,搅拌分散,得到纳米悬浊液,将硅烷水解液加入纳米悬浊液中,搅拌,得到老化溶液;将老化溶液预冻后,冷冻干燥,然后真空干燥、透析、洗涤,再次真空干燥,得到用于放射性碘气体、气溶胶去除的Bi@纤蛇纹石气凝胶。本发明的Bi@纤蛇纹石气凝胶复合材料具备过滤兼碘吸附功能,耐酸耐热,疏水性好,适合一般场所与特殊场所过滤系统应用。

标签:
复合材料
江苏 - 无锡 来源:中冶有色网 2023-03-18
智能连续碳纤维预浸带制备装置

本发明提供一种智能连续碳纤维预浸带制备装置,涉及碳纤维预浸带制造设备的技术领域。一种智能连续碳纤维预浸带制备装置,包括合成模块、自修复碳纤维管导入模块和收卷模块;自修复碳纤维管导入模块设置在合成模块的侧面,自修复碳纤维管导入模块所导入的自修复碳纤维管与合成模块的连续碳纤维预浸带相结合,合成模块的输送压实机构设置在连续碳纤维预浸带与自修复碳纤维管相结合后的输料端;收卷模块设置在输送压实机构的输出端。解决了现有碳纤维复合材料普遍缺乏自修复功能,且无相关制造设备的问题。本发明将连续碳纤维预浸带与自修复碳纤维管相结合,使结合后的智能连续碳纤维预浸带具有自修复功能。

标签:
复合材料
江苏 - 无锡 来源:中冶有色网 2023-03-18
导电复合海藻纤维及其制备方法

本发明属于再生海藻功能纤维复合材料领域,具体涉及一种导电复合海藻纤维及其制备方法,通过将湿法纺丝技术制备出的海藻纤维浸泡在导电高分子单体溶液中,使海藻纤维溶胀并吸收导电聚合物单体,最后使用氧化剂将导电聚合物单体引发聚合,成功制备出导电复合海藻纤维;为了平衡纤维力学性能与导电性能,通过温度、浸泡时间等参数控制溶胀程度,进而调节高分子单体吸附层的厚度,通过聚合温度、pH值、时间等参数控制聚合程度,获得不同力学性能和导电性的复合纤维;其工艺简单,成本低廉,可以工业化大批量生产,有效地扩展了海藻纤维的应用领域。

标签:
复合材料
江苏 - 无锡 来源:中冶有色网 2023-03-18
耐高温、低温冲击的尼龙材料及制备方法

本发明公开了一种耐高温、低温冲击的尼龙材料,涉及尼龙材料制备技术领域。原料按照重量份计包括以下组分:尼龙6 48‑53份、尼龙6/PEG共聚粉末20‑32份,增韧剂28‑32份、润滑剂2.1‑2.3份、耐热老化剂5‑8份、耐低温老化剂1.5‑2份、色母4.8‑5.2份、增塑剂7‑8.5份、有机蒙脱土1‑2份、纳米硼化锆2‑5份、抗氧剂1‑2份和偶联剂0.8‑1.2份。本发明制备的尼龙复合材料,在力学性能优异的基础上,同时具有耐低温性能和耐高温性能,在180℃高温、‑40℃低温交替条件下具有优异的循环稳定性。

标签:
复合材料
江苏 - 无锡 来源:中冶有色网 2023-03-18
乙酰海藻酸钠在化妆品中的应用及功能性化妆品、制备方法

本发明涉及乙酰海藻酸钠在化妆品中的应用及功能性化妆品、制备方法。乙酰海藻酸钠在化妆品中的应用,所述乙酰海藻酸钠为式Ⅰ所示的结构:n>1。作为包载体包覆生物活性物质,使生物活性物质稳定性的增强有利于其在化妆品和整形美容领域的推广与应用。所得复合材料尺寸为纳米级,纳米级的粒度提升了功能型化妆品效用。

标签:
复合材料
江苏 - 无锡 来源:中冶有色网 2023-03-18
茶多酚及其组分分析电化学传感器的制备方法和检测方法

本发明公开了茶多酚及其组分分析电化学传感器的制备方法和检测方法,步骤如下:S1:制备羧基化多壁碳纳米管/木质素磺酸纳复合材料;S2:制备羧基化多壁碳纳米管/木质素磺酸纳修饰的丝网印刷电极;S3:制备纳米金/羧基化多壁碳纳米管/木质素磺酸纳修饰的工作电极;S4:将构建传感器置于不同浓度的表没食子酸儿茶素没食子酸酯或芦丁的标准溶液中,绘制工作曲线;S5:将构建传感器置于柠檬酸缓冲液中,进行检测;S6:将步骤S5中的氧化峰电流值记录下来,根据步骤S4的工作曲线,测得样品中总儿茶素、芦丁及茶多酚的浓度;该发明制备的传感器可同时测得出儿茶素类化合物和芦丁含量,检测时无需复杂的样品前处理、操作简单、检测时间短且成本低。

标签:
复合材料
江苏 - 无锡 来源:中冶有色网 2023-03-18
钣金蒙皮蜂窝夹芯汽车引擎盖的制造方法

本发明公开了一种钣金蒙皮蜂窝夹芯汽车引擎盖的制造方法,包括冲裁成型、表面处理、蜂窝干燥、粘接固化等步骤,由此设计了一种三明治结构的汽车引擎盖,其能够明显提升引擎盖整体的刚度,中间的蜂窝夹芯一方面具有较高的吸收缓冲作用,给行人提供更好的保护,另一方面能够在提高结构强度的同时,使得内外板材质厚度可以低于现有的纯钣金引擎盖厚度,从而降低了成本,相较于碳纤维复合材料引擎盖,该方式表面处理更简易,成本更低。

标签:
复合材料
江苏 - 无锡 来源:中冶有色网 2023-03-18
碳纤维真空灌注环氧树脂

本发明公开了碳纤维真空灌注环氧树脂,包括碳纤维编织布以及环氧树脂固化物,环氧树脂固化物是由重量比为100:25~50的树脂体系和固化体系混合得到;其中,树脂体系按照重量份数计算,包括以下成分:100份改性环氧树脂、1~5份阻燃剂、0.3~0.5份消泡剂和0.2~0.6份分散剂;其中,固化体系按照重量份数计算,包括以下成分:100份固化剂和15~25份固化促进剂。本发明所制备的碳纤维真空灌注环氧树脂区别于常规的普通环氧树脂与碳纤维的复合,本发明所使用的环氧树脂是经过改性后得到,改性后的环氧树脂与碳纤维处理制备得到的复合材料具有更高的强度、更好的韧性以及更高的层间剪切强度。

标签:
复合材料
江苏 - 无锡 来源:中冶有色网 2023-03-18
水滑石基氨气气敏材料的制备及应用

本发明公开了一种水滑石基氨气气敏材料的制备及应用。本发明采用锌铬水滑石ZnCr‑LDHs作为前驱体通过焙烧制备得到ZnO/ZnCr2O4复合材料,由于锌铬水滑石片层结构的优点,层板金属可调控,金属元素分布均匀,焙烧之后金属氧化物ZnO与ZnCr2O4均匀分散,异质结构明显。将其用于制备氨气传感器,ZnO与ZnCr2O4尖晶石之间相互协同作用增加了对氧气的吸附,吸附氧增多,有利于提高气敏材料的气敏响应。本发明制备的氨气传感器工作温度低,在室温下即可检测;没有贵金属加入,制备成本低廉、制备方法简单;无其他任何有机溶剂或添加剂,绿色环保。

标签:
复合材料
江苏 - 无锡 来源:中冶有色网 2023-03-18
石墨烯/介孔炭/ZIF衍生炭复合的三维分级多孔炭材料、其制备方法及应用

本发明提出一种石墨烯/介孔炭/ZIF衍生炭复合的三维分级多孔炭材料、其制备方法及应用,属于炭材料储能领域,该制备方法包括以下步骤:将酚源和醛源加入到氧化石墨烯分散液中,再加入表面活性剂,在加热、密闭条件下进行聚合反应,得到水凝胶,冷冻干燥后得到酚醛树脂包覆氧化石墨烯气凝胶;将六水硝酸锌和上述气凝胶加入到甲醇中,混合均匀,再加入溶有二甲基咪唑的甲醇溶液,在室温下进行自组装,得到氧化石墨烯/酚醛树脂/ZIF‑8复合材料;在惰性气氛下炭化,炭化后用盐酸洗涤干燥,经活化得到石墨烯/介孔炭/ZIF衍生炭复合的三维分级多孔炭材料。该三维分级多孔炭材料具有高比表面积和高稳定性,电化学性能优异。

标签:
复合材料
江苏 - 无锡 来源:中冶有色网 2023-03-18
装配式变形自适应挡浪墙组合结构及其施工方法

本发明涉及一种属于土木工程材料和海洋工程结构领域的装配式变形自适应挡浪墙组合结构及其施工方法。该挡浪墙结构在迎浪侧预制拼装高延性水泥基复合材料防护面板,主墙体为现浇混凝土,形成的连接部件以高延性水泥基材料施作。其施工步骤为:吊装防护面板至预定位置并以斜支撑固定,对板底塞缝和注浆孔注浆后,在板间接缝处绑扎钢筋、支模并浇筑高延性材料,拆模后焊接固定斜向拉结筋,完成钢筋绑扎及支模后分层浇筑混凝土。装配式变形自适应挡浪墙组合结构通过板面预留筋确保结构整体性,延性防护面板协同连接部件实现结构变形的自适应,提高挡浪墙的抗渗性和抗冲击性能,进而改善结构耐久性;并且防护面板可兼做永久性模板,显著缩短工期。

标签:
复合材料
江苏 - 无锡 来源:中冶有色网 2023-03-18
柔性多晶氧化钛-氧化铝复合纳米纤维膜及其制备方法

本发明涉及一种柔性多晶氧化钛‑氧化铝复合纳米纤维膜及其制备方法。所述柔性多晶氧化钛‑氧化铝复合纳米纤维膜的纤维中氧化钛含量为20‑60wt.%、平均直径为100‑250nm、晶粒尺寸小于50nm,纤维膜具有良好的柔性、结晶性。本发明所设计的制备方法主要包括以下步骤,首先将钛源、铝源和高分子聚合物分开溶解,再混合均匀制成稳定的溶液;随后采用静电纺丝将上述溶液制成有机‑无机复合纳米纤维膜;然后在空气中经过两步煅烧得到柔性多晶氧化钛‑氧化铝复合纳米纤维膜。本发明简单可控,所得柔性多晶氧化钛‑氧化铝复合纳米纤维膜厚度、晶型、比表面积可调控,其产品可应用于催化、催化剂载体、过滤、复合材料增强相等领域。

标签:
复合材料
江苏 - 无锡 来源:中冶有色网 2023-03-18
复合储氢材料NaBH4@NiB-CNC及其制备方法

本发明公开了一种复合储氢材料NaBH4@NiB‑CNC及其制备方法。其方法包括:NiB‑CNC模板材料的制备;NaBH4@NiB‑CNC的制备。其中通过控制化学还原过程中Ni源和NaBH4的加入量控制NiB‑CNC模板材料中催化剂NiB的含量;储氢材料NaBH4的负载量为30~75 wt%,模板材料NiB‑CNC的质量分数为70~25 wt%。通过本发明方法,复合材料中的NaBH4在400℃以下即可实现完全放氢,并且放氢动力学性能明显改善。本发明所制备的材料具有优越的储氢性能。本发明工艺简单易操作,合成方便,易于实现。

标签:
复合材料
江苏 - 无锡 来源:中冶有色网 2023-03-18
负极材料及其制备方法和应用

本发明提供了一种负极材料及其制备方法和应用。所述制备方法包括:以金属为催化剂,将人造石墨和小分子量气相碳源采用化学气相沉积法进行沉积,酸洗,得到所述负极材料;所述小分子气相碳源为碳原子个数≤4的气体。本发明通过采用金属为催化剂,以小分子量气相碳源为原料,采用化学气相沉积法,形成了一种快充型的石墨/碳纳米纤维复合材料,不仅兼顾容量,还可实现磷酸铁锂电池在快充情况下不析锂,有效地解决了电动汽车充电快和能量密度高不兼容的问题。

标签:
复合材料
江苏 - 无锡 来源:中冶有色网 2023-03-18
预压应力可调的黏弹性阻尼器

本发明公开了一种预压应力可调的黏弹性阻尼器,属于结构减震技术领域。主体包括约束单元、耗能单元以及连接单元。耗能单元选用水凝胶/多孔金属复合材料,由剪切变形产生有滞回特性的阻抗力吸收震动,效果显著。通过调节螺栓来控制碟形弹簧的松紧程度,以提供不同的预紧力,由此改变黏弹性阻尼器的消能减震效果,能显著减小由地震和风振引起的结构振动,更为经济。本发明减震效果好,构造简单,安装方便,大震下易于更换,并且适用于从新建到现有建筑翻新的各种应用,通过大规模生产高质量的工业产品和标准化的系统,可实现高质量和低成本。

标签:
复合材料
江苏 - 无锡 来源:中冶有色网 2023-03-18
高耐热耐析出环保阻燃聚酰胺组合物及其制备方法

本发明涉及一种高耐热耐析出环保阻燃聚酰胺组合物及其制备方法;改性聚酰胺复合材料由聚酰胺30‑90份,填充物10‑40份,改性二乙基次膦酸铝0.01‑30份,阻燃剂改性MPP:0.01‑10份,抗氧剂0.01‑2份,协效剂0.01‑2份,色母粒0.01‑2份。本发明制备的高耐热耐析出环保阻燃聚酰胺,阻燃剂改性MPP酸性被中和防止了加工过程中对树脂基体的侵蚀;改性MPP的亲水基团相对于传统MPP较少,可以有效防止阻燃剂MPP的迁移析出现象;通过反应向阻燃剂中反应进入芳香类结构基团,可以提升阻燃剂的阻燃效率;改性MPP的分子链被改善,防止在高温环境下MPP的分解;改性二乙基次膦酸铝的纯度相对更高,可以进一步改善阻燃剂的耐热性。

标签:
复合材料
江苏 - 无锡 来源:中冶有色网 2023-03-18
重力积聚式无源自防堵型实验室有机废液处理装置

本发明公开了一种重力积聚式无源自防堵型实验室有机废液处理装置,包括有机废液处理箱体、重力积聚式无源自防堵初沉淀过滤机构、温差型粘附格栅振荡式杂质脱离机构、收卷跳动型多孔阻燃式杂质吸附机构、单向型挥发性气体收集机构和精过滤释放机构。本发明属于实验室有机废液处理技术领域,具体是一种重力积聚式无源自防堵型实验室有机废液处理装置,针对实验室有机废液易燃的特性,将多孔材料原理和复合材料相结合应用到实验室有机废液处理技术领域,实现了对有机物阻燃式吸附处理的技术效果,根据在对实验室有机废液过滤时,易出现堵塞过滤网的情况,采用重力积聚下滑自穿刺和气泡破裂相结合的方式,实现了对过滤网无源自贯穿防堵的技术效果。

标签:
复合材料
江苏 - 无锡 来源:中冶有色网 2023-03-18
制备壳体组件的方法、壳体组件和电子设备

本发明涉及制备壳体组件的方法、壳体组件和电子设备,所述方法包括:将纳米玻璃陶瓷粉与塑胶混合,制备壳体坯体,所述纳米玻璃陶瓷粉包括氧化硅、氧化钠、氧化铝、氧化锆、氧化锂和氧化镁;对所述壳体坯体进行离子强化处理,得到壳体组件。由此,由本发明方法制备的壳体组件具有陶瓷般的质感,并且还具有硬度高、强度高、使用过程中抗划伤能力强、能够满足使用要求等优点,改善了现有的陶瓷塑胶复合材料的硬度低和强度低的缺陷。

标签:
复合材料
江苏 - 无锡 来源:中冶有色网 2023-03-18
碳纤维预制体的快速定型方法

为降低采用化学气相沉积工艺制备碳纤维增强高温复合材料定型过程中所产生的高额成本,本发明提出了一种碳纤维预制体的快速成定型方法,包括以下步骤:S1第一次碳纤维预制体在树脂浸渍液中浸渍;S2将在树脂浸渍后的碳纤维预制体进行第一次风干定型;S3对第一次定型后的碳纤维预制体在树脂液中进行第二次浸渍;S4将第二次浸渍后的碳纤维预制体进行第二次风干定型。

标签:
复合材料
江苏 - 无锡 来源:中冶有色网 2023-03-18
纤维增强桁架结构和金属连接件的一体化增材制造方法

本发明公开了一种纤维增强桁架结构和金属连接件的一体化增材制造方法,包括以下步骤:S1、在基板上打印纤维增强复合纤维复合材质的桁架结构杆件;S2、在需要设置金属连接件的位置,预留底孔或底槽;S3、将预先备好的与所述底孔或底槽相适配的金属预埋件放入该底孔或底槽;S4、以所述金属预埋件为基底,进行金属材质增材制造,打印出第一个金属台阶段,并在所述金属台阶周围打印纤维增强复合纤维复合材料;S5、以第一个所述金属台阶为基底,打印金属连接段,并在其周围打印复合纤维材料;S6、继续以已形成的金属材质为基底,打印金属连接件。该方法不仅可以打印单一材质的杆件结构,而且可以完成不同材质的复杂结构的一体化成形制造。

标签:
复合材料
江苏 - 无锡 来源:中冶有色网 2023-03-18
可用于临床的钛酸钡改性氧化锆陶瓷材料

本发明属于粉末冶金氧化锆材料制备技术领域,具体涉及一种钛酸钡改性的氧化锆陶瓷材料复合体。所述陶瓷复合材料将化钛酸钡粉以5mol%的摩尔百分数掺杂入商品化3mol%的氧化钇稳定的四方氧化锆多晶陶瓷粉得5mol%BT/3Y‑TZP复合陶瓷。本发明提供的5mol%BT/3Y‑TZP复合陶瓷通过扫描电镜检测显示有均匀的孔隙率,水接触角实验检测有良好亲水性。将材料与人成骨细胞(MG63)共培养后,证明其无细胞毒性,同时ALP和相关成骨细胞基因表达水平有明显提升,该制备方法获得的钛酸钡改性的氧化锆陶瓷具有较好的生物相容性和成骨性能,可用于结构陶瓷、生物材料和人体植入材料等,便于大规模的工业化应用。

标签:
复合材料
江苏 - 无锡 来源:中冶有色网 2023-03-18
低目标特性的船用可倒栏杆

本发明公开了一种低目标特性的船用可倒栏杆,包括多个设在甲板上的底座、设于底座上的立柱以及用于连接立柱的若干条档管;所述底座设有铰接端、固定端和定位插销,铰接端顶部与立柱固定连接,铰接端底部与固定端通过定位插销铰接和限位,铰接端可绕固定端转动,固定端的底部与甲板固定连接;所述立柱以及上档管横截面采用正六边形,其他档管的横截面采用正菱形。栏杆采用可倒设计,栏杆的立柱和档管采用正六边形和正菱形的横截面设计,底座的座板、腹板和连接板采用内倾设计,以上设计均减少栏杆的雷达截面积;栏杆使用玻璃钢复合材料,对栏杆整体涂隐身涂层,降低栏杆的雷达截面积及红外辐射特性。

标签:
复合材料
江苏 - 无锡 来源:中冶有色网 2023-03-18
泡沫镍上负载NiTe@NiFe的复合催化剂及其制备方法和应用

本发明提供了一种泡沫镍上负载NiTe@NiFe的复合催化剂及其制备方法和应用,属于复合材料制备技术领域;本发明中,首先在泡沫镍上负载NiTe得到催化剂NiTe/NF,然后将其作为工作电极,以含有铁盐和镍盐的溶液为电镀液,制备得到泡沫镍上负载NiTe@NiFe的复合催化剂,记为NiTe@NiFe/NF复合催化剂;所述NiTe@NiFe/NF复合催化剂对水分解的析氧半反应表现出了优异的电催化性能。

标签:
复合材料
江苏 - 无锡 来源:中冶有色网 2023-03-18
提高绝缘层与氧化铝板结合力的方法

本发明涉及复合材料技术领域,尤其涉及一种提高绝缘层与氧化铝板结合力的方法。所述方法为在氧化铝板表面喷涂胶黏剂,使氧化铝板与绝缘层之间形成一层连接层,所述胶黏剂由丙烯酸树脂、偶联剂、聚醚多元醇、引发剂、异氰酸酯交联剂、溶剂组成。本发明通过添加钛酸酯偶联剂,制得对氧化铝材质粘接力学性能优良的粘合剂产品。本发明制得的胶黏剂抗老化性能好,极大地提高了产品的使用寿命及应用安全性。

标签:
复合材料
江苏 - 无锡 来源:中冶有色网 2023-03-18
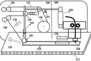
基于熔融沉积技术的复杂承力部件成形装置

本发明属于热塑性复合材料复合成形相关技术领域,其公开了一种基于熔融沉积技术的复杂承力部件成形装置,所述装置包括纤维铺放系统以及熔融沉积系统,其中:纤维铺放系统,包括送料盘、压辊以及激光加热单元,其中,送料盘用于装设预浸带,压辊用于将预浸带加压成形后送至熔融沉积系统的成形台,激光加热单元用于对预浸带进行加热;熔融沉积系统,包括打印头、成形台以及红外预热单元,成形台设有加热单元,加热单元与红外预热单元为打印头提供开放式工作环境下的温度场需求;工作模式切换与防干涉系统包括气缸螺杆和步进螺杆,用于控制压辊和熔融沉积系统的工作。本申请可以实现承力和功能结构件的一体化制造,具有重大的工程应用价值。

标签:
复合材料
江苏 - 无锡 来源:中冶有色网 2023-03-18
电容分布式碳纤维复合板及其制备方法与应用

本发明提供一种电容分布式碳纤维复合板及其制备方法与应用,属于碳纤维复合材料领域。该碳纤维复合板包括:环氧树脂封装的碳纤维层和传感纤维层,两个所述碳纤维层之间设有一个所述传感纤维层;所述碳纤维层包括碳纤维布,所述传感纤维层包括漆包丝。本发明公开的电容分布式碳纤维复合板对刚性影响低、能承受更大的冲击力、具有较高的抗干扰能力与灵敏度。本发明提供的碳纤维复合板力学性能优异,可用作汽车内板材或者航天器表面。本发明还公开了上述碳纤维复合板的制备方法及使用该碳纤维复合板制备的传感器,传感器的力检测空间精度为最小可达0.01mm‑2,还可应用于触摸板等人机交互场景中。

标签:
复合材料
江苏 - 无锡 来源:中冶有色网 2023-03-18
上一页 500 501 502 503 504 ... 786 下一页
共786页    到第

中冶有色为您提供最新的江苏无锡有色金属材料制备及加工技术理论与应用信息,涵盖发明专利、权利要求、说明书、技术领域、背景技术、实用新型内容及具体实施方式等有色技术内容。打造最具专业性的有色金属技术理论与应用平台!

全国热门有色金属设备推荐
展开更多 +
全国热门有色金属技术推荐
展开更多 +

 

江西省隆恩特环保设备有限公司
宣传

报名参会
更多+

2025年10月15日 ~ 17日
2025年10月17日 ~ 19日
2025年10月31日 ~ 11月02日
2025年11月07日 ~ 09日

报告下载

有色专家
更多+

中南大学
中国工程院院士
有研资源环境技术研究院(北京)有限公司
副总经理/教授级高工
北京科技大学
副院长/教授
重庆理工大学
教授
长沙有色冶金设计研究院有限公司
党委书记、董事长
赤泥综合利用研究报告2025
推广

热门技术
更多+

推荐企业
更多+

福建省金龙稀土股份有限公司
宣传

发布

在线客服

公众号

电话

顶部
咨询电话:
010-88793500-807