青岛垚鑫智能科技有限公司
宣传

位置:中冶有色 >

有色技术频道 >

分类:
全部
矿山技术
冶金技术
材料制备及加工技术
环境保护技术
分析检测技术
 
全部
废水处理技术
大气治理技术
固/危废处置技术
土壤修复技术
地区:
全部
北京
天津
上海
重庆
河北
山西
辽宁
吉林
黑龙江
江苏
浙江
安徽
福建
江西
山东
河南
湖北
湖南
广东
海南
四川
贵州
云南
陕西
甘肃
青海
内蒙
广西
西藏
宁夏
新疆
其他
其他
展开
 
全部

有色金属环境保护技术理论与应用

免费发布技术信息>>
用于印染废水的污水处理剂及其制备方法

本发明公开了一种用于印染废水的污水处理剂,由以下按照重量份的原料组成:烷基酚聚氧乙烯醚0.5?0.8份、纤维素酶0.2?0.4份、果胶酶1.3?2.0份、淀粉24?29份、过硫酸铵2?3份、聚合硫酸铁1?3份、钠基膨润土8?13份、麦麸15?20份、硅藻土13?17份、沸石6?9份、菌液6?10份。本发明还提供了所述用于印染废水的污水处理剂的制备方法。本发明制备的污水处理剂对印染废水处理效果好,经过处理后的印染废水的各项指标均达到了国家排放标准,且成本低廉,处理效果好,有利于提高企业的经济效益。

标签:
废水处理
浙江 - 金华 来源:中冶有色网 2023-03-19
废水有机物降解设备
废水有机物降解设备 1092     
 0

本发明公开了一种废水有机物降解设备,包括废水池,所述废水池的右侧设有进水管,且所述进水管嵌入设置在废水池中,所述废水池的右侧端设有降解箱,且所述降解箱通过进水管与废水池固定连接,所述进水管的外壁设有出水管道,且所述出水管道贯穿设置在进水管中,所述降解箱的内部设有吸附板。该种废水有机物降解设备设有铁催化器,且铁催化器稳定性强,当废水经过铁催化器时,铁催化器内部的铁离子与废水中的氯离子发生化学反应,完成等离子替代,通过铁催化器有效的进行催化过氧化氢而发生氧化反应,将环境中难以降解的氯酚类化合物迅速转化为无机物种,避免了产生持久性的含氯有机污染物对水质造成污染,从而达到净化作用。

标签:
废水处理
江苏 - 苏州 来源:中冶有色网 2023-03-19
含镍、铜离子的废水处理方法

本发明涉及重金属污废水处理领域,公开了一种含镍、铜离子的废水处理方法。其包括:过滤废水,在所述废水中含有含镍、铜离子;将废水通过装有重金属吸附材料的吸附交换柱,使所述沉镍废水中的镍、铜离子被重金属吸附材料吸附在所述装有重金属吸附材料表面,将吸附交换后的废水排出至中和池,在所述中和池中投入中和剂中和,外排中和后的达标废水;往所述装有重金属吸附材料的吸附交换柱加入硫酸溶液,所述硫酸溶液反洗所述重金属吸附材料,解吸吸附在所述重金属吸附材料表面的重金属,其对废水的处理更加高效且易于实施,同时保护环境。

标签:
废水处理
北京 - 北京 来源:中冶有色网 2023-03-19
热镀锌酸洗废水的处理和制备碳负载铁-锌二元金属复合材料的方法

本发明公开了一种热镀锌酸洗废水的处理方法及制备碳负载铁‑锌二元金属复合材料的方法,属于化学工程和环境工程技术领域,包括如下步骤:S1:向酸洗废水中加糠醛渣;S2:搅拌;S3:过滤,得到滤饼和滤液,滤液作为热镀锌生产用水进行再利用;S4:把步骤S3得到的滤饼在真空条件下进行高温热裂解反应,再降温到室温,即得到生物碳负载铁‑锌二元金属复合材料。本发明将酸洗废水中亚铁离子含量降低到0.1%以下,可以回用于热镀锌生产,避免了废水排放,减少了环境污染,降低了热镀锌的综合生产成本;制备的生物碳负载铁‑锌二元金属复合材料又可作为吸附剂用于污水处理行业脱除污水中的氨氮。

标签:
废水处理
河北 - 沧州 来源:中冶有色网 2023-03-19
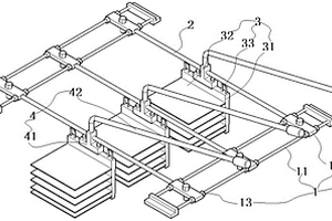
高浓度有机废水高级氧化装置

本实用新型公开一种高浓度有机废水高级氧化装置,包括左右间隔设置的滑架部件;滑架部件之间滑动连接有若干个有机废水氧化加热板组件;滑架部件均包括两个左右间隔设置的滑动长螺杆,所述滑动长螺杆上均滑动连接有若干个滑动板;有机废水氧化加热板组件均包括固定连接在滑动板之间的滑动杆,所述滑动杆上均滑动连接有加热件;加热件均包括滑动连接在滑动杆上的加热铜座板,加热铜座板上固定连接有若干个加热电阻;加热铜座板的侧壁上固定连接有若干个上下间隔设置的传热翅板;加热件的顶部装配连接有推动部件。采用上述装置部件设计,实现在高浓度有机废水处理过程中,能够快速加热废水进行氧化降解处理,提高了废水处理效率。

标签:
废水处理
江苏 - 常州 来源:中冶有色网 2023-03-19
用于处理医药中间体废水的电化学氧化-MBR系统

本实用新型公开了一种用于处理医药中间体废水的电化学氧化‑MBR系统。其特征在于:废水进入格栅渠和预曝气调节池,格栅渠和预曝气调节池合建。预曝气调节池通过管道连接电化学氧化池,电化学氧化池通过管道连接外循环池,外循环池通过管道连接MBR池,经MBR池处理后的废水直接达标排放。本实用新型为一种安全有效、工艺简单、操作方便、投资较少,专门用于处理制药行业医药中间体废水的电化学氧化‑MBR系统,实现对医药中间体废水的有效治理,使得医药中间体废水污染物质有效降解,出水符合国家规定的标准。

标签:
废水处理
河南 - 郑州 来源:中冶有色网 2023-03-19
自动化净化废水微颗粒悬浮物的装置

本实用新型公开了一种自动化净化废水微颗粒悬浮物的装置,其结构包括筒体,辅助清理装置,用于对废水顶部表面悬浮物进行辅助清理;观察窗,用于对筒体内部废水净化进行观察;进水口,用于将废水导入筒体内,电机带动驱动机构进行活动,转轴带动连接杆转动,连接杆带动刮板在筒体顶部转动,刮板带动收集网对废水顶部微颗粒悬浮物进行收集,达到辅助清理废水顶部微颗粒悬浮物的效果,通过在壳体内部设置了驱动机构,通过电机带动半弧板转动,使滑轮在半弧板右端滑动,滑轮带动活动板活动,活动板带动卡件活动,卡件带动棘轮进行转动,棘轮带动转轴进行转动,达到驱动转轴的效果,本装置使用方便操作简单,有效的提高了工作效率。

标签:
废水处理
山东 - 泰安 来源:中冶有色网 2023-03-19
新型酸洗磷化废水处理装置

本实用新型公开了一种新型酸洗磷化废水处理装置,包括废水沉淀池,所述废水沉淀池的左侧面和右侧面均固定连接有轨道支撑块,每个所述轨道支撑块的上表面均开设有轨道槽,两个所述轨道槽的内壁分别滑动连接有支撑竖块一和支撑竖块二。该种新型酸洗磷化废水处理装置,通过设置U型过滤框、污泥刮框等部件,通过U型过滤框部件与污泥刮框部件之间相互的配合关系,使得U型过滤框部件能够通过细密的过滤孔对污泥进行过滤,进而达到了本装置能够通过污泥刮框与U型过滤框的相互错位推污泥进行推出的效果,解决了现今的新型酸洗磷化废水处理装置,当废水沉淀池内面积较大,沉淀后的污泥在排出时,效率低,耗时长的问题。

标签:
废水处理
山东 - 青岛 来源:中冶有色网 2023-03-19
具有检测功能的废水回收装置

本实用新型涉及废水回收装置技术领域,尤其为一种具有检测功能的废水回收装置,包括废水回收机,所述废水回收机左侧固定连接有第一水箱,所述第一水箱左侧固定连接有连接管,所述第一水箱内侧上端固定连接有第一传感器,所述废水回收机上侧中间位置处固定连接有信息处理器,所述废水回收机右侧固定连接有第二水箱,本实用新型通过设置的第二水箱、过滤板和收集箱,在污水进入第二水箱后由过滤板进行过滤隔离,将颗粒性杂质隔离在第二水箱右侧,然后通过电机带动螺旋叶片将第二水箱右侧的杂质推入收集箱中,定时大块盖子清理收集箱中的杂质即可,避免了污水中的颗粒性杂质进入污水回收机,延长了污水回收机的使用寿命。

标签:
废水处理
天津 - 天津 来源:中冶有色网 2023-03-19
含异丙醇的有机废水的处理设备

一种含异丙醇的有机废水的处理设备,包含浓缩装置、气液接触反应器以及气体燃烧装置。浓缩装置接收含异丙醇的有机废水,并将含异丙醇的有机废水加以浓缩为浓缩有机废水。气液接触反应器连接浓缩装置,接收浓缩有机废水,并将浓缩有机废水分离成有机废气及处理水。气体燃烧装置连接气液接触反应器,接收有机废气,将有机废气燃烧成处理气体。通过浓缩装置能增加整体处理的效率,并通过燃烧处理直接将有机废气处理成无害的处理气体,增进整体处理的效能、且不会有额外的衍生事业废弃物的清运费用。

标签:
废水处理
江苏 - 苏州 来源:中冶有色网 2023-03-19
含氨废水多级电解处理装置

本实用新型涉及含氨废水多级电解处理装置,由多级电解装置串联组成,各级电解装置之间设有电动阀,所有电动阀的开关接入远程控制系统;各级电解装置出水口均设置逆止阀;装置的总进水口和总出水口分别设有氨表,氨表接入远程控制系统。本实用新型的有益效果是:能够根据实际废水的水质来灵活调整废水处理工艺,从而保证出水的水质;在实现连续进出水的前提下,有效提高了装置的最大氨氮去除能力,至少能够处理氨氮浓度500mg/L以上的废水;本实用新型可以根据废水的氨氮浓度手动或自动调整电解装置的级数与电解电流,降低了设备的建设成本和运行成本,提高了电解法处理氨氮废水的经济性。

标签:
废水处理
浙江 - 杭州 来源:中冶有色网 2023-03-19
用于煤矿井下掘进中锚杆作业的废水循环利用装置

本实用新型属于煤矿井下掘进开采作业领域,具体涉及一种用于煤矿井下掘进中锚杆作业的废水循环利用装置,解决了煤矿巷道锚杆作业中产生的废水容易造成地面沉积导致水沟、塌洼区甚至危及巷道安全的问题,包括锚杆机、废水净化集水箱和PLC控制系统,废水收集管连接有废水净化集水箱,废水净化集水箱内设置有过滤室和净水室,净水室内设置有风泵、下液位传感器和上液位传感器,风泵连接有净化水出水管。本实用新型通过对净水室中的水位监测自动实现锚杆作业在净化水和清水源间的切换,不仅提高了巷道安全性能,而且节约了大量成本,更大程度上改善了煤矿巷道掘进作业的工作环境,值得大面积推广使用。

标签:
废水处理
山西 - 长治 来源:中冶有色网 2023-03-19
无废水RO反渗透水处理设备

本实用新型涉及一种水处理装置,尤其是一种无废水RO反渗透水处理设备,包括对原水进行初步处理的多级预处理装置、用于对原水净化为直饮水的过程中产生的废水进行过滤使所述废水重新排入所述净水系统进行再循环的特虑箱、RO膜装置和第一存水箱;所述的各种装置通过管道连接在一起。本实用新型的一种无废水RO反渗透水处理设备:增加特滤箱,专门对废水中的杂质和反冲洗膜中的杂质进行过滤,使水质达到能够排入原水管道的标准,杜绝了废水的排放,提高了水资源的利用率;增加反冲洗水路,极大的降低了RO膜的损耗,提高了RO膜的使用寿命,并且与传统售水机RO膜的使用寿命相比较,使用周期更长、损耗小,过滤效果更好。

标签:
废水处理
北京 - 北京 来源:中冶有色网 2023-03-19
电泳涂装用废水回收装置

本实用新型公开了一种电泳涂装用废水回收装置,包括回收箱、废水进水管、搅拌器、吸水器、支撑杆、排水管、V型挡板、过滤口、活性炭,所述废水进水管安装在所述回收箱的一侧,所述支撑杆安装在所述回收箱的上端,所述搅拌器固定在所述支撑杆上,所述吸水器固定在所述回收箱箱体内隔板上,所述V型挡板安装在所述回收箱内,所述过滤口安装在所述V型挡板上,所述活性炭放置在所述V型挡板上端,所述排水管安装在所述回收箱下端。本实用新型通过搅拌器搅拌污水后,实现废水的油性物质、颗粒物质和污水分离,通过V型挡板快速过滤废水,并将分离后残留在V型挡板上的污泥通过第一箱体的排污管快速排出,避免过多污泥堵塞过滤口,影响废水处理效果。

标签:
废水处理
湖北 - 襄阳 来源:中冶有色网 2023-03-19
油脂加工高磷废水中磷的回收方法

一种油脂加工高磷废水中磷的回收方法,涉及污水处理与资源化的技术领域。包括以下步骤:1)将油脂加工产生的高磷废水投入到厌氧水解反应器中,接种厌氧污泥;2)控制高磷废水使磷脂水解产生PO43‑,蛋白质水解产生NH4+;3)通过沉淀池将废水与污泥分离,在废水中加入镁盐和碱,充分搅拌反应,然后静置使废水中的PO43‑以MgNH4PO4·6H2O晶体的形式沉淀。针对油脂加工产生高磷废水的特点,采用廉价的生物水解方法,使磷脂充分水解生成PO43‑,蛋白质水解生成NH4+,可以大大提高MgNH4PO4·6H2O晶体的回收率,降低回收成本,为植物油脂加工高含磷废水的磷回收提供简便有效的方法。

标签:
废水处理
福建 - 厦门 来源:中冶有色网 2023-03-19
高氮印花废水处理回用系统及其使用方法

本发明涉及一种高氮印花废水处理回用系统及其使用方法,包括4个子系统:1#子系统:印花前处理工段高浓度有机废水处理系统,2#子系统:印花工段高氮废水处理系统,3#子系统:膜深度处理及回用系统,4#子系统:污泥减量化处理系统。根据印花工艺各个工段水质水量的不同,分别收集并进行分质处理与回用,其中前处理废水、印花废水和漂洗废水分别进入进入1~3#子系统进行处理,产生的污泥进入4#子系统进行减量化处理。该系统采用厌氧氨氧化技术,解决了该类废水炭氮比严重失调的问题。该方法系统高度集成,控制精准,可有效解决印花废水脱氮难,成本高的问题,同时实现污泥减量化。

标签:
废水处理
上海 - 上海 来源:中冶有色网 2023-03-19
三元废水预处理方法及系统

本发明涉及废水处理技术领域,提供一种三元废水预处理方法及系统,三元废水预处理方法包括:利用耐碱性超滤膜对生产废水进行超滤处理,获得超滤产水和超滤浓水;将超滤产水排入下一工艺段,并对超滤浓水进行压滤处理以获得压滤固渣和压滤滤液;将压滤固渣外排,并将压滤滤液混入待处理的生产废水中再次进行超滤处理。本发明提供的三元废水预处理方法及系统,直接利用耐碱性超滤膜对生产废水进行超滤处理,对废水中的杂质和碱性重金属沉淀进行有效截留,保证过膜后的产水(超滤产水)可以直接进入后续工艺段;省去高密沉淀池等设备,减少药剂投加量,相比传统工艺减少工艺步骤,减少处理设施占地面积,有利于提高系统自动化程度,减少操作人员。

标签:
废水处理
江苏 - 苏州 来源:中冶有色网 2023-03-19
戊唑醇农药生产废水处理及硫酸钾盐资源回收方法

本发明公开了一种戊唑醇农药生产废水处理及硫酸钾盐资源回收方法,属于农药废水处理技术领域。本发明的处理方法为:将戊唑醇农药生产工艺中烯酮、缩合生产工段废水和环氧生产工段进行分开收集和处理,其中烯酮、缩合生产工段废水采用吹脱‑微电解‑芬顿氧化‑中和沉淀处理,而环氧生产工段废水采用树脂吸附处理并回收硫酸钾,最终将两种方式处理后的出水合并进入生化处理。所述处理方法克服了现有技术中烯酮、缩合生产工段产生的可降解废水与环氧生产工段的难降解废水混合处理时后续处理效果不好的问题,且废水中硫酸钾盐实现了资源化回收利用。

标签:
废水处理
江苏 - 盐城 来源:中冶有色网 2023-03-19
染料废水的资源化处理方法

本发明公开了一种染料废水的资源化处理方法,属于废水处理技术领域,包括如下步骤:①过滤;②初次吸附;③中和;④二次吸附;⑤低温催化氧化;⑥浓缩蒸发;⑦生化处理。该染料废水的资源化处理方法将废水中残余的染料、废水中的催化剂和盐分得到回收利用,达到废水资源化目的,废水处理效果良好能够稳定达标排放,同时能够大大提高废水的生化性,保证后续生化系统的稳定运行,并且完全避免了固废及二次环境污染。

标签:
废水处理
浙江 - 绍兴 来源:中冶有色网 2023-03-19
处理含水溶性聚合物废水的方法

一种处理含水溶性聚合物废水的方法,包括以下步骤:(1)调节含水溶性聚合物废水pH值为8-13.5;(2)按0.01mol/L-0.3mol/L的浓度向含水溶性聚合物的废水中投入反应剂MgCl2,室温下搅拌30-40分钟,在搅拌过程中,MgCl2完全解离成Mg2+和Cl-离子,Mg2+与HPAM完全混溶,然后按0.02mol/L-0.6mol/L的浓度在上述反应体系中投放反应剂NaOH,继续搅拌反应,逐渐形成絮状聚集体;(3)对含水溶性聚合物的废水进行振荡,振荡速度为150转/分钟-180转/分钟,振荡时间为10分钟-6小时,然后离心沉降10分钟-20分钟;(4)达标后排放。该方法简单,操作方便,适合大规模处理,处理效率高。

标签:
废水处理
山东 - 济南 来源:中冶有色网 2023-03-19
废水回收工艺
废水回收工艺 996     
 0

本发明具体公开了一种废水回收工艺,包括步骤一:对废水进行蒸发处理得到废水蒸汽;步骤二:利用陶瓷膜对废水蒸汽进行过滤,然后将过滤后的废水蒸汽冷凝成为凝结水;步骤三:通过离子交换装置对凝结水进行离子交换得到透过液;步骤四:通过反渗透装置对透过液进行反渗透得到渗透液;步骤五:收集渗透液进行。该方案对废水进行第一步处理就可以不必在澄清池内进行长时间沉淀,也无需加入化合物对废水中的盐类进行溶解,即可得到去除了大部分硬度的废水,而且形成了连续的过程。因此,本方案更为节约时间和成本。

标签:
废水处理
贵州 - 遵义 来源:中冶有色网 2023-03-19
三氯硫磷生产废水减排及净化处理的方法

本发明提供了一种三氯硫磷生产废水减排及净化处理的方法,其特征在于:将三氯硫磷储罐吸收水循环使用作为反应釜洗锅水和反应釜尾气碱吸收水;将所述反应釜洗锅水和反应釜尾气碱吸收水混合成生产废水,在所述生产废水中加入氧化剂进行氧化反应后,过滤得到生产废水滤液;在所得生产废水滤液中加入除磷剂进行深度除磷,将所得净化达标的生产废水排放。本发明方法工艺流程简捷,操作方便,成本较低,污染物去除率高,因此,本发明具有很好的推广价值。本发明方法能有效去除废水中的污染物,处理后废水中不含S2?离子,磷、Al3+、COD的质量浓度下降,水质清澈透明,达到国家排放标准。

标签:
废水处理
湖北 - 荆州 来源:中冶有色网 2023-03-19
高浓度含盐废水处理工艺

本发明涉及一种高浓度含盐废水处理工艺,步骤为:将高浓度含盐废水送至调节池中,然后通过进料泵泵送进入预热器;预热处理后的废水进入三效蒸发器,进行蒸发浓缩,经过三效蒸发后的废水进入厌氧反应器,废水经过厌氧反应器后进入接触氧化池,将废水中的有机物氧化分解,达到净化目的;净化后的废水进入二沉池,在二沉池内对废水进行泥水分离外以及污泥浓缩;厌氧反应器内的剩余污泥以及二沉池内的污泥均进入污泥池中,污泥池中的污泥通过调理池调理后,采用板框压滤机压滤,压滤生成的泥饼外运处理。本发明的优点在于:高效节能,极大地降低工程运行费用,同时减少污泥产量,并考虑污泥的最终处置。

标签:
废水处理
江苏 - 南通 来源:中冶有色网 2023-03-19
白腐真菌膜生物法活性染料废水处理方法及装置

本发明涉及一种白腐真菌膜生物法活性染料废水处理方法及装置,属于环境工程技术领域,能够应用在活性染料废水处理中。运用本发明提供的白腐真菌膜生物法处理活性染料废水装置,将白腐真菌菌丝球倒入组合生化填料4处理区中,开启曝气机2让空气通过穿孔管3进入白腐真菌生化处理区供氧,活性染料废水通过进水管1进入白腐真菌生化处理区,再通过钢丝网6进入膜分离区,开启抽吸泵10,净化后的出水经中空纤维膜9和出水管11排出。本发明能减小处理装置体积、缩短处理时间、提高装置耐冲击负荷性能、提高白腐真菌产酶稳定性等有益效果。

标签:
废水处理
上海 - 上海 来源:中冶有色网 2023-03-19
二氧化碳软化处理电厂污废水的方法

本发明公开了一种二氧化碳软化处理电厂污废水的方法,包括向污废水通二氧化碳反应调节pH值、向污废水投加试剂去除钙离子、加酸调节pH值为中性后回用、清洗过滤废弃物并回收出水以及回收石灰石的步骤。本发明利用小颗粒石灰石作为碳酸钙结垢核心,石灰石吸附碳酸钙后逐渐变大,大颗粒的石灰石重新回用至脱硫系统;向澄清池仅加入氢氧化钠和石灰石,保证排放的废水可以全部回收至澄清池,过滤器反洗水可以全部回收至澄清池;具有无污泥外排、无废水外排、处理成本低的优点。

标签:
废水处理
河北 - 石家庄 来源:中冶有色网 2023-03-19
铝阳极氧化废水处理方法

本发明公开了一种铝阳极氧化废水处理方法,包括如下步骤:(1)车间酸碱水混排;(2)沉淀池沉淀;(3)中和池中和处理;(4)气浮池气浮刮泥;(5)过滤。本发明可降低废水排放量,实现节能减排或零排放,降低环保处理成本,废水中主要污染物的检测结果达二级标准;本发明可使废水回用生产,有利于节能环保、产能扩大,降低生产成本。

标签:
废水处理
安徽 - 滁州 来源:中冶有色网 2023-03-19
印染废水深度处理回用系统及方法

本发明公开了一种印染废水深度处理回用系统及方法。该系统包括中间水池、酸化池、盐水池、电化学系统、pH中和池和回用水池;所述中间水池、酸化池、电化学系统、pH中和池和回用水池依次连接;所述盐水池的输入端与中间水池相连,输出端与电化学系统相连。方法包括步骤:将经过传统印染废水厌氧-好氧-混凝处理的尾水经中间水池均量均质后引入酸化池中,用硫酸将尾水pH值调至酸性,再将酸化的尾水泵入电化学系统中;与盐水池输入的浓盐水混合后进行电解氧化;然后将电解氧化后的尾水引入pH中和池中,用烧碱调pH至7~9,最后送入回用水池中进行排放或回用。本发明不需另外添加任何氧化还原剂,运行费用低,且无二次污染。

标签:
废水处理
广东 - 广州 来源:中冶有色网 2023-03-19
含铬废水处理的方法
含铬废水处理的方法 910     
 0

本发明公开了一种含铬废水的处理方法,包括含铬废水pH调节,还原,重金属捕获,中和,微滤膜过滤,纳滤浓缩,电渗析浓缩等步骤。经该发明提供的方法处理后,污泥得以回收,含铬废水中的水经脱盐后达到六价铬0.05mg/L、总铬0.1mg/L的严苛排放标准,同时浓缩液也可以回收利用。本发明的处理方法,为含铬废水提供了一条既能满足特别限值排放标准,又能带来资源回收利用的途径。

标签:
废水处理
上海 - 上海 来源:中冶有色网 2023-03-19
利用硫铁矿处理硫化矿矿山废水的方法

本发明公开了一种利用硫铁矿处理硫化矿矿山废水的方法。硫化矿矿山废水中含有硫化矿捕收剂,将硫铁矿破碎粉磨,然后将得到的硫铁矿颗粒与硫化矿矿山废水充分接触并反应一段时间,从而加速废水中硫化矿捕收剂的降解。本发明的一种利用硫铁矿处理硫化矿矿山废水的方法,该方法创新性地将硫化矿矿山常见的低值共伴生硫铁矿作为废水处理剂,利用硫铁矿自身氧化过程产生的活性氧等物质与矿山废水中的残留药剂反应从而促进其降解,在无需外加其他化学试剂的情况下,使矿山废水能够满足硫化矿矿山对矿山废水处理效果的要求,能够显著提高废水中硫化矿捕收剂的降解速率,缩短降解周期,无需调节pH、温度等参数,环境友好。

标签:
废水处理
湖北 - 武汉 来源:中冶有色网 2023-03-19
光催化-双氧水协同氧化处理苯胺废水的方法及装置

本发明提供了一种光催化-双氧水协同氧化处理苯胺废水的方法及装置。该方法包括以下步骤:向苯胺废水中加入盐酸调节废水的pH值至酸性,然后加入双氧水,混合反应并过滤后,对滤液进行光催化反应,完成对于苯胺废水的光催化-双氧水协同氧化处理。本发明还提供了一种光催化-双氧水协同氧化处理苯胺废水的装置,该装置包括:废水池(1)、盐酸加药设备(2)、双氧水加药设备(3)、调节罐(4)、过滤器(5)、光催化设备(6)、清水池(7)。本发明所提供的光催化-双氧水协同氧化处理苯胺废水的方法不仅可以缩短处理苯胺废水的时间,而且矿化率高,可以处理高浓度的苯胺废水。

标签:
废水处理
北京 - 北京 来源:中冶有色网 2023-03-19
上一页 5001 5002 5003 5004 5005 ... 5981 下一页
共5981页    到第

中冶有色为您提供最新的有色金属环境保护技术理论与应用信息,涵盖发明专利、权利要求、说明书、技术领域、背景技术、实用新型内容及具体实施方式等有色技术内容。打造最具专业性的有色金属技术理论与应用平台!

全国热门有色金属设备推荐
展开更多 +
全国热门有色金属技术推荐
展开更多 +

 

江西省隆恩特环保设备有限公司
宣传

报名参会
更多+

2025年10月15日 ~ 17日
2025年10月17日 ~ 19日
2025年10月31日 ~ 11月02日
2025年11月07日 ~ 09日

报告下载

有色专家
更多+

郑州大学
中国工程院 院士
广东省科学院资源利用与稀土开发研究所
教授
长沙矿冶研究院有限责任公司
中国工程院院士
长沙矿冶研究院
总经理
紫金矿业信息化研发中心
副总经理
赤泥综合利用研究报告2025
推广

热门技术
更多+

推荐企业
更多+

福建省金龙稀土股份有限公司
宣传

发布

在线客服

公众号

电话

顶部
咨询电话:
010-88793500-807