青岛垚鑫智能科技有限公司
宣传

位置:中冶有色 >

有色技术频道 >

分类:
全部
矿山技术
冶金技术
材料制备及加工技术
环境保护技术
分析检测技术
 
全部
功能材料技术
复合材料技术
新能源材料技术
合金材料技术
加工技术
地区:
全部
北京
天津
上海
重庆
河北
山西
辽宁
吉林
黑龙江
江苏
浙江
安徽
福建
江西
山东
河南
湖北
湖南
广东
海南
四川
贵州
云南
陕西
甘肃
青海
内蒙
广西
西藏
宁夏
新疆
其他
其他
展开
 
全部
上海

上海上海有色金属材料制备及加工技术理论与应用

免费发布技术信息>>
钢结构水箱防渗漏加固结构

本实用新型公开了一种钢结构水箱防渗漏加固结构,属于加固结构技术领域。它包括水箱本体、玻璃纤维复合材料板和固定固化结构,玻璃纤维复合材料板贴合在水箱本体的裂缝处,固定固化结构包括安装板,安装板的边缘处固定连接有多个连接杆,多个连接杆均通过万向节连接有真空吸盘,多个真空吸盘均与水箱本体可拆卸连接,安装板上螺接有螺杆,螺杆的末端通过万向节连接有压板,压板与玻璃纤维复合材料板相抵。本实用新型通过玻璃纤维复合材料板的设置,直接粘贴在水箱的裂缝处,操作省时省力,较大较小的裂缝均可以防漏,且防漏效果好,同时该玻璃纤维复合材料板在起到防漏效果的同时,本身强度极高,对水箱粘贴的部位进行加固,防止再次出现裂缝。

标签:
复合材料
上海 - 上海 来源:中冶有色网 2023-03-18
轻量化铝塑复合汽车防撞梁

一种轻量化铝塑复合汽车防撞梁,包括横梁和安装在横梁左右两侧的吸能盒,横梁包括铝合金基体和纤维增强热塑性复合材料衬板,纤维增强热塑性复合材料衬板贴合在铝合金基体的内侧面,铝合金基体和纤维增强热塑性复合材料衬板之间由粘胶层粘结固合。本实用新型的横梁采用粘合为一体的铝合金基体和纤维增强热塑性复合材料衬板构成,可以大大降低横梁重量,复合轻量化的设计理念;在横梁中段最容易开裂的位置再粘贴一块纤维增强热塑性复合材料板,形成局部加强结构,可以显著提高防撞梁的刚性。本实用新型横梁与现有铝制品的横梁相比,在安全性能、机械性能相当的条件下可以减重约30%,轻量化效果明显。

标签:
复合材料
上海 - 上海 来源:中冶有色网 2023-03-18
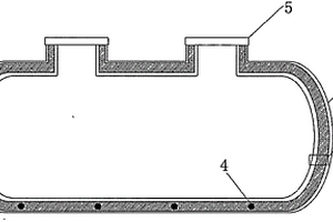
埋地储油双层罐
埋地储油双层罐 779     
 0

本实用新型公开了一种埋地储油双层罐,所述埋地储油双层罐包括原有油罐、粘胶层、多层软体复合材料内罐,多层软体复合材料内罐包括软质内层、中空层,或软质内层、中空层、软质外层,所述多层软体复合材料内罐固定连接后组成一个封闭腔体,本实用新型中空层纵横贯通,多层软体复合材料内罐与原有油罐连接。本实用新型的多层软体复合材料内罐可直接粘接于原单层油罐内壁,免去上层建筑及油罐自身拆除重建工作,节省成本,节约资源,停业时间短,安装便捷,机械强度高。

标签:
复合材料
上海 - 上海 来源:中冶有色网 2023-03-18
分层式石墨复合双极板及其加工系统

本实用新型涉及一种分层式石墨复合双极板及其加工系统,分层式石墨复合双极板包括中间层和设置于中间层两侧的表面层,中间层为热塑性树脂/石墨复合材料板材,表面层为热固性树脂/石墨复合材料层,且表面层的外表面具有流道结构。与现有技术相比,本实用新型通过利用热塑性复合材料制作中间层,在制作过程中辅助提高了热固性复合材料的给料精度,同时有助于缓解高碳含量下热固性复合材料成型可靠度低的问题;此外,分层式极板中高树脂含量的中间层提升了双极板的抗弯强度和气密性,高碳含量的表面层提升了其电导率;依靠不同功能层的分别优化实现了双极板整体性能的提升,同时制备工艺简便,有利于批量生产,具有较高的实用价值。

标签:
复合材料
上海 - 上海 来源:中冶有色网 2023-03-18
加油站地下储油罐内衬结构

一种加油站地下储油罐内衬结构,要解决现有地下储油钢罐腐蚀渗漏技术问题,其技术方案为:地下储油罐内腔,自储油罐钢罐本体内表面始,由外向里依次置有外层玻璃纤维增强复合材料、中间间隙层和内层玻璃纤维增强复合材料;外层玻璃纤维增强复合材料与地下储油罐钢罐本体内表面紧密贴合连成一体,外层玻璃纤维增强复合材料的另一侧面通过中间间隙层与所述内层玻璃纤维增强复合材料邻接;防雷防静电接地、泄漏检测信号引出线经中间间隙层,从地下储油罐的入孔引出。具有无需现场开挖、无需报批、施工周期短、综合成本低等优点,改造后的油罐有完整的双层结构,符合国家标准,特别适合于城市中心及水源保护地等加油站的改造。

标签:
复合材料
上海 - 上海 来源:中冶有色网 2023-03-18
保温硬毡
保温硬毡 1138     
 0

本实用新型公开了一种保温硬毡,包括C/C复合材料层和保温硬毡,保温硬毡的表面覆盖有C/C复合材料层。保温硬毡为将5mm‑10mm 厚的薄毡按照需要的厚度粘接而成,薄毡为石墨纤维制成。C/C复合材料层是一种纯炭多相结构。保温硬毡和C/C复合材料层之间通过粘合剂黏贴,粘合剂为含碳粘合剂。保温硬毡为矩形。该方案在原有的保温硬毡表面覆盖C/C复合材料,使保温硬毡既能保证其保温效果好,又能保证其强度高,解决了现有的保温硬毡强度低的缺陷。

标签:
复合材料
上海 - 上海 来源:中冶有色网 2023-03-18
舰船用多层防辐射产品

本实用新型涉及新材料技术领域,且公开了一种舰船用多层防辐射产品,包括防辐射屏蔽复合材料和堆仓的优化设计,屏蔽复合材料为三层,且屏蔽复合材料的三层中设置有金属夹层,该舰船用多层防辐射产品,新方案设计屏蔽层厚度约为1米即可达到原屏蔽效果,故可以减小空间至少15%;2、相比原方案按照铅板密度11.34g/cm3,屏蔽材料设计厚度约为0.6米,而本项目新材料密度约为5.5g/cm3,屏蔽材料设计厚度约为1米,结果在保证原屏蔽效果的前提下,可减轻结构重量至少15%,而且该舰船用多层防辐射产品,使用屏蔽复合材料来制备堆仓,通过屏蔽复合材料各层的配合从而达到快中子减速、慢中子吸收(捕获)和衰减所有的γ射线。

标签:
复合材料
上海 - 上海 来源:中冶有色网 2023-03-18
汽车迎宾踏板
汽车迎宾踏板 1167     
 0

本实用新型提供了一种汽车迎宾踏板,为玻纤增强聚氨酯复合材料迎宾踏板,且玻纤增强聚氨酯复合材料迎宾踏板的截面结构为“工”字形。所述“工”字形结构的翼缘两表面相互平行。所述玻纤增强聚氨酯复合材料迎宾踏板为拉挤成型结构。本实用新型凭借玻纤增强聚氨酯复合材料密度低、质量轻、强度高等特点,使得玻纤增强聚氨酯复合材料迎宾踏板与传统的铝合金或不锈钢迎宾踏板相比,不仅成功的减重约30%左右,而且其强度也远远优于传统的铝合金或不锈钢结构的迎宾踏板;迎宾踏板的截面结构采用“工”字形结构,不仅从结构上改善了踏板的抗弯性能,更使得迎宾踏板的生产工艺得到简化,制作过程的简单化使得成本也得到大大的降低。

标签:
复合材料
上海 - 上海 来源:中冶有色网 2023-03-18
与生物质复合基料共体的材料结构

一种与生物质复合基料共体的材料结构,包括以生物质复合材料制作的基材,其特征在于:在该以生物质复合材料制作的基材的抗主受力方向设置按预定方式排布的若干加强筋。其中:加强筋为人造板材;以生物质复合材料制作的基材的截面呈长方形,一加强筋共体于该基材的中部或若干加强筋以交叉平行设置于上下两平面间的方式共体于该基材内;以生物质复合材料制作的基材的截面呈方形,若干加强筋以“回”字形排布方式共体于该基材内。本实用新型与现有技术相比,在保持木塑、纸塑等生物质复合材料具有木、塑两者优点的基础上,通过在生物质复合基料内共体人造板加强筋或充填物,大大提高了材料的抗弯、抗冲击强度,同时降低了成材的生产成本。

标签:
复合材料
上海 - 上海 来源:中冶有色网 2023-03-18
含气凝胶夹层的保温杯

本实用新型提供了一种含气凝胶夹层的保温杯,其杯体包括内壳、外壳和保温夹层,保温夹层位于内壳和外壳之间。保温夹层中包括气凝胶复合材料,气凝胶复合材料的基体是发泡材料,气凝胶复合材料的热导率低于0.015W/mK,气凝胶复合材料的密度小于0.13g/cm3。本实用新型提供的保温杯,隔热保温层为气凝胶质量占比为80%~95%的超级隔热气凝胶复合材料,使得该保温杯具有优良的保温性能。保温杯的外观可以为圆柱形,也可以为棱柱形等规则形状,甚至是不规则形状。保温杯体的内壳、外壳可以为玻璃、硬塑料、软塑料、不锈钢等各种材质,尤其是软质材料保温杯,填补了市场空白。

标签:
复合材料
上海 - 上海 来源:中冶有色网 2023-03-18
高强度光固化产品
高强度光固化产品 1140     
 0

高强度光固化产品涉及光固化产品。包括光固化产品主体,光固化产品主体包括至少一基体,基体包括两个膜层,两个膜层间构成一填充有未固化的光固化树脂基复合材料的夹层,夹层内设有至少两个填充有未固化的光固化树脂基复合材料微囊,两个膜层中至少一个膜层采用透光材料制成的膜层,微囊壁为采用透光材料制成的壁。微囊与微囊间的空隙内填充有未固化的光固化树脂基复合材料。在通过光照进行固化时,填充在空隙内的未固化的光固化树脂基复合材料与微囊一起固化,对微囊与微囊间的位置进一步固定,增强机械强度。在空隙间的未固化的光固化树脂基复合材料在固化后,可以起到对空隙填充和粘合作用,从而大大增强机械强度。

标签:
复合材料
上海 - 上海 来源:中冶有色网 2023-03-18
气凝胶保暖拖鞋
气凝胶保暖拖鞋 914     
 0

本实用新型公开了一种气凝胶保暖拖鞋,鞋底、鞋面以及后帮,鞋底上端面依次固定有鞋面和后帮;鞋底包括依次固定的耐磨缓冲层、气凝胶复合材料层、恒温缓冲层以及亲肤层,耐磨缓冲层远离气凝胶复合材料层的一面设置有防滑纹路;鞋面和后帮均包括依次固定的防护装饰层、气凝胶复合材料层、恒温缓冲层以及亲肤层,亲肤层与使用者的脚部接触。本实用新型中的鞋底、鞋面以及后帮中均设置有气凝胶复合材料层,在保证拖鞋重量非常轻前提下,由于设置气凝胶复合材料层,使得该拖鞋的具有良好的保温隔热性,拖鞋的防寒效果好。

标签:
复合材料
上海 - 上海 来源:中冶有色网 2023-03-18
料盘吊装用吊绳
料盘吊装用吊绳 1024     
 0

本实用新型公开了一种料盘吊装用吊绳,包括吊绳本体,所述吊绳本体内包括防水层、交联竣甲基纤维素接枝丙烯酞胺、聚四氟乙烯、氧化铜、碳化铬复合材料、高能离子注渗碳化钨材料和KN999纳米合金,所述防水层位于交联竣甲基纤维素接枝丙烯酞胺的顶部,所述交联竣甲基纤维素接枝丙烯酞胺位于聚四氟乙烯的顶部,所述聚四氟乙烯位于氧化铜的顶部,所述氧化铜位于碳化铬复合材料的顶部,所述碳化铬复合材料位于高能离子注渗碳化钨材料的顶部。本实用新型通过碳化铬复合材料、聚合陶瓷复合材料、高能离子注渗碳化钨材料、增韧氧化锆、KN999纳米合金和增韧三氧化二铝相互配合,可对吊绳起到耐磨的作用,这样吊绳在使用时效果更好。

标签:
复合材料
上海 - 上海 来源:中冶有色网 2023-03-18
将复材参数逆向迭代进行层合板细-宏观耦合分析的方法

本发明提供了一种将复材参数逆向迭代进行层合板细‑宏观耦合分析的方法,其特征在于,包括以下步骤:进行复合材料层合板细观分析,运行层合板分析得到结果,查看结果后进行层合板参数保存与传递,将复材层合板有效特性转换至宏观分析中;在宏观分析中建立复合材料层合板模型,划分网格后添加复材层合板细观分析得到的材料参数,施加边界添加载荷后进行复合材料层合板宏观分析;查看并分析宏观分析结果是否达到预期结果;根据宏观分析结果,对层合板细观分析设置进行改进。本发明可以大大提高设计复合材料层合板结构的效率,增强对复合材料等效特性影响的准确度和高效性。

标签:
复合材料
上海 - 上海 来源:中冶有色网 2023-03-18
FRP筋海水海砂-UHDCC复合梁及其施工方法

本发明涉及一种FRP筋海水海砂‑UHDCC复合梁及其施工方法,复合梁包括梁本体和设于梁本体内的FRP筋骨架,FRP筋骨架包括FRP受拉纵筋、FRP架立筋和FRP箍筋,FRP受拉纵筋和FRP架立筋均沿梁本体方向分布,FRP箍筋设于FRP受拉纵筋和FRP架立筋之间并连接FRP受拉纵筋和FRP架立筋,梁本体包括由海水海砂混凝土层制成的海水海砂混凝土层和由超高延性水泥基复合材料制成的复合材料层,FRP受拉纵筋位于复合材料层中。与现有技术相比,本发明将海水海砂混凝土梁的底部替换为由超高延性水泥基复合材料制成的复合材料层,可以改善FRP筋海水砂梁的抗弯性能、梁中裂缝的分布形式,以及减小裂缝宽度。

标签:
复合材料
上海 - 上海 来源:中冶有色网 2023-03-18
用于轻量化航空座椅的承载结构部件

本发明涉及一种用于轻量化航空座椅的承载结构部件,包括椅腿、椅盆、行李箱档杆、靠背、扶手,行李箱档杆、靠背分别通过第一椅管、第二椅管与椅盆固定连接,第一椅管与第二椅管平行设置在椅盆两侧,并且第一椅管与第二椅管之间设有第一支板,扶手通过第二支板与靠背固定连接,承载结构部件采用复合材料制备而成,复合材料为碳纤维增强热塑性树脂复合材料,承载结构部件中孔销连接处的孔在复合材料成型时,设置有合金镶管,该合金镶管与复合材料共同构成整体结构,并由合金镶管承担销传递的作用力。与现有技术相比,本发明结构质轻,比强度高,模量高,用于航空座椅时,能够使整体重量减少40%,安全可靠,稳定好,具有很好的应用前景。

标签:
复合材料
上海 - 上海 来源:中冶有色网 2023-03-18
X射线滤线栅的制备方法、装置及X射线滤线栅

本发明提供一种X射线滤线栅的制备方法及装置及X射线滤线栅。X射线滤线栅的制备方法包括:制备复合材料层,所述复合材料层中包括交替层叠的所述第一材料层与所述第二材料层,所述第一材料层对所述X射线的吸收率大于所述第二材料层对X射线的吸收率;控制模具从所述复合材料层的第一表面对所述复合材料层加压,将所述复合材料层压制成纵截面呈梯形的滤线栅坯体;还可对所述滤线栅坯体中包含所述第一材料层表面和所述第二材料层表面的面进行处理,以得到所述X射线滤线栅。本发明X射线滤线栅的制备方法具有制备工艺简单的特点,能够大幅降低X射线滤线栅的生产成本,有利于X射线滤线栅的推广应用。

标签:
复合材料
上海 - 上海 来源:中冶有色网 2023-03-18
激光+MIG/MAG单面焊接的方法

本发明公开了一种激光+MIG/MAG单面焊接的方法,包括以下步骤:步骤1、对接待焊接的不锈钢复合材料,所述不锈钢复合材料的基层与激光焊枪及MIG/MAG焊枪同侧;步骤2、使用激光焊枪沿焊接方向对所述不锈钢复合材料的复层进行焊接;步骤3、使用MIG/MAG(熔化极惰性气体保护电弧焊/熔化极活性气体保护电弧焊)焊枪沿所述焊接方向对所述不锈钢复合材料的基层进行焊接,所用焊丝为基层焊丝。使得不锈钢复合材料之间的焊缝处既具有良好的耐腐蚀性能,又有良好的综合力学性能。

标签:
复合材料
上海 - 上海 来源:中冶有色网 2023-03-18
用于模拟风扇叶片的靶弹及冲击试验装置

本发明涉及一种用于模拟风扇叶片的靶弹,其包括:第一板件,采用复合材料制成,所述第一板件被构造为弯曲状,所述第一板件被配置为模拟复合材料制成的风扇叶片;以及第二板件,采用金属材料制成,所述第二板件的第一端连接所述第一板件的第一端,所述第二板件的第二端延伸至所述第一板件的第二端,所述第二板件被配置为模拟所述风扇叶片的金属加强边。本发明可用于模拟带金属加强边的复合材料风扇叶片,以及用于模拟带金属加强边的复合材料风扇叶片的冲击载荷特点,缓解传统金属靶弹设计和试验无法真正表征复合材料风扇叶片受到冲击载荷时的工况特征的问题。

标签:
复合材料
上海 - 上海 来源:中冶有色网 2023-03-18
可涂敷于任意曲面的超宽频太赫兹吸收膜

本发明公开了一种可涂敷于任意曲面的超宽频太赫兹吸收膜,其特征在于,包括多层由底层向上折射率逐层递减的高分子复合材料,所述高分子复合材料的折射率取值满足折射率渐变多层增透膜公式,其中,底层为至少两层相互复合的高导电率半导体微纳颗粒‑聚合物复合材料层,底层的上方为至少一层中空微球聚合物复合材料层。聚合物复合材料层在固化前可涂敷于任意曲面的特性,因此大大提高了太赫兹吸收膜在实际中应用效果。本发明的可涂敷于任意曲面的超宽频太赫兹吸收膜具有结构简单、超宽频吸收和制作成本低等优点。

标签:
复合材料
上海 - 上海 来源:中冶有色网 2023-03-18
纤塑家具板材及其制备方法

本发明公开一种纤塑家具板材,所述纤塑家具板材由第一纤塑复合材料制得的芯层和第二纤塑复合材料制得的表层组成,其中所述纤塑复合材料为纺织物和塑料混合制备的材料。本发明还公开了这种纤塑家具板材的制备方法。本发明采用特定的纤塑复合材料作为家具板材的原料,纤塑复合材料本身具有比其中的单一组分更优异的力学性能,制得的家具板材力学性能优异,同时主要材料为废弃物,降低了成本的同时对资源得到了充分的回收利用;其制备方法简单易行,便于大规模工业化生产,同时原料环保节能,制得的家具板材性能优异,应用领域广泛。

标签:
复合材料
上海 - 上海 来源:中冶有色网 2023-03-18
传送带式裂解炉
传送带式裂解炉 968     
 0

本申请涉及传送带式裂解炉技术领域,提供了一种传送带式裂解炉用于裂解纤维复合材料,包括:炉体和穿过所述炉体设置的传送带;裂解气抽气装置,设置在所述炉体上,用于抽出炉体内的所述纤维复合材料热解产生的裂解气体;气帘装置,设置在所述传送带的进出口处,所述气帘装置用于释放过热蒸汽以产生气帘并加热纤维复合材料。本申请中的传送带式热解炉,利用传送带输送纤维复合材料,并在输送过程中利用过热蒸汽对其加热,使其进行热解反应。这种方式可以连续进料和出料,省去了反复升温降温的过程,时间周期短,热量利用率高,并可连续化地回收纤维复合材料。

标签:
复合材料
上海 - 上海 来源:中冶有色网 2023-03-18
PVP/CdS量子点修饰电极及其制备方法

一种PVP/CdS量子点修饰电极(1)及其制备方法。 该电极由已有的玻碳电极(10)及其玻碳电极的表面(2)和在玻碳 电极的表面(2)上依次修饰的PVP/CdS量子点复合材料膜(3)和 Nafion膜(4)构成。该电极的制备是先以聚乙烯吡咯烷酮、 Na2S·9H2O和 2CdCl2·5H2O为原料,制备PVP/CdS量子点复合材料,接着 将该复合材料制成修饰液,滴涂在玻碳电极的表面(2),自然晾 干,形成一层PVP/CdS量子点复合材料膜(3),再在PVP/CdS 量子点复合材料膜(3)上滴涂Nafion甲醇溶液,自然晾干,形 成一层Nafion膜(4),制得PVP/CdS量子点修饰电极(1)。该电 极能实现已有的玻碳电极(10)无法实现的低浓度蛋白质溶液及 人血样等实际样品的电化学检测,有灵敏度高,稳定性好,线 性范围宽,检测限低等优点,此外,制备该电极的方法简便易 行,成本低廉,重现性好。

标签:
复合材料
上海 - 上海 来源:中冶有色网 2023-03-18
复合结构滤芯、多层复合结构滤材、其制备方法和应用

本发明提供了一种复合结构滤芯、多层复合结构滤材、其制备方法和应用;所述复合结构滤芯由基层和复合材料层组成,所述复合材料层为由催化剂和聚合物通过静电纺丝制备得到的电纺膜,所述复合材料层通过作用力与基层结合,并添加至少一层的多孔材料层,所述多孔材料层与复合结构滤芯中的复合材料层相接;本发明提供的多层复合结构滤材,具有过滤颗粒物、吸附有毒气体以及催化分解二噁英多重功能,还具有良好的机械强度和耐高温性能;而且性能可调,在保持机械强度的前提下能够调节复合结构滤芯中的复合材料层,改变静电纺丝的浆料,从而达到多功能吸附要求。具有良好的应用前景和应用价值。

标签:
复合材料
上海 - 上海 来源:中冶有色网 2023-03-18
纤塑型材地砖及其制备方法

本发明公开了一种纤塑型材地砖及其制备方法,属于复合材料技术领域。本发明提供的纤塑型材地砖以由废弃纺织物和废弃塑料制成的纤塑复合材料作为原料,成本低、绿色环保的同时,实现了对废弃纺织品和废弃塑料的再利用,因此,此地砖在地面装饰等方面具有极高的应用前景;本发明提供的纤塑型材地砖所使用的的纤塑复合材料具有比其中的单一组分更优异的力学性能,因此,此地砖使用寿命更长;本发明提供的纤塑型材集装箱底板设有由掺杂了耐磨剂的纤塑复合材料作为原料制成的防磨层,这进一步增加了此地砖的使用寿命;本发明提供的纤塑型材地砖设有防水层,防水层的设置可有效防止液体对纤塑复合材料的侵蚀,进一步增加此地砖的使用寿命。

标签:
复合材料
上海 - 上海 来源:中冶有色网 2023-03-18
复合装置
复合装置 984     
 0

本发明提供一种复合装置,其包括:第一放卷机构,放卷第一复合材料;第二放卷机构,放卷第二复合材料;第三放卷机构,将所述待复合材料放卷至所述第一复合材料与第二复合材料之间;第一复合胶辊以及第二复合胶辊;至少一加热装置,对第一复合胶辊和第二复合胶辊的表面进行加热;至少一冷却辊,对所接触的第一复合胶辊和第二复合胶辊中至少一个的表面进行降温;复合装置还包括:控制装置,与所述冷却辊相连接,当第一复合胶辊或第二复合胶辊温度高于第一阈值时,控制冷却辊与第一复合胶辊和第二复合胶辊中至少一个相接触,当第一复合胶辊或第二复合胶辊温度低于第二阈值时,控制冷却辊与所接触的第一复合胶辊或第二复合胶辊分开。

标签:
复合材料
上海 - 上海 来源:中冶有色网 2023-03-18
分层式石墨复合双极板及制备方法

本发明涉及一种分层式石墨复合双极板及制备方法,分层式石墨复合双极板包括中间层和设置于中间层两侧的表面层,中间层为热塑性树脂/石墨复合材料板材,表面层为热固性树脂/石墨复合材料层,且表面层的外表面具有流道结构。与现有技术相比,本发明通过利用热塑性复合材料制作中间层,在制作过程中辅助提高了热固性复合材料的给料精度,同时有助于缓解高碳含量下热固性复合材料成型可靠度低的问题;此外,分层式极板中高树脂含量的中间层提升了双极板的抗弯强度和气密性,高碳含量的表面层提升了其电导率;依靠不同功能层的分别优化实现了双极板整体性能的提升,同时制备工艺简便,有利于批量生产,具有较高的实用价值。

标签:
复合材料
上海 - 上海 来源:中冶有色网 2023-03-18
汽车尾门
汽车尾门 940     
 0

本发明提供一种汽车尾门,包括:尾门内板;与所述尾门内板连接在一起的连续纤维复合材料结构;其中,所述连续纤维复合材料结构是由连续纤维和树脂组成的一种连续纤维复合材料形成,所述连续纤维复合材料结构分布于所述尾门内板上的关键性能区域,所述关键性能区域包括:铰链连接部位、撑杆球头部位、门锁部位以及雨刮电机连接部位。本发明以连续纤维复合材料为基础,通过模压或其它工艺预成型,再通过一体注塑或后装配等手段与尾门内板连接在一起,提供了一种门体重量减轻的、同时又能保证尾门刚度和强度、完整性增强的汽车尾门。

标签:
复合材料
上海 - 上海 来源:中冶有色网 2023-03-18
长循环锂硫电池用正极材料及其制备方法

本发明公开了一种长循环锂硫电池用正极材料及其制备方法,该正极材料由以下材料复合:三维金属氧化物或金属硫化物/碳复合材料、含硫材料。其中,所述的三维金属氧化物或金属硫化物/碳复合材料由以下材料复合:金属氧化物或金属硫化物、碳复合材料。所述的碳复合材料为一维碳材料和二维碳材料复合的具有二维结构的纳米碳复合材料。所述的含硫材料为单质硫或含?Sm?,m?>2结构的多硫化物。本发明制备的长循环锂硫电池用正极材料具有高的电导率和三维空间结构,能够有效提高锂硫电池的库仑效率和循环性能,同时还具有优良的倍率性能。

标签:
复合材料
上海 - 上海 来源:中冶有色网 2023-03-18
基于织物的自集成型柔性超级电容器及其制备方法

本发明公开了一种基于织物的自集成型柔性超级电容器及其制备方法。该超级电容器包括织物基凝胶聚合物复合材料以及在复合材料两面丝网印刷的纳米碳材料电极,并且电极在复合材料两面对应位置交错排布。其制备方法为:将织物基材浸渍在聚乙烯醇‑氢氧化钾凝胶电解质中,轧辊压出织物基材中的多余电解质并烘干,重复数次得到织物基凝胶聚合物复合材料;在复合材料两面丝网印刷纳米碳材料电极,固化后在电极对应处涂覆聚乙烯醇‑氢氧化钾凝胶电解质得到自集成型柔性超级电容器。本发明的柔性超级电容器具有优异的电化学性能和高面积比容量,在循环弯曲和动态弯曲状态下均具有较好的稳定性和柔性,并且其制备方法简单易行、成本低、可规模化生产。

标签:
复合材料
上海 - 上海 来源:中冶有色网 2023-03-18
上一页 492 493 494 495 496 ... 500 ... 729 下一页
共729页    到第

中冶有色为您提供最新的上海上海有色金属材料制备及加工技术理论与应用信息,涵盖发明专利、权利要求、说明书、技术领域、背景技术、实用新型内容及具体实施方式等有色技术内容。打造最具专业性的有色金属技术理论与应用平台!

全国热门有色金属设备推荐
展开更多 +
全国热门有色金属技术推荐
展开更多 +

 

江西省隆恩特环保设备有限公司
宣传

报名参会
更多+

报告下载

有色专家
更多+

中国有色金属工业协会
副会长兼秘书长
重庆大学
副院长/教授
南京理工大学、中国科学院
院士
郑州大学
副校长
中国工程院 /矿冶科技集团有限公司
中国工程院 院士
赤泥综合利用研究报告2025
推广

热门技术
更多+

推荐企业
更多+

福建省金龙稀土股份有限公司
宣传

发布

在线客服

公众号

电话

顶部
咨询电话:
010-88793500-807