青岛垚鑫智能科技有限公司
宣传

位置:北方有色 >

有色技术频道 >

> 复合材料技术

分类:
全部
矿山技术
冶金技术
材料制备及加工技术
环境保护技术
分析检测技术
 
全部
功能材料技术
复合材料技术
新能源材料技术
合金材料技术
加工技术
地区:
全部
北京
天津
上海
重庆
河北
山西
辽宁
吉林
黑龙江
江苏
浙江
安徽
福建
江西
山东
河南
湖北
湖南
广东
海南
四川
贵州
云南
陕西
甘肃
青海
内蒙
广西
西藏
宁夏
新疆
其他
其他
展开
 
全部
郑州
开封
洛阳
平顶山
安阳
鹤壁
新乡
焦作
濮阳
许昌
漯河
三门峡
商丘
周口
驻马店
南阳
信阳
济源

河南郑州有色金属复合材料技术理论与应用

免费发布技术信息>>
秸秆纤维/PBS/PBAT复合材料及其制备方法

本发明公开了一种辐射强化交联秸秆纤维/PBS/PBAT三元复合材料及其制备方法,先将预处理后的PBS、秸秆粉、PBS-g-MAH、PBAT、增容剂、润滑剂、辐射敏化剂按照一定的比例进行混合,然后通过双螺杆熔融共混挤出,之后将得到的粒料在注塑机上加工成型注塑制品,最后对得到的注塑制品进行辐射强化交联。本发明制备的秸秆纤维/PBS/PBAT三元复合材料,是一种高韧性、高强度的高性能完全降解复合材料;相对于纯的PBS产品,该复合材料中加入了成本低廉的秸秆粉,成本大大降低,已经接近市场上的通用塑料产品;另外该复合材料产品的耐候性、耐水性和耐热性能较好,可以满足市场要求。

标签:
复合材料
河南 - 郑州 来源:北方有色网 2023-03-18
二硫化钼/碳复合材料的制备方法、催化剂及其制备方法

本发明提供了一种二硫化钼‑石墨化碳复合材料的制备方法、催化剂及其制备方法。所述二硫化钼‑石墨化碳复合材料的制备方法包括:对含硫还原剂、钼酸盐和抗坏血酸进行水热合成反应;对水热合成反应的产物进行焙烧,得到二硫化钼‑石墨化碳复合材料。所述催化剂采用二硫化钼‑石墨化碳复合材料,所述二硫化钼‑石墨化碳复合材料包括具有层状结构的二硫化钼和插入所述层状结构的相邻层之间的石墨化碳。所述用于电化学析氢的催化剂的制备方法包括采用如上所述的制备方法制得的二硫化钼‑石墨化碳复合材料作为所述催化剂。本发明原料价廉易得,合成过程简单,能够制备得到中具有良好导电性和催化活性的二硫化钼/石墨化碳复合材料。

标签:
复合材料
河南 - 郑州 来源:北方有色网 2023-03-18
氧化铁‑介孔碳纳米复合材料及其制备方法和应用

本发明公开了一种氧化铁‑介孔碳(Fe3O4@C)纳米复合材料及其制备方法和应用。所述Fe3O4@C纳米复合材料包括:多孔碳基质以及至少均匀分布于所述多孔碳基质内的复数个Fe3O4纳米颗粒。本发明还了基于所述Fe3O4@C纳米复合材料的适体传感器,其制备方法简单,所采用的Fe3O4@C纳米复合材料的纳米结构具有低毒性、高稳定性和电化学活性,所采用的适体链和OTC之间存在识别能力的适体传感器具有高灵敏度和选择性,使得所述适体传感器的比表面积高,生物亲和力强,在用于OTC检测时的检测流程简单,检测灵敏度高、检测限低。

标签:
复合材料
河南 - 郑州 来源:北方有色网 2023-03-18
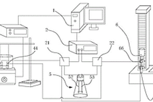
导电高分子复合材料外场响应行为的检测装置

本实用新型公开了一种可以检测导电高分子复合材料在应力、温度、气体等不同外场环境下导电响应情况的导电高分子复合材料外场响应行为的检测装置;其属于导电高分子复合材料性能测试技术领域。该导电高分子复合材料外场响应行为的检测装置,包括:数据处理器、电阻测试装置、用于检测导电高分子复合材料承受应力变化时导电响应行为的应力敏感测试装置、用于检测导电高分子复合材料所处温度场中温度变化时导电响应行为的温度敏感测试装置以及用于检测导电高分子复合材料在不同气体氛围中导电响应行为的气体敏感测试装置。采用该导电高分子复合材料外场响应行为的检测装置操作方便、测试范围广、成本低。

标签:
复合材料
河南 - 郑州 来源:北方有色网 2023-03-18
二氧化硅-金属有机骨架核壳型复合材料及其在硫醇小分子检测方面的应用

本发明公开了一种二氧化硅‑金属有机骨架核壳型复合材料及其在硫醇小分子检测方面的应用,二氧化硅‑金属有机骨架核壳型复合材料的合成方法包括以下内容:依次对纳米二氧化硅微球进行氨基化、羧基化处理;在羧基化的二氧化硅微球表面嫁接MOF得到核壳型复合材料,对核壳型复合材料酸化处理后用Cys修饰,得到修饰有Cys的核壳型复合材料。本发明采用合成后修饰法中的配体交换方式,直接将半胱氨酸修饰到金属有机骨架上,得到了生物相容性好、特异性识别位点多的核壳型复合材料,在检测时能够实现样品中硫醇小分子的特异性吸附,进而实现了两种和两种以上硫醇小分子的同时定量检测,克服了传统检测技术只能检测总硫醇含量的技术问题。

标签:
复合材料
河南 - 郑州 来源:北方有色网 2023-03-18
氮化铝/铝复合材料的制备方法

本发明属于电子封装材料的制备领域,具体公开一种氮化铝/铝复合材料的制备方法。将酚醛树脂粉溶解于无水乙醇中;将AlN粉加入所得溶液中,40~60℃搅拌均匀;将SiO2气凝胶粉和Al粉依次加入所得溶液中,50~70℃继续搅拌,直至浆料粘稠不能搅拌为止;将浆料烘干,造粒过筛,再将所得颗粒粉压制成型,得到坯体;将一定质量的Al2O3板块置于坯体上,在真空900~1000℃下反应烧结1~2 h,获得AlN坯体;将AlN坯体在真空900~1100℃下气态渗铝0.5~1 h,随后自然降温冷却,即得氮化铝/铝复合材料。本发明具有工艺简单、操作方便生产成本低,产品性能良好等优点,AlN/Al复合材料拥有良好的机械强度、导热性能和低的热膨胀系数,在电子封装材料方向将具有较大的应用前景。

标签:
复合材料
河南 - 郑州 来源:北方有色网 2023-03-18
新型复合材料、柔性传感器及制备方法与应用

本申请实施例提供一种新型复合材料、柔性传感器及制备方法与应用,涉及新材料技术领域。新型复合材料包含共晶镓铟、多壁碳纳米管和聚二甲基硅氧烷,共晶镓铟、多壁碳纳米管和聚二甲基硅氧烷的质量比例为2‑10:0.7‑1:10。柔性传感器包括:聚合物基板和复合材料层,复合材料层附着于聚合物基板的一侧表面,其材质为上述的新型复合材料。该新型复合材料是结合了共晶镓铟,多壁碳纳米管和聚二甲基硅氧烷这三种材料而形成的,具有高应变灵敏度、拉伸性、柔韧性。

标签:
复合材料
河南 - 郑州 来源:北方有色网 2023-03-18
致密原位Si4N3-SiC复合材料的制备方法

发明公开了一种致密原位Si4N3-SiC复合材料的制备方法,它的步骤如下:(1)将硅粉和石油焦粉末以质量比2-6 : 1均匀混合,加入适量酚醛树脂,压制成型,烘干,得到坯料;(2)将坯料移入真空炉中,于1310-1410℃的条件下,在氮气氛下烧结0.5-1.0?hr,得到半烧结制品;(3)将半烧结制品再次移入铺有真空烧结炉中,在1400-1450℃的条件下保温0.5-1.0hr;然后升温至1550-1650℃氮气氛下保温0.5-1.0?hr,得到致密原位Si4N3-SiC复合材料。本发明利用50-200目硅粉和石油焦粉末和少量酚醛树脂为初始原料,通过坯料低温氮化法和高温反应熔渗法获得原位Si4N3-SiC复合材料,孔隙率小于10%。该法形成复合材料具有界面清洁,氧含量低,密度高,相组成可以任意变化的特点。该法工艺简单,可工业规模生产。

标签:
复合材料
河南 - 郑州 来源:北方有色网 2023-03-18
用于卷烟的聚乙烯醇-氨基酸多孔水凝胶复合材料

本发明属于卷烟减害技术领域,具体涉及一种用于降低卷烟中有害物质的聚乙烯醇-氨基酸多孔水凝胶复合材料。该材料通过聚乙烯醇加水溶胀溶解、加入氨基材料物理交联制得。本发明利用聚乙烯醇多孔水凝胶复合材料具有生物相容性好、安全可靠、具有独特的吸水、保水和可调节水分微环境的特点,将其与氨基材料复合制备成聚乙烯醇-氨基酸多孔水凝胶复合材料,所制备的复合材料与醋纤滤棒或纤维素纸滤棒制成二元或多元复合滤棒用于卷烟,可使卷烟主流烟气中的巴豆醛量降低28%以上,使氢氰酸的释放量降低50%以上,且卷烟感官质量无显著变化,因而具有较好的推广应用价值。

标签:
复合材料
河南 - 郑州 来源:北方有色网 2023-03-18
导热复合材料紧凑型板壳式换热器

本发明公开了一种导热复合材料紧凑型板壳式换热器,包括壳体、芯体和封板,芯体包括隔板、翅片和封条,相邻两隔板之间具有翅片,翅片包括金属翅片和耐腐蚀导热复合材料翅片,金属翅片与耐腐蚀导热复合材料翅片交替间隔设置,耐腐蚀材料导热复合材料翅片与壳体之间还具有封条。本发明金属翅片与耐腐蚀材料翅片间隔设置,耐腐蚀材料翅片的通道走腐蚀性、易结垢的介质,金属翅片的通道内走较洁净的介质,两种介质形成完全的逆流换热,保证了换热的高效性。采用长条开口封板上胶结隔板结构,改变了常规氟塑料管壳式换热器的管束结构,也不同于板式或板翅式换热器,换热效率高,耐腐蚀性好,同时结构强度大,承载能力较高。

标签:
复合材料
河南 - 郑州 来源:北方有色网 2023-03-18
负载多酸的生物炭复合材料及其制备方法和应用

本发明属于环境修复技术领域,具体涉及一种负载多酸的生物炭复合材料及其制备方法和应用。本发明采用餐厨垃圾好氧发酵物为原料,不仅可以提高复合材料的耐酸碱性能,还可以提高复合材料的机械强度和稳定性,有利于实现复合材料的多次重复回收利用;另外,餐厨垃圾好氧发酵物中的有机物含有大量的‑SH、‑NH‑、‑CO‑NH‑和‑COO‑等官能团,吸附位点多,并且这些官能团富含孤对电子,在吸附重金属时可以提供孤对电子促进金属的配位,提高复合材料对重金属离子的吸附容量;并且,将多酸配体负载在生物炭上,由于电子数变多,羧酸官能团的存在使得复合材料自身呈电负性,通过静电吸附作用,可以进一步提高复合材料的吸附容量。

标签:
复合材料
河南 - 郑州 来源:北方有色网 2023-03-18
光功能性复合材料、其制备方法与串联光催化应用

本发明公开了一种光功能性复合材料、其制备方法与串联光催化应用。所述光功能性复合材料具有下述化学式:[Cu2(NTB)2(W6O19)]·DMF,NTB为4‑(4H‑1,2,4‑三唑‑4‑基)‑N,N‑二[4‑(4H‑1,2,4‑三唑‑4‑基)苯基]‑苯胺,NTB的结构简式如下:所述光功能性复合材料结晶于单斜晶系,空间群为P2(1)/c,晶胞参数为本发明的光功能性复合材料具有光催化分解水产生氧气和选择性氧化硫醚制备亚砜的串联催化性能,制备方法简单、产率高。

标签:
复合材料
河南 - 郑州 来源:北方有色网 2023-03-18
金属-负热膨胀材料复合材料及其制备方法

本发明属于负热膨胀材料技术领域,具体涉及一种新型金属-负热膨胀材料复合材料Al-ZrMgMo3O12及其制备方法。该复合材料由铝与ZrMgMo3O12固相烧结制成,以质量百分比计,铝占总质量的20%~80%。本发明所提供的复合材料Al-ZrMgMo3O12采用固相合成法在空气氛围下制备,制备过程简单、成本较低,适合工业化生产;该复合材料具有可变的容抗阻抗和热膨胀系数,能够较好的满足于集成电路和芯片封装技术方面对硅基材料热匹配的要求,可供电子领域广泛应用,因而具有较为广阔的应用前景。

标签:
复合材料
河南 - 郑州 来源:北方有色网 2023-03-18
芦苇杆生物炭复合材料以及在修复镉污染土壤中的应用

本发明公开了一种芦苇杆生物炭复合材料,采用芦苇作为生物质来源,以ZnCl2为活化剂,经煅烧制得芦苇杆生物炭;然后加入鼠李糖脂,在交联剂作用下交联复合,制备出鼠李糖脂‑芦苇杆改性生物炭粗品,经洗涤、干燥,得到芦苇生物炭复合材料成品。本发明制备的芦苇杆生物炭复合材料在修复镉污染土壤中使用时,将芦苇生物炭复合材料按质量分数2%~8%的比例与污染土壤混合均匀,保持土壤含水量为25%,持续30~60天即可在原土壤中正常种植。本发明选用芦苇作为生物质来源,原料来源广泛;经鼠李糖脂改性后的芦苇杆生物炭复合材料用于修复重金属镉污染的土壤,工艺简单无二次污染,实现了废物循环利用,节能环保,具有很强的实用性,经济效益和社会效益巨大。

标签:
复合材料
河南 - 郑州 来源:北方有色网 2023-03-18
电商用抗静电耐磨型聚丙烯复合材料及其制备方法

一种电商用抗静电耐磨型聚丙烯复合材料, 由聚丙烯基体、耐磨母粒、增强混料、导电母粒、辅料、抗氧化剂、外加剂制成,所述耐磨母粒由氮化硼、MoSi2、二硫化钼和LDPE载体制成;增强混料由有机蒙脱土、沸石粉、碳化锆和改性纳米二氧化钛混合而成;导电母粒由导电炭黑、短切碳纤维、二氧化锡和LDPE载体制成;本发明以增强混料提高聚丙烯复合材料力学强度满足实际需要,在聚丙烯基体中添加耐磨母粒和导电母粒提高聚丙烯复合材料的耐磨性和抗静电性,同时以辅料调节、改善聚丙烯复合材料的力学强度、耐磨性和导电性,并以外加剂提高聚丙烯基体与填充料间的界面结合强度,同时提高聚丙烯复合材料表面的疏水性和去污性。

标签:
复合材料
河南 - 郑州 来源:北方有色网 2023-03-18
Pd/SnO2/MWCNTs纳米气敏复合材料及气敏元件和在CO传感中的应用

本发明提供一种Pd/SnO2/MWCNTs纳米气敏复合材料,其制备方法包括如下步骤:将10‑20mmol SnCl4·5H2O溶于去离子水中,搅拌过程中逐滴滴加碱性溶液,调节pH值至6‑10;离心洗涤干燥后煅烧处理得到纳米SnO2粉末;将适量碳纳米管分散在乙醇溶液中超声处理1‑3h,加入由步骤S1制备的纳米级SnO2粉末,继续超声0.5‑2h后进行离心洗涤,干燥后煅烧处理得到SnO2/MWCNTs纳米复合材料前驱体;配制1‑20mmol/L PdCl2乙醇溶液,加入SnO2/MWCNTs纳米复合材料前驱体,超声1‑10h,离心洗涤,干燥后煅烧处理制备得到Pd/SnO2/MWCNTs纳米气敏复合材料。本发明提供的Pd/SnO2/MWCNTs纳米气敏复合材料,应用于气敏元件监测气体浓度时,在较低工作温度甚至接近室温环境下,也具有较高灵敏度。本发明还提供一种Pd/SnO2/MWCNTs纳米气敏复合材料的制备方法,及其在进行CO传感中的应用。

标签:
复合材料
河南 - 郑州 来源:北方有色网 2023-03-18
SiC/镁合金AZ91复合材料的粉末冶金制备方法

本发明属于金属材料、冶金技术领域,公开了一种SiC/镁合金AZ91复合材料的粉末冶金制备方法。按下述质量百分含量取各组份:Al粉9±0.2%、Zn粉1±0.2%、SiC颗粒10~15%,余量为Mg粉;首先将上述各组份混合均匀、干燥,然后进行烧结,最后随炉冷却,即制得复合材料,其中烧结条件:升温速率100~120℃/min,烧结温度450~500℃,烧结压力2.5~3MPa,保温时间15~25min。本发明工艺简单,操作方便,对制备的材料用扫描电子显微镜观察微观组织和进行摩擦磨损实验,结果表明:加入SiC的复合材料性能有所提高,并且SiC粒度越小性能越好。

标签:
复合材料
河南 - 郑州 来源:北方有色网 2023-03-18
新型纤维增强复合材料防震锤

本实用新型公开了一种新型纤维增强复合材料防震锤,包括线卡和锤头,锤头为两个,且设置在弹性杆的两端,弹性杆的中间部位设置有与线卡为一体结构的连接板,连接板为复合材料拉挤板材,弹性杆为复合材料拉挤棒材,锤头为结构钢和复合材料的复合体,锤头与弹性杆连接部分为复合材料,锤头与所述弹性杆连接部分为结构钢,锤头为外层包裹有复合材料的结构钢,复合材料为纤维增强复合材料;本实用新型通过使用纤维增强复合材料,解决了现有震动锤吸收振动能量的能力弱,易氧化,抗腐蚀能力差的问题,并消除涡流产生,降低线路能耗。

标签:
复合材料
河南 - 郑州 来源:北方有色网 2023-03-18
高性能钛酸锂复合材料的制备方法

本发明提供了一种高性能钛酸锂复合材料的制备方法,包括如下步骤:(1)制备掺锆钛酸锂材料Li4Ti5‑xZrxO12(x=0.05~0.15);(2)按照掺锆钛酸锂和锗化合物质量比200~400:1的比例称取两种物料,添加分散介质进行湿法研磨,制备悬浊液,而后应用喷雾干燥方法制备复合材料前驱体;(3)将前驱体材料高温焙烧后粉碎获得高性能钛酸锂复合材料。本发明制备的钛酸锂复合材料形貌规整,颗粒堆积密实,改善了颗粒间锂离子的扩散能力,材料具有高的振实密度,制备方法简洁,便于进行放大制备,实现工业化生产。

标签:
复合材料
河南 - 郑州 来源:北方有色网 2023-03-18
磁性羧基化共价有机骨架纳米复合材料及其制备方法和应用

本发明公开了一种磁性羧基化共价有机骨架纳米复合材料及其制备方法和应用,该复合材料为外部修饰有羧基化共价有机骨架的Fe3O4@SiO2‑NH2纳米粒子。本发明复合材料的外层具有多种功能化基团,如共轭结构的苯环、丰富的‑NH‑、羰基、羧基等基团,其不但可以提供疏水作用、氢键作用、π‑π作用等作用力,还可以提供弱阳离子交换作用,使得该材料具有多重作用模式,可以对性质差异的物质如非极性多环芳烃、极性物质四环素类以及具有季铵盐结构的强碱性物质百草枯、敌草快、孔雀石绿和结晶紫等实现同时萃取。本发明合成的复合材料具有比表面积大、孔隙较大、磁性强、稳定性好、可重复利用等优点,可以满足快速分离分析的需求。

标签:
复合材料
河南 - 郑州 来源:北方有色网 2023-03-18
双功能性混合型多酸基复合材料及其制备方法和应用

本发明公开了一种双功能性混合型多酸基复合材料及其制备方法和应用。所述双功能性混合型多酸基复合材料具有下述化学式:H48[CuI243‑Cl)84‑Cl)6](TPB)24[CuII(CH3OH)]6[W12O40]8[W6O19]3,所述双功能性混合型多酸基复合材料结晶于立方晶系,空间群为Pm‑3m,晶胞参数为本发明的多酸基复合材料具有既能光催化分解水产氢、又能光催化分解水产氧的双功能催化性能,其制备工艺简单,反应条件温和,易于大批量制备,在光催化水还原为氢气和光催化水氧化为氧气方面具有良好的应用价值。

标签:
复合材料
河南 - 郑州 来源:北方有色网 2023-03-18
基于纤维增强复合材料的断热桥拉结筋

本实用新型提供了一种基于纤维增强复合材料的断热桥拉结筋,包括拉结筋主体和包裹所述拉结筋主体的玄武岩纤维复合材料层,所述玄武岩纤维复合材料层在两端位置形成工字形结构,所述玄武岩纤维复合材料层的表面设有粗糙纹理,所述粗糙纹理为螺纹或凸起或凹坑,所述拉结筋主体为钢筋或钢绞线或玄武岩纤维复合材料基材。该基于纤维增强复合材料的断热桥拉结筋具有隔热性能优异、强度高、与混凝土结合力更好的优点。

标签:
复合材料
河南 - 郑州 来源:北方有色网 2023-03-18
SiC增强铜基复合材料及其制备方法

本发明属于陶瓷增强金属基复合材料技术领域,具体涉及一种SiC增强铜基复合材料及其制备方法。本发明的SiC增强铜基复合材料,包括Cu颗粒和SiC颗粒,所述Cu颗粒和SiC颗粒之间设有非晶玻璃相,所述非晶玻璃相为SiO2和Cu2O的共熔物。本发明通过向SiC颗粒与Cu颗粒之间引入非晶玻璃相作为界面过渡层,避免了SiC颗粒与Cu颗粒的直接接触,从而使得SiC增强铜基复合材料的性能得到提高。

标签:
复合材料
河南 - 郑州 来源:北方有色网 2023-03-18
碳纤维粉增强二硅化钼基复合材料的制备方法

本发明属于二硅化钼基复合材料的制备领域,公开了一种碳纤维粉增强二硅化钼基复合材料的制备方法。将液态酚醛树脂分散于无水乙醇中;将MoSi2粉加入所得溶液中,40~60 ℃搅拌均匀;将碳纤维粉加入所得溶液中,60~80 ℃继续搅拌,直至浆料粘稠不能搅拌为止;将浆料烘干,造粒过筛,将所得颗粒粉置于模具中,压制成型,得到坯体;用硅粉和钛粉的混合粉包覆坯体,置于石墨坩埚中,在真空1550~1650 ℃下反应1~3 h,即得到碳纤维增强二硅化钼基复合材料。本发明具有工艺简单、操作方便等优点,C/MoSi2同时具有碳纤维和二硅化钼的优点,并且克服了MoSi2脆性较大等缺陷。

标签:
复合材料
河南 - 郑州 来源:北方有色网 2023-03-18
复合绝缘子硅橡胶的处理方法及复合绝缘子硅橡胶在阻燃复合材料中的应用

本发明涉及一种复合绝缘子硅橡胶的处理方法及复合绝缘子硅橡胶在阻燃复合材料中的应用,尤其涉及一种废弃复合绝缘子硅橡胶的酸化处理方法,属于属于复合绝缘子技术领域。所述的处理方法包括如下步骤:回收废弃复合绝缘子硅橡胶材料,经清洗、粉碎制得废弃复合绝缘子硅橡胶粉体;向废弃复合绝缘子硅橡胶粉体中加入浓盐酸,搅拌3‑6h后加入去离子水继续搅拌0.5‑3h;将搅拌完成后的废弃复合绝缘子硅橡胶粉体过滤、水洗,然后用有机溶剂浸泡0.1‑1.5h,接着滤干至有机溶剂完全挥发,最后在60‑100℃下真空干燥3‑5h,得复合绝缘子硅橡胶粉体。将通过酸化处理后的复合绝缘子硅橡胶粉体应用到阻燃复合材料中,显著提高阻燃复合材料的阻燃效果。

标签:
复合材料
河南 - 郑州 来源:北方有色网 2023-03-18
玻璃钢复合材料板弹簧的制造方法

本发明公开了一种玻璃钢复合材料板弹簧的制造方法,它由多层纤维材料层以迭加铺设形式放入到合成树脂基体中,然后置于模具内进行压制成各种需要的板弹簧形状;所述纤维材料层可为粗纱布或坯布。本发明优点在于利用玻璃纤维复合材料所具有的重量轻、弹性应变大、比应变能高的特性,可以减轻60%以上的自重。这样既可增加车辆的装载能力,又可改善车辆的运行特性,同时,还可降低车辆的燃料消耗,避免簧片之间的摩擦与冲击。加上复合材料本身可以吸收大量的能量,所以可以有效的减少噪音对环境的污染;具有较强的抗腐蚀能力,并避免因生锈所造成的寿命的减少以及因簧片间夹杂的铁锈及油污所带来的减振效果的降低。

标签:
复合材料
河南 - 郑州 来源:北方有色网 2023-03-18
PBO纤维复合材料镗杆及其制备方法

本发明涉及一种PBO纤维复合材料镗杆及其制备方法。该PBO纤维复合材料镗杆包括杆芯和包覆在杆芯上的PBO纤维复合材料层,所述PBO纤维复合材料层包括树脂基体和PBO纤维,PBO纤维的质量为复合材料质量的45~65%。本发明提供的PBO纤维复合材料镗杆,以有机PBO纤维复合材料和杆芯复合作为镗杆的主体材料,其在高强度、高模量的基础上,同时具有优良的抗冲击性和尺寸稳定性,经试验证明,其在增加镗杆刚度、抗震性的基础上,可有效提高镗杆的转速,延长镗杆的使用寿命,实现了镗杆品质的全面提升,提高了镗削加工效率和质量。

标签:
复合材料
河南 - 郑州 来源:北方有色网 2023-03-18
超强度陶瓷复合材料
超强度陶瓷复合材料 1144     
 0

本发明公开了一种超强度陶瓷复合材料,它是由主料刚玉粉3-40份、石灰石2-30份、硅酸盐或铝酸钙水泥4-50份、高温沥青粉2-20份和辅料木质纤维1-6份、聚丙烯网状纤维1-10份、可再分散乳胶粉2-15份、复合增强剂0.1-0.8份制备而成。本发明所述复合材料的主要特点是强度高,具有抵抗大物料的重创击,适应各种介质的强力冲刷,附着力强,耐磨性能优越,可以有效延长设备及管道的使用寿命,由于该复合材料价格低廉,可以使企业大大降低生产成本,提高其经济效益。

标签:
复合材料
河南 - 郑州 来源:北方有色网 2023-03-18
耐高温水泥基复合材料及其制备方法

本发明公开了一种耐高温水泥基复合材料及其制备方法,属于建筑材料技术领域,所述复合材料的原料包括:水泥、石英砂、粉煤灰、纳米SiO2、水、环氧树脂、固化剂、氧化石墨烯、减水剂及聚乙烯醇纤维;所述制备方法包括以下步骤:将环氧树脂及氧化石墨烯混合、搅拌,得混合物A;将纳米SiO2、固化剂及聚乙烯醇纤维混合并搅拌,得混合物B;将水泥、石英砂和粉煤灰混合,得混合物C;将混合物A和混合物B混合并搅拌后,加入混合物C,搅拌,然后加入水和减水剂,搅拌即得所述水泥基复合材料;本发明的水泥基复合材料具有优异的抗压强度、劈裂抗拉强度及抗折强度,且在高温作用后,依然能够保持较好的力学性能。

标签:
复合材料
河南 - 郑州 来源:北方有色网 2023-03-18
抗静电高韧性PP/PA6复合材料的制备方法

本发明公开了一种抗静电高韧性PP/PA6复合材料,步骤如下:向PP与PA6复合材料中加入协同增容增韧剂,采用熔融共混注塑得到PP/PA6复合材料,其中混合体系中PP和PA6的总质量分数为80‑95%,协同增容增韧剂的质量分数为5‑20%,PA6与PP的重量比为1 : 9‑2 : 3,所述的协同增容增韧剂为离子液体和气相纳米二氧化硅,其中离子液体的含量为4.9‑15%,气相纳米二氧化硅的含量为0.1‑5%。所述离子液体中阳离子为咪唑类或吡啶类,阴离子为氯离子。该方法制备的抗静电高韧性PP/PA6复合材料的断裂伸长率为250%‑800%,表面电阻为105‑108Ω。

标签:
复合材料
河南 - 郑州 来源:北方有色网 2023-03-18
上一页 40 41 42 43 44 ... 46 下一页
共46页    到第

北方有色为您提供最新的河南郑州有色金属复合材料技术理论与应用信息,涵盖发明专利、权利要求、说明书、技术领域、背景技术、实用新型内容及具体实施方式等有色技术内容。打造最具专业性的有色金属技术理论与应用平台!

全国热门有色金属设备推荐
展开更多 +
全国热门有色金属技术推荐
展开更多 +

 

江西省隆恩特环保设备有限公司
宣传

报名参会
更多+

报告下载

有色专家
更多+

南方科技大学
外籍院士
广东省科学院资源利用与稀土开发研究所
教授
矿冶科技集团有限公司工程公司
副总经理
中冶沈勘秦皇岛工程技术有限公司
原矿山院院长/教授级高工
西北有色金属研究院、中国工程院
院士
赤泥综合利用研究报告2025
推广

热门技术
更多+

推荐企业
更多+

福建省金龙稀土股份有限公司
宣传

发布

在线客服

公众号

电话

顶部
咨询电话:
010-88793500-807