青岛垚鑫智能科技有限公司
宣传

位置:北方有色 >

有色技术频道 >

> 复合材料技术

分类:
全部
矿山技术
冶金技术
材料制备及加工技术
环境保护技术
分析检测技术
 
全部
功能材料技术
复合材料技术
新能源材料技术
合金材料技术
加工技术
地区:
全部
北京
天津
上海
重庆
河北
山西
辽宁
吉林
黑龙江
江苏
浙江
安徽
福建
江西
山东
河南
湖北
湖南
广东
海南
四川
贵州
云南
陕西
甘肃
青海
内蒙
广西
西藏
宁夏
新疆
其他
其他
展开
 
全部
济南
青岛
淄博
枣庄
东营
烟台
潍坊
济宁
泰安
威海
日照
滨州
德州
聊城
临沂
菏泽

山东济南有色金属复合材料技术理论与应用

免费发布技术信息>>
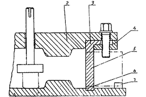
非旋转对称雷达罩根部内外形面塑型定位工装

本实用新型属于复合材料制造工艺技术,涉及一种非旋转对称雷达罩根部内外形面塑型定位工装。本实用新型包括定位环和上下左右四个复位支撑杆;复位支撑杆底段带有外螺纹;定位环套于卧式镗床主轴上;定位环外环面沿水平和垂直方向开有四个与复位支撑杆外螺纹相配合的螺纹通孔,复位支撑杆安装于定位环上并与定位环外环面垂直,复位支撑杆的底端与卧式镗床主轴接触;复位支撑杆的底段套有固定螺母,固定螺母与复位支撑杆外螺纹配合,固定螺母与定位环外环面接触;复位支撑杆顶端端头形面与雷达罩根部内形面相符。本实用新型重量轻,组合装配时操作简便,保证了塑型质量和工作效率。

标签:
复合材料
山东 - 济南 来源:北方有色网 2023-03-18
绝缘型碳纤维复合芯导线

本实用新型公开了一种绝缘型碳纤维复合芯导线,其基本结构有四层组成,其芯部是碳纤维复合材料芯杆,芯杆外层是导电体,导电体外层是耐高温树脂绝缘层,最外层是编织纤维与树脂固化的编织防护层。本实用新型的芯杆采用拉挤工艺成型,导电体采用复合绞制工艺成型,高温绝缘树脂层采用涂覆或缠绕成型,最外部保护层采用浸渍耐高温树脂的绝缘纤维编织固化成型。本实用新型的新型导线具有施工防擦伤和外层绝缘特性,可有效防止高压线路风偏放电、污闪放电等电路隐患,提高高压走廊的外绝缘,提高系统运行安全性。特别适合用作超高压、特高压电力输送导线。

标签:
复合材料
山东 - 济南 来源:北方有色网 2023-03-18
直拉单晶炉用组合坩埚

本实用新型公开了一种直拉单晶炉用组合坩埚,是一种用于承托石英坩埚的组合坩埚。其包括圆盘状的石墨材质的底座(1),设在底座(1)上与底座(1)配合的由炭/炭复合材料制成的圆筒状的筒体(3),在筒体(3)与底座(1)形成的空腔底部设有石墨材质的垫块(2),所述垫块(2)沿周向由至少两瓣组成,垫块(2)具有与单晶炉的石英坩埚埚底相配合的凹形曲面。本实用新型具有强度高、使用寿命长、加工简单,制造成本低的优点。

标签:
复合材料
山东 - 济南 来源:北方有色网 2023-03-18
金属中镶嵌陶瓷的耐磨构件

本实用新型公开了一种金属中镶嵌陶瓷的耐磨构件,它包括耐磨陶瓷块、底板、带通孔的基板,耐磨陶瓷块镶嵌在基板的通孔内,基板安装在底板上,耐磨陶瓷块包括工作段和定位段,两段的横截面形状相同,定位段的横截面积大于工作段的横截面积,耐磨陶瓷块通过定位段与底板连接,基板的通孔与耐磨陶瓷块的工作段和定位段或者仅与工作段匹配。该种耐磨构件采用变截面结构设计的耐磨陶瓷块,克服了原有金属陶瓷耐磨复合材料只采用粘接剂固定,容易脱落的弊端。

标签:
复合材料
山东 - 济南 来源:北方有色网 2023-03-18
屏蔽隔声连接装置
屏蔽隔声连接装置 1175     
 0

本实用新型属于建筑隔音技术领域,公开了一种屏蔽隔声连接装置,设置有连接边框,所述连接边框设置有隔音腔与吸音腔,所述隔音腔内卡接有隔音组件,吸音腔内设置有用于吸收穿过隔音组件的吸音组件;所述隔离组件设置在吸音腔内,用于使吸音腔分隔开;连接边框的截面呈阶梯形结构,所述连接边框上设置有方便插入到相邻两个屏蔽隔音模块之间的凸字形结构;连接边框材框采用铝板边框、不锈钢边框、合金材料边框或者复合材料边框中的一种。本实用新型使得声音在通过该屏蔽隔声连接板块时,绝大部分声波被隔音组件隔绝在外,少部分进入吸音腔的声波被吸音填料和吸音毡吸收,最后达到极高的隔音效果,有效地隔绝了声音,避免了信息的泄漏。

标签:
复合材料
山东 - 济南 来源:北方有色网 2023-03-18
霍普金森杆拉伸试验夹持装置

本实用新型属于材料力学性能试验技术领域,具体涉及一种霍普金森杆拉伸试验夹持装置,该装置包括杆端连接头、夹板连接部、下夹板和上夹板,杆端连接头与试验系统以螺纹方式连接,夹板连接部上表面设有T型凹槽,下夹板夹持面设有长方形试样定位槽;上夹板一端设有T型连接头,T型连接头与T型凹槽间隙配合,上夹板通过可拆卸紧固装置与下夹板9固定连接。试验时,该装置成对使用,对板状待测试样进行对称夹持,实现待测试样的稳定加载,可有效解决霍普金森杆拉伸试验中板状试样加载的问题,特别是对柔性基体高强纤维复合材料在拉伸过程中的试样滑脱、分层脱粘等加载失败的问题;该装置拆装方便,操作简单,比粘接试样的方法试验周期短,效率高,试验结果准确可靠。

标签:
复合材料
山东 - 济南 来源:北方有色网 2023-03-18
VAP膜抽气袋
VAP膜抽气袋 1318     
 0

本实用新型公开了一种复合材料生产技术领域用品,尤其是涉及一种VAP膜抽气袋。该一种VAP膜抽气袋,包括塑料薄膜,其特征是:塑料薄膜上依次设有导流网和VAP透气膜,所述塑料薄膜、导流网和VAP透气膜通过热合的方式粘贴固定。其有益效果是:生产成本较低,生产出的灌注产品无压痕,大大提高了灌注产品的产品质量,给人们的日常工作带来极大的便利。

标签:
复合材料
山东 - 济南 来源:北方有色网 2023-03-18
新型双头精密切割锯
新型双头精密切割锯 797     
 0

本实用新型属于纤维增强复合材料扁带生产工艺中所使用的相关设备领域,尤其涉及一种新型双头精密切割锯,包括支撑架、切割工作台、送料机构、压紧机构、切割机构,所述切割工作台通过第一滑动组件与支撑架连接设置,所述支撑架上设置有驱动切割工作台移动的跟踪气缸,所述送料机构通过第二滑动组件与切割工作台连接设置,所述支撑架上远离压紧机构的一端设置有制品收集箱;所述切割工作台上设置有光电开关。本实用新型中整体设计简单合理,压紧机构、送料机构、切割机构以及两个滑动组件的设置,大大提高了扁带的切割精度;其光电开关和制品收集箱的设置,使扁带切割长度更加精确,扁带收集更加方便,相应的节省了人力,提高了效率。

标签:
复合材料
山东 - 济南 来源:北方有色网 2023-03-18
带有承插接口的黑色陶瓷太阳能集热瓦

带有承插接口的黑色陶瓷太阳能集热瓦,该承插接口是由带凹槽的管状承口和插口以及“O”形密封圈组合而成。“O”形密封圈用具有一定弹性的有机材料或复合材料制成,便于现场施工更换。

标签:
复合材料
山东 - 济南 来源:北方有色网 2023-03-18
复合结构陶瓷
复合结构陶瓷 1201     
 0

本实用新型属于陶瓷材料技术领域,具体涉及一种复合结构陶瓷,包括陶瓷基底(1)和填充层(3),在陶瓷基底(1)顶面角点预置凸台(2),根据来袭弹药弹丸直径,设计凸台大小,实现对来袭弹药的精准防护,消除陶瓷角点处防护性能差的缺陷,填充层(3)采用树脂或纤维增强树脂基复合材料制备而成,通过陶瓷基底(1)和填充层(3)的有效一体化设计,实现了“硬‑软”抗弹材料的有效结合。该复合结构陶瓷重量轻、抗弹性能优异,适用于各种陶瓷复合装甲,相对于传统复合装甲,该复合结构陶瓷既可显著减轻重量又可有效提升武器装备的防护性能,尤其是抗弹陶瓷角点处的抗弹性能。

标签:
复合材料
山东 - 济南 来源:北方有色网 2023-03-18
导电微纳米材料改性预浸料连续化制备装置

本实用新型公开了一种导电微纳米材料改性预浸料连续化制备装置,包括纤维丝束展开装置、纤维浸渍胶槽、预浸料厚度调节辊组、高压直流电源及预浸料收卷装置。其中纤维浸胶槽中设置超声探头,主要实现导电微纳米材料在树脂胶液中均匀分散;高压直流电源主要用于构建高强均匀电场,利用电场取向方法实现导电微纳米材料定向操控。本实用新型在提高导电微纳米材料/纤维增强热固性树脂基预浸料产量的同时,解决了导电微纳米材料在树脂中团聚、无规分散问题,对复合材料性能提升具有积极作用。

标签:
复合材料
山东 - 济南 来源:北方有色网 2023-03-18
新型钢木复合密封窗
新型钢木复合密封窗 806     
 0

本实用新型涉及新型建筑材料技术领域,涉及一种新型钢木复合密封窗,其特征在于,包括窗座(1)、窗框(2)、复合玻璃(3);所述窗框(2)铰接在所述窗座(1)上,所述窗框(2)的内壁设有条形凹槽,所述的窗框(2)内设有复合玻璃(3),所述复合玻璃(3)的边缘嵌于所述的条形凹槽内;所述复合玻璃(3)采用双层玻璃制成,双层玻璃内部夹有电热丝,所述复合玻璃(3)外表面涂有纳米二氧化钛涂层;所述窗框(2)采用复合材料,由内而外,包括木质层(21)、第一金属层(22)、抗振隔音层(23)、保温层(24)、第二金属层(25);任意相邻两层之间采用粘连和/或螺钉相连。本实用新型的有益效果在于:节约金属资源,有效结合了金属和木质的特性,在保证韧性和强度的基础上,降低了材料的重量和成本,可以实现自加热自清洁。

标签:
复合材料
山东 - 济南 来源:北方有色网 2023-03-18
获取顶伸状态皮革截面的装置

本实用新型具体公开了一种获取顶伸状态皮革截面的装置,包括模具下体、模具上体、顶杆、G型夹及树脂加注系统,所述的模具上体和模具下体上下配合,且配合的边界处设有用于夹紧皮革样品的G型夹,所述的模具下体的底部设有与其相通的竖直加注系统的下浇注口,模具上体的顶部的中心位置设有供顶杆穿过的固定口,在模具上体顶部的偏离中心位置设有上浇注口。本实用新型运用不饱和聚酯树脂、促进剂和固化剂混合物浸渍顶伸皮革样品,固化后制作成一种坚固的树脂基复合材料,将皮革纤维固定,可以对其进行打磨、抛光等操作,而纤维却不移动、不变形,不缺失。

标签:
复合材料
山东 - 济南 来源:北方有色网 2023-03-18
碳化硅聚合陶瓷异型管件

本实用新型公开了一种碳化硅聚合陶瓷异型管件,包括:基体管、内衬层,所述内衬层由龟甲网骨架和浇筑在龟甲网骨架内的陶瓷复合材料组成,所述龟甲网骨架由多个六角形的龟甲格构成,横向的相邻两龟甲格间通过弯折部连接,弯折部呈倒“V”形,弯折部分别与两侧的龟甲格一体连接,龟甲格底面为圆弧形;龟甲格内部设置两组网格爪,网格爪上固定焊接有焊接柱。本实用新型中相邻两龟甲格间通过弯折部连接,弯折部呈倒“V”形,具有一定的弯折性能,弯折部分别与两侧的龟甲格一体连接,龟甲格底面为圆弧形,在铺设龟甲网时,通过将弯折部进行一定的弯折使龟甲格底面与基体管内壁贴合,避免龟甲格相互间的应力,可更好的固定在基体管上。

标签:
复合材料
山东 - 济南 来源:北方有色网 2023-03-18
开卷成环装置
开卷成环装置 1033     
 0

本实用新型属于复合材料加工技术领域,涉及一种布带开卷成环装置,该装置包括工作台(1)、开卷机构、布带固定装置和驱动装置(6),所述开卷机构包括开卷轴(2)和开卷组件(3),开卷组件(3)包括开卷组件Ⅰ(3‑1)和开卷组件Ⅱ(3‑2),开卷轴(2)与驱动装置(6)传动连接,开卷组件Ⅰ(3‑1)为框架结构,开卷组件Ⅰ(3‑1)和开卷组件Ⅱ(3‑2)嵌套安装在开卷轴(2)上,两者至少一个可绕开卷轴(2)转动,开卷轴(2)上设有开卷组件(3)的限位装置(4)和紧固装置(5),该装置能将布带卷材稳定有序的开卷成环,自动化程度高,适于批量生产加工,而且开卷后布带拿取方便,可以广泛推广和应用。

标签:
复合材料
山东 - 济南 来源:北方有色网 2023-03-18
用于菱形块加工的定位夹具

本实用新型属于复合材料制造工艺技术,具体涉及一种用于菱形块加工的定位夹具。现有数控加工的方式针对菱形块批量加工效率低下,并且对编程及操作人员的经验依赖性较高,加工方式繁琐且不够灵活。本实用新型包括基板,在该基板上端面具有定位槽、刀具避让槽和限位槽,其中所述限位槽在靠近基板一端边缘且平行于该边缘,所述刀具避让槽和限位槽为阶梯槽,且刀具避让槽的深度大于限位槽;所述定位槽与刀具避让槽、限位槽具有夹角,夹角等于菱形块的锐角角度,且定位槽的开口宽度等于菱形块的边长,坯料每次进给量等于菱形块的边长。结构简单,操作方便、灵活;加工效率高,省时,省力。

标签:
复合材料
山东 - 济南 来源:北方有色网 2023-03-18
等离子弧平面堆焊机
等离子弧平面堆焊机 1193     
 0

本实用新型公开了一种等离子弧平面堆焊机,旨在为平面形状的复合材料堆焊产品提供等离子弧平面堆焊设备。它包括龙门架结构的机架和对应设置的焊接平台,在纵向行走电机的驱动下,机架与焊接平台可以相对纵向平行移动;在机架的横梁侧面设置有由横向移动电机驱动可横向移动或摆动的的横向滑板,在横向滑板的外侧面设置有可升降的焊枪支架,在焊枪支架上安装有指向焊接平台的等离子焊枪,在升降电机驱动下等离子焊枪的高度位置可调,等离子焊枪还配备有直流焊接电源、工作气体和冷却水源;连接各电机的导线通向控制箱并通过电气自控装置实现自动控制。本实用新型结构设计合理,技术成熟可靠,满足焊接作业的各项操作要求,实现高效自动化生产。

标签:
复合材料
山东 - 济南 来源:北方有色网 2023-03-18
托辊
托辊 915     
 0

本实用新型涉及一种托辊,具体为新型超耐磨高密封托辊,通常用于输送带传送过程中。该种托辊,包括托辊轴、辊体、轴承座、内部密封及外部密封,其特征在于:所述辊体为超高分子量聚乙烯材质,分子量在400万以上,轴承座及内外部密封采用高强度复合材料注塑一体成型,各结构均设计有凹凸结构进行防脱。本实用新型托辊的有益效果是:重量轻,超耐磨,选择阻力小,防尘防水效果好,防粘结超高,耐腐蚀性强,使用寿命长,而且很好的保护了皮带,延长了皮带的使用寿命。

标签:
复合材料
山东 - 济南 来源:北方有色网 2023-03-18
A级防火复合保温板
A级防火复合保温板 915     
 0

本实用新型公开了一种A级防火复合保温板,包括改性酚醛树脂板,所述包括改性酚醛树脂板,所述改性酚醛树脂板上下表面均粘接有无机面板,所述无机面板表层内均嵌入有一层耐碱玻璃纤维网格布,该保温板设置有贯穿无机面板、耐碱玻璃纤维网格布和改性酚醛树脂板的固定孔。该保温板设置有贯穿无机面板、耐碱玻璃纤维网格布和改性酚醛树脂板的固定孔。本实用新型的有益效果是:采用改性酚醛树脂板与无机面板复合,形成的复合材料燃烧性能达国家A级要求。使用方便。应用在建筑上提高了安全性。

标签:
复合材料
山东 - 济南 来源:北方有色网 2023-03-18
双面复合保温板
双面复合保温板 909     
 0

本实用新型公开了一种双面复合保温板,包括一层保温板,所述保温板上下表面均复合有一层无机面层,所述保温板为聚苯板、挤塑板或聚氨酯板。1.不但燃烧性能指标大为提高,杜绝了在建筑物建造及使用过程中的火灾发生,而且改进了价格低廉的普通保温板防火性能差的缺点。2.既可用于主体建筑完工后贴上墙使用,更可随建筑主体现浇使用,使用比较方便。3.保温寿命大幅度提高的同时,更增加了建筑物的抗冲击性能,又降低了紫外线对保温材料的破坏。4.使复合材料既有有机材料的保温效果,又具备无机材料的防火性能。

标签:
复合材料
山东 - 济南 来源:北方有色网 2023-03-18
管材耐压试验用端头密封装置

本实用新型属于材料性能检测技术领域。试样内表面采用压紧橡胶O型圈达到密封,试样外表面采用哈呋瓣模自锁紧机构,满足耐压密封要求。采用双接口进水形式,提高注水速度。本实用新型涉及的管材耐压试验用端头密封装置,包括由试样、密封机构、锁紧机构组成,其特征在于:所述密封机构为芯杆(3)与O型圈(4)相配合,压环(5)安装在芯杆(3)上;锁紧螺栓(8),与盖板(6)、芯杆(3)连接并锁紧。该密封装置,密封效果好,结构合理,并便于安装拆卸。注水速度快,显著缩短试验周期。适用于管材耐压试验,特别适用于大口径塑料或复合材料管材耐压试验。

标签:
复合材料
山东 - 济南 来源:北方有色网 2023-03-18
飞机货舱结构保护装置
飞机货舱结构保护装置 1075     
 0

一种飞机货舱结构保护装置,包括:侧壁保护罩、地板保护条以及门框保护罩。护罩形状在提供最大承受碰撞应力的前提下,最大程度上减少货舱空间占用,大范围减少因复合材料侧壁板磨损和破损而产生的附件维护维修成本,减少外来物的产生,保护侧壁板下部货舱隔框结构,大范围减少因碰砸货舱隔框结构而产生的维修成本,适合航空业大范围推广。侧壁保护罩通过飞机原有的紧固件固定安装,因此安装方便、结构简单,不改变飞机原有设计和结构。地板保护条可有效保护此处地板和防磨板边缘,保护此处下部的货舱导轨结构。门框保护罩可有效保护货舱门开口区域处门框的上部盖板,减少货物装卸过程中直接碰撞损伤门框上盖板的几率。

标签:
复合材料
山东 - 济南 来源:北方有色网 2023-03-18
轴流式风机FRP叶轮成型模具

本实用新型提供了一种采用手糊成型和冷压成型工艺结合制造FRP(玻璃钢、复合材料)整体轴流式风机叶轮的模具,使用该模具可使叶片与轮毂在成型中连接为一个整体结构,改进了过去叶片、轮毂单独制造的老工艺方法,充分发挥了FRP材料的特性,保证了叶轮的强度、刚度和几何精度。

标签:
复合材料
山东 - 济南 来源:北方有色网 2023-03-18
变压器渗漏油监测报警装置

本实用新型提供了变压器渗漏油监测报警装置,包括测重平台、支撑杆、控制箱和无线发射天线,测重平台上表面为斜坡,测重平台由高吸油性且憎水性强的有机高分子复合材料制成;控制箱内设有供电模块、测重模块、运算模块和无线通信模块,测重模块包括传感器、放大电路和A/D转换模块,传感器通过支撑杆与测重平台下表面连接,传感器的输出端依次通过放大电路和A/D转换模块连接到运算模块,所述的运算模块连接无线通信模块。本实用新型成本低、使用方便,可以准确判断变压器的渗漏油状况。

标签:
复合材料
山东 - 济南 来源:北方有色网 2023-03-18
感应加热的预压加热装置

一种感应加热的预压加热装置,包括一保护壳体,在保护壳体的内部设置一保温壳体,在保温壳体内部设置有若干隔离支撑件,在隔离支撑件上设置有环形设置的保温层,在保温层的外侧贴设有加热线圈,在保温层的内侧设置有加热板,在加热板形成的腔体的顶部设置一与加热板形成的腔体的形状配合设置的按压板;在保护壳体的外部设置有散热风机,所述散热风机设置在保护壳体的上部,所述散热风机入口通过散热管道与保温壳体与保温层之间的间隙连通设置。本申请采用按压板辅助成型的方式,可以在进行感应加热操作的时候同时进行施压成型,满足复合材料制备工艺对压力参数的需求,保证感应加热的加热效率,最终也能有较好的成型效果。

标签:
复合材料
山东 - 济南 来源:北方有色网 2023-03-18
隔热节能断桥钢型材结构

本实用新型公开了一种隔热节能断桥钢型材结构,包括第一型材,第一型材的上方设有与其相配合的第二型材,第二型材和第一型材之间的中间位置设有与其相配合的隔热材料,且隔热材料为T形结构,隔热材料的内部对称设有与其相配合的T形槽,隔热复合材料与隔热材料、第二型材和第一型材为复合连接,第二型材的顶端设有与其相配合的功能架,功能架的两侧均设有与其相配合的橡胶隔音垫,功能架顶端的中间位置设有与其相配合的调节板,调节板的内部对称设有与功能架相配合的固定调节杆。有益效果为:有效的保证了设备使用期间,设备能够很好的保证隔热性能,同时能够具有更多的安装使用辅助结构,从而使设备更加灵活和实用。

标签:
复合材料
山东 - 济南 来源:北方有色网 2023-03-18
建筑施工智能防护装置

本实用新型公开了一种建筑施工智能防护装置,包括装置本体,所述装置本体的左右两侧安装有伸缩网,且所述伸缩网与所述装置本体活动连接,所述伸缩网的上侧设置有圆形网,所述圆形网的左上侧设置有加固细梁,且所述圆形网与加固细梁转动连接,所述加固细梁上侧中心位置设置有接收柱,通过对装置本体的多方面改进,比传统一种建筑施工智能防护装置的体积更加精确,装置本体采用了一体化,改变了原来的装置由多结构组成,减少了装置安装时所需的劳动力,减少了安装成本,采用转动轮提高了装置的灵活性能,同时运用伸缩柱和伸缩梁,提高了装置的可携带性,大量采用高强度复合材料,提高了装置的防水性能和防腐蚀性。

标签:
复合材料
山东 - 济南 来源:北方有色网 2023-03-18
碳纤维连续电化学阳极氧化装置

一种碳纤维连续电化学阳极氧化装置。主要部件包括塑料碳纤维缠绕筒、阳极导线环、塑料滑轮、塑料底座、塑料支架、活动支架、电动机、整流器、电源、控制板、导线。目前,碳纤维在各行业应用的越来越广,以其为基的复合材料也越来越多。但是碳纤维表面比较光滑,容易造成沉积物与碳纤维表面之间的结合力较低。而通过在碳纤维表面进行刻蚀来改善这一状况,增加结合力。刻蚀有许多方法其中电化学阳极氧化以可控性好受到了越来越多的关注度。但是碳纤维在处理过程中容易缠绕在一起并且难以剥离,给电化学阳极氧化过程带来诸多不便。为此制造一种夹持装置不但能避免碳纤维缠绕的问题还能使碳纤维连续的进行氧化,提高实验效率。

标签:
复合材料
山东 - 济南 来源:北方有色网 2023-03-18
柔性连续碳纤维自发热元件及其结构

本实用新型涉及一种多层结构且内填充耐热绝缘物的柔性碳纤维自发热元件,该元件由外到内包括:碳纤维编织复合材料外层、耐热绝缘层、多根并行的碳纤维柔性发热缆线。其中多根柔性碳纤维发热缆线也采用表面耐热绝缘层和内部的连续碳纤维发热线的多层结构。利用本实用新型结构制备的柔性连续碳纤维自发热元件具有稳定的发热温度,且长度可根据需求灵活截取,可广泛应用于石油开采领域的稠油降粘或者输油管道的保温,通电发热温度可达到100‑150℃。步骤简单、操作方便、实用性强。

标签:
复合材料
山东 - 济南 来源:北方有色网 2023-03-18
低压轴流通风机
低压轴流通风机 894     
 0

低压轴流通风机是在原低压轴流通风机基础上对风机叶片进行了改进。设计后的叶片为机翼型矩型叶片,并且将叶片和轮毂压注成一体,用玻璃钢复合材料制成。使风机效率提高,噪音降低,节约了钢材,可防爆、防腐,加工工艺简化。

标签:
复合材料
山东 - 济南 来源:北方有色网 2023-03-18
上一页 2 3 4 5 6 ... 72 下一页
共72页    到第

北方有色为您提供最新的山东济南有色金属复合材料技术理论与应用信息,涵盖发明专利、权利要求、说明书、技术领域、背景技术、实用新型内容及具体实施方式等有色技术内容。打造最具专业性的有色金属技术理论与应用平台!

全国热门有色金属设备推荐
展开更多 +
全国热门有色金属技术推荐
展开更多 +

 

江西省隆恩特环保设备有限公司
宣传

报名参会
更多+

报告下载

有色专家
更多+

鞍钢集团有限公司
中国工程院院士
南方科技大学
外籍院士
江西理工大学
副处长/教授
有研资源环境技术研究院(北京)有限公司
副总经理/教授级高工
中国铝业集团有限公司
中国铝业股份有限公司党委书记
赤泥综合利用研究报告2025
推广

热门技术
更多+

推荐企业
更多+

福建省金龙稀土股份有限公司
宣传

发布

在线客服

公众号

电话

顶部
咨询电话:
010-88793500-807