青岛垚鑫智能科技有限公司
宣传

位置:中冶有色 >

有色技术频道 >

> 复合材料技术

分类:
全部
矿山技术
冶金技术
材料制备及加工技术
环境保护技术
分析检测技术
 
全部
功能材料技术
复合材料技术
新能源材料技术
合金材料技术
加工技术
地区:
全部
北京
天津
上海
重庆
河北
山西
辽宁
吉林
黑龙江
江苏
浙江
安徽
福建
江西
山东
河南
湖北
湖南
广东
海南
四川
贵州
云南
陕西
甘肃
青海
内蒙
广西
西藏
宁夏
新疆
其他
其他
展开
 
全部
其他

其他其他有色金属复合材料技术理论与应用

免费发布技术信息>>
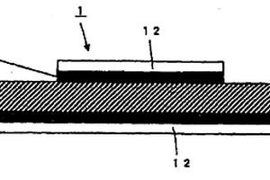
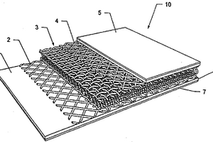
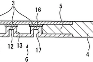
过滤复合材料及其制造方法和由过滤复合材料制成的扁平过滤元件

一种过滤复合材料(10)包括一个第一和第二过滤膜(1,5)与一个设置它们之间的排水织物(3)。排水织物(3)和过滤膜(1,5)借助粘接网(2,4)相互层压。由过滤复合材料作为坯料制造扁平过滤元件并且该扁平过滤元件具有与相应的应用匹配的几何结构。

标签:
复合材料
其他 - 其他 来源:中冶有色网 2023-03-18
用于隔热或隔音的复合材料及制造这种复合材料用的方法

本发明涉及一种用于实现车辆、建筑物或设施中的隔热和/或隔音的复合材料(10)以及复合材料(10)的制造方法,复合材料具有总体上平面的板形的基本形状,包括至少一个隔离材料(2)和至少一个与隔离材料(2)连接的形式为排水形成物(1)的功能层,其中排水形成物(1)构造出复合材料(10)的可透过空气和液体的层,其中隔离材料(2)包括软泡沫材料或尤其基于PET、PP、PANox、棉或其混合物的体积绒毛,其中排水形成物(1)在指向隔离材料(2)的侧面上不平坦地形成,尤其具有点状凸出的部位或用于紧固在隔离材料(2)上的部分,并且在背对的侧面上、在复合材料(10)的外侧具有用于防磨损的器件(3、4)。

标签:
复合材料
其他 - 其他 来源:中冶有色网 2023-03-18
氯乙烯基聚合物复合材料及其制备方法、和氯乙烯基聚合物复合材料组合物

本发明涉及一种氯乙烯基聚合物复合材料的制备方法、通过该制备方法制备的氯乙烯基聚合物复合材料和氯乙烯基聚合物复合材料组合物,所述氯乙烯基聚合物复合材料的制备方法包括:将氯乙烯基单体分散在水中的步骤1;使分散的氯乙烯基单体与引发剂聚合以制备聚合物浆料的步骤2;以及在干燥所述聚合物浆料时向所述聚合物浆料中添加亚磷酸酯,以制备氯乙烯基聚合物复合材料的步骤3。

标签:
复合材料
其他 - 其他 来源:中冶有色网 2023-03-18
多孔复合材料及其生产方法以及金属元素的分离方法

本发明的多孔复合材料包括无机多孔材料,且 在该材料的孔中包含带有微孔的有机树脂。该多孔 复合材料的表面积大于无机多孔材料的表面积。该 多孔复合材料具有可与无机多孔材料相比的高形稳 性,同时还表现出可与常用离子交换树脂或者螯合 物树脂相比的高分离性能以及高吸附能力。因此,可 有效地用作为各种化合物或者离子的吸附剂,以及 气相色谱法或者液相色谱法的填充材料。

标签:
复合材料
其他 - 其他 来源:中冶有色网 2023-03-18
由粉末团聚体制造纳米粒,特别是纳米粒复合材料

本发明涉及制造颗粒状复合材料的方法,其中,以干燥状态、特别是以粉末形式提供的固体无机或有机基颗粒团聚体或颗粒聚集体首先在气相中或在气态载体介质中和在有机基基质颗粒存在的情况下通过施加能量而被粉碎,随后,产生的粉碎颗粒被分散到所述有机基基质颗粒中,特别是嵌入其中和/或附聚到其上。以所述方式制得的复合材料可用于许多不同的应用,并特别适用于各种塑料、涂层物料、涂料和漆,特别是粉末漆,在用于相应的产物或类似物中时用于改变性质。

标签:
复合材料
其他 - 其他 来源:中冶有色网 2023-03-18
复合材料、包含复合材料的结构元件、飞机翼梁及其生产方法

本文公开了复合材料、包含复合材料的结构元件、飞机翼梁及其生产方法。本发明的一些实施方案包括复合材料,该复合材料包含被非金属材料层分隔开的金属主体的阵列的多个层,其中一些金属层中的金属主体的定向与相邻金属层中的金属层的定向在结构上相补充。本发明的其它实施方案包括包含复合材料的结构元件,例如飞机翼梁。

标签:
复合材料
其他 - 其他 来源:中冶有色网 2023-03-18
铝-镁-硅复合材料及其制造方法和使用了该复合材料的热电转换材料、热电转换元件以及热电转换组件

本发明提供一种铝-镁-硅复合材料,具有优异的热电转换特性,该复合材料包括包含Al、Mg以及Si的合金,是能够适合用作热电转换组件的材料的铝-镁-硅复合材料。本发明的铝-镁-硅复合材料包括包含Al、Mg以及Si的合金,在300K下的电导率σ为1000~3000S/cm。由于该铝-镁-硅复合材料热电转换特性优异,因此适用于制造热电转换元件。

标签:
复合材料
其他 - 其他 来源:中冶有色网 2023-03-18
复合材料、碳化复合材料及其生产方法

本发明提供了具有高电导率和热导率的复合材料和碳化复合材料,所述材料中均匀地混合了纳米碳,也提供了生产这些材料的方法。本发明的复合材料包含:在其主链或侧链中存在包含氮、氧或硫之类杂原子的原子团的高聚物;和纳米碳。通过煅烧上述复合材料生产本发明的碳化复合材料。

标签:
复合材料
其他 - 其他 来源:中冶有色网 2023-03-18
制备用于生产结构性或非结构性用途预压件的可持续复合材料的方法及该复合材料

本发明公开了一种制备用于生产结构性或非结构性用途预压件的可持续复合材料的方法及其复合材料,属于应用于建筑行业的材料及其制备方法技术领域,所述预压件指的是使用于建筑领域的块状物,板状物,预制墙,梁和平板,方法包括如下步骤:准备干燥的有机物纤维;准备由热塑性的生物塑料制成的第一外壳,以容纳用于形成复合材料的有机物纤维;提供若干设置于所述第一外壳内的套管,其内部空间中至少一部分含有所述有机物纤维,以此形成包含有有机物纤维、第一外壳和套管的复合材料,然后压缩所述复合材料;加热复合材料;冷却复合材料直至成型。该复合材料在各个方向都具有很好的抗剪切强度,且由来源广泛并可自行降解的材料制成。

标签:
复合材料
其他 - 其他 来源:中冶有色网 2023-03-18
利用单方向碳纤维预浸料织物的复合材料及利用该复合材料的覆铜板层压板

本发明涉及具有厚度薄、热膨胀系数低及热放出高等特性的复合材料的制造方法、通过该制造方法制造的复合材料及利用该复合材料的覆铜板层压板。根据本发明的利用单方向碳纤维预浸料织物的复合材料,利用通过包括如下步骤的方法制造的单方向碳纤维预浸料织物,该方法包括:制造单方向碳纤维预浸料的步骤;将制造的单方向碳纤维预浸料切断成一定宽幅的步骤;将切断成一定宽幅的单方向碳纤维预浸料织制成织物的步骤;及将织制的单方向碳纤维预浸料织物进行成型的步骤。本发明的复合材料具有更薄的厚度,且具有X、Y方向的热膨胀系数差异小的优点。

标签:
复合材料
其他 - 其他 来源:中冶有色网 2023-03-18
用于防火用途的硅氧烷树脂复合材料及制造该复合材料的方法

本发明公开了一种聚合物基体复合材料, 该复合 材料包括固化的甲基硅杂倍半噁烷树脂基体和增强材料。所要 求保护的复合材料燃烧时具有低的放热速度、排烟量和产生一 氧化碳的量。燃烧后, 本复合材料具有高的炭化量, 并保留其大 部分的初始拉伸强度。制造所述复合材料的方法包括将甲硅烷 醇官能的甲基硅杂倍半噁烷树脂施加到增强材料上, 所述甲硅 烷醇官能的甲基硅杂倍半噁烷树脂含有70至90%(摩尔)的((CH3)SiO3/2)单元和10至25%(摩尔)的(CH3Si(OH)O2/2); 单元, 随后固化所述树脂。

标签:
复合材料
其他 - 其他 来源:中冶有色网 2023-03-18
预浸纤维增强复合材料以及通过成型和完全固化所述预浸纤维增强复合材料获得的制造制品

本发明涉及一种层状预浸纤维增强复合材料,通过使用聚合物粘合剂组合物浸渍纤维性物质而获得,并且旨在进行连续成型和完全固化操作以生产纤维增强复合材料。聚合物粘合剂组合物包含选自由硅氧烷树脂和倍半硅氧烷树脂组成的组中的一种或多种树脂并且可以任选地包含一种或多种有机树脂。聚合物粘合剂组合物表现为在50℃与70℃之间的温度下具有55000与10000mPas之间的粘度的液体。聚合物粘合剂组合物形成填充所述纤维性物质的间隙的未交联或仅部分交联的聚合物粘合剂基质。本发明还涉及一种制备所述层状预浸纤维增强复合材料的方法。本发明还涉及一种通过前述预浸纤维增强复合材料的热成型和完全固化获得的制造制品以及一种制备所述制造制品的方法。

标签:
复合材料
其他 - 其他 来源:中冶有色网 2023-03-18
纤维强化复合材料用树脂组合物和使用它的纤维强化复合材料

本发明提供在显示良好的对强化纤维的浸渗性的基础上还具有快速固化性且成型物的耐热性高的适合用作纤维强化复合材料的树脂组合物。本发明的纤维强化复合材料用树脂组合物,其特征在于,是由主剂和固化剂构成且主剂与固化剂的质量比为85:15~65:35的范围的二液固化型的树脂组合物,上述主剂含有环氧树脂(A)和在一分子中具有三个以上的(甲基)丙烯酰基的(甲基)丙烯酸酯化合物(B),上述固化剂含有下述通式(1)表示的胺化合物(C),在环氧树脂(A)中含有75~100质量%的双酚A型环氧树脂,上述主剂的粘度为10000mPa·s以下,上述固化剂的粘度为800mPa·s以下。X-(CH2NH2)n(1)(式中,X表示碳原子数1~16的n价的有机基团,n表示2或者3)。

标签:
复合材料
其他 - 其他 来源:中冶有色网 2023-03-18
包含碳纤维和热塑性树脂的复合材料、使用该复合材料的成型体的制造方法以及成型体

本发明提供一种复合材料以及使用该复合材料的冲压成型体的制造方法,所述复合材料包含热塑性树脂以及重均纤维长1mm以上100mm以下的碳纤维,并且通过使其满足K1≤1.5×K2,从而在冲压成型的伸长工序中表现出优异的追随性。其中,K1:以温度270℃、剪切100rad/sec、法线载荷2N,从0%至100%对复合材料进行应变扫描试验,在应变为35%以上的范围内,对应变%的值与复合粘度系数Pa·sec的值进行双对数制图并进行线性近似时的近似直线的斜率,K2:以温度270℃、剪切100rad/sec、法线载荷2N,从0%至100%对复合材料进行应变扫描试验,在应变小于35%的范围内,对应变%的值与复合粘度系数Pa·sec的值进行双对数制图并进行线性近似时的近似直线的斜率。

标签:
复合材料
其他 - 其他 来源:中冶有色网 2023-03-18
用于制造复合材料的方法和复合材料

本申请涉及:用于制造复合材料的方法;和复合材料。本申请中获得的复合材料可以具有高的热传导效率。本申请中获得的复合材料可以确保在氧化和/或高温气氛等中的稳定性。本申请中获得的复合材料具有能够防止尤其是在用作散热材料等时发生剥离问题等的优点。

标签:
复合材料
其他 - 其他 来源:中冶有色网 2023-03-18
复合材料的双隔膜成型、用于此种成型的组件、及所得复合材料

本文披露了用于复合材料与环境隔离的方法,以及隔离的复合材料。本文还披露了用于使复合材料成型的方法,该方法包括使用隔离的复合材料。例如,披露了一种用于复合材料机械热成型以形成成型复合材料的方法。

标签:
复合材料
其他 - 其他 来源:中冶有色网 2023-03-18
纤维增强复合材料、其方法及含有该复合材料的制品

本文公开了纤维增强的复合材料。这些材料可用于机械系统和其他应用的承重组件。本文还公开了制备和使用这种复合材料的方法,包含该复合材料的制品等。例如,本发明的一些实施方案通常涉及包含不连续剂例如纤维或小片的复合材料,其位于例如由多个连续纤维形成的基材内。在一些情况下,不连续剂可以例如通过将磁性颗粒附着到试剂上并使用磁场来操纵试剂而基本上对齐。其他实施例通常涉及用于制造或使用这种复合材料,涉及这种复合材料的套件等的系统和方法。

标签:
复合材料
其他 - 其他 来源:中冶有色网 2023-03-18
具有提高的机械性能的复合材料和包括该复合材料的模制品

本发明提供了一种通过加工树脂组合物获得的复合材料,所述树脂组合物包括热塑性树脂、多壁碳纳米管和增强成分。所述多壁碳纳米管的平均直径为10nm或大于10nm;组成所述多壁碳纳米管的壁的石墨烯层数为10层或大于10层;所述多壁碳纳米管的Id/Ig为1或小于1;并且留在所述复合材料中的所述碳纳米管的余量长度的比率为40%或大于40%。包括所述热塑性树脂的所述复合材料在电导率不降低的情况下具有提高的机械性能,并且因此能够制造成各种模制品。

标签:
复合材料
其他 - 其他 来源:中冶有色网 2023-03-18
纤维增强复合材料构造体、复合材料成形体及其制造方法

本发明的纤维增强复合材料构造体(6)具备:薄板(2),其具有第一面、和具有顶面(12)并且在上述第一面上突出且规则地配置的多个凸部(11);以及表面材料(1),其具有第二面,且以上述第二面与上述顶面(12)接合。

标签:
复合材料
其他 - 其他 来源:中冶有色网 2023-03-18
纤维复合材料和用于制备该纤维复合材料的方法

一种纤维复合材料,所述纤维复合材料可以在使用少的树脂沉积量的同时,被调节成具有在低至高透气性的宽范围中的透气性。将熔体流动速率为100-500(G/10分钟)的热塑性树脂的膜材料(2)挤出并熔融粘合到无纺布(1)的表面上。这种膜材料(2)在构成所述无纺布(1)的纤维(1A)与所述膜材料(2)接触的多个微小部分处部分渗透到所述无纺布(1)中。因而,形成了将所述无纺布(1)连接到所述膜材料(2)上的交联部分(3)。另外,在所述膜材料中,所述膜材料(2)的渗透导致在所述交联部分(3)的基部周围形成用于空气渗透的微小贯通孔(4)。

标签:
复合材料
其他 - 其他 来源:中冶有色网 2023-03-18
热塑性复合材料、用于制备热塑性复合材料的方法、和注塑产品

本发明提供了一种热塑性复合材料、一种用于制备热塑性复合材料的方法、和注塑产品。基于热塑性复合材料的总重量的100重量%计,所述热塑性复合材料包含35‑75重量%的热塑性树脂、5‑45重量%的非纤维素有机纤维和5‑20重量%的中空玻璃微球。

标签:
复合材料
其他 - 其他 来源:中冶有色网 2023-03-18
铝合金基复合材料的制造方法及铝合金基复合材料

本发明提供能够均匀地浸入铝合金的铝合金基复合材料的制造方法。本发明提供铝合金基复合材料的制造方法和铝合金基复合材料,其特征在于,前述铝合金基复合材料在铝合金中复合有作为加强材料的陶瓷粉末,前述制造方法具备如下工序:填充工序,将前述陶瓷粉末填充至由多孔材料形成的多孔容器,利用盖部将前述多孔容器密闭;将前述多孔容器设置在模具内、向前述模具内倒入铝合金的熔融金属的工序;以及,浸入工序,对前述模具内的前述熔融金属施加压力,使前述熔融金属通过前述多孔容器而浸入内部的前述陶瓷粉末。

标签:
复合材料
其他 - 其他 来源:中冶有色网 2023-03-18
有机-无机纳米复合材料及其制备方法

本发明涉及一种有机-无机纳米复合材料及其制备方法,特别涉及一种通过在离子交换层状硅酸盐中添加单体、引发剂、乳化剂,制备能够在多聚体介质中均匀地分散硅酸盐化合物的有机-无机纳米复合材料的方法,离子交换层状硅酸盐是通过在层状硅酸盐化合物中添加阳离子引发剂和阳离子链转移因子引起聚合而制备的。

标签:
复合材料
其他 - 其他 来源:中冶有色网 2023-03-18
电气电子部件用复合材料、电气电子部件及电气电子部件用复合材料的制造方法

本发明提供一种电气电子部件用复合材料、使用该复合材料形成的电气电子部件、以及所述电气电子部件用复合材料的制造方法。其中,所述电气电子部件用复合材料被用作经冲裁加工等加工后再进行弯曲加工而形成的电气电子部件的材料,其在金属基材的至少一部分上实质上设置有1层绝缘膜,并且,在金属基材和绝缘膜之间设置有金属层,使得经过冲裁加工后在材料端部的所述绝缘膜的剥离宽度小于10μm,并使经过所述弯曲加工后在材料弯曲部位内侧的所述绝缘膜的附着状态以及在弯曲部位外侧延长的之前的端部的所述绝缘膜的附着状态均可得到保持。

标签:
复合材料
其他 - 其他 来源:中冶有色网 2023-03-18
复合材料结构体和复合材料结构体的制造方法

实施方式的复合材料结构体包括:波状纵梁,其由复合材料构成,具有多个帽形部分;以及面板,其由复合材料构成,与波状纵梁成为一体。另外,实施方式的复合材料结构体的制造方法包括以下步骤:在OoA用的半固化片的层叠体即与固化前的面板对应的半固化片的层叠体上,设置形成为与具有多个帽形部分的波状纵梁对应的结构的织物;以及用袋膜覆盖设置有织物的半固化片的层叠体,将用袋膜覆盖的空间变为真空状态,由此使织物含浸树脂,并且将设置有含浸了树脂的织物的半固化片的层叠体加热固化,由此制作具有在面板上安装有波状纵梁的结构的复合材料结构体。

标签:
复合材料
其他 - 其他 来源:中冶有色网 2023-03-18
用在无助熔剂的热接合方法中的铝复合材料及其生产方法

本发明涉及用在无助熔剂的热接合方法中的铝复合材料,其包括至少一个由铝芯合金构成的芯层和至少一个设置在该芯层一面上或两个面上的由铝焊料合金构成的外部焊料层。本发明的目的在于提供一种用在无助熔剂的热接合方法中的铝复合材料,利用该铝复合材料可以在真空中以及在保护气下,在不使用助熔剂的情况下进一步优化钎焊特性,同时避免了由现有技术中已知的缺点,该目的由此解决,即使得该铝焊料合金具有下列以重量%为单位示出的组成:6.5%≤Si≤13%,Fe≤1%,230ppm≤Mg≤450ppm,Bi<500ppm,Mn≤0.15%,Cu≤0.3%,Zn≤3%,Ti≤0.30%,其余为铝和不可避免的、单独最大0.05%,总和最大0.15%的杂质,并且使得该铝焊料层具有经碱蚀洗或经酸蚀洗的表面。此外,本发明还涉及一种用于生产铝复合材料,尤其是根据本发明的铝复合材料的方法,在该方法中制造至少一个由铝芯合金构成的锌层并且在该芯层的一面上或两个面上施加至少一个由铝焊料合金构成的外部焊料层。另外,本发明还涉及用于热接合构件的方法以及一种热接合的构造。

标签:
复合材料
其他 - 其他 来源:中冶有色网 2023-03-18
单壁面、多壁面、官能化和施加添加剂的碳纳米管及其复合材料

本发明涉及单壁面和多壁面碳纳米管(CNT)、官能化的CNT和有控制性能的碳纳米管复合材料,涉及由预制备的催化剂颗粒和碳源在有反应物和添加剂存在下的单壁面和多壁面碳纳米管、官能化的CNT和有控制性能的碳纳米管复合材料的气溶胶合成的方法,涉及由其组成的功能、基质和复合材料以及来自相同的连续和分批CNT反应器制备的结构和部件。本发明允许全部或部分CNT合成的方法、它们的纯化、施加添加剂、涂覆、混合以及沉积,以在一种连续的方法中结合,并且其中催化剂合成、CNT合成、以及它们的官能化、施加添加剂、涂覆、混合以及沉积可被分别控制。

标签:
复合材料
其他 - 其他 来源:中冶有色网 2023-03-18
复合材料的成型方法以及复合材料

本发明提供一种能够消除复合材料的表面的凹凸并提高外观品质的复合材料的成型方法以及复合材料。根据复合材料(10)的成型方法,将第2预浸料片(31)层叠于第1预浸料片(21)的表面的至少一部分,将层叠了的第1预浸料片和第2预浸料片加热并使其固化。由此,在由第1预浸料片构成的基底层(20)的表面一体地形成由第2预浸料片构成的表面层(30)。在此,在第2预浸料片层叠于第1预浸料片时,在每个包含了第1预浸料片与第2预浸料片之间的界面(40)的单位体积(V1、V2)中,第2预浸料片中的第2树脂(33)的量比第1预浸料片中的第1树脂(23)的量多。

标签:
复合材料
其他 - 其他 来源:中冶有色网 2023-03-18
高强度纤维复合材料、其制备方法以及使用该复合材料的头盔

本发明公开了高强度纤维复合材料,该复合材料满足在工业中所规定水平的防弹性能并且具有大幅改善的轻量性能,其制备方法,以及使用该复合材料制备的头盔。该高强度纤维复合材料包括:高强度纤维材料;以及层合在所述高强度纤维材料的一个表面上的树脂膜,其中,所述树脂膜的量为所述高强度纤维材料和所述树脂膜的总重量的10wt.%至18wt.%,所述树脂膜包含20wt.%至70wt.%的酚醛树脂,20wt.%至70wt.%的聚乙烯醇缩丁醛(PVB)树脂,并且所述聚乙烯醇缩丁醛(PVB)树脂的分子量为30,000至120,000。

标签:
复合材料
其他 - 其他 来源:中冶有色网 2023-03-18
电极用复合材料、用于制备复合材料的方法、及二次电池

本发明涉及一种电极用复合材料,所述复合材料包含:源于植物的多孔碳材料,源于植物的多孔碳材料具有根据MP方法的0.1cm3/克或更大的孔体积、或者根据BJH方法测量的小于100nm的0.3cm3/克或更大的孔体积;和硫化锂,硫化锂被支撑在多孔碳材料具有的孔上,其中,根据MP方法的孔体积小于0.1cm3/克,或者根据BJH方法测量的小于100nm的孔体积小于0.3cm3/克。

标签:
复合材料
其他 - 其他 来源:中冶有色网 2023-03-18
上一页 381 382 383 384 385 ... 392 下一页
共392页    到第

中冶有色为您提供最新的其他其他有色金属复合材料技术理论与应用信息,涵盖发明专利、权利要求、说明书、技术领域、背景技术、实用新型内容及具体实施方式等有色技术内容。打造最具专业性的有色金属技术理论与应用平台!

全国热门有色金属设备推荐
展开更多 +
全国热门有色金属技术推荐
展开更多 +

 

江西省隆恩特环保设备有限公司
宣传

报名参会
更多+

报告下载

有色专家
更多+

有研科技集团有限公司
中国工程院 院士
武汉工程大学
教授
江西理工大学
副处长/教授
矿冶科技集团
中国工程院院士
长沙有色冶金设计研究院有限公司
党委书记、董事长
赤泥综合利用研究报告2025
推广

热门技术
更多+

推荐企业
更多+

福建省金龙稀土股份有限公司
宣传

发布

在线客服

公众号

电话

顶部
咨询电话:
010-88793500-807