青岛垚鑫智能科技有限公司
宣传

位置:中冶有色 >

有色技术频道 >

> 失效分析技术

分类:
全部
矿山技术
冶金技术
材料制备及加工技术
环境保护技术
分析检测技术
 
全部
物理检测技术
化学分析技术
力学检测技术
无损检测技术
失效分析技术
环境检测技术
地区:
全部
北京
天津
上海
重庆
河北
山西
辽宁
吉林
黑龙江
江苏
浙江
安徽
福建
江西
山东
河南
湖北
湖南
广东
海南
四川
贵州
云南
陕西
甘肃
青海
内蒙
广西
西藏
宁夏
新疆
其他
其他
展开
 
全部
其他

其他有色金属失效分析技术理论与应用

免费发布技术信息>>
用于分析和制造具有预定载荷容量的结构构件的系统和计算机程序产品

提供了用于分析复合构件的载荷容量的系统和计算机程序产品。该系统包括用于接收模型数据和材料数据的装置或模块,模型数据是结构构件的配置和载荷条件的特征,而材料数据是结构构件材料的材料特性的特征。分析模型数据,以生成包括关于结构构件多个节点的应变张量的分析数据。生成增强分析数据,其包括代表结构构件材料的临界应变不变量值。根据应变不变量失效理论对增强数据进一步进行分析,以生成结果数据,其代表在结构构件中导致损坏不稳定性的载荷条件、以及不稳定性的可能位置、方向和/或行进路径。

标签:
失效分析
其他 - 其他 来源:中冶有色网 2023-03-19
识别光伏模块盗窃和光伏模块旁路二极管失效的方法、相应的光伏副发电机接线盒、光伏逆变器和相应的光伏设备

本发明涉及一种用于对光伏设备的至少一个光伏(PV)模块(3)进行盗窃识别的方法。光伏设备具有串联的光伏模块(3)的至少一个并联的支路(31),用于提供场电压(uF),其中光伏模块(3)自身具有多个串联的光伏电池(7)。根据本发明,设置有反并联的旁路二极管(8)用于保护光伏电池(7)。在非馈电运行中,尤其是傍晚和夜间,将相对于场电压(uF)为负的测试电压连接到至少一个光伏支路线路(2)上,以便设定一个通过旁路二极管(8)的测试电流。如果测试电流和/或测试电压变化显著,则自动输出盗窃报警信号。

标签:
失效分析
其他 - 其他 来源:中冶有色网 2023-03-19
失效安全限位开关
失效安全限位开关 777     
 0

本发明涉及一种用于确定和/或监测容器(2a)中的介质(2)的至少一个限定的填充水平的装置(1),该装置至少具有传感器单元(3)和可通过动态电信号进行操作的电子单元(6)。电子单元(6)包括限制单元(11),其被设计成用于将电子单元(6)的至少一个部分区域(13a)中的电流或电压限制为可指定数值;切换单元(12),其被设计成用于通过至少一个电控制信号来控制具有至少第一和第二开关状态的过程开关元件(9),尤其是继电器;以及信号变换单元(13),该信号变换单元(13)被设计成用于将动态电输入信号转换为静态电输出信号,并且其中以静态输出信号流过电子单元(6)的至少一个部件(12a,12b)的方式布置信号变换单元(13)。此外,电子单元(6)被设计为将激励信号施加到传感器单元(3)并且从传感器单元(3)接收所接收到的信号,基于所接收到的信号确定和/或监测是否已达到限定的填充水平,并且根据是否已达到限定的填充水平,产生至少一个控制信号。

标签:
失效分析
其他 - 其他 来源:中冶有色网 2023-03-19
数据采集装置、分析装置、分析方法及计算机程序产品

本发明提出一种安装在车辆上的数据采集装置(20),车辆上安装有柴油发动机及SCR,数据采集装置(20)包括:数据获取单元,其设置成能够获取所述车辆的运行状态的数据信息;以及数据传输单元,其设置成能够通过有线或无线的方式将数据信息传输至其它电子设备,其中,数据获取单元设置成能够获取关于所述SCR的运行状态的第一运行参数,数据传输单元设置成能够将第一运行参数传输至分析装置(10),并使分析装置(10)能够根据第一运行参数和分析装置(10)在获取第一运行参数之前获取的第二运行参数分析所述SCR的失效风险结果。本发明还涉及一种分析装置(10)、一种分析方法及一种计算机程序产品。借助于本发明,能够提前预测SCR的失效风险。

标签:
失效分析
其他 - 其他 来源:中冶有色网 2023-03-19
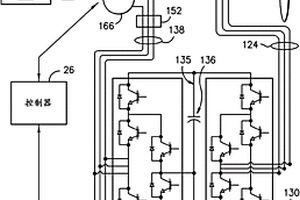
用于缓解设备失效的功率转换器的选择性撬棍响应

一种用于操作电功率系统的多级桥式功率转换器的方法包括将功率转换器的多个相连接到在功率转换器的DC侧处的公共端子,以便有效地使多个相在公共电势下相等。该方法还可包括经由控制器对功率转换器的多个设备进行故障监测。在检测到多个设备中的一个或多个中的故障时,该方法包括经由控制器激活功率转换器的撬棍的一个或多个保护设备,以通过从多个设备中的其余设备转移走能量来防止在多个设备中的其余设备中发生另外的故障。

标签:
失效分析
其他 - 其他 来源:中冶有色网 2023-03-19
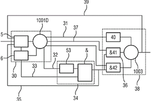
用于对控制致动器、尤其是气体涡轮发动机的定子的系统的控制失效进行区分的方法

本发明涉及一种用于对控制致动器(14)的系统中的控制故障进行区分的方法,所述致动器确定对气体涡轮发动机的状态进行修改的构件的位置,所述系统包括单/双通道的电气控制装置和机械控制装置,所述电气控制装置包括至少一个计算机(10、10’),在任何给定时间仅其中一个计算机是主动的,从而计算所述致动器(14)的活动构件的设定位置并且传输设定信号到所述致动器的单通道机械控制装置上,当在预定偏差确认时间内检测到所述致动器的所述活动构件的所述设定位置与所述致动器的所述活动构件的测量位置之间的偏差时,诊断出故障。所述方法的特征在于,测量所述致动器移动速率,并且当所测量的移动速率在所述用于确认所述差异的时间内不为零或者高于预定的阈值速率时,诊断出电气来源的故障,否则所述故障为暂时机械来源的故障。

标签:
失效分析
其他 - 其他 来源:中冶有色网 2023-03-19
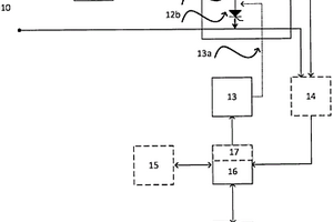
具有用于确定阀的可移动阀芯的作为正常状态和失效模式的指示的行程、速度和/或加速度的传感器的电磁阀

电磁阀包括:具有轴向孔(7)的壳体(2),轴向孔与至少流入端和流出端(3、5)流动连通;阀元件(8),可在孔(7)的轴向上往复移动;电线圈(13),用于产生磁场,磁场用于在第一端部位置与第二端部位置之间移动阀元件(8),在第一端部位置中,阀元件密封地置于阀座(9′)上,以使得所述流入端和流出端(3、5)相互断开,在第二端部位置中,所述阀元件置于距离阀座(9′)的一段距离处,以创建流动开口,用于使得所述流入端和流出端(3、5)彼此连通;位置传感器(17),用来检测阀元件(8)在孔(7)的轴向上的轴向位置。设置有控制单元(C),用于在阀元件在其第一端部位置与第二端部位置之间运动期间,根据所检测的轴向位置而确定阀元件(8)在孔(7)的轴向上的行程、速度和/或加速度。

标签:
失效分析
其他 - 其他 来源:中冶有色网 2023-03-19
用于使声音和/或视频显示失效的方法和装置

一种按照其内容来控制观看电视节目的方法,利用辅助数据通道来发送代码,该代码表示性,暴力,令人悲痛等内容的等级。这些代码被安排在电视图文信号的扩展包之中,并在接收机中被检测。通过键入指示允许或禁止内容的代码和按照发射的代码使显示被消隐以及声音被禁音的代码而对该接收机进行编程。不公开了一个系统,节目源和接收机。

标签:
失效分析
其他 - 其他 来源:中冶有色网 2023-03-19
用于删除失效帧的视频编辑装置

本发明描述用于自动检测所俘获视频中的转变且使用所述检测到的转变来标记所述所俘获视频的部分用于编辑的技术,其中编辑可为删除、保留或以较快重放速率播放所述经标记部分。在视频俘获期间,视频俘获装置可获得图像信息且基于图像和传感器信息而确定从目标场景到非目标场景的转变的存在。所述图像信息可从视频前端传感器(例如,图像传感器)获得,且所述传感器信息可从提供定向信息的其它传感器(例如,加速度计、罗盘和类似物)获得。处理器可自动地或基于用户输入来确定如何编辑所述经标记部分。

标签:
失效分析
其他 - 其他 来源:中冶有色网 2023-03-19
用于波束失效恢复请求的系统和方法

描述了用于无线通信系统中的波束形成的系统、设备和技术。由用户装备(UE)执行的所描述技术包括监测来自基站的下行链路参考信号;响应于该下行链路参考信号的质量改变,经由与混合自动重传请求(HARQ)过程号相关联的物理上行链路共享信道(PUSCH)传输波束失效恢复请求(BFRQ),其中该BFRQ包括新波束信息;由该UE接收下行链路控制信息(DCI)消息以触发对应于该HARQ过程号的PUSCH传输;以及在从包含该DCI消息的物理下行链路控制信道(PDCCH)接收的最后一个符号起至少预定数量的符号之后,由该UE根据该新波束信息经由PUCCH传输信息。该UE可以将该新波束信息应用于上行链路信道和下行链路信道。

标签:
失效分析
其他 - 其他 来源:中冶有色网 2023-03-19
设计布局的失效风险的智能型预诊断系统及方法

本发明公开一种设计布局的失效风险的智能型预诊断系统及方法,本发明的方法是先取得一物体的一设计布局,再于设计布局上划分出至少一布局区域,其中布局区域内具有一布局图案,接着取得多个缺陷,并按照尺寸的大小顺序将多个缺陷逐个与布局图案的一预定部分进行比对,然后根据比对结果判断布局区域的失效风险等级。本发明能快速且准确地预测在线随机缺陷及系统缺陷等是否会在物体上造成错误并影响到物体的良率。

标签:
失效分析
其他 - 其他 来源:中冶有色网 2023-03-19
网络设备实虚地址对应失效的自动修复方法

一种网络设备实、虚地址对应失效的自动修复方法,应用在高可用度系统的作业环境,该系统包含有一网络设备丛集与网络连线,具有一虚拟的目的IP地址,该网络设备丛集中定义有一运行设备及一待命设备,其各具有一MAC地址;其中,在所述待命设备中部署有一封包侦测控制器,当所述封包侦测控制器侦测、并抓取到目的IP地址的封包时立即通知运行设备,而所述的运行设备则立即对外发出以该目的IP、及其自身MAC地址为对应的ARP广播封包,驱使ARP对应有误的其它网络设备进行ARP表格更新,完成自动修复。

标签:
失效分析
其他 - 其他 来源:中冶有色网 2023-03-19
防止使用非线性增益的PID控制器失效的方法

本发明公开了一种用在过程控制系统的PID控制器里的防止PID控制器在使用非线性增益参数时失效的方法。PID控制器被用来在当前的执行周期里产生输出给一个控制过程的设备的一个控制变量(CV),作为对输入的过程变量(PV)、设定值(SP),和增益参数(K)的响应。本发明接收PV、SP和K,并产生PV与设定值SP的偏差的比例、积分和微分分量。这种产生的分量用来计算当前执行周期的输出增量CV。接下来计算当前的增益值,即从前一个执行周期的增益值减去当前的执行周期增益值。接着进行线性或非线性增益参数的测试,并且响应于非线性增益参数,计算非线性增益变化分量,并加到增量输出CV。通过把由非线性增益变化分量修正得到的增量输出CV加到前一个执行周期的CV值里,产生当前执行周期的输出CV。前面的执行周期的比例、积分和微分分量的累加量被更新为由当前执行周期所产生的比例、积分和微分分量。这些累加量用来计算下一个周期的非线性增益变化分量。然而,如果测试得到的是一个线性增益参数,那么非线性增益变化分量的计算就被跳过,输出量CV就通过将增量输出量CV加到前一个执行周期的CV值里而得到。

标签:
失效分析
其他 - 其他 来源:中冶有色网 2023-03-19
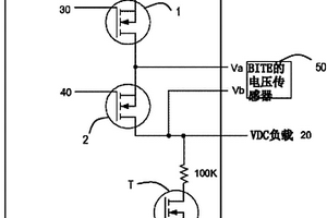
容错的失效保险连接设备

本发明涉及容错的失效保险连接设备。本公开大体涉及在电源和负载之间串联连接的不同外围尺寸的多个固态开关。内置测试电路感测在一个或多个不同外围尺寸上的过电压条件,并且根据多个固态开关的至少一个固态开关两端的测量电压打开或闭合所述一个或多个不同外围尺寸。

标签:
失效分析
其他 - 其他 来源:中冶有色网 2023-03-19
燃料电池失效的预防装置与方法

本发明公开了一种燃料电池失效的预测装置与方法。所述预防装置包括上游与下游电压监测单元、数据处理单元以及系统控制单元。上游与下游电压监测单元能同步监测每一单电池的上游与下游电压,再以数据处理单元根据上游与下游电压,得到每一单电池的上、下游电压的差动电压(differentialvoltage,DV)。系统控制单元再根据差动电压,对燃料电池进行失效预防的矫正控制。

标签:
失效分析
其他 - 其他 来源:中冶有色网 2023-03-19
用于集电器失效监控的方法和装置

本发明涉及一种用于在一由至少一个轨道车辆组成的轨道车辆组合中的集电器失效监控的方法,该轨道车辆组合包括多个集电器和从集电器至车厢侧的汇流排的电导线,其中,获知从集电器至车厢侧的汇流排的至少一个电导线的表面温度,将相应于所述温度的电信号传导到一车辆控制装置处,该车辆控制装置将配属于其的测量部位的温度进行比较,通过在相关的集电器的测量部位与不相关的集电器之间的温度差的出现,或通过测量部位处的不同的温度变化速度的出现,识别出集电器的失效。

标签:
失效分析
其他 - 其他 来源:中冶有色网 2023-03-19
用于失效保险系统的安全架构

本发明涉及用于失效保险系统的安全架构。安全设备包括监视单元、测试块和具有至少一个接触构件的输出级,其中监视单元包括至少两个、优选地至少三个输出端并且被配置成提供至少两个、优选地至少三个不同的输出信号以用于测试其暂离故障,其中监视单元被配置成提供用于关断功能的至少一个使能信号,其中测试块包括至少一个输入端并且被配置成对监视单元的输出信号中的至少一个进行监视,其中测试块包括至少一个输出端并且被配置成提供用于关断功能的至少一个使能信号,其中输出级的至少一个接触构件具有至少两个输入端并且被配置成将监视单元的输出信号中的至少一个链接到测试块的至少一个使能信号。

标签:
失效分析
其他 - 其他 来源:中冶有色网 2023-03-19
具散热失效警报功能的电源供应器

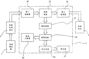
一种具散热失效警报功能的电源供应器,主要包括一电源供应器、风扇马达及风扇电源端子,其特征在于:该电源供应器内设置有一警报器电路板,该警报器电路板上设置有一第一连接器、第二连接器、侦测电路、微处理器、振荡电路、放大电路、发光二极管及蜂鸣器相连接;根据上述的构造,当风扇马达发生故障时,得通过发光二极管及蜂鸣器分别产生闪烁及警示声响,警告使用者该电源供应器的风扇马达失效,达到防止电源供应器烧毁的功效。

标签:
失效分析
其他 - 其他 来源:中冶有色网 2023-03-19
具失效自我预知功能的阀

本申请公开了一种具失效自我预知功能的阀。该阀的本体上具有彼此电连接的第一感测器组件及一控制器。第一感测器组件用以输出关连于阀的心轴的第一参数的依时间感测信号或阀门的第二参数的依时间感测信号。控制器具有储存单元、计算单元及通知单元。计算单元用以即时计算出储存单元储存的最后多个第一参数的依时间感测信号对应的第一参数趋势线以及第一参数的临界值和第一参数趋势线的交点对应的阀的第一时间临界值,或储存的最后多个第二参数的依时间感测信号对应的第二参数趋势线以及第二参数的临界值和第二参数趋势线的交点对应的阀的第二时间临界值。通知单元用以输出第一时间临界值或第二时间临界值至阀的远端。

标签:
失效分析
其他 - 其他 来源:中冶有色网 2023-03-19
使用车载诊断算法的后处理装置NOx转化效率诊断

本发明涉及使用车载诊断算法的后处理装置NOX转化效率诊断。一 种动力系包括内燃机和具有后处理装置的后处理系统,所述后处理装 置采用催化剂来转化NOX。用于指示失效催化剂的方法包括:监测离开 后处理系统的实际NOX含量;监测影响所述后处理装置的转化效率的因 素;基于影响转化效率的因素来确定示例性失效催化剂的离开后处理 系统的预测阈值NOX含量;将离开后处理系统的实际NOX含量和离开后 处理系统的预测阈值NOX含量进行比较;和基于所述比较来指示失效催 化剂。

标签:
失效分析
其他 - 其他 来源:中冶有色网 2023-03-19
校正失效脚本的方法和设备

提供了一种校正失效脚本的方法和设备,该方法包括:确定失效脚本中的无效引用;基于数据关系映射,确定数据库中与所述无效引用对应的存储位置,其中,所述数据关系映射指示引用与数据库中的存储位置的对应关系;查询所确定的存储位置的最新值;以及将所查询的最新值确定为所述无效引用的正确值。利用本发明的方法和设备,在发生由于无效的数据关联导致的脚本失效时,能够利用指示引用与数据库中的存储位置的对应关系的数据关系映射找到与无效的数据关联对应的无效引用的正确值,使得失效脚本得以正确运行,从而完成对应用的功能测试,达到校正失效脚本的目的。

标签:
失效分析
其他 - 其他 来源:中冶有色网 2023-03-19
具失效自我预知功能的致动器

本申请公开一种具失效自我预知功能的致动器。该致动器具有互相电气连接的感测器组件及控制器。感测器组件用以输出关联于致动器的一操作参数随着致动器运作过程中时间变化而变化的依时间感测信号。控制器具有储存单元、计算单元及通知单元。计算单元用以计算出储存单元储存的最后多个操作参数的依时间感测信号对应的操作参数趋势线以及操作参数的临界值和操作参数趋势线的交点对应的致动器的累计时间临界值。通知单元用以输出累计时间临界值至致动器的远端控制中心。

标签:
失效分析
其他 - 其他 来源:中冶有色网 2023-03-19
失效安全代码功能
失效安全代码功能 799     
 0

失效安全代码功能。本公开内容的一些方面提供了一种经受错误校正代码(ECC)校验的非易失性存储装置(NVM)的故障缓解的系统和方法。公开了在执行之前用于测试存储在非易失性存储器内的失效安全代码完整性的简单且强大的手段。在一些实施例中,失效安全代码包括将存储器故障传送到系统其它部分或执行顺序关机的程序单元。万一ECC错误出现,就可以验证失效安全代码,并且根据成功的验证来执行失效安全代码。

标签:
失效分析
其他 - 其他 来源:中冶有色网 2023-03-19
挤出失效监视器结构及其方法

本发明涉及挤出失效监视器结构及其方法。一种用于监视挤出失效的结构和方法。所述结构包括:具有第一和第二端的测试布线;接触所述测试布线的第一和第二端的第一和第二过孔;与所述测试布线电隔离并围绕所述测试布线的周边的第一监视器结构;以及在所述测试布线之上的第二监视器结构,所述第二监视器结构与所述测试布线电隔离,所述第二监视器结构在所述测试布线的至少所述第一端之上延伸。

标签:
失效分析
其他 - 其他 来源:中冶有色网 2023-03-19
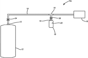
用于主容器的失效指示补充容器

一种系统(10),包括加压流体源(16),设置成与加压流体源(16)流体连通的主压力容器(12)以及设置成与加压流体源(16)流体连通并且与主压力容器(12)流体连通的补充压力容器(18)。主压力容器(12)具有第一预期寿命持续时间并且包括第一结构特征。补充压力容器(18)具有比第一预期寿命持续时间短的第二预期寿命持续时间并且包括第二结构特征。一种方法,使用补充压力容器(18)来预测主压力容器(12)的即将发生的失效。该方法包括将主压力容器(12)连接到加压流体源(16),将补充压力容器(18)与加压流体源(16)和主压力容器(12)流体连接,并且将补充压力容器(18)暴露于第一疲劳负载以在主压力容器(12)发生失效之前引起补充压力容器失效。

标签:
失效分析
其他 - 其他 来源:中冶有色网 2023-03-19
增强可靠使便携式摄像机失效的放映机

一种增强可靠使便携式摄像机失效的放映机(10),它包括用于照明空间光调制器(30)的拷贝保护照明系统(1),拷贝保护照明系统包括:多色光源(20)、用于均化来自多色光源的光以提供均匀照明场的均化光学部件(22)、中继光学部件、二色光学部件、放置在位于多色光源和空间光调制器之间的光路中的一个平面处的干扰调制部件(5)和用于判定干扰调制部件不存在的探测装置。

标签:
失效分析
其他 - 其他 来源:中冶有色网 2023-03-19
虚拟机失效转移管理的方法及其支持系统

在利用检查点程序控制数据从主要虚拟机(402)转移到次要虚拟机(406)的镜像虚拟机环境中,内部网络(400)使主要虚拟机能与其它虚拟机(404)交换网络分组而不必等待检查点发生。提供一种确保可看见特定虚拟机的网络流量的所有主要虚拟机在检查点完成之前不会影响外部环境的机制。这可通过同步化所有主要虚拟机之间的检查点,以及若其中之一失效则确保全部失效转移到相应次要虚拟机来实现。

标签:
失效分析
其他 - 其他 来源:中冶有色网 2023-03-19
影片的集成管理、失效替换与续播的方法及系统

本发明公开了一种影音集成管理方法与系统,可在网络中搜集具有关联的影片,整理成多个频道推荐给使用者观看。上述的方法与系统可定期检查各频道的影片是否已经失效,并寻找其他影片来替换已失效的影片。上述的方法与系统也提供跨装置和跨频道的影片续播。

标签:
失效分析
其他 - 其他 来源:中冶有色网 2023-03-19
存储单元阵列中失效存储单元的实际位置的自动判定与显示

一种计算机系统(300),其根据测试站产生的失效存储单元标号信息而自动判定与显示存储器IC(集成电路)电路小片放大图像上的存储单元阵列中失效的存储单元的实际位置。标号信息包含任何区段标号、I/O标号、列标号、与行标号的组合。存储器IC电路小片包含多个区段,且区段标号对应于其中具有失效存储单元的区段。区段包含多个I/O(输入/输出)区域,其中I/O标号指定在具有区段标号的区段内、其中具有失效存储单元的I/O区域。I/O区域包含多个水平传导结构与垂直传导结构。列标号指定连接至失效存储单元的垂直传导结构,且行标号指定连接至失效存储单元的水平传导结构,其中I/O区域具有I/O标号。计算机系统(300)接收标号信息并在计算机系统(300)的GUI(图形用户界面)(310)上自动判定与显示存储器IC电路小片的第一放大图像与对应于被突出显示的区段标号的区段、和/或对应于区段标号的区段的第二放大图像与对应于被突出显示的I/O标号的I/O区域、和/或对应于I/O标号的I/O区域的第三放大图像与对应于被突出显示的列标号的垂直传导结构和/或对应于行标号的水平传导结构的任何组合。

标签:
失效分析
其他 - 其他 来源:中冶有色网 2023-03-19
飞行器的第一限制值指示器失效时的辅助驾驶方法和装置

本发明涉及一种用于装有至少两台发动机(2、3)的飞行器并且用在万一所述飞行器的第一限制值指示器(10)失效时的辅助驾驶方法,所述飞行器的发动机(2、3)的多个监测参数(Ng、T4、Tq)被监测,所述第一限制值指示器(10)显示与所述发动机(2、3)的限制参数的数值有关的信息,所述限制参数是发动机的各监测参数(Ng、T4、Tq)中最接近其限制值的那个参数。在这样的情况下,每当所述第一限制值指示器(10)不是处于显示所述信息的状态时,辅助驾驶模式就被启用,在这个辅助驾驶模式过程中,可将每个监测参数(Ng、T4、Tq)维持在预定的阈值以下。

标签:
失效分析
其他 - 其他 来源:中冶有色网 2023-03-19
上一页 29 30 31 32 33 ... 37 下一页
共37页    到第

中冶有色为您提供最新的其他有色金属失效分析技术理论与应用信息,涵盖发明专利、权利要求、说明书、技术领域、背景技术、实用新型内容及具体实施方式等有色技术内容。打造最具专业性的有色金属技术理论与应用平台!

全国热门有色金属设备推荐
展开更多 +
全国热门有色金属技术推荐
展开更多 +

 

江西省隆恩特环保设备有限公司
宣传

报名参会
更多+

报告下载

有色专家
更多+

太原理工大学
院长/教授
武汉科技大学
校学术委员会主任 / 教授
石家庄铁道大学
团委书记/副教授
武汉科技大学
院长 / 教授
长沙矿山研究院有限责任公司
高级工程师
赤泥综合利用研究报告2025
推广

热门技术
更多+

推荐企业
更多+

福建省金龙稀土股份有限公司
宣传

发布

在线客服

公众号

电话

顶部
咨询电话:
010-88793500-807