青岛垚鑫智能科技有限公司
宣传

位置:中冶有色 >

有色技术频道 >

> 失效分析技术

分类:
全部
矿山技术
冶金技术
材料制备及加工技术
环境保护技术
分析检测技术
 
全部
物理检测技术
化学分析技术
力学检测技术
无损检测技术
失效分析技术
环境检测技术
地区:
全部
北京
天津
上海
重庆
河北
山西
辽宁
吉林
黑龙江
江苏
浙江
安徽
福建
江西
山东
河南
湖北
湖南
广东
海南
四川
贵州
云南
陕西
甘肃
青海
内蒙
广西
西藏
宁夏
新疆
其他
其他
展开
 
全部
其他

其他有色金属失效分析技术理论与应用

免费发布技术信息>>
光扫描单元、检测方法以及电子照相成像设备

本发明提供了一种光扫描单元、检测同步信号失效的方法以及利用光扫描单元的电子照相成像设备。所述光扫描单元包括同步传感器,该同步传感器接收从光源发射然后从光偏转器偏转和扫描的光束的一部分,以检测水平同步信号。同步传感器的光接收表面在主扫描方向上的宽度沿着副扫描方向变化。具有上述结构的光扫描单元通过利用在测试操作中检测的水平同步信号的宽度来确定同步信号的高质量或失效。

标签:
失效分析
其他 - 其他 来源:中冶有色网 2023-03-19
用于自动化危险检测的方法和装置

公开了用于自动化危险检测的方法和装置。一种用于技术系统的自动化危险检测的基于计算机的方法,所述方法包括选择(110)技术系统的组件故障树的组件的输出失效模式作为最高级别的危险的步骤。该基于计算机的方法包括借助于组件故障树的子树来生成(120)危险信息树的步骤,其中子树是借助于最高级别的危险来选择的,其中通过从子树中移除预定义节点以及通过用输出失效模式源自于哪个组件的信息增强子树的输出失效模式来对子树进行修改,其中将经修改的子树作为危险信息树保存在存储器单元中。该基于计算机的方法包括评价(130)危险信息树的步骤。该基于计算机的方法包括提供(140)包括评价的结果的控制信号的步骤。

标签:
失效分析
其他 - 其他 来源:中冶有色网 2023-03-19
工程车辆的位置检测器
工程车辆的位置检测器 1142     
 0

用于检测一叉车(1)内车叉(6)所处高度的装置。两个传感器(7)纵向设置在柱杆(3)上。每一传感器(7)包括一两个状态的开关(10)。每一开关状态可由车叉的移动而变化。控制器(11)内的存储器(14)储存定义车叉(6)的运动区域之间的关系以及信息的组合数据。当信号的组合对应于数据内的一组合时,控制器(11)判断车叉(6)的高度。当该组合未在数据内时,控制器(11)判断具有一异常。这允许检测开关的失效和电线的切断或短路。

标签:
失效分析
其他 - 其他 来源:中冶有色网 2023-03-19
用于医疗探头的主动侵入检测系统

本发明题为“用于医疗探头的主动侵入检测系统”。本公开涉及用于主动检测医疗探头的侵入的系统和方法。根据某些实施方案,一种方法包括:利用医疗探头内的传感器监测医疗探头的内部环境;利用传感器检测医疗探头内的温度、压力、湿度或气体浓度中的至少一者;根据温度、压力、湿度或气体浓度中的至少一者,利用与传感器通信的处理器确定气密地密封医疗探头的密封件是否已失效;以及利用处理器输出指示密封件是否已失效的通知。

标签:
失效分析
其他 - 其他 来源:中冶有色网 2023-03-19
通道检测装置
通道检测装置 793     
 0

一种通道检测装置在此公开,其包括一去能电路,多个发光二极管引脚、多个接收器与一错误检测电路。此去能电路传送失效脉冲至发光二极管引脚中的一个或数个发光二极管引脚,此一或数个发光二极管引脚连接去能电路,每一接收器分别连接于对应的发光二极管引脚,当对应的发光二极管引脚接收自去能电路的失效脉冲时,对应的接收器用以输出禁止信号,错误检测电路耦接于接收器与发光二极管引脚,用以检测这些发光二极管引脚中的数个发光二极管引脚的开路,并跳过其他发光二极管引脚的开路检测,其他发光二极管引脚所连接的接收器输出禁止信号。

标签:
失效分析
其他 - 其他 来源:中冶有色网 2023-03-19
有效地动态维护一束链路上的双向转发检测的技术

一种在计算机网络中有效地动态维护一束链路上的双向转发检测(BFD)的技术。根据本新颖技术,可在一个或多个对应的线卡(LC)上建立一个或多个“待命”BFD会话,所述LC具有所述束的一个或多个链路(束链路)。一旦建立,就可根据对应的LC的束链路的活动性,将所述待命BFD会话中的一个选作活动BFD会话。并且,可从活动BFD会话的束链路(例如,接收BFD消息的链路)中的一个发送BFD消息。响应于发送链路的不活动(例如,失效、移除等),活动BFD会话可切换到另一个可用的活动束链路,并且,如果对所述活动BFD会话,没有其它可用的活动束链路,则将待命BFD会话中的一个选作新的活动BFD会话,如果不存在其它待命BFD会话,则确定所述链路束已经失效。

标签:
失效分析
其他 - 其他 来源:中冶有色网 2023-03-19
开关装置及检测集成电路总线的方法

本发明提供一种检测集成电路总线(I2C)的方法,该方法利用基板管理控制器及硬件监视电路(Hardware Watchdog Circuit),该方法包括:利用该硬件监视电路检测I2C总线失效(failure);判断该硬件监视电路是否可自动复位在该I2C总线上的多个I2C装置;若判断该硬件监视电路可自动复位在该I2C总线上的该多个I2C装置,利用该硬件监视电路复位该多个I2C装置;以及若判断该硬件监视电路无法自动复位在该I2C总线上的该多个I2C装置,利用该硬件监视电路回报所检测到的该I2C总线失效至该基板管理控制器,并利用该基板管理控制器处理该I2C总线失效。

标签:
失效分析
其他 - 其他 来源:中冶有色网 2023-03-19
现场变送器的内装式检测装置

一种用于带有微处理器的变送器且经过改进的错误检测,该变送器处在工作于过程控制工业中的双线过程控制环路中。特别是,介绍了一些在处理带微处理器的变送器产生的错误与失效中有用的技术。当变送器(6)被供电时,过程环线的阻抗被求出并存储,并且如所需被显示或传送。环路阻抗用来计算给控制环路供电的电源电势。以上这些信息用于检测双线环路。

标签:
失效分析
其他 - 其他 来源:中冶有色网 2023-03-19
灯故障检测器
灯故障检测器 1099     
 0

本发明公开了一种用于为快速热处理系统中使用的灯组检测灯故障的装置和方法。该灯故障检测系统使能识别多个灯中的失效灯,并还提供故障类型的识别。该装置对经过每个灯测得的电压降值应用灯故障检测方法来确定灯是否处于故障状态。在一个实施方式中,场可编程门阵列用于对灯电压值应用故障检测方法。

标签:
失效分析
其他 - 其他 来源:中冶有色网 2023-03-19
辐射检测设备和辐射断层成像设备

以胶粘的方式粘合到检测器元件阵列的准直器被防止从辐射检测设备脱落,即使在准直器中发生胶粘接合失效的情况下。提供了一种辐射检测设备,包括:检测器元件阵列,其中多个检测器元件基本上布置在辐射的扇角方向上和锥角方向上;准直器,以胶粘的方式粘合到检测器元件阵列的辐射撞击的一侧,并且在逐渐变细以与来自辐射源的发射的方向对齐的切片方向上在两侧上具有外端表面;以及一对块,设置成在锥角方向上将准直器夹在中间,并且在逐渐变细以与发射的方向对齐的锥角方向上在两侧上具有内端表面。

标签:
失效分析
其他 - 其他 来源:中冶有色网 2023-03-19
用于轴承的故障检测
用于轴承的故障检测 1236     
 0

用于轴承的故障检测。公开了一种故障检测系统,该故障检测系统用于在具有轴承支承的轴的系统中预测轴承失效。位置传感器可以随着轴的旋转来感测该轴的位置。控制器可以从位置传感器接收指示轴的多个感测位置的位置数据。控制器可以基于所接收的位置数据来确定针对轴的位置分布图或速度分布图,并且可以基于位置分布图或速度分布图来确定频率分布图。控制器可以识别频率分布图的特征,并且基于所识别的特征来识别预期的轴承失效。

标签:
失效分析
其他 - 其他 来源:中冶有色网 2023-03-19
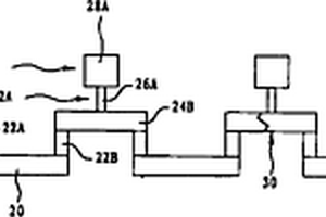
具有用于机械损伤的检测结构的部件

本发明涉及一种由电气绝缘材料制成的部件(11),其中设有设计为导体(14A,14B,14C)的用于对诸如裂缝的机械损伤进行检测的检测结构。这种检测装置的电气特性在发展的裂缝形成(箭头20)的情况下发生改变,因此部件(11)可以在失效前及时地更换。根据本发明规定,电导体通过相互接触的颗粒与金属表面一起形成。由此产生一种电导体,该电导体优选相对于机械损伤尤其灵敏,从而可以使检测结构(14A,14B,14C)实现较高灵敏度。如果所述金属表面仅通过颗粒的包壳产生且颗粒内部由部件(11)的材料制成,那么就可以另外为受强烈热应力作用的部件(11),例如热屏蔽板,产生在热膨胀特性方面相匹配的导体。

标签:
失效分析
其他 - 其他 来源:中冶有色网 2023-03-19
检测并响应液压自动变速器中的压力损失的系统和方法

本发明涉及检测并响应液压自动变速器中的压力损失的系统和方法。具体地,提供了一种用于液压自动变速器的控制系统,其包括故障检测模块和变速器诊断模块。故障检测模块检测变速器部件的故障,其中,故障可以指示变速器中的低液压流体压力、或者一个或多个部件的失效。变速器诊断模块根据检测到的故障、故障的预定数量和多个条件来确定故障是否是由于低液压所造成。

标签:
失效分析
其他 - 其他 来源:中冶有色网 2023-03-19
转向角检测装置
转向角检测装置 757     
 0

本发明提供一种转向角检测装置,以使得即使在设置于转向角传感器的检测相对转向角的2个检测部中的一个失效的情况下,也能够求出绝对转向角。自我诊断部(21)在判定为未从绝对转向角运算部(11c)输出绝对转向角θf的情况下,检查主检测部(11a)和副检测部(11b)中的哪一个失效,并将从正常的检测部侧输出的相对转向角(θp或θs)与最新的绝对转向角θf(n‑1)相加来求出本次的绝对转向角θf(θf←θf(n‑1)+(θp或θs)),利用该绝对转向角θf对最新的绝对转向角θf(n‑1)进行更新(θf(n‑1)←θf)。

标签:
失效分析
其他 - 其他 来源:中冶有色网 2023-03-19
过热检测系统
过热检测系统 819     
 0

根据本发明一个实施例,一种用于防止系统失效的方法涉及检测一个或多个管道中一个或多个点处流体的一个或多个压力水平,然后将测得压力水平与相应的一个或多个预定限值作比较,其中该系统包括输送流体的一个或多个管道,或一个或多个冷却套,或一个或多个流体冷却系统组件。如果测得压力水平超过相应的限值,那么产生关闭信号。关闭信号触发对负责引起流体热变化的一个或多个系统的调整,以防止系统失效同时允许系统随后立刻继续工作。

标签:
失效分析
其他 - 其他 来源:中冶有色网 2023-03-19
线路监测系统中的故障检测和报告

提供了一种系统和方法,该系统和方法使用机器学习故障分类器来提供自动化线路监测,以用于确定与高损耗环回(HLLB)数据相关联的特征是否匹配预定故障特征。故障分类器可应用于响应于两个不同波长的线路监测信号而生成的特征。仅在故障分类器响应于两个波长的特征而指示故障的情况下,才可报告故障。也可使用第二故障分类器,并且仅在第一故障分类器和第二故障分类器两者均响应于两个波长的特征而指示故障的情况下,才可报告故障。符合的系统还可被配置为报告泵劣化、跨段损耗或中继器失效故障的值,并且还可或另选地报告跨段损耗故障的方向性或光纤断裂故障的位置。

标签:
失效分析
其他 - 其他 来源:中冶有色网 2023-03-19
缺陷检测/处理方法和装置

本申请公开了缺陷检测方法和装置,缺陷处理方法和装置。其中,缺陷检测方法包括:确定分布式系统中具有原子性关系的多个共享数据处理操作的执行轨迹;根据执行轨迹确定候选的失效原子性缺陷;运行分布式系统,并将与候选的失效原子性缺陷对应的节点失效注入至分布式系统;获取运行分布式系统后的与失效原子性缺陷相关的多个共享数据;若多个共享数据不一致,则确定失效原子性缺陷。采用这种处理方式,使得通过观察分布式系统的一次正确执行,无需注入节点失效,即可预测可能的原子性违反错误,并通过最后重放工作负载,注入节点失效,确定性地确认缺陷、重放缺陷;因此,可以有效检测出失效原子性缺陷,从而提升分布式系统的可靠性。

标签:
失效分析
其他 - 其他 来源:中冶有色网 2023-03-19
数字蜂窝网系统中检测正反向链路不均衡的方法和装置

一种在数字蜂窝网通信系统检测正反向链路不均衡的方法和装置。该方法最好用“最大接入探测”(104)的指示判定是否因出现反向链路失效而链路不均衡。最大接入探测状况表示无线单元已试接入基站预定最多次数。该方法最好用寻呼信道丢失(132)和业务信道初始化(TCI)超时(160)的指示判定是否因正向链路失效而链路不均衡。若无线单元未丢失寻呼信道(132),则判定是否出现(TCI)超时(160)。若无线单元丢失寻呼信道,或者未丢失寻呼信道但出现(TCI)超时,则判断正向链路失效的原因。这种情况下,有两种可能的原因:(1)无线单元距离基站很远,(2)寻呼信道受到显著干扰。本方法判定该原因后,指示无线单元闲态切换到邻近基站或退出数字系统。

标签:
失效分析
其他 - 其他 来源:中冶有色网 2023-03-19
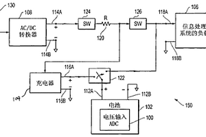
通过测量输入充电电压来检验智能电池故障的方法及相关系统

本发明公开了一种通过测量输入充电电压和相关系统来检验智能电池的充电故障的方法和相关系统。在一个实施例中,通过利用模拟转数字(A/D)端口测量输入的充电电压来确定充电电流是不是指示电池故障。只要所测量的输入充电电压低于电池组电压或者某一设定电压值,无论哪一个值较高,BMU将认为充电电流检测是错误的故障表示。如果测量的充电电压高于电池组电压或者设定的电压值,无论哪一个值较低,BMU将认为充电电流检测是真实的故障表示。如所期望的那样,然后BMU能够使电池失效或者在使电池失效之前执行其它检验步骤。

标签:
失效分析
其他 - 其他 来源:中冶有色网 2023-03-19
发光二极管封装接口的检测装置及方法

本发明涉及发光二极管封装接口的检测装置及方法,本发明的发光二极管(LED)封装接口的检测装置针对LED元件进行检测,其包含电流源、电压检测装置以及测试控制单元。测试控制单元提供至少一控制信号命令该电流源输出至少一电流至LED元件,且提供至少二信号,分别命令该电压检测装置于一第一时间测量该LED元件的一第一正向电压,并于一第二时间测量该LED元件的一第二正向电压。该测试控制单元计算该第一及该第二正向电压的电压差值,并判断当该电压差值大于一预设失效判定值时,则该LED元件判定为失效。

标签:
失效分析
其他 - 其他 来源:中冶有色网 2023-03-19
用于车辆变速器的液压控制模块及其诊断检测方法

本发明涉及用于车辆变速器的液压控制模块及其诊断检测方法。具体地,提供了用于多模式混合动力变速器的液压控制模块的离合器控制部件的先进的硬件诊断检测。本发明的检测方案利用压力开关传感器来检测与离合器控制机械化有关的每个阀的位置。这些传感器和这些阀一起的机械化提供了清楚确定每个阀的位置的能力,同时还使变速器电动液压控制模块(TEHCM)能够诊断每个压力开关的完好状态。这将使该诊断能够区分失效开关和失效(例如,“卡住”或“错位”)阀。本发明提供了安全地诊断动力变速器中的离合器控制部件的能力,同时防止在变速器内出现意外的和不希望有的换档顺序。

标签:
失效分析
其他 - 其他 来源:中冶有色网 2023-03-19
集成电路的连线缺陷的检测方法与制程监控电路结构

本发明是有关于一种三维制程监控(PROCESS CONTROL MONITOR;PCM)结构与使用方法,以在集成电路的制程中,进行三维集成电路连线的电性测试和失效分析。此方法至少包括:形成第一金属化层;进行第一晶圆允收测试(WAFER ACCEPTANCE TESTING;WAT)步骤以测试第一金属化层的导通性;形成复数个第一金属介层窗(VIAS)于第一金属化层的导电部上,且形成第二金属化层,第二金属化层包括有位于第一金属介层窗上的复数个金属岛,其中此些金属岛是与第一金属化层电性相通,以形成制程监控(PCM)结构;以及进行第二晶圆允收测试(WAT)步骤,以测试第一金属化层的导通性。本发明能够集成电路导通性缺陷的辨识和发现,同时克服现有习知技艺的其他缺点,从而更加适于实用。

标签:
失效分析
其他 - 其他 来源:中冶有色网 2023-03-19
用于锯中的感测电缆故障检测的系统和方法

一种用于检测锯中的感测电缆中的故障的方法作为锯中的物体检测系统的部分检测感测电缆中的潜在的失效。所述方法包括,生成传输通过感测电缆中的第一导体和第二导体的预定激励信号,响应于预定激励信号检测来自感测电缆中的第一导体和第二导体的返回信号,识别返回信号的信噪比(SNR),并且响应于返回信号的SNR低于预定值而生成指示感测电缆中的故障的输出。

标签:
失效分析
其他 - 其他 来源:中冶有色网 2023-03-19
汽车网络中的电缆故障的早期检测

本公开的实施例涉及汽车网络中的电缆故障的早期检测。方法和系统提供车辆中的通信网络的电缆和/或与所述电缆链接的物理层设备(PHY)中的故障的早期检测。该方法和系统采用计算机训练的模型,该模型针对相应的PHY参数,对照从不同车辆和/或给定车辆收集的操作值范围,分析在操作时间段内从给定车辆获得的检测值的变化,以确定给定车辆中的电缆和/或与所述电缆链接的PHY可能在预定时间段内失效。

标签:
失效分析
其他 - 其他 来源:中冶有色网 2023-03-19
用于检测和预测工业过程自动化系统中的故障的系统和方法

用于检测和预测工业过程自动化系统中的故障的系统和方法使用趋势数据来预测警告并允许在问题发生之前采取动作。该系统和方法提供随时间推移改进的故障/失效预测,因为为相关的系统组件集收集了更多的经验数据。该系统和方法可以标识过程自动化系统的组件之间的关系;标识并收集对系统配置的改变;标识并收集数据以告知可靠性和预测模型;为一个或多个组件开发特定于域的预测模型,该预测模型允许基于组件的失效或劣化预测;开发系统预测模型,该系统预测模型利用可靠性和关键性关系、基于组件的预测和操作参数来预测部分或整个过程自动化系统的健康状况;提供划分优先顺序的警告系统;以及标识组件的根本失效原因。

标签:
失效分析
其他 - 其他 来源:中冶有色网 2023-03-19
检测录制声音的系统和方法

本发明是一个用于检测录制的声音的可靠的系统和方法。它可以单独地使用或者提供保护以防止欺诈性地使用录音来使自动讲者识别系统失效。几种方法和系统或者独立地或者组合地被采用,以验证所检测的音频样本是现场的而不是录音的。音频样本的时间语音特性被分析以判定正在受检验的样本与先前的样本是否相似到指明一个录音的程度。通信信道特性被考察以判定样本是否是在与预定的通信信道不相同的信道上被录制的。模式分类器被训练以区分现场的和录音的语音。最后“音频水印”被用来判定所检测的音频样本是否为授权用户早先通信的一个录音。此外,本发明的各种方法可以串联地或并联地被采用,具有各种不同的作出决定的方案以提供增强的性能。

标签:
失效分析
其他 - 其他 来源:中冶有色网 2023-03-19
在管道破裂前检测渗漏的方法

一种用于评定破裂前渗漏的方法,包括:采用基于FAD分析根据裂纹发生获得的失效评定图表(FAD)评定曲线(36,100),用以分析材料中的裂纹;以及采用与FAD评定曲线(36,100)相结合的延性撕裂分析(112),以便检测裂纹,其中所述裂纹呈现在裂纹扩展过程中由延性撕裂稳定性和倾向于产生破裂的撕裂不稳定性中至少一种。

标签:
失效分析
其他 - 其他 来源:中冶有色网 2023-03-19
ESD保护集成电路以及ESD检测电路

本发明提供了一种ESD保护集成电路以及ESD检测电路。ESD保护集成电路包括功能电路和ESD检测电路,功能电路耦接到第一电源电压和第二电源电压,功能电路包括至少一个功能封装球,以及ESD检测电路耦接到第二电源电压,ESD检测电路不耦接到第一电源电压并且不耦接到功能电路的至少一个功能封装球。通过本发明可以减少ESD失效分析的时间成本,并且还可以用以改善IC装配或测试期间的ESD保护。

标签:
失效分析
其他 - 其他 来源:中冶有色网 2023-03-19
用于检测半导体器件测试设备操作错误的方法

本发明涉及一种用于检测用以确定待测半导体器件是好还是失效的测试系统的测试设备操作错误的方法。本方法包括周期性地把数据输入到器件的步骤及检查能否读出原封不动的数据,以检测该测试设备的操作错误。

标签:
失效分析
其他 - 其他 来源:中冶有色网 2023-03-19
紫外线灯系统的检测器和监测微波能量的相应方法

紫外线灯系统的检测器和监测微波能量的相应方法。一种用于紫外线灯系统的检测器,所述紫外线灯系统的类型为具有微波能量发生器,所述检测器包括第一电路,配置为检测所述微波能量。所述第一电路包括至少一个辐射敏感部件,所述辐射敏感部件能够因为暴露在过量的微波能量下而失效。第二电路,耦合到所述第一电路,配置为间歇地测试所述辐射敏感部件是否失效。一种紫外线灯系统包括所述检测器。一种相关的方法包括:通过第一电路监测所述微波能量,所述第一电路包括至少一个辐射敏感部件,所述辐射敏感部件能够因为暴露在过量的微波能量下而失效;以及测试所述辐射敏感部件以确定所述辐射敏感部件是否失效。

标签:
失效分析
其他 - 其他 来源:中冶有色网 2023-03-19
上一页 27 28 29 30 31 ... 37 下一页
共37页    到第

中冶有色为您提供最新的其他有色金属失效分析技术理论与应用信息,涵盖发明专利、权利要求、说明书、技术领域、背景技术、实用新型内容及具体实施方式等有色技术内容。打造最具专业性的有色金属技术理论与应用平台!

全国热门有色金属设备推荐
展开更多 +
全国热门有色金属技术推荐
展开更多 +

 

江西省隆恩特环保设备有限公司
宣传

报名参会
更多+

报告下载

有色专家
更多+

中南大学
副校长
南昌航空大学
副院长/教授
南方科技大学
外籍院士
郑州大学
校长/党委书记
昆明理工大学
校长
赤泥综合利用研究报告2025
推广

热门技术
更多+

推荐企业
更多+

福建省金龙稀土股份有限公司
宣传

发布

在线客服

公众号

电话

顶部
咨询电话:
010-88793500-807