青岛垚鑫智能科技有限公司
宣传

位置:中冶有色 >

有色技术频道 >

> 废水处理技术

分类:
全部
矿山技术
冶金技术
材料制备及加工技术
环境保护技术
分析检测技术
 
全部
废水处理技术
大气治理技术
固/危废处置技术
土壤修复技术
地区:
全部
北京
天津
上海
重庆
河北
山西
辽宁
吉林
黑龙江
江苏
浙江
安徽
福建
江西
山东
河南
湖北
湖南
广东
海南
四川
贵州
云南
陕西
甘肃
青海
内蒙
广西
西藏
宁夏
新疆
其他
其他
展开
 
全部
南京
无锡
徐州
常州
苏州
南通
连云港
淮安
盐城
扬州
镇江
泰州
宿迁

江苏泰州有色金属废水处理技术理论与应用

免费发布技术信息>>
高品质对氨基苯酚的生产方法

本发明公开了一种高品质对氨基苯酚的生产方法,将对硝基苯酚钠溶解于体积浓度为35~65%的醇类水溶液中,配成含对硝基苯酚钠15~30%的溶液,再加入NI-AL催化剂,置换氮气后通入氢气并维持氢气压力在1.5~2.0MPA下在70~90℃进行间隙式氢化反应,反应结束反应溶液经过超滤、盐酸酸化、脱色、低温结晶、抗氧剂精制、分离以及干燥,得到高品质对氨基苯酚;其中所述的醇类水溶液为乙醇水溶液或丁醇水溶液。本方法流程短,生产能力大,综合成本低,产品收率高,自动化程度高,劳动强度低,氢化母液及精制母液循环套用,废水产生量低,无废渣产生,具有显著的经济效益和社会效益。

标签:
废水处理
江苏 - 泰州 来源:中冶有色网 2023-03-19
磁性类芬顿催化剂及其制备方法和应用

本发明公开了一种磁性类芬顿催化剂及其制备方法和应用。具体而言,本发明的制备方法包括如下步骤:(1)制备磁性四氧化三铁核芯;(2)使核芯包覆二氧化硅膜,得到催化活性组分;(3)使催化活性组分负载在石墨烯材料上,得到最终的磁性类芬顿催化剂。本发明的制备方法过程简单、条件温和、成本低廉;所得催化剂在外加磁场下能够有效分离,解决了催化剂回收困难的问题,同时该催化剂在芬顿反应中性质稳定、催化活性优异,具有较宽的pH适应范围,可广泛应用于有机物废水处理,具有较高的应用价值。

标签:
废水处理
江苏 - 泰州 来源:中冶有色网 2023-03-19
饱和器法氨废气处理装置及其工艺

本发明涉及一种饱和器法氨废气处理装置及处理工艺,所述装置它包括硫铵饱和器(1)、冷却装置(2)、结晶泵(3)、结晶槽(4);所述冷却装置(2)设置于硫铵饱和器(1)的氨废气进气管线上;所述硫铵饱和器(1)以碳钢作为基体材料,以乙烯基玻璃钢进行防腐衬里,在冲刷处,玻璃钢表面采用金刚砂做表面处理;所述硫铵饱和器(1)内部不设置母液分配室,硫铵饱和器(1)外采用管道分配器,管道分配器内衬PO内衬。采用该工艺处理医药生产中排出的含氨废气、废水,具有工艺合理、技术先进,投资少,见效快的特点,彻底解决了废气、废水的达标排放问题。

标签:
废水处理
江苏 - 泰州 来源:中冶有色网 2023-03-19
副产盐酸深度解析制氯化氢的工艺

一种副产盐酸深度解析制氯化氢的工艺,其流程见附图,它包括氯化钙配制罐、氯化钙溶液的再沸器和氯化钙溶液提浓塔,提浓后的氯化钙经加热后从脱析塔的塔顶进入脱析塔,与自下而上的副产盐酸逆流接触,大量的水进入氯化钙溶液,氯化氢气体和气相盐酸从脱析塔顶排出,经冷凝后得到浓盐酸和氯化氢气体,脱析塔底排出的氯化钙溶液再经氯化钙溶液提浓塔提浓后循环使用,其特征是:副产盐酸先经加热后,在汽化塔内汽化,以汽相进入脱析塔进行解析制得氯化氢气体,而副产盐酸中的高沸点化合物、盐类及固体杂质,则经汽化塔塔底排出作废水处理。本发明可将作为废水处理的含有高沸点化合物、盐类及固体杂质的副产盐酸回收利用,变废为宝。

标签:
废水处理
江苏 - 泰州 来源:中冶有色网 2023-03-19
硫酸钠、氯化钠分盐方法

本发明提供一种硫酸钠、氯化钠分盐方法,涉及盐类分离技术领域,包括如下步骤:S1、将含盐废水由进料泵先后输送至蒸馏水预热器和生蒸汽预热器,然后打入MVR强制循环部分;S2、进入液沫分离器经过旋流板除沫器液沫分离;S3、压缩后的蒸汽再打入蒸发室加热物料,然后出MVR蒸发结晶系统;S4、预热后的物料进入蒸发器后,和压缩后升高到108℃左右的二次蒸汽进行换热,本发明中通过蒸馏水预热器和生蒸汽预热器的设置,能够对含盐废水与蒸发结晶系统的蒸馏水和生蒸汽热至设定温度,液沫分离器的设置,能够对混合液体进行液沫分离,提高分盐的纯度,整个发明系统的操作可由计算机完成,具有原料适应性强、蒸发效率高、工艺环保绿色等优点。

标签:
废水处理
江苏 - 泰州 来源:中冶有色网 2023-03-19
豆腐凝固剂及用其制作豆腐的方法

本发明公开了一种豆腐凝固剂及用其制作豆腐的方法。本发明公开的豆腐直接以植物蛋白为原料,并加入水、植物油及其他辅料制得。豆腐制作方法为:1)植物蛋白和所述凝固剂混匀;2)加入辅料斩拌形成乳化物;3)蒸煮成型;4)包装储藏。所述凝固剂为谷氨酰胺转胺酶及其增效剂的混合物,添加此含有谷氨酰胺转胺酶的凝固剂,所制得的新型豆腐无不良气味并具有水豆腐的香气、蛋白含量高、脂肪含量低,有弹性,咀嚼性好,在生产过程中不会产生废水、废渣。

标签:
废水处理
江苏 - 泰州 来源:中冶有色网 2023-03-19
多源液体余热回收蒸汽发生系统

本发明公开了一种多源液体余热回收蒸汽发生系统,包括通过连通管道依次相连设置的液体余热回收模块、蒸汽压缩处理模块和分配器;所述分配器上连接设置有至少一个分散利用管道,所述液体余热回收模块的数目至少为二,所述蒸汽压缩处理模块的数目为一,所述分配器的数目为一;所述的液体余热回收模块包括通过回收管道依次连接的废水槽和蒸汽发生器,所述的废水槽和蒸汽发生器之间还设置有循环管道,所述的循环管道上设置有循环泵。本发明的优点在于:可以同时对于多个源头的液体余热进行回收利用,采用蒸汽压缩处理模块可以对于液体余热回收模块制作出的蒸汽进行压缩处理操作,并通过分配器将能量介质传递给分散利用管道,节能环保。

标签:
废水处理
江苏 - 泰州 来源:中冶有色网 2023-03-19
豆腐凝固剂制作豆腐的方法

本发明公开了一种豆腐凝固剂制作豆腐的方法。本发明公开的豆腐直接以植物蛋白为原料,并加入水、植物油及其他辅料制得。豆腐制作方法为:1)植物蛋白和所述凝固剂混匀;2)加入辅料斩拌形成乳化物;3)蒸煮成型;4)包装储藏。所述凝固剂为谷氨酰胺转胺酶及其增效剂的混合物,添加此含有谷氨酰胺转胺酶的凝固剂,所制得的新型豆腐无不良气味并具有水豆腐的香气、蛋白含量高、脂肪含量低,有弹性,咀嚼性好,在生产过程中不会产生废水、废渣。

标签:
废水处理
江苏 - 泰州 来源:中冶有色网 2023-03-19
有机物回收的洗衣机水管

本发明公布一种有机物回收的洗衣机水管,包括泡沫分离装置、沉淀装置、洗衣机水管、驱动装置、端盖,驱动装置为泡沫分离装置提供动力,洗衣机排出的废水通过洗衣机水管进入到泡沫分离装置,把分离完的泡沫排入到沉淀装置进行沉淀,分离完的废水通过端盖的的打开排出,从而达到有机物分离以及回收,本发明具备能够实现自动对有机物自动回收和结构简单的特点。

标签:
废水处理
江苏 - 泰州 来源:中冶有色网 2023-03-19
新的5-氯-1-茚酮的合成方法

本发明公开了一种5-氯-1-茚酮的合成方法,属于有机合成领域。以3-氯苯甲醛为原料,首先将3-氯苯甲醛与丙二酸反应制得3-氯苯丙酸,再进行傅克酰基化反应制得5-氯-1-茚酮。其中第一步参加反应的有机溶剂为甲酸、二乙胺,反应温度为20~150℃。第二步参加反应的有机溶剂为二氯甲烷,催化剂为氯化锌,反应温度为-10~80℃。本发明提供了一种简单且易于放大的5-氯-1-茚酮的合成工艺,解决了目前合成方法中存在的路线相对较长,使用昂贵的催化剂或原料,反应条件较为苛刻,成本高等技术问题;尤其在环境方面,与传统的合成5-氯-1-茚酮的工艺相比,避免了强酸对环境的污染问题以及大量废水的处理。

标签:
废水处理
江苏 - 泰州 来源:中冶有色网 2023-03-19
醚化反应后母液碱的循环套用工艺

本发明公开了一种醚化反应后母液碱的循环套用工艺。所述循环套用工艺包括首次醚化反应工艺,多次使用后母液碱的纯化工艺,处理后的母液碱经过浓缩,参与下一批醚化反应的工艺。本工艺方法对环境优化的效果明显,与原工艺相比现工艺,在不降低单元收率的情况下,降低了可能产生的环境污染风险。本工艺对传统的醚化物合成工艺进行了改进,减少了分离步骤,节约能耗,不仅简化了对硝基苯乙醚的提纯步骤,降低了片碱的消耗,而且减少了废水量的产生,应用此工艺,生产1吨的醚化产品,只会产生800kg废水。

标签:
废水处理
江苏 - 泰州 来源:中冶有色网 2023-03-19
针织用品生产用清洗脱水装置

本实用新型涉及针织用品设备技术领域,具体为一种针织用品生产用清洗脱水装置,包括箱体,所述箱体的一侧铰接有顶盖,所述箱体的一侧设置有固定顶盖的锁紧机构,所述箱体的内侧壁固定安装有内板,所述内板上转动连接有清洗桶,启动电机,电机会带动清洗桶转动,此时清洗桶内的针织用品会进行清洗,清洗结束后,开启电磁阀,此时废水会通过排放管对外排除,废水会通过过滤孔输送至箱体的下半部,废水中的残渣会被过滤孔隔离,可通过将挡板取出,对内板上方的废渣进行清理,在脱水时,可启动气泵,气泵会带动下压板下降,下压板会将针织用品内的水分压出,再启动电机,电机会带动清洗桶快速转动,使清洗桶内的针织用品快速脱水。

标签:
废水处理
江苏 - 泰州 来源:中冶有色网 2023-03-19
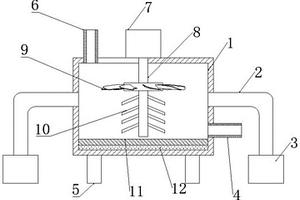
采用磷酸及其钠盐精制盐水的装置

本实用新型公开了一种采用磷酸及其钠盐精制盐水的装置,它包括化盐桶(1)、过滤器总成、树脂塔(2)和废水池(3),所述的化盐桶(1)的出口通过管道Ⅰ(4)与过滤器总成进口相连通,过滤器总成的出口通过管道Ⅱ(5)与树脂塔(2)相连通,树脂塔(2)的出口通过管道Ⅲ(9)与废水池(3)的进口相连通,废水池(3)的出口通过管道Ⅳ(6)与化盐桶(1)的回收口(10)相连通。

标签:
废水处理
江苏 - 泰州 来源:中冶有色网 2023-03-19
化学化工水质监测采样装置

本实用新型涉及水质监测采样技术领域,且公开了一种化学化工水质监测采样装置,包括设置采样箱、抽取机构、封闭机构,所述采样箱的内部设置有抽取机构,所述采样箱的内部设置有封闭机构;所述抽取机构包括电机、转动杆一、支撑杆一、U形杆、支撑杆二、拉力绳、活塞、抽水桶,所述电机的外壁与电机箱的内壁连接,通过设置抽取机构,通过电机带动转动杆一转动,U形杆带动支撑杆二移动,支撑杆二带动拉力绳移动,拉力绳带动活塞移动从而将外部的水抽入抽水桶中,通过设置三个抽水桶,三个抽水桶位置不在同一海拔,可以对不同深度的废水进行抽取,达到了可以对不同深度的化工废水进行采样,用来检测废水是否达到排放标准的目的。

标签:
废水处理
江苏 - 泰州 来源:中冶有色网 2023-03-19
畜牧兽医用清洗装置
畜牧兽医用清洗装置 917     
 0

本实用新型公开了一种畜牧兽医用清洗装置,包括本体、废水处理室、清洗室、混料箱和清洗剂箱,所述本体的左侧上方安装有清洗剂箱,所述混料箱内安装有搅拌器,所述集水槽安装在清洗室内,所述清洗室通过连接管与废水处理室进行连接,所述清洗室的底部安装有托架,所述安装架中安装有限位块,所述托架的两侧外部安装有导流槽,所述安装架的内侧安装有夹持器,所述废水处理室内安装有过滤网,所述安装块外安装有安装槽,所述本体外安装有观察门。该畜牧兽医用清洗装置设置有混料箱,该部件的设置,在混料箱的作用下,使得可以让干净的水与清洗剂进行混合搅拌,从而使得可以更好的对畜牧进行清洗,增加了装置的实用性。

标签:
废水处理
江苏 - 泰州 来源:中冶有色网 2023-03-19
喷码机用喷头清洗装置
喷码机用喷头清洗装置 1100     
 0

一种喷码机用喷头清洗装置,罐体,罐体顶端卡接有密封盖,密封盖外壁顶端粘合连接有橡胶罩,橡胶罩内壁粘合连接有顶块,罐体内壁底端开设有废水腔,罐体内壁焊接连接有隔板,隔板顶端螺钉连接有刷盘,隔板底端焊接连接有开关,废水腔外壁一侧贯穿连接有废水口,通过夹壁解决了现有技术中普通的喷头清洗大多为人工清洗,在清洗过程中不但难以清洁干净,还容易弄脏工作人员手部的问题,通过风机和气嘴解决了现有技术中普通的喷头清洗装置大多清洁后等待自然风干才能安装使用,大大影响了工作效率的问题,通过刷盘和电机解决了现有技术中普通的喷头清洗装置大多直接用清洁液喷涂于喷头表面,对于堵塞严重的喷头难以清洁的问题。

标签:
废水处理
江苏 - 泰州 来源:中冶有色网 2023-03-19
多组精细定量取样的水质在线监测设备

本实用新型公开了一种多组精细定量取样的水质在线监测设备,包括过滤箱和第二水管,所述过滤箱内壁上固定有滑道,且滑道滑动连接有过滤网,所述过滤箱内部下侧设置有导板,且过滤箱下侧和储物箱上侧均贯穿有出渣管,所述过滤箱上侧贯穿有进水口,所述储物箱内部左侧设置有第一水管,所述第三水管内壁上固定有水位传感器,所述第三水管下侧设置有水质监测仪器外壳。该多组精细定量取样的水质在线监测设备,设置有第三水管,五个第三水管中均设置有水位传感器,水位传感器对第三水管中水的水位进行精细定量,确保每组进入水质监测仪器中的废水容量一致,防止后期因废水容量不一致影响监测结果,并且五组废水监测数据使检测结果更加准确。

标签:
废水处理
江苏 - 泰州 来源:中冶有色网 2023-03-19
带曝气淋洗功能的红薯酒加工用原料清洗装置

本发明公开了红薯酒加工技术领域的一种带曝气淋洗功能的红薯酒加工用原料清洗装置,所述清洗桶的顶部设置有搅拌电机,所述搅拌电机的底部动力端通过联轴器设置有搅拌轴,所述搅拌轴的外壁上均匀设置有搅拌杆,所述搅拌杆的外壁上均匀设置有毛刷,所述清洗桶的内腔顶部通过支架连接有喷淋盘,所述清洗桶的内腔设置有过滤网板,过滤网板设置在搅拌轴的下方,且过滤网板将清洗桶的底部隔成积液箱,该装置结构紧凑,操作简单,通过带有毛刷的搅拌杆对含有原料的清水进行搅拌清洗工作,有效的提高了红薯酒原料清洗的效率,清洗后的废水经过过滤网板和废水过滤装置的两层过滤,对清洗后的原料进行再次的淋洗工作,也使得废水得以回收利用。

标签:
废水处理
江苏 - 泰州 来源:中冶有色网 2023-03-19
废液中提取金属的装置

本发明公开了一种废液中提取金属的装置,其包括,废液入水口、功能纤维入料口、废液隔流层、初步过滤层、提炼内箱、过滤网、废水流动管、金属出料箱、废水排出口和吸水棉层,废液入水口下方装有废液隔流层,所述废液隔流层下方装有初步过滤层,初步过滤层下方装有提炼内箱,废水流动管内部装有金属出料箱。本发明的积极进步效果在于:常用的提取装置大多比较复杂,所需的费用较高,提取金属的成功率也较为的低,本发明通过工字型设计,方便了液体的流动,所增加的两层过滤层能有效过滤废液中的杂质,本装置结构简单,造价低,运行成本少,适合大多中小型工厂使用。

标签:
废水处理
江苏 - 泰州 来源:中冶有色网 2023-03-19
造纸厂用纸浆污水处理系统

本发明属于废水处理领域,具体涉及一种造纸厂用纸浆污水处理系统,通过设置清理组件,且通过设置清理组件一端位于废水处理池中,一端位于废水处理池上方,使得清理组件沿着运输方向呈高度逐渐递增的状态,使得清理组件中的传送带将浮于水面的纸浆块运输至收集盒的同时,被清理组件清理浮于水面的纸浆块时带走的一部分水会由于水的自重和清理组件的倾斜角度使得这一部分水回流进废水处理池中,大大减小了清理组件在清理浮于水面的纸浆块时将一部分水带走造成水资源浪费的现象。

标签:
废水处理
江苏 - 泰州 来源:中冶有色网 2023-03-19
不锈钢加工用电焊机多级冷却装置

本发明公开了一种不锈钢加工用电焊机多级冷却装置,涉及不锈钢加工技术领域,具体为一种不锈钢加工用电焊机多级冷却装置,包括冷却主体框架和调节角度降温机构,所述冷却主体框架的内部设置有底槽冷却壳,且底槽冷却壳的内部设置有冷水中心槽室,所述冷水中心槽室的内部设置有连接铝架,且连接铝架的后端连接有冷却器,所述连接铝架的上方安装有循环水泵,且循环水泵的一侧连接有进水管,所述循环水泵的后端连接有连接管。该不锈钢加工用电焊机多级冷却装置设置的过滤机构,横滤网架能够有效的为废水提供过滤处理,能够有效的减少废水携带的废屑,保证废水能够二次循环利用,从而能够有效的提高废水的利用效率。

标签:
废水处理
江苏 - 泰州 来源:中冶有色网 2023-03-19
对废气净化产生截留循环水的冷却塔

本发明公开了一种对废气净化产生截留循环水的冷却塔,包括塔罐,所述塔罐的顶面垂直安装有驱动电机,所述驱动电机的输出端传动连接传动轴,所述传动轴贯穿所述塔罐的顶面,并延伸至所述塔罐内,所述传动轴的外缘固定套接第一风扇,所述传动轴的外缘固定套接若干等距离环向分布的搅拌杆,所述搅拌杆位于所述第一风扇的下方,所述塔罐的内部底面设置冷却机构,所述塔罐的左右两侧连通送气管,所述送气管的末端连通冷却箱,通过本方案提高了废水的散热效率,在对废水进行搅拌的同时将冷气吹进废水内,使得废水散热更加的均匀,进一步提高了塔罐内废水的散热速度,节省了时间。

标签:
废水处理
江苏 - 泰州 来源:中冶有色网 2023-03-19
低温蒸发设备
低温蒸发设备 920     
 0

本实用新型涉及低温蒸发技术领域,尤其涉及一种低温蒸发设备,解决了现有低温蒸发设备能耗大、且加工成本高的缺点,包括废水箱,所述废水箱的顶部设置有接触塔,废水箱的一侧通过螺栓固定有泵体,废水箱的另一侧顶部连接有注水管,所述接触塔的一侧外部通过螺栓固定有检修箱,所述检修箱的内部设置有压缩机,所述压缩机的底部设置有散热片组,其一侧还填充有干燥剂,检修箱的一侧内部通过螺栓固定有风机,通过泵体抽取废水注入到接触塔的顶部内侧,使其依次通过接触塔内部倾斜设置的导流板向下流动,废水会通过导流板端部表面开设的均匀导槽分隔开向下流,方便冷空气通过与其进行充分接触,从而大大提高低温蒸发效率。

标签:
废水处理
江苏 - 泰州 来源:中冶有色网 2023-03-19
大型易清理杂质的污水处理装置

本发明公开了一种大型易清理杂质的污水处理装置,包括废水过滤箱和控制箱,所述废水过滤箱内部上侧设置有清洗组件和紫外线杀菌灯,所述废水过滤箱上侧贯穿有第一进液口,所述密封管通过轴承转动连接有过滤网,所述废水过滤箱内部下侧贯穿有传送带,所述密封管通过第一废水管与离心机相连通,所述第二废水管上设置有加压泵,所述第一废水管和第二废水管后侧均通过连接管与废液蒸发浓缩组件相连通。该大型易清理杂质的污水处理装置,设置有密封管、过滤网和传送带,过滤网过滤后的废水储存在密封管中,过滤网因废水冲击下进行旋转,这样就可循环进行过滤,杂质中带有的小部分废水可在传送带上孔洞的作用下进行再次过滤。

标签:
废水处理
江苏 - 泰州 来源:中冶有色网 2023-03-19
石油化工油水分离设备
石油化工油水分离设备 1007     
 0

本发明公开了一种石油化工油水分离设备,其结构包括机架、加药器、入水管、分离槽、去渣装置、输送管、净水器、电机、储水槽、集污腔,本发明改进后进行使用时,接口将废水匀速的输送到阻筛网上,通过阻筛网对废水中的体积大的颗粒和杂质进行处理,废水通过阻筛网流向吸附海绵毡上,吸附海绵毡对废水中残留的油脂进行吸收,将废水中残留的油脂进行彻底处理,将处理过后的废水通过导流管导向分离膜,通过分离膜对废水中的臭气进行处理,废水通过导料穿孔导入粘附板内部,粘附板对废水中的小颗粒进行快速吸附处理,能将废水中的颗粒物被彻底分离清除,提高废水的油水分离效果和除渣效率。

标签:
废水处理
江苏 - 泰州 来源:中冶有色网 2023-03-19
用于渗铝加工的钢件酸洗装置

本实用新型提供一种用于渗铝加工的钢件酸洗装置,包括竖直设置的酸洗池,酸洗池的顶部设有吊盘,吊盘上侧设有吊环,底部设有至少一个挂钩,酸洗池上端设有加液管,下端设有排液管,酸洗池通过排液管以及排液泵与废水处理装置连通,酸洗池下端通过循环管与设置在酸洗池内的喷淋管连通,循环管上设有循环泵,喷淋管上设有喷头。该装置能够与渗铝工序配合形成连续性生产加工,酸洗效率较高。

标签:
废水处理
江苏 - 泰州 来源:中冶有色网 2023-03-19
带有可拆卸式双桶结构的搅拌器

本实用新型涉及煮料机技术领域,尤其涉及一种带有可拆卸式双桶结构的搅拌器,包括主机、外桶、内桶、垫块、搅拌机构、把手和桶盖,所述主机上设置有放置腔,所述外桶位于放置腔的内部,所述外桶的底部设置有排水管,所述外桶内壁的底部开设有止转槽,所述内桶位于外桶的内部,所述内桶的侧面和底部均开设有漏孔,所述内桶的底部与垫块的顶部固定连接,所述垫块位于止转槽的内部。本实用新型达到了方便在烧煮完成后对粉圆进行快速收集的目的,而且内桶中的废水能够直接排走,避免因为烧煮需要大量的水,倒水时被烫水溅到身上烫伤员工,提高工作效率,方便清理,替代了以往需要反复把水由锅内舀出来的方式,从而达到了省时省力的效果。

标签:
废水处理
江苏 - 泰州 来源:中冶有色网 2023-03-19
雨水立管雨污分流装置
雨水立管雨污分流装置 1052     
 0

本实用新型公开了一种雨水立管雨污分流装置,包括壳体,所述壳体的上方设有进水管,所述进水管的底端贯穿壳体并延伸至壳体的内部,所述壳体的内部设有格栅,所述格栅的外表面与壳体的内壁固定连接,所述壳体的底面开设有排沙口,所述排沙口的内壁卡接有堵塞,所述壳体的左侧面开设有连接孔,所述壳体的左侧面固定连接有分流箱,所述分流箱的右侧面开设有进水孔,所述进水孔的右侧面与连接孔的左侧面相连通,所述分流箱的内壁分别固定连接有活性炭滤网和尼龙过滤网。该雨水立管雨污分流装置,可以使雨水和污水进行分流,避免洗衣污水和生活废水排入水体后对水体造成污染,从而分流装置起到了对污水和雨水进行分流的作用。

标签:
废水处理
江苏 - 泰州 来源:中冶有色网 2023-03-19
自清理环形水洗设备
自清理环形水洗设备 855     
 0

本实用新型涉及一种自清理环形水洗设备,主要是由喷水头、环形水管、水管支架、水槽、进水口、辊轮、出水口、射流管、排水口和支座组成,本实用新型通过底部射流管的冲击,搅动底部的残留物,使其随水流一起被排出,结合后道过滤程序,使废水可反复被利用,达到环保,节能,高效的目的。

标签:
废水处理
江苏 - 泰州 来源:中冶有色网 2023-03-19
溶气气浮装置
溶气气浮装置 1047     
 0

本实用新型涉及水处理设备的技术领域,尤其是一种溶气气浮装置,包括调节池、加药箱、污水泵、反应罐、气浮池、溶气罐、溶气泵和清水池,地井中的废水通过格栅除去杂质及悬浮物后进入调节池,污水泵分别从调节池和加药箱中吸入污水和化学助剂并将其提升到反应罐中,反应罐中的污水和化学助剂进行絮凝后的矾花并进入气浮池中分离;溶气泵将清水池中的清水压入到溶气罐中进行定时溶气,溶气罐中的溶气水通过闸阀置于气浮池内的溶气释放器,反应罐处理后的清水从过滤槽中溢出并流入清水池中。该溶气气浮装置,保护水系效果显著,具有明显的社会效益。

标签:
废水处理
江苏 - 泰州 来源:中冶有色网 2023-03-19
上一页 1 2 3 4 5 ... 14 下一页
共14页    到第

中冶有色为您提供最新的江苏泰州有色金属废水处理技术理论与应用信息,涵盖发明专利、权利要求、说明书、技术领域、背景技术、实用新型内容及具体实施方式等有色技术内容。打造最具专业性的有色金属技术理论与应用平台!

全国热门有色金属设备推荐
展开更多 +
全国热门有色金属技术推荐
展开更多 +

 

江西省隆恩特环保设备有限公司
宣传

报名参会
更多+

2025年10月15日 ~ 17日
2025年10月17日 ~ 19日
2025年10月31日 ~ 11月02日
2025年11月07日 ~ 09日

报告下载

有色专家
更多+

广西大学
处长/教授
赣州江钨钨合金有限公司
工程师
辽宁忠旺集团
教授级高工
中国有色金属工业协会
副会长兼秘书长
云南锡业集团(控股)有限责任公司
副总经理
赤泥综合利用研究报告2025
推广

热门技术
更多+

推荐企业
更多+

福建省金龙稀土股份有限公司
宣传

发布

在线客服

公众号

电话

顶部
咨询电话:
010-88793500-807